Involving Moral and Ethical Principles in Safety Management Systems
Abstract
:1. Introduction
2. Problem Definition
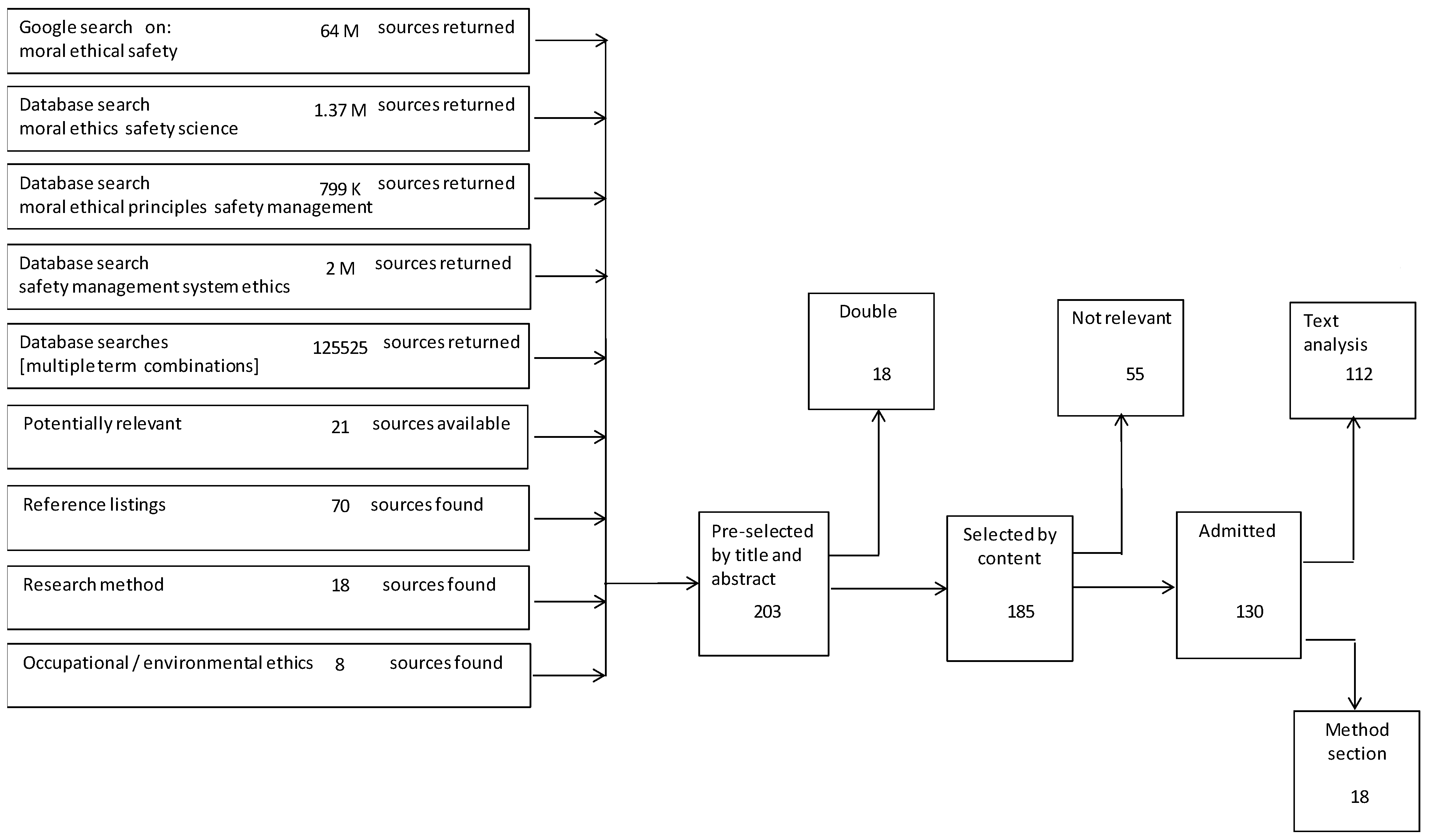
3. Method
“ethic(s)(al), moral, safety, science, occupational, environmental, health, value, disengagement, norm, principle, risk, management, system” and with: “fairness, equity, precautionary, cautionary, industry”s.
4. Results
4.1. Literature Search Process Results
4.2. Ethics in Current Safety Management Practice
4.3. Moral and Ethical Principles in a Range of Situations in Society
4.4. Ethical Principles Important for Health and Safety
4.5. Ethical Concerns and Issues in Safety Management
4.6. Misconduct and Transgression Types
4.6.1. Abuse of Power
4.6.2. Wrong or Misleading Information
4.6.3. Reducing Moral Awareness
4.6.4. Workers Risk Exposure
4.6.5. Fraudulent Practices
4.7. Countermeasures
5. Discussion
5.1. Effect of Misconduct and Transgression on Safety and Health
5.2. Safety versus Security Domain
5.3. Safety Management versus General Management Domain
5.4. Independent Governance
6. Conclusions and Recommendations
Author Contributions
Funding
Institutional Review Board Statement
Informed Consent Statement
Data Availability Statement
Acknowledgments
Conflicts of Interest
References
- Bandura, A.; Caprara, G.V.; Zsolnai, L. Corporate Transgressions through Moral Disengagement. J. Hum. Values 2000, 6, 57–64. [Google Scholar] [CrossRef]
- Clarke, M. Business Crime; Polity Press: Cambridge, UK, 1990. [Google Scholar]
- Levi, M. Regulating Fraud: White-Collar Crime and the Criminal Process; Tavistock: London, UK, 1987. [Google Scholar]
- Hollnagel, E. Safety Management—Looking Back or Looking Forward. Resil. Eng. Perspect. 2008, 1, 63–77. [Google Scholar]
- Melchers, R.E. On the ALARP Approach to Risk Management. Reliab. Eng. Syst. Saf. 2001, 71, 201–208. [Google Scholar] [CrossRef]
- Hale, A.R. Safety Management, What Do We Know, What Do We Believe We Know, and What Do We Overlook? Tijdschr. Voor Toegep. Arbowet. 2006, 18, 58–66. [Google Scholar]
- BS ISO 31000. Standard, Risk Management—Principles and Guidelines. Available online: www.iso.org/obp/ui/#iso:std:iso:31000:ed-2:v1:en (accessed on 8 March 2021).
- Smith, S.K.; Mountain, G.A.; Hawkins, R.J. A Scoping Review to Identify the Techniques Frequently Used When Analysing Qualitative Visual Data. Int. J. Soc. Res. Methodol. 2015, 19, 693–715. [Google Scholar] [CrossRef] [Green Version]
- Byrne, J.A. Improving the Peer Review of Narrative Literature Reviews. Res. Integr. Peer Rev. 2016, 1, 1–4. [Google Scholar] [CrossRef] [Green Version]
- Byrne, E.; Daykin, N.; Coad, J. Participatory Photography in Qualitative Research: A Methodological Review. Vis. Methodol. 2016, 4, 1–12. [Google Scholar]
- Cronin, P.; Ryan, F.; Coughlan, M. Undertaking a Literature Review: A Step-by-Step Approach. Br. J. Nurs. 2008, 17, 38–43. [Google Scholar] [CrossRef]
- Wessels, R.H.A. The Importance and Accessibility of Grey Literature. Inf. Prof. 1997, 1, 28–32. [Google Scholar]
- Noah, P.D., Jr. A Systematic Approach to the Qualitative Meta-Synthesis. Issues Inf. Syst. 2017, 18, 196–205. [Google Scholar]
- Lindhout, P.; van der Werff, K.; Reniers, G. Improving Education and Training of Dutch Major Hazard Control Inspectors: A 15 Years Longitudinal Case Study. Int. J. Environ. Res. Public Health 2020, 17, 1959. [Google Scholar] [CrossRef] [Green Version]
- ISO 19011:2018. Standard, Guidelines for Auditing Management Systems. Available online: www.iso.org/standard/70017.html (accessed on 22 January 2020).
- Purdy, G. ISO 31000: 2009-Setting a New Standard for Risk Management. Risk Anal. Int. J. 2010, 30, 881–886. [Google Scholar] [CrossRef]
- Provan, D.J.; Dekker, S.W.A.; Rae, A.J. Bureaucracy, Influence and Beliefs: A Literature Review of the Factors Shaping the Role of a Safety Professional. Saf. Sci. 2017, 98, 98–112. [Google Scholar] [CrossRef]
- Provan, D.J.; Dekker, S.W.; Rae, A.J. Benefactor or Burden: Exploring the Professional Identity of Safety Professionals. J. Saf. Res. 2018, 66, 21–32. [Google Scholar] [CrossRef]
- Iavicoli, S.; Valenti, A.; Gagliardi, D.; Rantanen, J. Ethics and Occupational Health in the Contemporary World of Work. Int. J. Environ. Res. Public Health 2018, 15, 1713. [Google Scholar] [CrossRef] [Green Version]
- Yeh, M.-J.; Liu, H.-C. Comment on Iavicoli et al. Ethics and Occupational Health in the Contemporary World of Work. Int. J. Environ. Res. Public Health 2018, 15, 1713. Int. J. Environ. Res. Public Health 2018, 15, 2654. [Google Scholar] [CrossRef] [Green Version]
- Palmer, C.; McShane, K.; Sandler, R. Environmental Ethics. Annu. Rev. Environ. Resour. 2014, 39, 419–442. [Google Scholar] [CrossRef]
- Trevino, L.K.; Nelson, K.A. Managing Business Ethics: Straight Talk about How to Do It Right, 5th ed.; Wiley: New York, NY, USA, 2010. [Google Scholar]
- Ho, M.F.; Drew, D.; McGeorge, D.; Loosemore, M. Implementing Corporate Ethics Management and Its Comparison with the Safety Management System: A Case Study in Hong Kong. Constr. Manag. Econ. 2004, 22, 595–606. [Google Scholar] [CrossRef]
- Cazeri, G.T.; Anholon, R.; da Silva, D.; Ordoñez, R.E.C.; Quelhas, O.L.G.; Leal Filho, W.; Santa-Eulalia, L.A. An Assessment of the Integration Between Corporate Social Responsibility Practices and Management Systems in Brazil Aiming at Sustainability in Enterprises. J. Clean. Prod. 2018, 182, 746–754. [Google Scholar] [CrossRef]
- Aven, T. The Science of Risk Analysis: Foundation and Practice; Routledge: London, UK, 2019. [Google Scholar]
- Johnson, A. Safety Ethics-Black and White? Or Shades of Gray? SH-Saf. Health-Natl. Saf. Counc. 2012, 186, 72. [Google Scholar]
- Krause, T. The Ethics of Safety, How a Safety Program Can Be the Starting Point for Building an Ethical Organization. Available online: www.ehstoday.com/safety/article/21904310/the-ethics-of-safety (accessed on 9 May 2021).
- Krause, T.R.; Hidley, J. Taking the Lead in Patient Safety: How Healthcare Leaders Influence Behavior and Create Culture; John Wiley & Sons: New York, NY, USA, 2008. [Google Scholar]
- Rahanu, H.; Georgiadou, E.; Siakas, K.; Ross, M. Imperative Ethical Behaviours in Making Systems Development and Deployment Compliant with Health & Safety and Wellbeing. In European Conference on Software Process Improvement; Springer: Cham, Switzerland, 2018; pp. 541–553. [Google Scholar]
- Groot-Kormelink, J.G. Responsible Innovation: Ethics, Safety and Technology; TU Delft Open: Mekelweg, The Netherlands, 2019. [Google Scholar]
- Resnik, D.B. Responsibility for Health: Personal, Social, and Environmental. J. Med. Ethics 2007, 33, 444–445. [Google Scholar] [CrossRef]
- Wachter, J.K.; Bird, A.J. Ethical Considerations for the Occupational Safety and Health Professional for Data Collection, Analysis and Interpretation. In Applied Quantitative Methods for Occupational Safety and Health; University Readers: San Diego, CA, USA, 2010. [Google Scholar]
- Longo, F.; Padovano, A.; Umbrello, S. Value-Oriented and Ethical Technology Engineering in Industry 5.0: A Human-Centric Perspective for the Design of the Factory of the Future. Appl. Sci. 2020, 10, 4182. [Google Scholar] [CrossRef]
- Beauchamp, T.L.; Childress, J.F. Principles of Biomedical Ethics, 7th ed.; Oxford University Press: New York, NY, USA, 2009. [Google Scholar]
- Whicher, D.M.; Kass, N.E.; Audera-Lopez, C.; Butt, M.; Jauregui, L.; Harris, K.; Knoche, J.; Saxena, A. Ethical Issues in Patient Safety Research: A Systematic Review of the Literature. J. Patient Saf. 2014, 11, 174–184. [Google Scholar] [CrossRef] [PubMed] [Green Version]
- Westerholm, P. Professional Ethics in Occupational Health-Western European Perspectives. Ind. Health 2007, 45, 19–25. [Google Scholar] [CrossRef] [Green Version]
- Resnik, D.B. Environmental Health Ethics; Cambridge University Press: Cambridge, UK, 2012. [Google Scholar]
- Schumann, P.L. A Moral Principles Framework for Human Resource Management Ethics. Hum. Resour. Manag. Rev. 2001, 11, 93–111. [Google Scholar] [CrossRef]
- Long, R. The Ethics of Safety. Available online: safetyrisk.net/ (accessed on 9 May 2021).
- Abma, T.; Groot, B.; Widdershoven, G. The Ethics of Public and Service User Involvement in Health Research: The Need for Participatory Reflection on Everyday Ethical Issues. Am. J. Bioeth. 2019, 19, 23–25. [Google Scholar] [CrossRef]
- International Collaboration for Participatory Health Research. Position Paper 1: What is Participatory Health Research? Available online: http://www.icphr.org/uploads/2/0/3/9/20399575/ichpr_position_paper_1_defintion_-_version_may_2013.pdf (accessed on 9 May 2021).
- International Collaboration for Participatory Health Research. Position Paper 2: Participatory Health Research: A Guide to Ethical Principals and Practice. Available online: www.icphr.org/position-papers (accessed on 9 May 2021).
- International Collaboration for Participatory Health Research. Position Paper 3: Impact in Participatory Health Research. Available online: http://www.icphr.org/uploads/2/0/3/9/20399575/icphr_position_paper_3_impact_-_march_2020__1_.pdf (accessed on 9 May 2021).
- Jobin, A.; Ienca, M.; Vayena, E. The Global Landscape of AI Ethics Guidelines. Nat. Mach. Intell. 2019, 1, 389–399. [Google Scholar] [CrossRef]
- Wright, N.; Meijboom, F.L.B.; Sandøe, P. Thoughts on the Ethics of Preventing and Controlling Epizootic Diseases. Vet. J. 2010, 186, 127–128. [Google Scholar] [CrossRef] [PubMed]
- Manuel, M.E. Safety and Risk Management Considerations for CSR. In Corporate Social Responsibility in the Maritime Industry; Springer: Cham, Switzerland, 2018; pp. 253–278. [Google Scholar]
- Wenar, L.; Rawls, J. The Stanford Encyclopedia of Philosophy. Available online: plato.stanford.edu/entries/rawls/ (accessed on 7 May 2021).
- Yeoman, R.; Mueller-Santos, M. Mutuality in Business. Briefing nr 3; Said Business School: Oxford, UK, 2016. [Google Scholar]
- Robertson, D.C.; Anderson, E. Control System and Task Environment Effects on Ethical Judgment: An Exploratory Study of Industrial Salespeople. Organ. Sci. 1993, 4, 617–644. [Google Scholar] [CrossRef]
- Lindhout, P.; Reniers, G. What About Nudges in the Process Industry? Exploring a New Safety Management Tool. J. Loss Prev. Process. Ind. 2017, 50, 243–256. [Google Scholar] [CrossRef]
- Mea, W.J.; Sims, R.R. Human Dignity-Centered Business Ethics: A Conceptual Framework for Business Leaders. J. Bus. Ethics 2019, 160, 53–69. [Google Scholar] [CrossRef]
- Tamunomiebi, M.D.; Elechi, B.C. Ethical Managerial Orientations: Emerging Issues. Eur. J. Hum. Resour. Manag. Studies 2020, 4, 36–47. [Google Scholar]
- United Nations. Transforming Our World: The 2030 Agenda for Sustainable Development. Available online: https://sustainabledevelopment.un.org/content/documents/21252030AgendaforSustainableDevelopmentweb.pdf (accessed on 4 May 2021).
- Montgomery, S. Safety Ethics Through One Professional’s Eyes. Available online: https://safetymanagementgroup.com/safety-ethics-through-one-professionals-eyes/ (accessed on 12 May 2021).
- International Labour Organisation (ILO). Declaration on Fundamental Principles and Rights at Work. Available online: www.ilo.org/declaration/thedeclaration/textdeclaration/WCMS_716594/lang--en/index.htm (accessed on 10 May 2021).
- United Nations General Assembly. Universal Declaration of Human Rights; Department of State: Washington, DC, USA, 1949. [Google Scholar]
- EU. Charter of Fundamental Rights; European Union: Brussels, Belgium, 2012. [Google Scholar]
- Chapman, A.R. A “Violations Approach” for Monitoring the International Covenant on Economic, Social and Cultural Rights (ICESCR) 1. Hum. Rights 2017, 18, 449–492. [Google Scholar]
- Aven, T.; Renn, O. Improving Government Policy on Risk: Eight Key Principles. Reliab. Eng. Syst. Saf. 2018, 176, 230–241. [Google Scholar] [CrossRef]
- Annan, K. The Ten Principles of the UN Global Compact. Available online: www.unglobalcompact.org/what-is-gc/mission/principles (accessed on 23 May 2021).
- CRT. Caux Round Table for Moral Capitalism. Available online: www.cauxroundtable.org/principles/ (accessed on 9 May 2021).
- Ersdal, G.; Aven, T. Risk Informed Decision-Making and Its Ethical Basis. Reliab. Eng. Syst. Saf. 2008, 93, 197–205. [Google Scholar] [CrossRef]
- Wachter, J.K. Ethics: The Absurd Yet Preferred Approach to Safety Management. Prof. Saf. 2011, 56, 50–57. [Google Scholar]
- Eckhardt, R. The Moral Duty to Provide Workplace Safety. Prof. Saf. 2001, 46, 36–38. [Google Scholar]
- Wachter, J.K.; Bird, A.J. Quantitative Aspects of Occupational Safety and Health Systems. In Applied Quantitative Methods for Occupational Safety and Health; University Readers: San Diego, CA, USA, 2010. [Google Scholar]
- Guraya, S.Y.; London, N.J.M.; Guraya, S.S. Ethics in Medical Research. J. Microsc. Ultrastruct. 2014, 2, 121–126. [Google Scholar] [CrossRef] [Green Version]
- Artvinli, F. The Ethics of Occupational Health and Safety in Turkey: Responsibility and Consent to Risk. Acta Bioeth. 2016, 22, 111–118. [Google Scholar] [CrossRef] [Green Version]
- Hughes, R.C. Paying People to Risk Life or Limb. Bus. Ethics Q. 2019, 29, 295–316. [Google Scholar] [CrossRef] [Green Version]
- Maslen, S. Safety Management Through Values: A Critical Engagement with the Moral Labor of Disaster Prevention. Saf. Sci. 2019, 120, 484–491. [Google Scholar] [CrossRef]
- Griffin, M.A.; Neal, A. Perceptions of Safety at Work: A Framework for Linking Safety Climate to Safety Performance, Knowledge and Motivation. J. Occup. Health Psychol. 2000, 5, 347–358. [Google Scholar] [CrossRef] [PubMed]
- Hansson, S.O. The Ethics of Risk: Ethical Analysis in an Uncertain World; Palgrave-Macmillan: New York, NY, USA, 2013. [Google Scholar]
- Vanem, E. Ethics and Fundamental Principles of Risk Acceptance Criteria. Saf. Sci. 2012, 50, 958–967. [Google Scholar] [CrossRef]
- Wachter, J.K. Ethics and the Environment, Safety and Health Professional; Oregon State University: Corvallis, OR, USA, 2009. [Google Scholar]
- Lindhout, P.; Swuste, P.; Teunissen, G.J.; Ale, B.J.M. Safety in Multilingual Work Settings: Reviewing a Neglected Subject in European Union Policymaking. Eur. J. Lang. Policy 2012, 4, 137–169. [Google Scholar] [CrossRef]
- Kim, J.; Loewenstein, J. Analogical Encoding Fosters Ethical Decision Making Because Improved Knowledge of Ethical Principles Increases Moral Awareness. J. Bus. Ethics 2020, 1, 1–18. [Google Scholar] [CrossRef]
- Van Herten, J.; Buikstra, S.; Bovenkerk, B.; Stassen, E. Ethical Decision-Making in Zoonotic Disease Control. J. Agric. Environ. Ethics 2020, 33, 239–259. [Google Scholar] [CrossRef] [Green Version]
- Carpenter, D.; James, C. Moral Intensity and Individual State Constructs: Maturing Safety Culture through an Ethical Lens. J. Health Saf. Res. Pract. 2017, 9, 16–31. [Google Scholar]
- Hollnagel, E. Risk + Barriers = Safety? Saf. Sci. 2008, 46, 221–229. [Google Scholar] [CrossRef]
- Akstinaite, V.; Sadler-Smith, E. Entrepreneurial hubris. In World Encyclopedia of Entrepreneurship; Edward Elgar Publishing: Cheltenham, UK, 2021. [Google Scholar]
- McMurray, R.; Pullen, A. (Eds.) Morality, Ethics and Responsibility in Organization and Management; Routledge: Abingdon, UK, 2020; pp. 1–7. [Google Scholar]
- Bandura, A.; Caprara, G.V.; Zsolnai, L. Corporate Transgressions. Ethics Econ. Handb. Bus. Ethics 2002, 151–164. [Google Scholar] [CrossRef]
- Croall, H. Who Is the White-Collar Criminal? Br. J. Criminol. 1989, 29, 157–174. [Google Scholar] [CrossRef]
- Lindhout, P.; Reniers, G. Risk Validation by the Regulator in Seveso Companies: Assessing the Unknown. J. Loss Prev. Process. Ind. 2017, 49, 78–93. [Google Scholar] [CrossRef]
- Martin, S.R.; Kish-Gephart, J.J.; Detert, J.R. Blind Forces: Ethical Infrastructures and Moral Disengagement in Organizations. Organ. Psychol. Rev. 2014, 4, 295–325. [Google Scholar] [CrossRef]
- Probst, T.M.; Petitta, L.; Barbaranelli, C.; Austin, C. Safety-Related Moral Disengagement in Response to Job Insecurity: Counterintuitive Effects of Perceived Organizational and Supervisor Support. J. Bus. Ethics 2020, 162, 343–358. [Google Scholar] [CrossRef]
- Lindhout, P.; Kingston-Howlett, J.C.; Reniers, G. Learning from Language Problem Related Accident Information in the Process Industry: A Literature Study. Process. Saf. Environ. Prot. 2019, 130, 140–152. [Google Scholar] [CrossRef]
- Moore, C. Moral Disengagement in Processes of Organizational Corruption: The Effect of Moral Disengagement on Unethical Decision Making, Moral Awareness, and Organizational Advancement; University of Toronto: Toronto, ON, Canada, 2008. [Google Scholar]
- Bandura, A. Mechanisms of Moral Disengagement. In Origins of Terrorism: Psychologies, Ideologies, States of Mind; Reich, W., Ed.; Cambridge University Press: New York, NY, USA, 1990; pp. 161–191. [Google Scholar]
- Bandura, A. Selective Activation and Disengagement of Moral Control. J. Soc. Issues 1990, 46, 27–46. [Google Scholar] [CrossRef]
- Bandura, A. Moral Disengagement in the Perpetuation of Inhumanities. Personal. Soc. Psychol. Rev. 1999, 3, 193–209. [Google Scholar] [CrossRef] [PubMed]
- Bandura, A. Selective Moral Disengagement in the Exercise of Moral Agency. J. Moral Educ. 2002, 31, 101–119. [Google Scholar] [CrossRef]
- Solomon, R.C. Aristotle, Ethics and Business Organizations. Organ. Stud. 2004, 25, 1021. [Google Scholar] [CrossRef]
- Pearsall, M.J.; Ellis, A.P. Thick as Thieves: The Effects of Ethical Orientation and Psychological Safety on Unethical Team Behavior. J. Appl. Psychol. 2011, 96, 401. [Google Scholar] [CrossRef]
- Tenbrunsel, A.E.; Smith-Crowe, K. Ethical Decision Making: Where We’ve Been and Where We’re Going. Acad. Manag. Ann. 2008, 2, 545–607. [Google Scholar] [CrossRef]
- Petitta, L.; Probst, T.M.; Barbaranelli, C. Safety Culture, Moral Disengagement, and Accident Underreporting. J. Bus. Ethics 2017, 141, 489–504. [Google Scholar] [CrossRef]
- Nelkin, D.K.; Rickless, S.C. Three Cheers for the Doctrine of Double Effect. Philos. Phenomenol. Res. 2014, 89, 125–158. [Google Scholar] [CrossRef]
- Parboteeah, K.P.; Kapp, E.A. Ethical Climates and Workplace Safety Behaviors: An Empirical Investigation. J. Bus. Ethics 2008, 80, 515–529. [Google Scholar] [CrossRef]
- Zwetsloot, G.I.; Aaltonen, M.; Wybo, J.L.; Saari, J.; Kines, P.; De Beeck, R.O. The Case for Research into the Zero Accident Vision. Saf. Sci. 2013, 58, 41–48. [Google Scholar] [CrossRef]
- Carroll, A.B. The Pyramid of Corporate Social Responsibility: Toward the Moral Management of Organizational Stakeholders. Bus. Horiz. 1991, 34, 39–48. [Google Scholar] [CrossRef]
- Zwetsloot, G.I.J.M. From Management Systems to Corporate Social Responsibility. J. Bus. Ethics 2003, 44, 201–207. [Google Scholar] [CrossRef]
- Smith, J.; Dubbink, W. Understanding the Role of Moral Principles in Business Ethics: A Kantian Perspective. Bus. Ethics Q. 2011, 21, 205–231. [Google Scholar] [CrossRef] [Green Version]
- Kapp, E.A. The Influence of Supervisor Leadership Practices and Perceived Group Safety Climate on Employee Safety Performance. Saf. Sci. 2012, 50, 1119–1124. [Google Scholar] [CrossRef]
- Thomas, T.; Schermerhorn Jr, J.R.; Dienhart, J.W. Strategic Leadership of Ethical Behavior in Business. Acad. Manag. Perspect. 2004, 18, 56–66. [Google Scholar] [CrossRef]
- Angulo, G. How Ethical Leadership Influences Moral Disengagement and Encourages Employees to Engage in Ethical Practices. Ph.D. Thesis, Grand Canyon University, Phoenix, AZ, USA, 2020. [Google Scholar]
- Swidler, A. Culture in Action: Symbols and Strategies. Am. Sociol. Rev. 1986, 51, 273–286. [Google Scholar] [CrossRef] [Green Version]
- Cullen, J.; Victor, B.; Stephens, C. An Ethical Weather Report: Assessing the Organization’s Ethical Climate. Organ. Dyn. 2001, 18, 50–62. [Google Scholar] [CrossRef]
- Kapp, E.A.; Parboteeah, K.P. Ethical Climate & Safety Performance Design Better Programs, Improve Compliance and Foster Participation. Prof. Saf. 2008, 53, 28–31. [Google Scholar]
- Baskin, M.E.B.; Vardaman, J.M.; Hancock, J.I. The Role of Ethical Climate and Moral Disengagement in Well-Intended Employee Rule Breaking. J. Behav. Appl. Manag. 2016, 16, 1159. [Google Scholar]
- Pagliaro, S.; Lo Presti, A.; Barattucci, M.; Giannella, V.A.; Barreto, M. on the Effects of Ethical Climate (S) on Employees’ Behavior: A Social Identity Approach. Front. Psychol. 2018, 9, 960. [Google Scholar] [CrossRef]
- Reniers, G.L.; Van Erp, H.N. Operational Safety Economics: A Practical Approach Focused on the Chemical and Process Industries; John Wiley & Sons: New York, NY, USA, 2016. [Google Scholar]
- Reniers, G.; Landucci, G.; Khakzad, N. What Safety Models and Principles Can Be Adapted and Used in Security Science? J. Loss Prev. Process. Ind. 2020, 64, 104068. [Google Scholar] [CrossRef]
- Li, Y.; Guldenmund, F.W. Safety Management Systems: A Broad Overview of the Literature. Saf. Sci. 2018, 103, 94–123. [Google Scholar] [CrossRef]

| Ethical Principles in Society | International Institutions Proposed Ethical Principles | Emerging Corporate Ethical Conduct Standard Principles |
|---|---|---|
| Responsibility | No corruption | 1. Fiduciary principle |
| Take responsibility for corrective action on unsafety, misconduct and transgression. | Avoid illegal activities and corruption. Respect laws, rules, conventions and codes of conduct. | Act to prohibit unethical activities. |
| Reparation | 2. Property principle | |
| Undo damage done to others. | Respect intellectual and physical property, no theft, no illegal waste. | |
| Integrity/Reciprocity, Golden rule | 3. Reliability principle | |
| Treat others as you like to be treated, honesty, keep promises (fidelity), loyalty, commitment. | Be trustworthy, keep promises, abide by contracts. | |
| The common good | X | |
| Common good is preferable over the good for an individual or organization. | ||
| Cautionary principle | Criteria for risk acceptance | X |
| Use caution or avoid the action when extreme consequences are involved. | Use methods and criteria for risk analysis and acceptance decision making. | |
| Precautionary principle | Respect the environment | X (see 7.) |
| If the effect of an action can be dangerous and uncertain, take preventive measures, or do not do the action. | Precautionary approach of environment, responsibility for environment, use environmentally friendly technology. | |
| Transparency principle | Transparency | 4. Transparency principle |
| Provide good information, e.g., about risks. | Transparent risk communication. | Respect for truth, accurate information, display openness. |
| Autonomy | X | |
| Protect people’s autonomy and decisions, (risk-) informed consent. | ||
| Value for human life | 5. Dignity principle | |
| Protecting human lives is more important than goods. An action should be based on caring for the people and their relationships. | Respect for people, health, safety, rights and privacy. | |
| Do no harm/Non-maleficence/Value for human life/Non-injury | Protection of human rights | X (see 5. and 6.) |
| Do no harm. Protect people’s health and safety, nature and the environment. | Protection of human rights, non-complicity in abuse, free association, no forced labour, no child labour, no discrimination. | |
| Justice (as fairness) principle/Rights principle | X (see 5. and 6.) | |
| Equal people should be treated equally, unequal people should be treated unequally in proportion to their inequality. An action may be performed only when having the moral right to do so, while not infringing the rights of others. | ||
| Fairness principle/Distributive justice | 6. Fairness principle | |
| The benefit and the burden as the effects of an action should be fairly distributed. | Fair distribution of rewards and burdens, equal pay for equal work, no discrimination. | |
| Equity principle | Equity | X |
| An activity must be beneficial to all. | An activity must be beneficial to all. | |
| Beneficence | Respect for societal development | 7. Citizenship principle |
| Help to improve the situation of others, set societal goals or assume societal responsibility or duty. Minimizing harm, seek benefits, balancing them against risks and costs. | Contribute to economic and social development, support responsible globalization. | Respect for and contribution to society and environment. Corporate social responsibility (CSR). |
| Excellence principle/Self-improvement | Excellence principle | X |
| Act on possibilities to improve. | Perform beyond the requirements by law, improve and build trust. | Perform beyond the requirements by law [61]. |
| Virtue principle | X (see 7.) | |
| An action should be based on virtues (e.g., respect for human life, privacy, dignity, freedom, fairness, truth, reciprocity, safety, security, common good, altruism, generosity, tolerance, honesty, wisdom) rather than on vices (e.g., violence, greed, slander, lust, exploitation, intolerance, selfishness). | ||
| Gratitude | Respect stakeholders | 8. Responsiveness principle |
| When appropriate show gratitude. | Stakeholders are to be respected beyond shareholders. | Respond to stakeholder concerns Respect stakeholders [61]. |
| Risk Control Measures Description | References |
|---|---|
| 1-ETHICAL MANAGEMENT POLICY | |
| Include ethics in the company safety policy. | [98] |
| Ensure full commitment to safety and to ethical principles throughout the organization. | [98] |
| Embrace philanthropy; adopt the pyramid of corporate social responsibility (CSR). | [22,98,99] |
| Embrace transparency, e.g., choose for honesty and trust about risks. | [22,46,59,76,100] |
| Do no harm; protect health and safety, show performance w.r.t. people, planet and profit. | [100,101] |
| Do things right the first time and do the right things. | [100] |
| Organize a support system to facilitate ethics management and use ethical policies, codes of conduct, rituals, stories, language, rewards, climate and culture. Evaluate these regularly. | [19,84,98] |
| Include ethics in human resource management and the selection process. | [22,84] |
| 2-ETHICAL LEADERSHIP | |
| Embrace the values of business ethics. | [98] |
| Place a high value on safety and aim for values-based safety leadership. | [98,102,103,104] |
| Lead by example, be a role model, inspirator. | [22,104] |
| Lead in a human way: be accessible, interested in employees, honest. See, hear and inform employees. | [22] |
| 3-ETHICAL RISK ASSESSMENT | |
| Stimulate risk appetite: systematically investigate unknown or intangible risk | [83] |
| Avoid the use of false information, e.g., fabricated data, incorrect labelling, poor statistics, false descriptions, biased conclusions, flawed administrative methods. | [63,66,82,83] |
| 4-ETHICAL CLIMATE | |
| Educate everyone on how to do everyday business in a moral, ethical and safe way. | [50,75,77,84,105] |
| Bring personal, professional and organizational ethics in line, using ethical criteria (egoism, benevolence, principle) and levels of analysis (individual, local, cosmopolitan). | [26,97,106,107] |
| Stimulate a rules/principled and care/wellbeing cantered local ethical climate. | [97,108,109] |
| Avoid utilitarianism and psychological safety within teams. | [93] |
| 5-ETHICAL DECISION MAKING | |
| Implement an ethical decision-making process | [94] |
| Provide guidance about values, ethical principles, handling ethical dilemmas, vulnerability for uncertainties and about imposing risk on people, short/long term. | [22,45,59,71,76] |
| Distinguish between whether the knowledge is insufficient to predict the effect of an action and whether the outcome is immoral or goes against social norms. | [62] |
| Make use of well proven existing methods, e.g., cost-benefit analysis (CBA), minimum safety criterion, ALARP, individual risk limits. | [62,110] |
| Apply ethical principles in decision making: -Cautionary principle: if an action has the potential of extreme danger or damage, be cautious or avoid the action; -Precautionary principle: if an action can be dangerous and uncertain take precautionary measures or do not do the action; -Equity principle: An activity must be beneficial to all; -Fairness principle: Benefits and burden must be fairly distributed. | [22,25,59,62] |
| 6-ETHICAL BEHAVIOUR | |
| Distinguish between safety-compliance and safety participation behaviours. | [70] |
| Stimulate employees to behave in an ethical way. Explain what is unethical. Stimulate both excellent and ethical work performance. Introduce goals, responsibilities, rewards and behavioural norms for individuals and teams. | [22] |
| Avoid conflicts of interest, unsafe products and dishonest advertisements. | [22] |
| Respect for stakeholders, e.g., customers, suppliers, shareholders, local community, shared resources, nature and the environment. | [22] |
| Take responsibility for corrective action on misconduct and transgression, e.g., self-dealing, theft, disrespect for law, stealing intellectual property, improper handling of waste, breaking promises, breach of contract, misleading information, privacy intrusion, disrespect dignity, neglect health and safety, violate human rights, discrimination, improper political activity, bribery, the doctrine of double effect. | [22,96] |
| Assess, measure and monitor the ethical aspect of behaviour. | [87,106] |
Publisher’s Note: MDPI stays neutral with regard to jurisdictional claims in published maps and institutional affiliations. |
© 2021 by the authors. Licensee MDPI, Basel, Switzerland. This article is an open access article distributed under the terms and conditions of the Creative Commons Attribution (CC BY) license (https://creativecommons.org/licenses/by/4.0/).
Share and Cite
Lindhout, P.; Reniers, G. Involving Moral and Ethical Principles in Safety Management Systems. Int. J. Environ. Res. Public Health 2021, 18, 8511. https://doi.org/10.3390/ijerph18168511
Lindhout P, Reniers G. Involving Moral and Ethical Principles in Safety Management Systems. International Journal of Environmental Research and Public Health. 2021; 18(16):8511. https://doi.org/10.3390/ijerph18168511
Chicago/Turabian StyleLindhout, Paul, and Genserik Reniers. 2021. "Involving Moral and Ethical Principles in Safety Management Systems" International Journal of Environmental Research and Public Health 18, no. 16: 8511. https://doi.org/10.3390/ijerph18168511
APA StyleLindhout, P., & Reniers, G. (2021). Involving Moral and Ethical Principles in Safety Management Systems. International Journal of Environmental Research and Public Health, 18(16), 8511. https://doi.org/10.3390/ijerph18168511
