The Potential Environmental Impact of PAHs on Soil and Water Resources in Air Deposited Coal Refuse Sites in Niangziguan Karst Catchment, Northern China
Abstract
1. Introduction
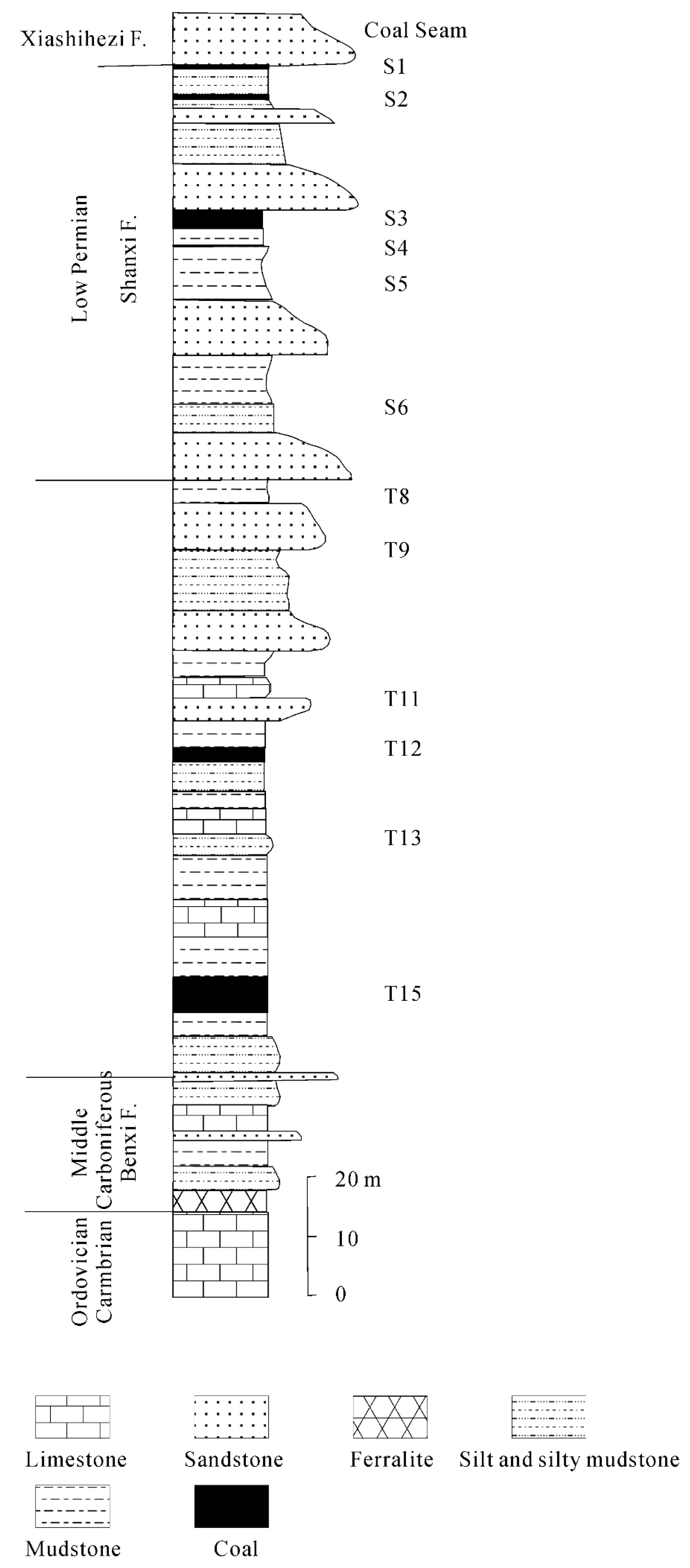
2. Geological Setting
3. Materials and Methods
3.1. Sampling
3.2. Experimental and Analytical Methods
4. Results and Discussion
4.1. PAHs in the Coal Spoils
4.2. Distribution of PAHs in Surround Surface Soil
4.3. Vertical Distribution of PAHs in Soil
4.4. PAHs Emissions During Spontaneous Combustion
5. Conclusions
Supplementary Materials
Author Contributions
Funding
Acknowledgments
Conflicts of Interest
References
- Carlson, C.L.; Carlson, C.A. Impacts of coal pile leachate on a forested wetland in South Carolina. Water Air Soil Pollut. 1994, 72, 89–109. [Google Scholar] [CrossRef]
- Engstrom, D.R.; Swain, E.B. Recent declines in atmospheric mercury deposition in the upper Midwest. Environ. Sci. Technol. 1997, 31, 960–967. [Google Scholar] [CrossRef]
- Finkelman, R.B.; Belkin, H.E.; Zheng, B.S. Health impacts of domestic coal use in China. Proc. Natl. Acad. Sci. USA 1999, 96, 3427–3431. [Google Scholar] [CrossRef] [PubMed]
- Cornea, N. Influence of the Degree of Carbonization and Granulation of Fuel on Combustion Process. Revista de Chimie 2010, 61, 869–871. [Google Scholar]
- Hower, J.C.; Henke, K.R.; O’Keefe, J.M.K.; Engle, M.A.; Blake, D.R.; Stracher, G.B. The tiptop coal mine fire, Kentucky: Preliminary investigation of the measurement of mercury and other hazardous gases from coal-fire gas vents. Int. J. Coal Geol. 2009, 80, 63–67. [Google Scholar] [CrossRef]
- Hower, J.C.; O’Keefe, J.M.K.; Henke, K.R.; Wagner, N.J.; Copley, G.; Blake, D.R.; Garrison, T.M.; Oliveira, M.L.S.; Kautzmann, R.M.; Silva, L.F.O. Gaseous emissions from the Truman Shepherd coal fire, Floyd County, Kentucky: A re-investigation following attempted mitigation of the fire. Int. J. Coal Geol. 2013, 116–117, 63–74. [Google Scholar] [CrossRef]
- Engle, M.A.; Radke, L.F.; Heffern, E.L.; O’Keefe, J.M.K.; Hower, J.C.; Smeltzer, C.D.; Hower, J.M.; Olea, R.A.; Eatwell, R.J.; Blake, D.R.; et al. Gas emissions, minerals, and tars associated with three coal fires, Powder River Basin, USA. Sci. Total Environ. 2012, 420, 146–159. [Google Scholar] [CrossRef]
- Civeira, M.S.; Pinheiro, R.N.; Gredilla, A.; de Vallejuelo, S.F.O.; Oliveira, M.L.; Ramos, C.G.; Taffarel, S.R.; Kautamann, R.M.; Madariaga, J.M.; Silva, L.F. The properties of the nano-minerals and hazardous elements: Potential environmental impacts of Brazilian coal waste fire. Sci. Total Environ. 2016, 544, 892–900. [Google Scholar] [CrossRef]
- Steiakakis, E.; Kavouridis, K.; Monopolis, D. Large scale failure of the external waste dump at the “South Field” lignite mine, Northern Greece. Eng. Geol. 2009, 104, 269–279. [Google Scholar] [CrossRef]
- Gao, X.; Wang, Y.; Hu, Q. Fractionation and speciation of arsenic in fresh and combusted coal wastes from Yangquan, northern China. Environ. Geochem. Health 2012, 34, 113–122. [Google Scholar] [CrossRef]
- Zhang, X.; Li, X.; Gao, X. Hydrochemistry and coal mining activity induced karst water quality degradation in the Niangziguan karst water system, China. Environ. Sci. Pollut. Res. 2016, 23, 6286–6299. [Google Scholar] [CrossRef] [PubMed]
- O’Keefe, J.M.K.; Henke, K.; Hower, J.C.; Engle, M.A.; Stracher, G.B.; Stucker, J.D.; Drew, J.W.; Staggs, W.D.; Murray, T.M.; Hammond, M.L., III; et al. CO2, CO, and Hg emissions from the Truman Shepherd and Ruth Mullins coal fires, Eastern Kentucky, USA. Sci. Total Environ. 2010, 408, 1628–1633. [Google Scholar] [CrossRef]
- O’Keefe, J.M.K.; Neace, E.R.; Lemley, E.W.; Hower, J.C.; Henke, K.R.; Copley, G.; Hatch, R.S.; Satterwhite, A.B.; Blake, D.R. Old Smokey coal fire, Floyd County, Kentucky: Estimates of gaseous emission rates. Int. J. Coal Geol. 2011, 87, 150–156. [Google Scholar] [CrossRef]
- Ruchaya, B.; Gullaya, W.; Ayako, T.; Hideshige, T. Distribution and origins of polycyclic aromatic hydrocarbons (PAHs) in riverine, estuarine and marine sediments in Thailand. Mar. Pollut. Bull. 2006, 52, 942–956. [Google Scholar]
- Pone, J.D.N.; Hein, K.A.A.; Stracher, G.B.; Annegarn, H.J.; Finkleman, R.B.; Blake, D.R.; McCormack, J.K.; Schroeder, P. The spontaneous combustion of coal and its by-products in the Witbank and Sasolburg coalfields of South Africa. Int. J. Coal Geol. 2007, 72, 124–140. [Google Scholar] [CrossRef]
- Querol, X.; Zhuang, X.; Font, O.; Izquierdo, M.; Alastuey, A.; Castro, I.; van Drooge, B.L.; Moreno, T.; Grimalt, J.O.; Elvira, J.; et al. Inluence of soil cover on reducing the environmental impact of spontaneous coal combustion in coal waste gobs: A review and new experimental data. Int. J. Coal Geol. 2011, 85, 2–22. [Google Scholar] [CrossRef]
- Ljung, K.; Selinus, O.; Otabbong, E. Metals in soils of children’s urban environments in the small northern European city of Uppsala. Sci. Total Environ. 2005, 366, 749–759. [Google Scholar] [CrossRef]
- Ljung, K.; Selinus, O.; Otabbong, E.; Berglund, M. Metal and arsenic distribution in soil particle sizes relevant to soil ingestion by children. Appl. Geochem. 2006, 21, 1613–1624. [Google Scholar] [CrossRef]
- Finkelman, R.B. Potential health impacts of burning coal beds and waste banks. Int. J. Coal Geol. 2004, 59, 19–24. [Google Scholar] [CrossRef]
- Finkelman, R.B.; Tian, L.W. The health impacts of coal use in China. Int. Geol. Rev. 2018, 60, 579–589. [Google Scholar] [CrossRef]
- Dai, S.; Li, W.; Tang, Y.; Zhang, Y.; Feng, P. The sources, pathway, and preventive measures for fluorosis in Zhijin County, Guizhou, China. Appl. Geochem. 2007, 22, 1017–1024. [Google Scholar] [CrossRef]
- Nriagu, J.O. A silent epidemic of environmental metal poisoning. Environ. Pollut. 1988, 50, 139–161. [Google Scholar] [CrossRef]
- Wang, S.; Luo, K.; Wang, X.; Sun, Y. Estimate of sulfur, arsenic, mercury, fluorine emissions due to spontaneous combustion of coal gangue: An important part of Chinese emission inventories. Environ. Pollut. 2016, 209, 107–113. [Google Scholar] [CrossRef]
- Misz-Kennan, M.; Fabiańska, M.J. Application of organic petrology and geochemistry to coal waste studies. Int. J. Coal Geol. 2011, 88, 1–23. [Google Scholar] [CrossRef]
- Mukerjee, D. Health impact of polychlorinated dibenzo-p-dioxins: A critical review. J. Air Waste Manag. 1998, 48, 157–165. [Google Scholar] [CrossRef]
- Jacob, J.; Seidel, A. Biomonitoring of polycyclic aromatic hydrocarbons in human urine. J. Chromatogr. B 2002, 778, 31–47. [Google Scholar] [CrossRef]
- Wang, X.W.; Zhong, N.N.; Hu, D.M.; Liu, Z.Z.; Zhang, Z.H. Polycyclic aromatic hydrocarbon (PAHs) pollutants in groundwater from coal gangue stack area: Characteristics and origin. Water Sci. Technol. 2009, 59, 1043–1051. [Google Scholar] [CrossRef]
- Pitts, J.N. Formation and fate of gaseous and particulate mutagens and carcinogens in real and simulated atmospheres. Environ. Health Perspect. 1983, 47, 115–140. [Google Scholar] [CrossRef]
- Chang, K.-F.; Fang, G.-C.; Chen, J.-C.; Wu, Y.-S. Atmospheric polycyclic aromatic hydrocarbons (PAHs) in Asia: A review from 1999 to 2004. Environ. Pollut. 2006, 142, 388–396. [Google Scholar] [CrossRef]
- Yunker, M.B.; Macdonald, R.W.; Snowdon, L.R.; Fowler, B.R. Alkane and PAH biomarkers as tracers of terrigenous organic carbon in Arctic Ocean sediments. Org. Geochem. 2011, 42, 1109–1146. [Google Scholar] [CrossRef]
- Benner, B.A.; Gordon, G.E.; Wise, S.A. Mobile sources of atmospheric polycyclic aromatic hydrocarbons: A roadway tunnel study. Environ. Sci. Technol. 1989, 23, 1269–1278. [Google Scholar] [CrossRef]
- Junker, M.; Kasper, M.; Röösli, M.; Camenzind, M.; Künzli, N.; Monn, C.; Theis, G.; Braun-Fahrländer, C. Air-borne particle number profiles, particle mass distributions and particle-bound PAH concentrations within the city environment of Basel: An assessment as part of the BRISK A project. Atmos. Environ. 2000, 34, 3171–3181. [Google Scholar] [CrossRef]
- Misra, B.K.; Singh, B.D. Susceptibility to spontaneous combustion of Indian coals and lignites: An organic petrographic autopsy. Int. J. Coal Geol. 1994, 25, 265–286. [Google Scholar] [CrossRef]
- Wang, G.Q.; Zhao, H.H.; Wu, D.X.; Liu, Y.; Xie, M.X. Gangue sanitary landfill and recovering ecological environment in Huaibei and Huainan mining area. J. China Coal Soc. 2001, 26, 428–431, (In Chinese with English Abstract). [Google Scholar]
- Wilcke, W. Global patterns of polycyclic aromatic hydrocarbons (PAHs) in soil. Geoderma 2007, 141, 157–166. [Google Scholar] [CrossRef]
- Boström, C.E.; Gerde, P.; Hanberg, A.; Jernström, B.; Johansson, C.; Kyrklund, T.; Rannug, A.; Törnqvist, M.; Victorin, K.; Westerholm, R. Cancer risk assessment, indicators, and guidelines for polycyclic aromatic hydrocarbons in the ambient air. Environ. Health Perspect 2002, 110, 451–488. [Google Scholar]
- Korashy, H.; EI-Kadi, A. The role of Aryl Hydrocarbon receptor in the Pathogenesis of Cardiovascular Diseases. Drug Metab. Rev. 2006, 38, 411–450. [Google Scholar] [CrossRef]
- Suades-Gonzalez, E.; Gascon, M.; Guxens, M.; Sunyer, J. Air pollution and neuropsychological development: A review of the latest evidence. Endocrinology 2015, 156, 3473–3482. [Google Scholar] [CrossRef]
- The Ministry of Land and Resources P.R.C. Annual Report of Coal Industry in China, 2016–2017; The Ministry of Land and Resources P.R.C.: Beijing, China, 2017. (In Chinese)
- Li, M.S. Ecological restoration of mine land with particular reference to the metalliferous mine wasteland in China: A review of research and practice. Sci. Total Environ. 2006, 357, 38–53. [Google Scholar] [CrossRef]
- Sun, Y.Z.; Fan, J.S.; Qin, P.; Niu, H.Y. Pollution extents of organic substances from a coal gangue dump of Jiulong Coal Mine, China. Environ. Geochem. Health 2009, 31, 81–89. [Google Scholar] [CrossRef]
- Huang, W.Z. Study on Spontaneous Combustion Mechanism and Prevention Technology of Coal Gangue. Ph.D. Thesis, Chongqing University, Chongqing, China, 2004; 136p. (In Chinese with English Abstract). [Google Scholar]
- Zhao, Y.; Zhang, J.; Chou, C.L.; Li, Y.; Wang, Z.; Ge, Y.; Zheng, C. Trace element emissions from spontaneous combustion of gob piles in coal mines, Shanxi, China. Int. J. Coal Geol. 2008, 73, 52–62. [Google Scholar] [CrossRef]
- Jiao, X.; Wang, Y. Depositional environments of the coal-bearing strate and their controls on coal seams in the Yangquan mining district, Shanxi. Sediment. Facies Palaeogeogr. 1999, 19, 30–39. [Google Scholar]
- Querol, X.; Izquierdo, M.; Monfort, E.; Alvarez, E.; Font, O.; Moreno, T.; Alastuey, A.; Zhuang, X.; Lu, W.; Wang, Y. Environmental characterization of burnt coal gangue banks at Yangquan, Shanxi Province, China. Int. J. Coal Geol. 2008, 75, 93–104. [Google Scholar] [CrossRef]
- Ge, Y.T. Environmental impact of trace elements in coal gangue from Shanxi Province. Coal Geol. China 1996, 4, 58–62. [Google Scholar]
- Gao, X.; Xu, M.; Hu, Q.; Wang, Y. Leaching behavior of trace elements in coal spoils from Yangquan coal mine, northern China. J. Earth Sci. 2016, 27, 891–900. [Google Scholar] [CrossRef]
- Heffen, E.L.; Coates, D.A. Geology of natural coal bed fires, Powder River Basin, USA. Int. J. Coal Geol. 2004, 59, 25–47. [Google Scholar] [CrossRef]
- Qi, Q.J.; Wu, X.; Liu, J.Z.; Hao, Y.; Zhou, J.H.; Cen, K. Experimental research on fluorine emission characteristics and influence factors during coal combustion (II). J. Liaoning Tech. Univ. 2005, 24, 625–628. (In Chinese) [Google Scholar]
- Liu, D.; Sakai, Y.J.; Yamamoto, M.; Sadakata, M. Behavior of fluorine in the combustion of Chinese coal in small furnaces. Energy Fuels 2006, 20, 1406–1410. [Google Scholar] [CrossRef]
- Chuncai, Z.; Guijian, L.; Dun, W.; Ting, F.; Ruwei, W.; Xiang, F. Mobility behavior and environmental implications of trace elements associated with coal gangue: A case study at the Huainan Coalfield in China. Chemosphere 2014, 95, 193–199. [Google Scholar] [CrossRef]
- Chen, L.G.; Ran, Y.; Xing, B.S.; Mai, B.X.; He, J.H.; Wei, X.G.; Fu, J.M.; Sheng, G.Y. Contents and sources of polycyclic aromatic hydrocarbons and organochlorine pesticides in vegetable soils of Guangzhou, China. Chemosphere 2005, 60, 879–890. [Google Scholar] [CrossRef]
- Zhang, H.; Luo, Y.; Wong, M.; Zhao, Q.; Zhang, G. Distributions and concentrations of PAHs in Hong Kong soils. Environ. Pollut. 2006, 141, 107–114. [Google Scholar] [CrossRef] [PubMed]
- Ribeiro, J.; Silva, T.; Mendonca Filho, J.G.; Flores, D. Polycyclic aromatic hydrocarbons (PAHs) in burning and non-burning coal waste piles. J. Hazard. Mater. 2012, 199–200, 105–110. [Google Scholar] [CrossRef]
- Ma, Y.G.; Cheng, J.P.; Jiao, F.; Duo, K.X.; Rong, Z.; Li, M.; Wang, W.H. Distribution, sources, and potential risk of polycyclic aromatic hydrocarbons (PAHs) in drinking water resources from Henan Province in middle of China. Environ. Monit. Assess. 2008, 146, 127–138. [Google Scholar] [CrossRef] [PubMed]
- Achten, C.; Hofmann, T. Native polycyclic aromatic hydrocarbons (PAH) in coals-a hardly recognized source of environment contamination. Sci. Total Environ. 2009, 407, 2461–2473. [Google Scholar] [CrossRef]
- Emsbo-Mattingly, S.D.; Stout, S.A. Semivolatile hydrocarbon residues of coal and coal tar. In Coal and Peat Fires: A Global Perspective; Stracher, G.B., Prakash, A., Sokol, E.V., Eds.; Elsevier: Amsterdam, The Netherlands, 2011; Volume 1, pp. 173–208. [Google Scholar]
- Morillo, E.; Romero, A.S.; Maqueda, C.; Madrid, L.; Ajmone-Marsan, F.; Grcman, H.; Davidson, C.M.; Hursthouse, A.S.; Villaverde, J. Soil pollution by PAHs in urban soils: A comparison of three European cities. J. Environ. Monit. 2007, 9, 1001–1008. [Google Scholar] [CrossRef]
- Luo, X.; Liu, C.; He, M. Sorption of polycyclic aromatic hydrocarbons (PAHs) by soils and sediments: A review. Ecol. Environ. 2004, 3, 394–398. [Google Scholar]
- Ahangar, A. Sorption of PAHs in the soil environment with emphasis on the role of soil organic matter: A review. World Appl. Sci. J. 2010, 11, 759–765. [Google Scholar]
- Liu, K.; Xie, W.; Zhao, Z.-B.; Pan, W.-P.; Riley, J.T. Investigation of polycyclic aromatichydrocarbons in fly ash from fluidized bed combustion systems. Environ. Sci. Technol. 2000, 34, 2273–2279. [Google Scholar] [CrossRef]
- Liu, S.; Wang, C.; Zhang, S.; Liang, J.; Chen, F.; Zhao, K. Formation and distribution of polycyclic aromatic hydrocarbons (PAHs) derived from coal seam combustion: A case study of the Ulanqab lignite from Inner Mongolia, northern China. Int. J. Coal Geol. 2012, 90–91, 126–134. [Google Scholar] [CrossRef]








| ID | Nap | Acy | Ace | Flu | Phe | Ant | Fla | Pyr | BaA | Chr | BbF | BkF | BaP | IP | DahA | BghiP | ∑PAHs |
|---|---|---|---|---|---|---|---|---|---|---|---|---|---|---|---|---|---|
| CG01 | 354.6 | 3.04 | 3.47 | 8.51 | 33.83 | 18.95 | 10.02 | 14.25 | 23.35 | 47.63 | 24.89 | 24.20 | 20.10 | 2.32 | 4.10 | 57.54 | 650.7 |
| CG02 | 428.9 | N.D. | N.D. | 3.59 | 23.57 | 13.42 | 5.96 | 10.02 | 14.85 | 29.96 | 11.19 | 10.91 | 9.99 | 7.89 | 1.69 | 0.52 | 572.5 |
| CG03 | 512.6 | 3.94 | 3.45 | 5.00 | 27.93 | 15.56 | 8.51 | 12.12 | 19.09 | 38.64 | 16.56 | 16.31 | 14.55 | 9.90 | 0.69 | 2.00 | 706.9 |
| CG04 | 406.9 | 7.43 | 1.88 | 1.75 | 16.72 | 9.55 | 3.28 | 6.26 | 9.91 | 20.53 | 4.97 | 2.56 | 3.80 | N.D. | N.D. | 4.53 | 500.0 |
| Av. | 425.7 | 4.80 | 2.93 | 4.71 | 25.51 | 14.37 | 6.94 | 10.66 | 16.80 | 34.19 | 14.40 | 13.50 | 12.11 | 6.70 | 2.16 | 16.15 | 607.5 |
| STDEV | 65.75 | 2.32 | 0.91 | 2.86 | 7.21 | 3.94 | 2.96 | 3.41 | 5.76 | 11.62 | 8.44 | 9.11 | 6.91 | 3.93 | 1.75 | 27.64 | 90.42 |
| CSFGM | 1556.8 | 167.6 | 14.53 | 61.43 | 84.60 | 104.0 | 55.26 | 1.21 | 10.10 | 9.09 | 4.47 | 2.15 | 3.78 | 4.23 | 2.17 | 7.16 | 2088.5 |
| CCME | 34.6 | 5.87 | 6.71 | 21.2 | 41.9 | 46.9 | 111 | 53 | 31.7 | 57.1 | 0 | 0 | 31.9 | 0 | 6.22 | 0 | 0 |
| Parameters | Concentration | Parameters | Concentration | Parameters | Concentration | Parameters | Concentration |
|---|---|---|---|---|---|---|---|
| T (°C) | 14.0 | As | 0.01 | Nap | 20.06 | BkF | N.D. |
| pH | 7.39 | B | 0.01 | Acy | 3.49 | BaP | N.D. |
| EC | 1252 | Ba | 0.05 | Ace | 2.29 | IP | N.D. |
| Cl | 21.3 | Cr | 0.07 | Flu | 3.94 | DahA | N.D. |
| SO4 | 469.1 | Cu | 0.01 | Phe | 4.76 | BghiP | N.D. |
| HCO3 | 194.1 | Fe | 0.01 | Ant | 4.48 | ∑PAHs | 40.72 |
| NO3 | 40.10 | Mn | 0.02 | Fla | 1.03 | ||
| Ca | 141.2 | S | 149.3 | Pyr | 0.65 | ||
| K | 0.50 | Si | 2.76 | BaA | N.D. | ||
| Mg | 38.5 | Sr | 2.16 | Chr | N.D. | ||
| Na | 91.8 | Pb | 0.01 | BbF | N.D. |
| ID | Depth (m) | Nap | Acy | Ace | Flu | Phe | Ant | Fla | Pyr | BaA | Chr | BbF | BkF | BaP | IP | DahA | BghiP | ∑PAHs |
|---|---|---|---|---|---|---|---|---|---|---|---|---|---|---|---|---|---|---|
| S1 | 0 | 51.28 | 7.50 | 3.58 | 3.73 | 11.21 | 6.76 | 13.05 | 8.24 | 0.47 | 0.86 | 0.04 | 0.01 | 0.68 | 0 | 0 | 0 | 107.4 |
| S2 | 0 | 145.63 | 10.92 | 2.04 | 17.77 | 28.90 | 16.09 | 22.46 | 16.49 | 4.87 | 9.23 | 0.74 | 2.22 | 2.74 | 1.62 | 0 | 3.53 | 285.2 |
| S3 | 0 | 638.91 | 3.96 | 2.87 | 10.94 | 13.27 | 7.41 | 8.25 | 3.88 | 2.59 | 4.80 | 0.47 | 0.78 | 0.81 | 1.69 | 0 | 1.62 | 702.2 |
| S4 | 0 | 32.72 | 3.96 | 1.22 | 3.56 | 2.17 | 0.80 | 1.69 | 1.43 | 0.41 | 0.95 | 0.30 | 0.28 | 0.32 | 0 | 0 | 0 | 49.82 |
| S5 | 0 | 13.11 | 6.95 | 2.45 | 5.49 | 5.83 | 3.37 | 9.26 | 6.33 | 0.48 | 0.70 | 0.25 | 0.30 | 0.69 | 0 | 0 | 0 | 55.22 |
| Av1. | 0 | 185.04 | 7.56 | 2.77 | 10.92 | 13.02 | 7.17 | 11.95 | 7.55 | 2.58 | 4.97 | 1.91 | 1.52 | 1.73 | 1.48 | 0.44 | 2.54 | 259.96 |
| STDEV1 | 0 | 204.55 | 2.82 | 0.99 | 6.76 | 10.68 | 6.02 | 16.28 | 10.10 | 4.33 | 8.61 | 4.62 | 3.34 | 2.72 | 0.41 | 0.20 | 1.61 | 229.25 |
| B1-1 | 0 | 327.89 | 9.21 | 2.82 | 23.07 | 34.85 | 19.38 | 64.31 | 39.64 | 17.80 | 35.12 | 18.15 | 13.64 | 11.16 | 1.10 | 0.51 | 5.30 | 624.0 |
| B1-2 | 0.1 | 146.13 | 10.97 | 2.04 | 17.84 | 29.33 | 16.13 | 22.74 | 16.64 | 4.96 | 9.27 | 0.92 | 2.24 | 3.07 | 1.69 | 0 | 3.70 | 287.7 |
| B1-3 | 0.2 | 641.09 | 3.98 | 2.87 | 10.98 | 13.47 | 7.43 | 8.35 | 3.91 | 2.64 | 4.82 | 0.59 | 0.79 | 0.91 | 1.75 | 0 | 1.69 | 705.3 |
| B1-4 | 0.5 | 30.11 | 7.86 | 2.79 | 8.10 | 7.30 | 2.09 | 1.97 | 1.12 | 0.29 | 0.96 | 0.76 | 0.35 | 0.43 | 0.73 | 0.21 | 0.92 | 66.00 |
| B1-5 | 1 | 24.27 | 11.88 | 1.18 | 4.87 | 6.74 | 4.05 | 5.31 | 1.93 | 0.52 | 1.21 | 0.31 | 0.14 | 0.76 | 0 | 0 | 0 | 63.17 |
| B1-6 | 1.5 | 41.13 | 12.17 | 2.79 | 12.73 | 13.32 | 7.61 | 7.80 | 2.48 | 1.73 | 0.96 | 0.16 | 0.18 | 1.15 | 0 | 0 | 0.88 | 105.1 |
| B1-7 | 2 | 80.64 | 7.33 | 4.03 | 18.09 | 27.61 | 15.40 | 31.75 | 17.56 | 5.33 | 12.03 | 4.55 | 2.56 | 4.67 | 1.81 | 0.59 | 4.01 | 238.0 |
| Av2. | 0.8 | 184.47 | 9.06 | 2.65 | 13.67 | 18.95 | 10.30 | 20.32 | 11.90 | 4.75 | 9.20 | 3.63 | 2.84 | 3.16 | 1.42 | 0.44 | 2.75 | 298.5 |
| STDEV2 | 0.8 | 227.80 | 2.93 | 0.87 | 6.35 | 11.42 | 6.64 | 22.11 | 14.10 | 6.08 | 12.24 | 6.58 | 4.86 | 3.84 | 0.79 | 0.26 | 1.98 | 265.2 |
| B2-1 | 0 | 22.05 | 5.12 | 1.98 | 3.76 | 4.19 | 2.26 | 0.22 | 2.18 | 0.67 | 1.68 | 0.75 | 0.36 | 0.68 | 0 | 0 | 1.24 | 47.13 |
| B2-2 | 0.1 | 106.41 | 4.75 | 3.00 | 4.12 | 1.61 | 1.00 | 0.19 | 0.72 | 0.11 | 0.26 | 0 | 0.06 | 0.22 | 0 | 0 | 0 | 122.5 |
| B2-3 | 0.2 | 175.31 | 6.97 | 3.01 | 5.94 | 0.82 | 0.29 | 0.60 | 0.60 | 0.14 | 0.39 | 0 | 0 | 0.32 | 0 | 0 | 0 | 194.4 |
| B2-4 | 0.5 | 368.96 | 7.43 | 5.29 | 22.37 | 10.60 | 5.86 | 3.36 | 3.26 | 0.13 | 0.20 | 0.27 | 0.17 | 0.07 | 0 | 0 | 0 | 428.0 |
| B2-5 | 1 | 300.02 | 0 | 3.16 | 12.26 | 10.07 | 6.02 | 1.91 | 1.90 | 0.64 | 1.10 | 0.34 | 0.22 | 0.66 | 0 | 0 | 0 | 338.3 |
| Av3. | 0.4 | 194.55 | 6.07 | 3.29 | 9.69 | 5.46 | 3.09 | 1.26 | 1.73 | 0.34 | 0.73 | 0.27 | 0.20 | 0.39 | 0 | 0 | 0.25 | 226.1 |
| STDEV3 | 0.4 | 140.92 | 2.95 | 1.21 | 7.87 | 4.63 | 2.70 | 1.37 | 1.10 | 0.29 | 0.64 | 0.31 | 0.14 | 0.27 | 0 | 0 | 0.55 | 155.8 |
© 2019 by the authors. Licensee MDPI, Basel, Switzerland. This article is an open access article distributed under the terms and conditions of the Creative Commons Attribution (CC BY) license (http://creativecommons.org/licenses/by/4.0/).
Share and Cite
Li, C.; Zhang, X.; Gao, X.; Qi, S.; Wang, Y. The Potential Environmental Impact of PAHs on Soil and Water Resources in Air Deposited Coal Refuse Sites in Niangziguan Karst Catchment, Northern China. Int. J. Environ. Res. Public Health 2019, 16, 1368. https://doi.org/10.3390/ijerph16081368
Li C, Zhang X, Gao X, Qi S, Wang Y. The Potential Environmental Impact of PAHs on Soil and Water Resources in Air Deposited Coal Refuse Sites in Niangziguan Karst Catchment, Northern China. International Journal of Environmental Research and Public Health. 2019; 16(8):1368. https://doi.org/10.3390/ijerph16081368
Chicago/Turabian StyleLi, Chengcheng, Xin Zhang, Xubo Gao, Shihua Qi, and Yanxin Wang. 2019. "The Potential Environmental Impact of PAHs on Soil and Water Resources in Air Deposited Coal Refuse Sites in Niangziguan Karst Catchment, Northern China" International Journal of Environmental Research and Public Health 16, no. 8: 1368. https://doi.org/10.3390/ijerph16081368
APA StyleLi, C., Zhang, X., Gao, X., Qi, S., & Wang, Y. (2019). The Potential Environmental Impact of PAHs on Soil and Water Resources in Air Deposited Coal Refuse Sites in Niangziguan Karst Catchment, Northern China. International Journal of Environmental Research and Public Health, 16(8), 1368. https://doi.org/10.3390/ijerph16081368

