Next Article in Journal
Markerless Motion Capture Parameters Associated with Fall Risk or Frailty: A Scoping Review
Next Article in Special Issue
Photoacoustic Gas Sensing Using a Novel Fluidic Microphone Based on Thermal MEMS
Previous Article in Journal
Adaptive Hybrid PSO–APF Algorithm for Advanced Path Planning in Next-Generation Autonomous Robots
Previous Article in Special Issue
Design, Fabrication and Characterization of Disk Resonator Gyroscope with Vibration and Shock Resistance
 
 
Font Type:
Arial Georgia Verdana
Font Size:
Aa Aa Aa
Line Spacing:
Column Width:
Background:
Article

Closed-Loop Resonant Density Sensor Design Using Electromagnetic Excitation and Magnetic Detection

1
National Institute of Metrology, Beijing 100029, China
2
Shanghai Merchant Ship Design & Research Institute, Shanghai 201210, China
*
Author to whom correspondence should be addressed.
Sensors 2025, 25(18), 5740; https://doi.org/10.3390/s25185740
Submission received: 15 July 2025 / Revised: 6 September 2025 / Accepted: 9 September 2025 / Published: 15 September 2025

Abstract

With a hyperbolic U-tube as the resonant sensing element, the resonant density sensor adopts electromagnetic excitation and magnetoelectric detection for electromechanical transduction, enabling an integrated synergistic design. The resonance principle of the resonant density sensor and the electromechanical conversion method, using the electromagnetic induction principle, are analysed, and the theoretical model is investigated based on ANSYS Electronics 2022 and ANSYS Workbench 2022 R1 simulation software. In open-loop mode, the amplitude–frequency characteristics of the resonant network are measured, and the mechanical structure achieves a quality factor greater than 1000, as determined by the bandwidth method; In closed-loop mode, the measurement stability of the hyperbolic U-tube is periodically measured under various fluid loads, and the real-time ambient temperature is monitored. The sensitivity of the closed-loop system for density measurement is close to −0.1 Hz·kg−1·m3, and the absolute error between the density correction value and the standard value is within ±1 kg/m3.

1. Introduction

Microelectromechanical system (MEMS) [1] resonators have emerged as pivotal components in biosensing, mass detection, and core resonant elements of integrated circuits, leveraging their high sensitivity and miniaturisation capabilities [2]. Resonant sensors based on the inherent vibration characteristics of mechanical resonant-sensitive elements can use vibration frequency, phase, and amplitude as sensitive information parameters to achieve a variety of physical quantity measurements, with excellent repeatability, resolving power, and stability [3]. The basic structure of resonant sensors comprises a sensitive element, excitation unit, pick-up unit, and control circuit. The sensitive element, as the core of the resonant sensor, is directly linked to the physical quantity to be measured, and its vibration characteristics affect the performance of the resonant sensor [4]; the excitation unit and pick-up unit act as electromechanical conversion elements, and the coupling mode and degree between them affect the energy transfer efficiency; and the control circuit is used to maintain the interrelationships between the sensitive element and the excitation and pick-up units, and to provide the parameter output.
The selection of the excitation unit and pick-up unit and the coordination with the resonance-sensitive element are an important part of the structural design of the resonant sensor, which determines the relative position distribution between the three elements and the energy transfer loss of this structure [5]. The electromagnetic induction principle is applied in electromagnetic excitation and magnetoelectric detection, providing a non-contact way to achieve both energy supply to the resonant-sensitive element and vibration frequency acquisition from it, thus minimising possible adverse effects on the resonant-sensitive element [6].
Resonant density sensors exploit changes in the resonant frequency of a vibrating system to reflect variations in the density of the fluid within the sensitive element, thereby offering significant potential for high-precision density measurements [7]. In 1969, Austrian physicist Otto Kratky published a seminal paper that first introduced the concept of the resonant density sensor, laying the foundation for research in this field over the following decades [8]. His sensor employed a relatively rudimentary design, consisting of inlet and outlet tubes and a liquid reservoir sphere, and did not account for environmental influences on density measurements. In 1974, Patrick Picker and colleagues at the University of Sherbrooke in Canada extended the application of resonant densitometers to the field of process control. They used a stainless-steel V-shaped resonator as the sensing element and demonstrated that, for liquids with viscosities below 10 cp, viscosity had minimal impact on density measurements [9]. In 1980, Alfred P. Wenger of the Straumann Institute in Switzerland proposed a viscosity correction theory to address the issue of reduced accuracy of resonant densitometers in high-viscosity-liquid applications [10]. In 1984, Henry J. Albert and colleagues at the University of Delaware in the United States developed a single U-shaped resonant densitometer structure, enabling operation under extreme conditions of 700 K temperature and 40 MPa pressure [11]. In 1986, T. Retsina and colleagues at Imperial College London established a comprehensive mathematical model for vibrating-tube resonators, overcoming the prevalent reliance on empirical design approaches and providing a theoretical framework for sensor development [12]. In 2007, Edwin Krasser and colleagues at Graz University of Technology in Austria proposed a circuit architecture that integrates closed-loop self-excited oscillation with a digital phase-locked loop, thereby achieving the precise capture of the resonant frequency [13]. In 2019, Andreas Rechberger and colleagues at Anton Paar proposed the use of a pulse excitation method to determine the natural frequency and quality factor of the resonator, introducing a new paradigm into resonant density measurement [14]. More recently, in 2022, Olga Prokopová and colleagues focused on vibrating-tube densitometers operating at atmospheric pressure, employing single U-shaped glass resonators, and proposed an improved temperature calibration method along with an uncertainty evaluation strategy [15].
However, research on resonant density sensors based on electromagnetic excitation and magnetoelectric detection remains limited, with a lack of systematic theoretical analysis and experimental validation. In particular, the coupling characteristics between the mechanical structure and closed-loop circuitry have not been sufficiently explored, which restricts performance optimisation and hinders broader practical applications. Specifically, (1) early studies primarily focused on conceptual proposals and feasibility demonstrations, without providing systematic analyses of sensor performance [8]; (2) although some works introduced viscosity correction, temperature compensation, or circuit improvement strategies, their performance characterisation largely remained qualitative or only partially quantitative. For example, precision was vaguely described as “ppm-level accuracy” or as “approximately 0.1% within the ranges of ρ × η = 0.2 g/cm3 × 500 cp or 0.5 g/cm3 × 200 cp,” where ρ denotes density and η denotes dynamic viscosity, while comprehensive evaluations of sensitivity, resolution, and measurement uncertainty were lacking [9,10,11]; and (3) more recently, a pulsed excitation method was reported to achieve a quality factor of 2000 and a standard deviation of oscillation period measurements below 0.5 × 10−9 s. Nevertheless, its complex principle makes it more suitable for benchtop density meters, rendering it less applicable to portable devices, and further research is still required before practical deployment can be realised [14].
To address these issues, this study utilises a hyperbolic U-shaped resonant tube as the sensitive element, combined with a closed-loop self-excited oscillation circuit, to design and realise a portable resonant density sensor suitable for the high-precision measurement of small-volume liquids. Through the systematic analysis of the amplitude–frequency characteristics of the resonant network in open-loop mode, the quality factor of the mechanical structure was obtained. Furthermore, under closed-loop operation, the sensor’s measurement stability and density sensitivity were validated across four different fluids. The results not only enrich the theoretical framework of electromagnetic excitation and magnetoelectric detection resonant density sensors, but also provide essential theoretical support and technical guidance for their application in fluid density measurement.

2. Theoretical Analysis

2.1. Measuring Principle

The spring–mass system is employed as the mechanical model to describe the oscillatory behaviour of the vibrating tube density sensor [16], and this oscillation can be expressed by the following differential equation:
d 2 y d t 2 + b m d y d t + K m y = F 0 m cos ( ω t )
where y is the displacement from equilibrium; b is the damping coefficient; K is the spring constant; F0 is the amplitude of external periodic force; ω is the excitation frequency; m is mass; and t is time.
For the sensor’s mechanical structure, external force originates from the excitation unit, while damping arises from friction between the tube and air/fluid/pick-up unit [17]. The steady-state solution is
y ( t ) = A 0 cos ( ω t φ )
where A0 is the oscillation amplitude and φ is the phase difference between force and oscillation.
In this study, the electromagnetic force produced by the excitation coil serves as the external driving force. According to the local action principle of magnetic fields, magnetic energy is transferred through the presence and variation of the field in localised regions rather than via action at a distance [18]. Applying the virtual displacement principle, if the electromagnetic force vector F0 from the excitation coil induces air gap variation with the proximal permanent magnet, the permanent magnet’s surface magnetic energy is expressed as
W m = 1 2 B H d V = B 2 S 2 μ 0 d δ = F 0 d δ
where B is the magnetic flux density at the permanent magnet surface; H is the magnetic field strength at the permanent magnet surface; V is the variable volume of the air gap between the permanent magnet and resonator tube during vibration; S is the cross-sectional area of the hollow coil facing the permanent magnet; and μ0 is the vacuum permeability.
Based on the Ampere loop theorem and the magnetic circuit theorem, the magnetic induction strength B at the surface of the permanent magnet is the superposition of B1 (generated by the hollow coil) and B2 (from the static magnetic field of the permanent magnet):
B 1 = N I μ 0 l 1
where N is number of turns in the coil; I is value of current passing through the coil; and l1 is integration path for the coil. Thus, we obtain
F 0 = ( B 0 + B 1 ) 2 S 2 μ 0 = ( B 0 + N I μ 0 l 1 ) 2 S 2 μ 0
Neglecting minimal damping, resonant frequency equals natural frequency: ω = ω 0 = K m . Given ω 0 = 2 π T (T: oscillation period), the density–period relationship is [19]
ρ = K 4 π 2 V T 2 m 0 V = K 2 T 2 + K 0
where ρ is the sample solution density; V is internal volume of the vibrating tube (constant for a given tube); and K2 and K0 are calibration constants determined with two known-density liquids.

2.2. Structural Modelling

In this study, the resonant density sensor employs a hyperbolic U-tube as its sensitive element. Using the ANSYS Workbench modal analysis module [20], we performed modal simulation on this structure. By analysing the vibration characteristics of each modal order [21], symmetrical modes matching the first-order behaviour were selected as target modes.
Figure 1 shows simulated target modes of a typical-sized hyperbolic U-tube resonator (top view). The cloud diagram depicts maximum deformation. To leverage the hyperbolic U-tube’s advantages, target modes must satisfy the following:
  • Maximum deformation at the top of opposing U-tube arms;
  • Symmetrical deformation (i.e., opposite directions at both ends).
Simulation results confirm that specific higher-order modes meet these requirements and can serve as target modes.
This paper investigates a closed-loop system employing electromagnetic excitation and magnetoelectric detection. The resonator utilises non-magnetic borosilicate glass, which necessitates the symmetrical placement of bonded permanent magnets. Hollow coils and permanent magnets are coaxially arranged with an air gap maintained between them. Figure 2 illustrates the schematic structure and relative positioning.
The hyperbolic U-tube top is selected as the excitation/detection location to maximise energy transfer efficiency. Magnetic field analysis of the model was conducted using ANSYS Electronics simulation software, and the magnetic induction intensity distribution contour plot is shown in Figure 3. Modelling parameters are based on the actual structure:
  • Permanent magnet: 3 mm diameter × 2 mm height, coercivity > 835 kA/m, remanence ≈ 1.42 T;
  • Copper coils: Upper coil (no excitation source) as pick-up coil; lower coil (ampere-turns is 6907 mA) as excitation coil.
Static magnetic field simulation analysis reveals a peak flux density of 1.3 T on the end surfaces of the cylindrical permanent magnets. The dominant permanent magnet field obscures the coil-generated flux, preventing clear observation of their interaction. Therefore, a further analysis of the energised coil was conducted in the eddy current simulation, where the excitation was set as stranded winding current excitation with parameters consistent with those used in the static magnetic field simulation. The magnetic induction intensity distribution contour plot from the eddy current simulation for this structural dimension indicates a maximum magnetic induction intensity of approximately 1.7 mT in the excitation coil, corroborating the overshadowing effect of the permanent magnet observed in the static magnetic field analysis.

3. Structural Design and Comparative Analysis

Resonant density sensors operate on the resonance principle, where fluid density changes shift the resonance frequency [22]. Excessively low frequencies increase susceptibility to external vibration noise, reducing the signal-to-noise ratio [23]; excessively high frequencies introduce parasitic circuit parameters and processing accuracy limitations, degrading the quality factor and measurement stability [24]. Therefore, optimal resonance frequency selection enhances density sensitivity, measurement resolution, and noise immunity while ensuring accuracy and reliability.
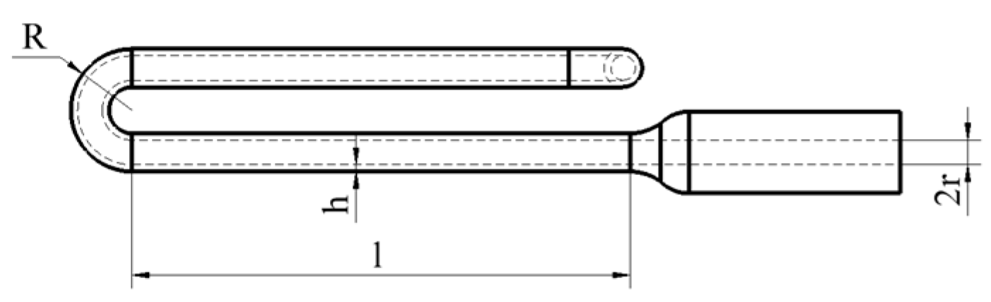
This study employs a hyperbolic U-tube resonant sensor structure (side view: Figure 4). ANSYS Workbench modal simulations analyse how geometric parameters—inner radius r, wall thickness h, effective length l, and outer radius R—affect the resonance frequency of the U-tube.
The typical resonator parameters of the hyperbolic U-tube are inner radius r1, wall thickness h1, effective length l1, and outer radius R1. Based on these parameters, we employ ANSYS finite element analysis to investigate how geometric parameters affect resonance frequency and select optimal values meeting design requirements. The parametric influence is shown in Figure 5.
Figure 5 shows the resonant frequencies of the first six modes for hyperbolic U-tubes as functions of inner radius (r), wall thickness (h), effective length (l), and outer radius (R). The dimensional parameters r1–r6, h1–h7, l1–l7, and R1–R7 represent incremental variations, with resonant frequencies of modes 1–6 exhibiting an overall increasing trend. Specifically,
  • Modes 1–3 demonstrate smooth variations (<100 Hz);
  • Modes 4–5 show distinct monotonic trends with reduced modal interference;
  • Mode 6 exhibits a significant frequency increase.
Curve analysis reveals the following:
  • Resonant frequencies increase with larger r or h;
  • Resonant frequencies decrease with longer l or larger R;
  • A physical mechanism.
Increased r or h enhances sectional stiffness and optimises mass distribution, strengthening the stiffness–frequency correlation. Conversely, increased l reduces axial stiffness and introduces additional mass, while larger R alters geometric configuration, weakening bend-region stiffness and extending the vibration path length. These effects collectively amplify inertial forces, reducing resonant frequencies. Rational dimensional design confines resonance frequencies within target operational ranges while maintaining structural stability.

4. Experimental Design and Analysis

Figure 6 shows the system architecture of the resonant liquid density sensor. The design integrates three functional modules: the resonator assembly, which governs core performance parameters; the resonance excitation circuit, which sustains mechanical oscillation; and the signal processing unit for outputting quantified measurements. Key performance indicators including quality factor (Q), density sensitivity, and measurement stability collectively define sensor efficacy [25]. The quantitative evaluation of these characteristics is provided through experimental validation in Section 3.
To ensure seamless integration between the mechanical resonant structure and its control circuitry for sustaining the continuous self-excitation of the sensing element in a stable first-order symmetrical mode, the closed-loop system must satisfy the Barkhausen criterion [26]:
H ( j ω ) G ( j ω ) 1 φ [ H ( j ω ) ] + φ [ G ( j ω ) ] = 2 π n
where H ( j ω ) denotes the frequency transfer function of the mechanical resonant structure; G ( j ω ) represents the frequency transfer function of the resonant control circuitry; and n Z .
When the loop system, comprising the mechanical resonant structure and the control circuit, is powered on, weak noise signals are generated within the loop. These noise signals can be regarded as the superposition of numerous sinusoidal waves of different frequencies. After passing through the resonant sensing element, their amplitudes are attenuated and their phases are shifted according to the frequency response of the sensing element.
It is noteworthy that within the noise spectrum, there exists a specific frequency exactly matching the first-order symmetric resonant frequency of the sensing element. At this frequency, the amplitude attenuation of the noise signal is minimal, and the phase remains unchanged. When the gain of the control circuit is adjusted to precisely compensate for the attenuation at this frequency, while omitting phase adjustment, the noise signal at this frequency is amplified after passing through the closed-loop path, with its phase remaining constant.
For other frequency components, however, the amplitudes experience further attenuation and the phases undergo shifts. As the noise signals circulate repeatedly within the loop, the sinusoidal component that coincides with the first-order symmetric resonant frequency is gradually reinforced and eventually emerges from the noise, whereas all other frequency components continue to decay and remain as background noise. This mechanism, through positive feedback, continually amplifies the signal at the resonant frequency, ultimately sustaining the resonant state. Consequently, the resonant density sensor can stably output the first-order symmetric resonant frequency, which is directly related to the measured density.

4.1. Amplitude–Frequency Characteristic Testing Experiment

To eliminate interference from closed-loop control circuits during the dynamic characteristic evaluation of mechanical structures, open-loop frequency sweeps (1170–1180 Hz) characterise the amplitude–frequency response of the resonator assembly [27]. A 3 Vpp constant-amplitude AC excitation signal from a signal generator (SDG1022X, SIGLENT Technologies, Shenzhen, China) drives the sensitive mechanical element. The pick-up coil output is synchronously recorded by an oscilloscope (TBS1104, Tectronix, Beaverton, OR, USA) to acquire raw amplitude–frequency response data. Figure 7 depicts the amplitude–frequency response curve measured in air, showing a resonant frequency of 1174.93 Hz with an operational bandwidth of 1174.68–1175.47 Hz.
In sensor characterisation, the quality factor (Q) constitutes a critical parameter governing measurement precision, interference immunity, and operational stability. The quality factor Q is defined as 2π multiplied by the ratio of total stored energy to energy dissipated per oscillation cycle in a resonant system [28]. Practical Q values are conventionally acquired via indirect experimental methods. The bandwidth method represents one of the most established techniques for Q-factor quantification, derived from the frequency-to-bandwidth ratio at the half-power point of the sensitive element. This approach demonstrates robust reliability for systems where Q < 106. The quality factor can be derived from the amplitude–frequency characteristics of resonant networks as follows:
Q = f 0 f H f L = 1174.93 1175.47 1174.68 = 1487.25
In resonant sensors, the resonating element constitutes a weakly damped system, where the quality factor Q relates to the damping ratio ξ through the following expression [29]:
ξ 1 2 Q = 1 2 × 1487.25 = 3.36 × 10 4

4.2. Basic Calibration Experiments

The calibration experiment of the resonant density sensor needs to be conducted under a controlled temperature of 20 °C. Therefore, this study implements a two-stage water bath temperature control system, with the experimental setup shown in Figure 8.
As shown in Figure 8, the uncalibrated resonant density sensor is placed inside the two-stage constant-temperature water bath, and the real-time temperature inside the water bath is displayed on the temperature monitor. The temperature within the two-stage water bath is regulated in two ways: firstly, through a primary temperature control circulator connected via circulation piping, and secondly, by the water bath itself maintaining temperature stability. This two-stage control ensures stable temperature conditions within the water bath during the experiments. Moreover, both the basic calibration experiment and the temperature compensation experiment of the resonant density sensor are carried out using this two-stage water bath temperature control setup.
Resonant density sensors utilise mechanical resonance principles for high-precision density measurements, constituting an indirect metrological approach [30]. Density ( ρ ) serves as the target measurand, while resonance period (T) functions as the intermediate variable. Consequently, establishing the functional relationship between T and ρ is essential. As demonstrated in Section 1, the theoretical correlation between density and period follows Equation (6). To enhance fitting accuracy, a linear correction term is incorporated, yielding the final liquid density–resonance period relationship:
ρ T = K 2 T 2 + K 1 T + K 0
where ρ T denotes the liquid density measured by the resonant sensor [kg/m3]; Ki represents the calibration coefficients of the resonant density sensor (i = 0, 1, 2); and T is the output resonance period of the densitometer [μs].
Calibration experiments are conducted under temperature-controlled conditions at 20 °C to eliminate thermal effects on resonant density sensor calibration. In this study, the period–density functional relationship is established by measuring the resonance period variations in air and three calibration liquids (denoted Air and Liquid 1–3) at 20 °C. The period fluctuation data for each fluid are presented in Figure 9.
The reference density values of the calibration liquids were measured using a DMA5000 benchtop densitometer (Anton Paar, Graz, Austria), achieving a measurement accuracy of 5 × 10−3 kg/m3 [31]. This precision satisfies calibration experimental requirements. Table 1 presents the period values and corresponding reference densities of all fluids at 20 °C.
The fundamental density equation for the resonant liquid density sensor is derived as follows:
ρ T = 0.00896371 T 2 4.5778 T 2595.87
The measured period values are then substituted into the fundamental density Equation (11) to calculate the densities of each calibration fluid, as summarised in Table 1. The absolute error between the calculated and reference densities remains within ±0.50 kg/m3, with relative errors consistently below ±1%.

4.3. Temperature Compensation Experiments

In liquid density precision measurement and control, temperature variation exerts a dominant influence on density [32]. Temperature compensation experiments constitute a critical procedure to prevent ambient temperature from compromising measurement accuracy and stability. While Equation (10) provides the fundamental calibration formula for resonant liquid density sensors, it neglects thermal effects. The implementation of Equation (12) enables temperature compensation for density measurements acquired via resonant sensors, thereby enhancing measurement precision.
ρ t = ρ T [ 1 + K 3 ( t 20 ) ] + K 4 ( t 20 )
In this experiment, three calibration liquids (Liquids 1–3) underwent temperature-controlled testing from 15 °C to 25 °C. The temperature setpoints and corresponding period fluctuations are presented in Figure 10.
The DMA5000 benchtop densitometer (Anton Paar, Austria) employs advanced temperature-scanning technology, enabling the automatic temperature regulation of samples within preset ranges and real-time recording of corresponding density data. Leveraging this capability, the reference densities of three liquids at specified temperatures were measured.
Table 2 presents the resonance periods and corresponding reference densities of each fluid at temperatures ranging from 15 °C to 25 °C. The modified density equation for the resonant liquid density sensor is derived as follows:
ρ t = ρ T [ 1 + 0.001741931 ( t 20 ) ] 0.8620151 ( t 20 )
The integrated model combining Equations (11) and (13) provides comprehensive density correction for the resonant liquid density sensor. Substituting measured period values into Equation (11) and subsequently applying Equation (13) yields calculated and corrected densities for each liquid (Table 2). The absolute error between corrected and reference densities remains within ±1.0 kg/m3, with relative errors below ±0.2%.

4.4. Density Measurement Sensitivity Analysis

Density measurement sensitivity constitutes a critical performance indicator for resonant density sensors, governing achievable measurement range and resolution. Higher sensitivity correlates with enhanced measurement resolution. Defined as the shift magnitude in resonant frequency per unit density change of the fluid within the resonance tube [33], this parameter ensures practical detectability: sufficient sensitivity amplifies frequency responses to minute density variations, while inadequate sensitivity may obscure density drifts due to inherent limitations in frequency measurement accuracy. The formal definition is provided in Equation (14).
S i = d f i d ρ l
Using predicted modal resonant frequencies in each medium as a reference, density measurement sensitivities were quantified across three transition ranges: (I) Air to Liquid 1, (II) Liquid 1 to Liquid 2, and (III) Liquid 2 to Liquid 3. This analysis utilised measured resonant frequency deviations and corresponding density differentials within each interval. The resulting sensitivities are compiled in Table 3.
As the liquid density increases, the density measurement sensitivity decreases. Theoretical analysis reveals two underlying mechanisms. First, increased liquid density augments the inertial load on the sensor’s resonant element (hyperbolic U-tube), elevating the equivalent mass of the resonant system. This mass gain compromises the operational efficiency of mechanical structures designed for non-extreme conditions. Second, higher-density liquids often exhibit increased viscosity, intensifying energy dissipation through boundary layer vibrations, consequently reducing frequency detection resolution.

5. Conclusions

This study focuses on liquid density measurement based on the resonance principle, utilising a hyperbolic U-shaped resonant tube with an electromechanical transduction method combining electromagnetic excitation and magnetoelectric detection to successfully establish a closed-loop measurement system. The system performance was comprehensively evaluated through metrics including the mechanical structure’s quality factor, density measurement sensitivity, and measurement stability. Experimental results demonstrate that the designed mechanical structure achieves a quality factor exceeding 1000, indicating excellent vibration energy retention. The density measurement sensitivity is approximately −0.1 Hz·kg−1·m3, which approaches that of some mature commercial products but still exhibits a noticeable gap, suggesting significant potential for further optimisation, particularly through adjusting the size and geometry of the hyperbolic U-shaped resonant tube. Within the temperature range of 15 to 25 °C, the absolute error between the density compensation values and standard references remains within ±1 kg/m3, confirming the good temperature stability of the sensor.
However, this study did not address viscosity compensation of the resonant density sensor, resulting in considerable measurement errors for high-viscosity fluids and limiting its applicability in complex fluid environments. Future work should focus on developing compensation algorithms for viscosity effects and investigating their impact on measurement accuracy to enhance the sensor’s versatility and practical utility.

Author Contributions

Conceptualization, J.Z. and J.W.; Methodology, L.L.; Validation, X.L.; Data curation, X.S. All authors have read and agreed to the published version of the manuscript.

Funding

This research was funded by [National Institutes of Metrology] grant number [AKYZD2309] and [AKYZZ2511]. And the APC was funded by [AKYZZ2511].

Institutional Review Board Statement

Not applicable.

Informed Consent Statement

Not applicable.

Data Availability Statement

Data are contained within the article.

Conflicts of Interest

The authors declare no conflicts of interest.

References

  1. Judy, J.W. Microelectromechanical systems (MEMS): Fabrication, design and applications. Smart Mater. Struct. 2001, 10, 1115. [Google Scholar] [CrossRef]
  2. Wei, L.; Kuai, X.; Bao, Y.; Wei, J.; Yang, L.; Song, P.; Zhang, M.; Yang, F.; Wang, X. The recent progress of MEMS/NEMS resonators. Micromachines 2021, 12, 724. [Google Scholar] [CrossRef] [PubMed]
  3. Langdon, R.M. Resonator sensors-a review. J. Phys. E Sci. Instrum. 1985, 18, 103. [Google Scholar] [CrossRef]
  4. Li, Y.; Zhang, Z. Sensitive Structure Design of Resonant Accelerometer. In International Conference on Intelligent and Interactive Systems and Applications; Springer International Publishing: Cham, Switzerland, 2018. [Google Scholar]
  5. Zărnescu, G.-C.; Pîslaru-Dănescu, L.; Tiliakos, A. Modular Electromagnetic Transducer for Optimized Energy Transfer via Electric and/or Magnetic Fields. Sensors 2023, 23, 1291. [Google Scholar] [CrossRef] [PubMed]
  6. Stratton, J.A. Electromagnetic Theory; John Wiley & Sons: Hoboken, NJ, USA, 2007. [Google Scholar]
  7. Fan, S.C. Resonant Sensors; Beihang University Press: Beijing, China, 2023. [Google Scholar]
  8. Kratky, O.; Leopold, H.; Stabinger, H. Device for Density Determination. U.S. Patent No. 3,523,446, 11 August 1970. [Google Scholar]
  9. Picker, P.; Tremblay, E.; Jolicoeur, C. A high-precision digital readout flow densimeter for liquids. J. Solut. Chem. 1974, 3, 377–384. [Google Scholar] [CrossRef]
  10. Wenger, A.P. Vibrating fluid densimeters: A solution to the viscosity problem. IEEE Trans. Ind. Electron. Control Instrum. 2007, 3, 247–253. [Google Scholar] [CrossRef]
  11. Albert, H.J.; Robert, H.W. High-precision flow densimeter for fluids at temperatures to 700 K and pressures to 40 MPa. Rev. Sci. Instrum. 1984, 55, 589–593. [Google Scholar] [CrossRef]
  12. Retsina, T.; Richardson, S.M.; Wakeham, W.A. The theory of a vibrating-rod densimeter. Appl. Sci. Res. 1986, 43, 127–158. [Google Scholar] [CrossRef]
  13. Krasser, E.; Senn, H. Simultaneous measurements at U-tube density sensors in fundamental and harmonic oscillation. In Proceedings of the EUROCON 2007—The International Conference on “Computer as a Tool”, Warsaw, Poland, 9–12 September 2007. [Google Scholar]
  14. Rechberger, A.; Amsüss, R.; Rossegger, S.; Breidler, R.; Steiner, G. High precision vibration-type densitometers based on pulsed excitation measurements. Sensors 2019, 19, 1627. [Google Scholar] [CrossRef] [PubMed]
  15. Prokopová, O.; Blahut, A.; Čenský, M.; Součková, M.; Vinš, V. Comments on temperature calibration and uncertainty estimate of the vibrating tube densimeter operated at atmospheric pressure. J. Chem. Thermodyn. 2022, 173, 106855. [Google Scholar] [CrossRef]
  16. Vistnes, A.I. Forced oscillations and resonance. In Physics of Oscillations and Waves: With Use of Matlab and Python; Springer International Publishing: Cham, Switzerland, 2018; pp. 31–57. [Google Scholar]
  17. Paar, A. U-Tube Technology in Digital Laboratory Density Meters. 2020. Available online: https://wiki.anton-paar.com/en/u-tube-technology-in-digital-laboratory-density-meters/ (accessed on 1 August 2023).
  18. Fan, S.C.; Guan, M.; Zhuang, H.H. Theoretical and experimental study on electromagnetic excitation efficiency of double-ended tuning fork resonant sensing elements. Chin. J. Sens. Actuators 2007, 11, 2408–2411. [Google Scholar]
  19. González-Salgado, D.; Troncoso, J.; Romani, L. Experimental Techniques 2: Vibrating Tube Densimetry; Royal Society of Chemistry: Cambridge, UK, 2014. [Google Scholar]
  20. Zhao, J.; Li, Z.; Zheng, D.; Fan, S. Modal simulation and experiment analysis of coriolis mass flowmeter. J. Eng. 2019, 23, 9013–9016. [Google Scholar] [CrossRef]
  21. Rao, S.S.; Yap, F.F. Mechanical Vibrations; Addison-Wesley: New York, NY, USA, 1995; Volume 4. [Google Scholar]
  22. Wang, S.; Wang, J. Mathematical modeling and parameter optimization of the resonator for the vibrating tube. In Proceedings of the Tenth International Symposium on Precision Mechanical Measurements, Qingdao, China, 15–17 October 2021; Volume 12059. [Google Scholar]
  23. Rhoads, J.F.; Shaw, S.W.; Turner, K.L. Nonlinear dynamics and its applications in micro-and nanoresonators. J. Dyn. Syst. Meas. Control 2010, 132, 034001. [Google Scholar] [CrossRef]
  24. Nguyen, C.T.-C. MEMS technology for timing and frequency control. IEEE Trans. Ultrason. Ferroelectr. Freq. Control 2007, 54, 251–270. [Google Scholar] [CrossRef] [PubMed]
  25. Zheng, D.; Shi, J.; Fan, S. Design and theoretical analysis of a resonant sensor for liquid density measurement. Sensors 2012, 12, 7905–7916. [Google Scholar] [CrossRef] [PubMed]
  26. Razavi, B. RF Microelectronics; Prentice hall: New York, NY, USA, 2012; Volume 2. [Google Scholar]
  27. Manzaneque, T.; Steeneken, P.G.; Alijani, F.; Ghatkesar, M.K. Method to determine the closed-loop precision of resonant sensors from open-loop measurements. IEEE Sens. J. 2020, 20, 14262–14272. [Google Scholar] [CrossRef]
  28. Blom, F.R.; Bouwstra, S.; Elwenspoek, M.; Fluitman, J.H.J. Dependence of the quality factor of micromachined silicon beam resonators on pressure and geometry. J. Vac. Sci. Technol. B Microelectron. Nanometer Struct. Process. Meas. Phenom. 1992, 10, 19–26. [Google Scholar] [CrossRef]
  29. Szeidl, G.; Kiss, L.P. Mechanical Vibrations; Springer International Publishing: Cham, Switzerland, 2020. [Google Scholar]
  30. Zhao, L.; Hu, Y.; Wang, T.; Ding, J.; Liu, X.; Zhao, Y.; Zhao, Y. A MEMS resonant sensor to measure fluid density and viscosity under flexural and torsional vibrating modes. Sensors 2016, 16, 830. [Google Scholar] [CrossRef] [PubMed]
  31. Fitzgerald, D. Technical Assessment of the Anton Paar DMA5000 Density Meter; H&D Fitzgerald Ltd.: Saint Asaph, UK, 2000. [Google Scholar]
  32. Heinisch, M.; Reichel, E.K.; Jakoby, B.; Voglhuber-Brunnmaier, T.; Dufour, I. Separate experimental investigation of the influence of liquids’ mass densities and viscosities on the frequency response of resonant sensors using designated liquid series. In Proceedings of the 2015 IEEE SENSORS, Busan, Republic of Korea, 1–4 November 2015. [Google Scholar]
  33. Zhang, G.; Zhao, L.; Jiang, Z.; Yang, S.; Zhao, Y.; Huang, E.; Hebibul, R.; Wang, X.; Liu, Z. Surface stress-induced deflection of a microcantilever with various widths and overall microcantilever sensitivity enhancement via geometry modification. J. Phys. D Appl. Phys. 2011, 44, 425402. [Google Scholar] [CrossRef]
Figure 1. Maximum deformation cloud diagram of target modes in a hyperbolic U-tube resonant structure.
Figure 1. Maximum deformation cloud diagram of target modes in a hyperbolic U-tube resonant structure.
Sensors 25 05740 g001
Figure 2. Single-end fixed-support double-curved U-tube mechanical structure.
Figure 2. Single-end fixed-support double-curved U-tube mechanical structure.
Sensors 25 05740 g002
Figure 3. Magnetic induction intensity distribution contour plot. (a) Static magnetic field simulation of magnetic flux density contour plot; (b) magnetic flux density cloud diagram from transient eddy current simulation.
Figure 3. Magnetic induction intensity distribution contour plot. (a) Static magnetic field simulation of magnetic flux density contour plot; (b) magnetic flux density cloud diagram from transient eddy current simulation.
Sensors 25 05740 g003
Figure 4. Side view of sensitive element.
Figure 4. Side view of sensitive element.
Sensors 25 05740 g004
Figure 5. Influence of the structural parameters of the sensitive element on the resonance frequency plot. (a) Variation in resonance frequency with inner radius r; (b) variation in resonance frequency with wall thickness h; (c) variation in resonance frequency with effective length l; (d) variation in resonance frequency with outer radius R.
Figure 5. Influence of the structural parameters of the sensitive element on the resonance frequency plot. (a) Variation in resonance frequency with inner radius r; (b) variation in resonance frequency with wall thickness h; (c) variation in resonance frequency with effective length l; (d) variation in resonance frequency with outer radius R.
Sensors 25 05740 g005
Figure 6. Block diagram of the overall sensor design solution.
Figure 6. Block diagram of the overall sensor design solution.
Sensors 25 05740 g006
Figure 7. Amplitude–frequency characteristics of resonant networks in open-loop mode.
Figure 7. Amplitude–frequency characteristics of resonant networks in open-loop mode.
Sensors 25 05740 g007
Figure 8. Schematic of the two-stage water bath temperature control setup.
Figure 8. Schematic of the two-stage water bath temperature control setup.
Sensors 25 05740 g008
Figure 9. Experimental data for temperature calibration at 20 °C: (a) period variation of air at 20 °C; (b) period variation of Liquid 1 at 20 °C; (c) period variation of Liquid 2 at 20 °C; (d) period variation of Liquid 3 at 20 °C.
Figure 9. Experimental data for temperature calibration at 20 °C: (a) period variation of air at 20 °C; (b) period variation of Liquid 1 at 20 °C; (c) period variation of Liquid 2 at 20 °C; (d) period variation of Liquid 3 at 20 °C.
Sensors 25 05740 g009
Figure 10. Temperature control experiment data at 15–25 °C. (a) Period variation of Liquid 1 at 15.7 °C; (b) period variation of Liquid 1 at 23.6 °C; (c) period variation of Liquid 2 at 15.5 °C; (d) period variation of Liquid 2 at 25.4 °C; (e) period variation of Liquid 3 at 15.6 °C; (f) period variation of Liquid 3 at 24.6 °C.
Figure 10. Temperature control experiment data at 15–25 °C. (a) Period variation of Liquid 1 at 15.7 °C; (b) period variation of Liquid 1 at 23.6 °C; (c) period variation of Liquid 2 at 15.5 °C; (d) period variation of Liquid 2 at 25.4 °C; (e) period variation of Liquid 3 at 15.6 °C; (f) period variation of Liquid 3 at 24.6 °C.
Sensors 25 05740 g010
Table 1. Calibration of liquid resonance period and its density table.
Table 1. Calibration of liquid resonance period and its density table.
FluidAirLiquid 1Liquid 2Liquid 3
Period [μs]851.12918.17921.00938.11
Standard density [kg·m−3]1.223758.019790.953998.207
Calculation of density [kg·m−3]1.231757.663791.363998.166
Absolute error [kg·m−3]0.008−0.3560.410−0.041
Relative error0.654%−0.047%0.052%−0.004%
Table 2. Temperature-compensated liquid resonance period and its density table.
Table 2. Temperature-compensated liquid resonance period and its density table.
LiquidLiquid 1Liquid 2Liquid 3
Temperature [°C]15.723.615.525.415.624.6
Period [μs]918.60917.83921.46920.47938.57937.77
Standard density [kg·m−3]760.499756.190794.150788.666999.410997.124
Calculation of density [kg·m−3]762.774753.624796.854785.0401003.799994.006
Corrected density [kg·m−3]760.767755.246794.486787.770999.898998.005
Absolute error [kg·m−3]0.268−0.9440.336−0.8960.4880.881
Relative error0.035%−0.125%0.042%−0.114%0.049%0.088%
Table 3. Density measurement sensitivity at 20 °C.
Table 3. Density measurement sensitivity at 20 °C.
FluidAirLiquid 1Liquid 2Liquid 3
Period [μs]851.12918.17921.00938.11
Frequency [Hz]1174.921089.121085.781065.97
Calculation of density [kg·m−3]1.231757.663791.363998.166
Density measurement sensitivity [Hz·kg−1·m3]−0.1134−0.0991−0.0958
Disclaimer/Publisher’s Note: The statements, opinions and data contained in all publications are solely those of the individual author(s) and contributor(s) and not of MDPI and/or the editor(s). MDPI and/or the editor(s) disclaim responsibility for any injury to people or property resulting from any ideas, methods, instructions or products referred to in the content.

Share and Cite

MDPI and ACS Style

Zhang, J.; Li, L.; Wang, J.; Liu, X.; Su, X. Closed-Loop Resonant Density Sensor Design Using Electromagnetic Excitation and Magnetic Detection. Sensors 2025, 25, 5740. https://doi.org/10.3390/s25185740

AMA Style

Zhang J, Li L, Wang J, Liu X, Su X. Closed-Loop Resonant Density Sensor Design Using Electromagnetic Excitation and Magnetic Detection. Sensors. 2025; 25(18):5740. https://doi.org/10.3390/s25185740

Chicago/Turabian Style

Zhang, Jingyue, Lvjian Li, Jintao Wang, Xiang Liu, and Xiaowen Su. 2025. "Closed-Loop Resonant Density Sensor Design Using Electromagnetic Excitation and Magnetic Detection" Sensors 25, no. 18: 5740. https://doi.org/10.3390/s25185740

APA Style

Zhang, J., Li, L., Wang, J., Liu, X., & Su, X. (2025). Closed-Loop Resonant Density Sensor Design Using Electromagnetic Excitation and Magnetic Detection. Sensors, 25(18), 5740. https://doi.org/10.3390/s25185740

Note that from the first issue of 2016, this journal uses article numbers instead of page numbers. See further details here.

Article Metrics

Back to TopTop