High-Precision Optimization of BIM-3D GIS Models for Digital Twins: A Case Study of Santun River Basin
Abstract
1. Introduction
2. Materials
2.1. IFC
2.2. OSGB
2.3. BIM-3D GIS Integration Patterns
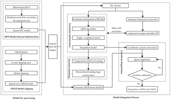
3. Model Integration Methodology
3.1. Integration Architecture
3.2. Model Preprocessing
3.3. Geometric Model Optimization
3.3.1. Edge Collapse Algorithm
3.3.2. QEM Algorithm
3.3.3. Angle-Weighting
3.4. LOD Hierarchical Mapping
- L17 (large-area watershed display): 100% simplification (no simplification applied to IFC models);
- L18: 50% simplification to retain critical geometric features;
- L19: 25% simplification for visually accessible components, 50% for non-visible components;
- L20 (highest precision): preserves the original model accuracy.
3.5. Coordinate Registration
3.5.1. Coordinate System Transformation
3.5.2. Spatial Alignment
4. Case Validation
- OSGB model import: ~5 min
- Import and optimization of ten control station BIM models: ~30 min
- LOD accuracy matching: ~10 min
- Model spatial coordinate calculation after manual homologous feature point selection: ~15 min
4.1. LOD Visualization
- L17 (Symbolic Level): The water diversion sluice model is represented in a symbolic form, omitting detailed component geometry to prioritize overall structural visibility.
- L18 (Basic Outdoor Level): Main outdoor components—including the roof, outer walls, floors, and stairs—are loaded, with their geometric shapes simplified by 50% to retain essential structural outlines while reducing computational load.
- L19 (Enhanced Indoor–Outdoor Level): As the LOD scale increases, key indoor equipment components (e.g., hoists, control cabinets, fire hydrants) are progressively loaded. Outdoor components undergo a stricter simplification ratio of 25%, while indoor components maintain a 50% simplification ratio to balance detail retention and performance.
- L20 (Full Detail Level): All scene components are fully loaded, with a uniform 25% simplification ratio applied to preserve geometric fidelity across both indoor and outdoor elements.
4.2. Coordinate Accuracy
4.3. Comparison of Geometric Model Optimization Algorithms
5. Discussion
6. Conclusions
- (1)
- For BIM model geometric optimization, an angle-weighted extension of the QEM algorithm (AW-QEM) is introduced to dynamically control the triangular mesh collapse order. This method reduces the model’s data volume while preserving component-level visual fidelity, ensuring that critical geometric features (e.g., sharp edges of water conservancy equipment) remain intact during simplification.
- (2)
- A hierarchical mapping mechanism is established between IFC component visibility and OSGB multi-resolution levels, defining a four-level (L17–L20) dynamic scheduling strategy for simplification ratios. This approach balances macroscopic basin-scale display (low-resolution L17–L18 for reduced computational load) with detailed component-level rendering (high-resolution L19–L20 for feature retention), enabling adaptive visualization across varying viewing distances.
- (3)
- The local coordinate system of IFC models is transformed into the OSGB global geodetic system using a seven-parameter Helmert transformation combined with SIFT feature matching. This integration achieves millimeter-level spatial alignment, resolving coordinate benchmark discrepancies and providing a unified geospatial framework for cross-model analysis, thereby enabling the seamless fusion of BIM components with large-scale 3D GIS terrain.
Author Contributions
Funding
Institutional Review Board Statement
Informed Consent Statement
Data Availability Statement
Conflicts of Interest
Abbreviations
| 3D GIS | 3D Geographic Information System |
| IFCs | Industry Foundation Classes |
| OSGB | Open Scene Graph Binary |
| QEM | Quadric Error Metrics |
| AW-QEM | Angle-Weighting Quadric Error Metrics |
| LOD | Level of Detail |
| RVT | Revit Model File |
| OBJ | Object File |
| JSON | JavaScript Object Notation |
| Unity | Unity 3D Engine |
| CityGML | City Geographic Markup Language |
| SIFT | Scale-Invariant Feature Transform |
| AEC | Architecture, Engineering, and Construction |
| AIA | American Institute of Architects |
| OSG | Open Scene Graph |
| AOI | Area of Interest |
References
- Wang, X.; Wu, B.; Zhou, G.; Wang, T.; Meng, F.; Zhou, L.; Cao, H.; Tang, Z. How a Vast Digital Twin of the Yangtze River Could Prevent Flooding in China. Nature 2025, 639, 303–305. [Google Scholar] [CrossRef]
- Tao, F.; Xiao, B.; Qi, Q.; Cheng, J.; Ji, P. Digital Twin Modeling. J. Manuf. Syst. 2022, 64, 372–389. [Google Scholar] [CrossRef]
- Tao, F.; Liu, W.R.; Zhang, M.; Hu, T.; Qi, Q.; Zhang, H.; Sui, F.; Wang, T.; Xu, H.; Huang, Z.; et al. Five-Dimensional Model of Digital Twin and Its Applications in Ten Fields. Comput. Integr. Manuf. Syst. 2019, 25, 1–18. [Google Scholar] [CrossRef]
- Gong, H.; Su, D.; Zeng, S.; Chen, X. Advancements in Digital Twin Modeling for Underground Spaces and Lightweight Geometric Modeling Technologies. Autom. Constr. 2024, 165, 105578. [Google Scholar] [CrossRef]
- Xia, H.; Liu, Z.; Efremochkina, M.; Liu, X.; Lin, C. Study on City Digital Twin Technologies for Sustainable Smart City Design: A Review and Bibliometric Analysis of Geographic Information System and Building Information Modeling Integration. Sustain. Cities Soc. 2022, 84, 104009. [Google Scholar] [CrossRef]
- Xu, Z.; Zhang, L.; Li, H.; Lin, Y.-H.; Yin, S. Combining IFC and 3D Tiles to Create 3D Visualization for Building Information Modeling. Autom. Constr. 2020, 109, 102995. [Google Scholar] [CrossRef]
- Xu, J.; Bu, L.; Du, D.; Wang, S. Research on fusion method of building BIM and reality 3D model. J. Build. Stuct. 2021, 42, 215–222. [Google Scholar] [CrossRef]
- Zhu, J.; Wu, P. BIM/GIS Data Integration from the Perspective of Information Flow. Autom. Constr. 2022, 136, 104166. [Google Scholar] [CrossRef]
- Plesner, U.; Horst, M. BEFORE STABILIZATION: Communication and Non-Standardization of 3D Digital Models in the Building Industry. Inf. Commun. Soc. 2013, 16, 1115–1138. [Google Scholar] [CrossRef]
- Plume, J.; Mitchell, J. Collaborative Design Using a Shared IFC Building Model—Learning from Experience. Autom. Constr. 2007, 16, 28–36. [Google Scholar] [CrossRef]
- Johansson, M.; Roupé, M.; Bosch-Sijtsema, P. Real-Time Visualization of Building Information Models (BIM). Autom. Constr. 2015, 54, 69–82. [Google Scholar] [CrossRef]
- Dao, J.; Ng, S.T.; Kwok, C.Y. Interlinking BIM and GIS Data for a Semantic Pedestrian Network and Applications in High-Density Cities. Dev. Built Environ. 2024, 17, 100367. [Google Scholar] [CrossRef]
- Zhu, J.; Wang, X.; Wang, P.; Wu, Z.; Kim, M.J. Integration of BIM and GIS: Geometry from IFC to Shapefile Using Open-Source Technology. Autom. Constr. 2019, 102, 105–119. [Google Scholar] [CrossRef]
- Guo, H.; Zhou, Y.; Ye, X.; Luo, Z.; Xue, F. Automated mapping from IFC data model to relational database model. J. Tsinghua Univ. Sci. Technol. 2020, in press. [CrossRef]
- Liu, G.P.; Qiu, X.; Wu, H.Y.; Huang, B.; Wang, N. Technology and Practice of BIM Data Fusion Based on IFC. Yangtze River 2024, 55, 293–297. [Google Scholar] [CrossRef]
- Wang, W.; Qian, H.; Feng, S. Simplified Unstructured-Mesh Based UAV Path Planning Method Using Octree Overlap Detection. IEEE Trans. Intell. Veh. 2024, 9, 6394–6406. [Google Scholar] [CrossRef]
- Li, W.D.; Cai, Y.L.; Lu, W.F. A 3D Simplification Algorithm for Distributed Visualization. Comput. Ind. 2007, 58, 211–226. [Google Scholar] [CrossRef]
- Alface, P.R.; Nam, D.; Kondrad, L.; Lim, S.Y. Level-of-Detail Adaptive Subdivision Methods for the Coding of Dynamic Mesh Sequences with V-DMC. In Proceedings of the 2024 12th European Workshop on Visual Information Processing (EUVIP), Geneva, Switzerland, 8–11 September 2021; IEEE: Geneva, Switzerland, 2024; pp. 1–6. [Google Scholar] [CrossRef]
- Kim, J.-S.; Li, K.-J. Simplification of Geometric Objects in an Indoor Space. ISPRS J. Photogramm. Remote Sens. 2019, 147, 146–162. [Google Scholar] [CrossRef]
- Deng, Y.; Cheng, J.C.P.; Anumba, C. Mapping between BIM and 3D GIS in Different Levels of Detail Using Schema Mediation and Instance Comparison. Autom. Constr. 2016, 67, 1–21. [Google Scholar] [CrossRef]
- Kang, T.W.; Hong, C.H. IFC-CityGML LOD Mapping Automation Using Multiprocessing-Based Screen-Buffer Scanning Including Mapping Rule. KSCE J. Civ. Eng. 2018, 22, 373–383. [Google Scholar] [CrossRef]
- Xie, Y.; Zhang, Y.; Hu, Y.; Yan, N.; Sun, T.; Zhu, J.; Zhu, Q. A Lightweight Approach to Railway Infrastructure BIM Models Considering Geometric Detail Features. Geomat. Inf. Sci. Wuhan Univ. 2024, 1–19. [Google Scholar] [CrossRef]
- Liang, Y.; He, F.; Zeng, X. 3D Mesh Simplification with Feature Preservation Based on Whale Optimization Algorithm and Differential Evolution. ICA 2020, 27, 417–435. [Google Scholar] [CrossRef]
- Ma, Y.; Wang, S.; Ouyang, T. 3D Surface Model Simplification Algorithm Based on Improved QEM. J. GansuSciences 2022, 34, 28–33, 42. [Google Scholar] [CrossRef]
- Zhang, Y.; Wang, S.; Zheng, Q.; Zhang, H. A Lightweight Algorithm for 3D Mesh Models with Preserved Detail Geometric Features. J. Comput. Appl. 2023, 43, 1226–1232. Available online: https://www.joca.cn/CN/10.11772/j.issn.1001-9081.2022030434 (accessed on 1 June 2025).
- Zhang, Y. An Improved Quadratic Error Metrics Algorithm Combined with Edge Splitting. Comput. Syst. Appl. 2022, 31, 271–278. [Google Scholar] [CrossRef]
- Biljecki, F.; Ledoux, H.; Stoter, J. An Improved LOD Specification for 3D Building Models. Comput. Environ. Urban Syst. 2016, 59, 25–37. [Google Scholar] [CrossRef]
- Varlık, A.; Dursun, İ. Three-Dimensional Web-Based Client Presentation of Integrated BIM and GIS for Smart Cities. Buildings 2024, 14, 3021. [Google Scholar] [CrossRef]
- Zhu, J.; Wu, P. Towards Effective BIM/GIS Data Integration for Smart City by Integrating Computer Graphics Technique. Remote Sens. 2021, 13, 1889. [Google Scholar] [CrossRef]
- Mignard, C.; Nicolle, C. Merging BIM and GIS using ontologies application to urban facility management in ACTIVe3D. Comput. Ind. 2014, 65, 1276–1290. [Google Scholar] [CrossRef]
- Wang, H.; Pan, Y.; Luo, X. Integration of BIM and GIS in Sustainable Built Environment: A Review and Bibliometric Analysis. Autom. Constr. 2019, 103, 41–52. [Google Scholar] [CrossRef]
- Van Den Brink, L.; Stoter, J.; Zlatanova, S. Establishing a National Standard for 3D Topographic Data Compliant to CityGML. Int. J. Geogr. Inf. Sci. 2013, 27, 92–113. [Google Scholar] [CrossRef]
- Kang, T.W.; Hong, C.H. A Study on Software Architecture for Effective BIM/GIS-Based Facility Management Data Integration. Autom. Constr. 2015, 54, 25–38. [Google Scholar] [CrossRef]
- Kang, T. Development of a Conceptual Mapping Standard to Link Building and Geospatial Information. ISPRS Int. J. Geo-Inf. 2018, 7, 162. [Google Scholar] [CrossRef]
- Demir Altıntaş, Y.; Ilal, M.E. Loose Coupling of GIS and BIM Data Models for Automated Compliance Checking against Zoning Codes. Autom. Constr. 2021, 128, 103743. [Google Scholar] [CrossRef]
- Zhang, S.; Hou, D.; Wang, C.; Pan, F.; Yan, L. Integrating and Managing BIM in 3D Web-Based GIS for Hydraulic and Hydropower Engineering Projects. Autom. Constr. 2020, 112, 103114. [Google Scholar] [CrossRef]
- Hoppe, H.; DeRose, T.; Duchamp, T.; McDonald, J.; Stuetzle, W. Mesh optimization. In Proceedings of the 20th Annual Conference on Computer Graphics and Interactive Techniques, Anaheim, CA, USA, 2–6 August 1993; ACM: New York, NY, USA, 1993; pp. 19–26. [Google Scholar]
- Garland, M.; Heckbert, P.S. Surface simplification using quadric error metrics. In Proceedings of the 24th Annual Conference on Computer Graphics and Interactive Techniques—SIGGRAPH ’97, Los Angeles, CA, USA, 3–8 August 1997; ACM Press: New York, NY, USA, 1997; pp. 209–216. [Google Scholar]
- Fischer, A.; Bar-Yoseph, P.Z. Adaptive mesh generation based on multi-resolution quadtree representation. Int. J. Numer. Methods Eng. 2000, 48, 1571–1582. [Google Scholar] [CrossRef]











| LOD Level | Name | Definition |
|---|---|---|
| LOD 100 | Conceptual Model | Uses basic cuboid components as placeholders to represent only the approximate location, shape, and dimensions of objects, without including specific building components or detailed information. |
| LOD 200 | Preliminary Design Model | Builds on LOD 100 by adding basic attribute information (e.g., material properties) and assigning basic texture elements to model components. |
| LOD 300 | Detailed Design Model | Further refines LOD 200 by incorporating detailed geometric shapes, dimensions, and construction attribute information for model elements, with more precise connectivity relationships between elements. |
| LOD 400 | Component Model | Includes all information from LOD 300 and achieves the highest geometric precision, containing manufacturing details, material specifications, and assembly information for model elements. |
| LOD 500 | As-Built Model | Based on LOD 400, incorporate change orders and detailed information required for the operation and maintenance phase. This level represents the highest precision of the data model without altering the geometric representation. |
| Comparison Index | AW-QEM | QEM | Vertex Clustering |
|---|---|---|---|
| Loading Time (s) | 140 s | 165 s | 120 s |
| Optimization Rate (%) | 25% | 26.54% | 35% |
| Accuracy (%) | 97% | 93% | 80% |
| Comparison Dimension | WOA-DE Algorithm | Edge Subdivision QEM Algorithm | AW-QEM Algorithm |
|---|---|---|---|
| Core Principle | Gaussian curvature + QEM | Edge subdivision + quadric error metrics | Angle weighting + vertex curvature |
| Algorithm Function | Solving via Whale Optimization Algorithm | Triangular facet anomaly repair | Dynamic adjustment of edge collapse order |
| Feature Preservation Mechanism | Global curvature homogenization (focus on mesh quality) | Local edge subdivision to avoid triangular facet flipping | Weighted by αmax to CVi to prioritize the preservation of sharp edges |
| Computational Complexity | O(n2) (complex) | O(n log n) (simple) | O(n log n) (simple) |
Disclaimer/Publisher’s Note: The statements, opinions and data contained in all publications are solely those of the individual author(s) and contributor(s) and not of MDPI and/or the editor(s). MDPI and/or the editor(s) disclaim responsibility for any injury to people or property resulting from any ideas, methods, instructions or products referred to in the content. |
© 2025 by the authors. Licensee MDPI, Basel, Switzerland. This article is an open access article distributed under the terms and conditions of the Creative Commons Attribution (CC BY) license (https://creativecommons.org/licenses/by/4.0/).
Share and Cite
Yang, Z.; Aihemaiti, M.; Abudureheman, B.; Tao, H. High-Precision Optimization of BIM-3D GIS Models for Digital Twins: A Case Study of Santun River Basin. Sensors 2025, 25, 4630. https://doi.org/10.3390/s25154630
Yang Z, Aihemaiti M, Abudureheman B, Tao H. High-Precision Optimization of BIM-3D GIS Models for Digital Twins: A Case Study of Santun River Basin. Sensors. 2025; 25(15):4630. https://doi.org/10.3390/s25154630
Chicago/Turabian StyleYang, Zhengbing, Mahemujiang Aihemaiti, Beilikezi Abudureheman, and Hongfei Tao. 2025. "High-Precision Optimization of BIM-3D GIS Models for Digital Twins: A Case Study of Santun River Basin" Sensors 25, no. 15: 4630. https://doi.org/10.3390/s25154630
APA StyleYang, Z., Aihemaiti, M., Abudureheman, B., & Tao, H. (2025). High-Precision Optimization of BIM-3D GIS Models for Digital Twins: A Case Study of Santun River Basin. Sensors, 25(15), 4630. https://doi.org/10.3390/s25154630

