A Self-Powered Density-Based Device for Automatic Mixed-Oil Cutting in Field Pipelines
Abstract
1. Introduction
2. Materials and Methods
2.1. Device Composition
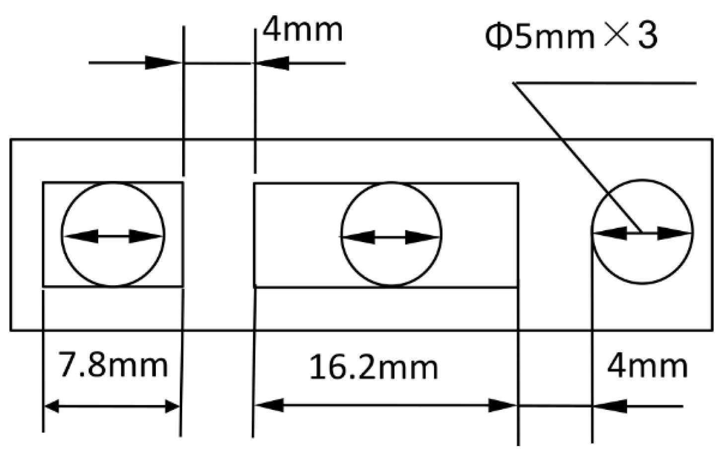
2.2. Key Component Design
- Top Cover: Includes an automatic vent to prevent gas interference, bolted for maintenance.
- Float Chamber: Contains the float, spring, and base column, with oil inlet/outlet and adjustment rod slots.
- Three-Port Valve: Controls cutting signals with channels for gasoline, mixed oil, and diesel.
- Outer Casing: Houses inlet/return pipes and secures the float chamber.
2.3. Modular Design
2.4. Detailed Design
2.5. Material Selection
2.6. Working Principle
2.7. Experimental Setup
3. Results
3.1. Relationship Between Oil Density and Float Position
3.2. Density-Controlled Pilot Valve On-Off Test
3.3. Two Test Media Test
3.4. Gas Effect
3.5. Mixed-Oil Experiment
4. Discussion
4.1. Operational Considerations
4.2. Environmental Influences
4.3. Fluid Compatibility
5. Conclusions
6. Patents
Author Contributions
Funding
Institutional Review Board Statement
Informed Consent Statement
Data Availability Statement
Conflicts of Interest
References
- Tudorica, D. A Comparative Analysis of Various Methods of Gas, Crude Oil and Oil Derivatives Transportation. Int. J. Sustain. Econ. Manag. 2014, 3, 16–25. [Google Scholar] [CrossRef]
- Serediuk, M.D. Methods of Hydrodynamic Calculation Oil Pipeline Sequential Transportation of Small Batches of Various Oil. Arch. Mater. Sci. Eng. 2022, 117, 25–33. [Google Scholar] [CrossRef]
- Ramazanova, G.I.; Bekibayev, T.T.; Soltanbekova, K.A.; Aldzhambekova, G.T. Sequential Transportation of Different Oil Batches through the Industrial Pipeline. Kompleks Ispolz. Miner. Syra Complex Use Miner. Resour. 2025, 332, 108–118. [Google Scholar] [CrossRef]
- Liang, Y.; He, G.; Fang, L.; Wu, M.; Gao, J.; Li, Y.; Li, F. Research Advances in the Influence of Temperature on the Sequential Transportation in Product Pipeline. Chin. Sci. Bull. 2017, 62, 2520–2533. [Google Scholar] [CrossRef]
- Golunov, N.N. Petroleum Products Interface Volume Reduction in Back-to-Back Batching. Pipeline Sci. Technol. 2019, 3, 46–51. [Google Scholar] [CrossRef]
- Liu, E.; Li, W.; Cai, H.; Qiao, W.; Azimi, M. Calculation Method for the Amount of Contaminant Oil during Sequential Transportation through Product Oil Pipelines. Energy Explor. Exploit. 2020, 38, 1014–1033. [Google Scholar] [CrossRef]
- Xu, D.; Sun, Y.; Chen, W.; Mu, J.; Peng, W. Development and Experimental Study of an Experimental Setup for an Online Vibrating Tube Liquid Densitometer. Appl. Sci. 2024, 14, 9905. [Google Scholar] [CrossRef]
- Wagner, W.; Kleinrahm, R. Densimeters for Very Accurate Density Measurements of Fluids over Large Ranges of Temperature, Pressure, and Density. Metrologia 2004, 41, S24–S39. [Google Scholar] [CrossRef]
- Kuramoto, N.; Fujii, K.; Waseda, A. Accurate Density Measurements of Reference Liquids by a Magnetic Suspension Balance. Metrologia 2004, 41, S84–S94. [Google Scholar] [CrossRef]
- Hu, S.; Wang, D.; Wang, Z.; Wu, X.; Liu, J.; Li, T. The Latest Development of Multi-Interface Detection Sensor Technology for Crude Oil. In Proceedings of the 2020 Chinese Automation Congress (CAC), Shanghai, China, 6–8 November 2020; IEEE: Shanghai, China, 2020; pp. 4781–4786. [Google Scholar] [CrossRef]
- Xiong, X.; Xing, X.; Li, H.; Xue, R.; Li, Y.; Liu, T. Calculation of Mixed Oil Volume for Sequential Transportation of Crude Oil Pipelines with Variable Temperature and Low Reynolds Number. J. Phys. Conf. Ser. 2024, 2731, 012043. [Google Scholar] [CrossRef]
- Yang, J.; Ruan, C.; Chen, S.; Zhang, R.; Zheng, J.; Liu, Z.; Yang, Z. Mixed Oil Control and Solution of Mountain Product Oil Pipeline. E3S Web Conf. 2024, 522, 01022. [Google Scholar] [CrossRef]
- Puttmer, A.; Hauptmann, P.; Henning, B. Ultrasonic Density Sensor for Liquids. IEEE Trans. Ultrason. Ferroelectr. Freq. Control 2000, 47, 85–92. [Google Scholar] [CrossRef] [PubMed]
- Arave, A.E. Ultrasonic Densitometer Development. In Proceedings of the 1979 Ultrasonics Symposium, New Orleans, LA, USA, 26–28 September 1979; IEEE: Piscataway, NJ, USA, 1979; pp. 370–375. [Google Scholar] [CrossRef]
- Esmaili, P.; Cavedo, F.; Norgia, M. Differential Pressure-Based Densitometer in Dynamic Condition. IEEE Trans. Instrum. Meas. 2021, 70, 6500307. [Google Scholar] [CrossRef]
- Ahmed, A.; Saadatnia, Z.; Hassan, I.; Zi, Y.; Xi, Y.; He, X.; Zu, J.; Wang, Z.L. Self-Powered Wireless Sensor Node Enabled by a Duck-Shaped Triboelectric Nanogenerator for Harvesting Water Wave Energy. Adv. Energy Mater. 2017, 7, 1601705. [Google Scholar] [CrossRef]
- Chen, J.; Tang, W.; Han, K.; Xu, L.; Chen, B.; Jiang, T.; Wang, Z.L. Bladeless-Turbine-Based Triboelectric Nanogenerator for Fluid Energy Harvesting and Self-Powered Fluid Gauge. Adv. Mater. Technol. 2018, 4, 1800560. [Google Scholar] [CrossRef]
- Cheng, P.; Sun, M.; Zhang, C.; Guo, H.; Shi, J.; Zhang, Y.; Liu, Y.; Wang, J.; Wen, Z.; Sun, X. Self-Powered Active Spherical Triboelectric Sensor for Fluid Velocity Detection. IEEE Trans. Nanotechnol. 2020, 19, 230–235. [Google Scholar] [CrossRef]
- Sparreboom, W.; Van De Geest, J.; Katerberg, M.; Postma, F.; Haneveld, J.; Groenesteijn, J.; Lammerink, T.; Wiegerink, R.; Lötters, J. Compact Mass Flow Meter Based on a Micro Coriolis Flow Sensor. Micromachines 2013, 4, 22–33. [Google Scholar] [CrossRef]














| Float Displacement (m) | Density (kg/) | 
|---|---|
| 0 | 730 | 
| 0.005 | 750 | 
| 0.008 | 760 | 
| 0.027 | 817.7 | 
| 0.032 | 830 | 
| Medium | Density (kg/) | 
|---|---|
| Gasoline | 760 | 
| Kerosene | 798 | 
| Diesel | 835 | 
| Water | 998 | 
| Set Point (kg/) | Valve State | Measured Density (kg/) | 
|---|---|---|
| 770 | A1 Open | 760 | 
| 770 | A2 Open | 835 | 
| No. | Medium X | X Density (kg/) | Medium Y | Y Density (kg/) | Set Point (kg/) | Switching Time (s) | 
|---|---|---|---|---|---|---|
| 1 | Gasoline | 760 | Diesel | 835 | 770 | 61 | 
| 2 | Gasoline | 760 | Kerosene | 798 | 770 | 78 | 
| 3 | Kerosene | 798 | Diesel | 835 | 820 | 351 | 
| 4 | Water | 998 | Kerosene | 798 | 810 | 395 | 
| Gas Content (%) | Density Error (kg/) | 
|---|---|
| 0 | 0 | 
| 1 | 2 | 
| 2 | 5 | 
| Feature | Proposed Device | Vibrating Tube Densitometer [7] | Radiation-Based Densitometer [8] | 
|---|---|---|---|
| Power Requirement | None (Self-Powered) | External Power | External Power | 
| Resolution (kg/) | 10 | 0.1 | 1–5 | 
| Approximate Cost | Low | High | High | 
| Field Suitability a | High (Mobile, Robust, Self-Powered) | Low (Power-Dependent, Infrastructure) | Moderate (Safety Concerns, Infrastructure) | 
| Disclaimer/Publisher’s Note: The statements, opinions and data contained in all publications are solely those of the individual author(s) and contributor(s) and not of MDPI and/or the editor(s). MDPI and/or the editor(s) disclaim responsibility for any injury to people or property resulting from any ideas, methods, instructions or products referred to in the content. | 
© 2025 by the authors. Licensee MDPI, Basel, Switzerland. This article is an open access article distributed under the terms and conditions of the Creative Commons Attribution (CC BY) license (https://creativecommons.org/licenses/by/4.0/).
Share and Cite
Zhang, Z.; Zuo, Y.; Liu, H.; He, B. A Self-Powered Density-Based Device for Automatic Mixed-Oil Cutting in Field Pipelines. Sensors 2025, 25, 3030. https://doi.org/10.3390/s25103030
Zhang Z, Zuo Y, Liu H, He B. A Self-Powered Density-Based Device for Automatic Mixed-Oil Cutting in Field Pipelines. Sensors. 2025; 25(10):3030. https://doi.org/10.3390/s25103030
Chicago/Turabian StyleZhang, Zhen, Yonggang Zuo, Huishu Liu, and Biao He. 2025. "A Self-Powered Density-Based Device for Automatic Mixed-Oil Cutting in Field Pipelines" Sensors 25, no. 10: 3030. https://doi.org/10.3390/s25103030
APA StyleZhang, Z., Zuo, Y., Liu, H., & He, B. (2025). A Self-Powered Density-Based Device for Automatic Mixed-Oil Cutting in Field Pipelines. Sensors, 25(10), 3030. https://doi.org/10.3390/s25103030
 
        


 
       