Vision-Based On-Site Construction Waste Localization Using Unmanned Aerial Vehicle
Abstract
1. Introduction
2. Literature Review
2.1. Construction Waste Recycling
2.2. UAV Applications on Construction Sites
2.3. Vison-Based Waste Detection Methods
3. Methodology
3.1. Data Preparation
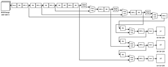
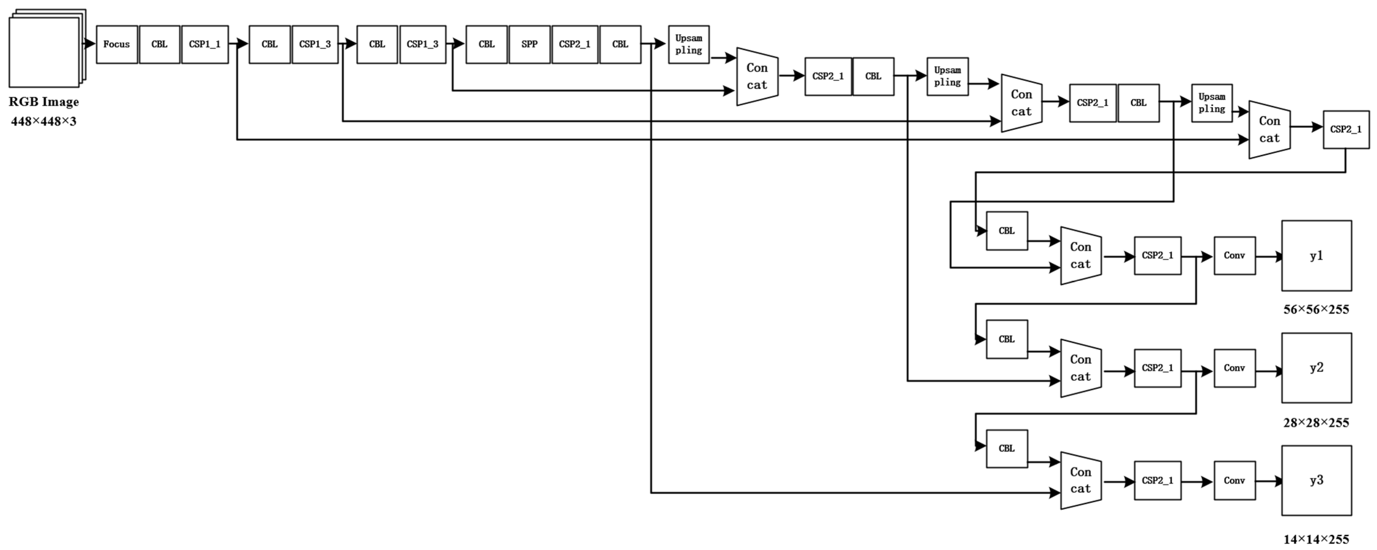
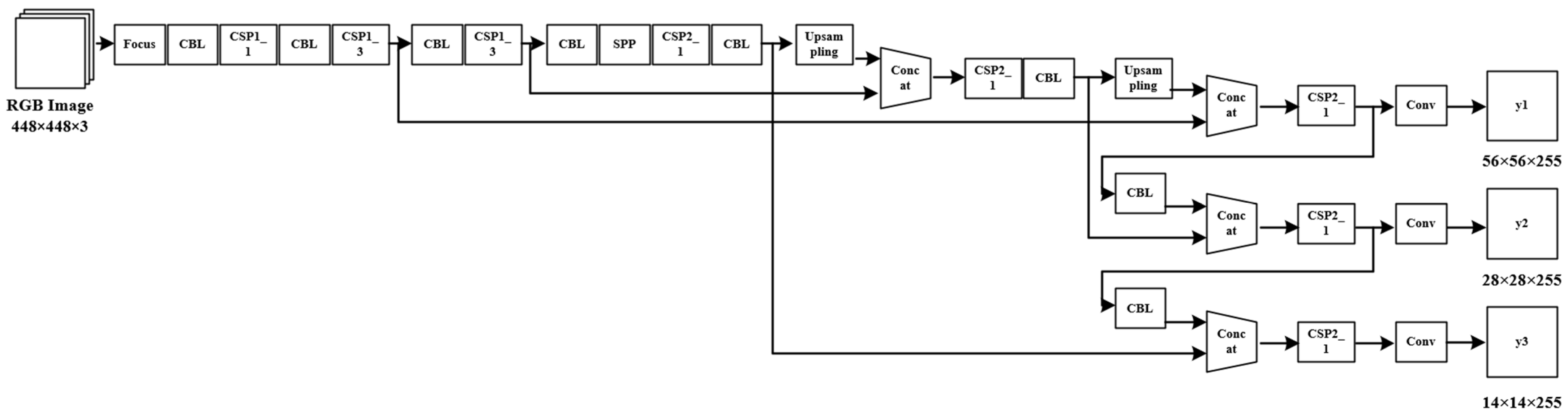
3.2. Visual-Based Long-Distance CDW Detection Method
3.2.1. CDW Detection Method
3.2.2. Optimization
3.3. CDW Localization Using an Unmanned Aerial Vehicle
4. Evaluations
4.1. Experiments and Results
4.2. Discussion
5. Conclusions
Author Contributions
Funding
Institutional Review Board Statement
Informed Consent Statement
Data Availability Statement
Conflicts of Interest
References
- National Bureau of Statistics of China. China Statistical Yearbook 2019. Available online: http://www.stats.gov.cn/english/Statisticaldata/AnnualData/ (accessed on 24 August 2020).
- U.S.BEA GDP by Industry. Available online: https://www.bea.gov/data/gdp/gdp-industry (accessed on 24 August 2020).
- Nezhaddehghan, M.; Ansari, R.; Banihashemi, S.A. An Optimized Hybrid Decision Support System for Waste Management in Construction Projects Based on Gray Data: A Case Study in High-Rise Buildings. J. Build. Eng. 2023, 80, 107731. [Google Scholar] [CrossRef]
- Chen, Z.; Li, H.; Wong, C.T.C. An Application of Bar-Code System for Reducing Construction Wastes. Proc. Autom. Constr. 2002, 11, 521–533. [Google Scholar] [CrossRef]
- Yuan, H.; Lu, W.; Jianli Hao, J. The Evolution of Construction Waste Sorting On-Site. Renew. Sustain. Energy Rev. 2013, 20, 483–490. [Google Scholar] [CrossRef]
- Li, C.Z.; Hong, J.; Xue, F.; Shen, G.Q.; Xu, X.; Luo, L. SWOT Analysis and Internet of Things-Enabled Platform for Prefabrication Housing Production in Hong Kong. Habitat. Int. 2016, 57, 74–87. [Google Scholar] [CrossRef]
- Yu, A.T.W.; Poon, C.S.; Wong, A.; Yip, R.; Jaillon, L. Impact of Construction Waste Disposal Charging Scheme on Work Practices at Construction Sites in Hong Kong. Waste Manag. 2013, 33, 138–146. [Google Scholar] [CrossRef] [PubMed]
- Park, J.; Tucker, R. Overcoming Barriers to the Reuse of Construction Waste Material in Australia: A Review of the Literature. Int. J. Constr. Manag. 2017, 17, 228–237. [Google Scholar] [CrossRef]
- Marzouk, M.; Azab, S. Environmental and Economic Impact Assessment of Construction and Demolition Waste Disposal Using System Dynamics. Resour. Conserv. Recycl. 2014, 82, 41–49. [Google Scholar] [CrossRef]
- de Andrade Salgado, F.; de Andrade Silva, F. Recycled Aggregates from Construction and Demolition Waste towards an Application on Structural Concrete: A Review. J. Build. Eng. 2022, 52, 104452. [Google Scholar] [CrossRef]
- Jawahir, I.S.; Bradley, R. Technological Elements of Circular Economy and the Principles of 6R-Based Closed-Loop Material Flow in Sustainable Manufacturing. Proc. Procedia CIRP 2016, 40, 103–108. [Google Scholar] [CrossRef]
- Giorgi, S.; Lavagna, M.; Campioli, A. Guidelines for Effective and Sustainable Recycling of Construction and Demolition Waste. In Designing Sustainable Technologies, Products and Policies; Springer International Publishing: Singapore, 2018; pp. 211–221. [Google Scholar]
- HKEPD Construction Waste Disposal Charging Scheme 2005. Available online: https://www.epd.gov.hk/epd/misc/cdm/scheme.htm (accessed on 1 December 2020).
- Poon, C.S.; Yu, A.T.W.; Wong, A.; Yip, R. Quantifying the Impact of Construction Waste Charging Scheme on Construction Waste Management in Hong Kong. J. Constr. Eng. Manag. 2013, 139, 466–479. [Google Scholar] [CrossRef]
- Rodríguez, G.; Medina, C.; Alegre, F.J.; Asensio, E.; de Sánchez Rojas, M.I. Assessment of Construction and Demolition Waste Plant Management in Spain: In Pursuit of Sustainability and Eco-Efficiency. J. Clean. Prod. 2015, 90, 16–24. [Google Scholar] [CrossRef]
- Tuomas, J.; Lukka, T.; Tossavainen, J.V.; Kujala, D.; Raiko, T. Zenrobotics recycler–robotic sorting using machine learning, Proceedings of the International Conference on Sensor-Based Sorting (SBS). No. 1. Citeseer, 2014. Available online: https://users.ics.aalto.fi/praiko/papers/SBS14.pdf (accessed on 7 April 2024).
- Wang, Z.; Li, H.; Yang, X. Vision-Based Robotic System for on-Site Construction and Demolition Waste Sorting and Recycling. J. Build. Eng. 2020, 32, 101769. [Google Scholar] [CrossRef]
- Lu, W.; Chen, J.; Xue, F. Using Computer Vision to Recognize Composition of Construction Waste Mixtures: A Semantic Segmentation Approach. Resour. Conserv. Recycl. 2022, 178, 106022. [Google Scholar] [CrossRef]
- Bahadori-Jahromi, A.; Sari, T.; Rachmawati, N.; Kim, S. Unmanned Aerial Vehicles (UAV) Integration with Digital Technologies toward Construction 4.0: A Systematic Literature Review. Sustainability 2022, 14, 5708. [Google Scholar] [CrossRef]
- Jin, R.; Li, B.; Zhou, T.; Wanatowski, D.; Piroozfar, P. An Empirical Study of Perceptions towards Construction and Demolition Waste Recycling and Reuse in China. Resour. Conserv. Recycl. 2017, 126, 86–98. [Google Scholar] [CrossRef]
- Ghaffar, S.H.; Burman, M.; Braimah, N. Pathways to Circular Construction: An Integrated Management of Construction and Demolition Waste for Resource Recovery. J. Clean. Prod. 2020, 244, 118710. [Google Scholar] [CrossRef]
- Xu, D.; Sun, J.; Xu, B. Research on Resource Recycling Technology of Construction Waste. In Proceedings of the IOP Conference Series: Materials Science and Engineering; IOP Publishing: Bristol, UK, 2018; Volume 392. [Google Scholar]
- Barbudo, A.; Ayuso, J.; Lozano, A.; Cabrera, M.; López-Uceda, A. Recommendations for the Management of Construction and Demolition Waste in Treatment Plants. Environ. Sci. Pollut. Res. 2020, 27, 125–132. [Google Scholar] [CrossRef]
- Zhuang, Z.; Bi, J.; Wang, F. The Whole Process Management Monitoring and Control of Construction Waste. In Proceedings of the IOP Conference Series: Earth and Environmental Science; IOP Publishing: Bristol, UK, 2020; Volume 435. [Google Scholar]
- Kumar, A.; Kumar Verma, S.; Dinan Qonitan, F.; Wayan Koko Suryawan, I.; Rahman, A.; Seredkin, A.V.; Tokarev, M.P.; Plohih, I.A.; Gobyzov, O.A.; Markovich, D.M. Development of a Method of Detection and Classification of Waste Objects on a Conveyor for a Robotic Sorting System. J. Phys. Conf. Ser. 2019, 1359, 012127. [Google Scholar] [CrossRef]
- Wang, Z.; Li, H.; Zhang, X. Construction Waste Recycling Robot for Nails and Screws: Computer Vision Technology and Neural Network Approach. Autom. Constr. 2019, 97, 220–228. [Google Scholar] [CrossRef]
- Elmakis, O.; Shaked, T.; Degani, A. Vision-Based UAV-UGV Collaboration for Autonomous Construction Site Preparation. IEEE Access 2022, 10, 51209–51220. [Google Scholar] [CrossRef]
- Hubbard, B.; Wang, H.; Leasure, M.; Ropp, T.; Lofton, T.; Hubbard, S.; Lin, S. Feasibility Study of UAV Use for RFID Material Tracking on Construction Sites. In Proceedings of the 51st ASC Annual International Conference Proceedings, College Station, TX, USA, 22–25 April 2015. [Google Scholar]
- Alizadehsalehi, S.; Yitmen, I.; Celik, T.; Arditi, D. The Effectiveness of an Integrated BIM/UAV Model in Managing Safety on Construction Sites. Int. J. Occup. Saf. Ergon. 2020, 26, 829–844. [Google Scholar] [CrossRef] [PubMed]
- Zhang, R.; Li, H.; Duan, K.; You, S.; Liu, K.; Wang, F.; Hu, Y. Automatic Detection of Earthquake-Damaged Buildings by Integrating UAV Oblique Photography and Infrared Thermal Imaging. Remote Sens. 2020, 12, 2621. [Google Scholar] [CrossRef]
- Enegbuma, W.I.; Bamgbade, J.A.; Ming, C.P.H.; Ohueri, C.C.; Tanko, B.L.; Ojoko, E.O.; Dodo, Y.A.; Kori, S. Real-Time Construction Waste Reduction Using Unmanned Aerial Vehicle. In Handbook of Research on Resource Management for Pollution and Waste Treatment; IGI Global: Hershey, PA, USA, 2019. [Google Scholar]
- Filkin, T.; Sliusar, N.; Ritzkowski, M.; Huber-Humer, M. Unmanned Aerial Vehicles for Operational Monitoring of Landfills. Drones 2021, 5, 125. [Google Scholar] [CrossRef]
- Son, S.W.; Kim, D.W.; Sung, W.G.; Yu, J.J. Integrating UAV and TLS Approaches for Environmental Management: A Case Study of a Waste Stockpile Area. Remote Sens. 2020, 12, 1615. [Google Scholar] [CrossRef]
- Sliusar, N.; Filkin, T.; Huber-Humer, M.; Ritzkowski, M. Drone Technology in Municipal Solid Waste Management and Landfilling: A Comprehensive Review. In Waste Management; Elsevier: Amsterdam, The Netherlands, 2022; Volume 139. [Google Scholar]
- Xu, S.; Wang, J.; Shou, W.; Ngo, T.; Sadick, A.M.; Wang, X. Computer Vision Techniques in Construction: A Critical Review. Arch. Comput. Methods Eng. 2021, 28, 3383–3397. [Google Scholar] [CrossRef]
- Han, K.K.; Golparvar-Fard, M. Potential of Big Visual Data and Building Information Modeling for Construction Performance Analytics: An Exploratory Study. Autom. Constr. 2017, 73, 184–198. [Google Scholar] [CrossRef]
- Wu, H.; Zhong, B.; Li, H.; Love, P.; Pan, X.; Zhao, N. Combining Computer Vision with Semantic Reasoning for On-Site Safety Management in Construction. J. Build. Eng. 2021, 42, 103036. [Google Scholar] [CrossRef]
- Li, Y.; Chen, J. Computer Vision–Based Counting Model for Dense Steel Pipe on Construction Sites. J. Constr. Eng. Manag. 2022, 148, 04021178. [Google Scholar] [CrossRef]
- Davis, P.; Aziz, F.; Newaz, M.T.; Sher, W.; Simon, L. The Classification of Construction Waste Material Using a Deep Convolutional Neural Network. Autom. Constr. 2021, 122, 103481. [Google Scholar] [CrossRef]
- Dong, Z.; Chen, J.; Lu, W. Computer Vision to Recognize Construction Waste Compositions: A Novel Boundary-Aware Transformer (BAT) Model. J. Environ. Manag. 2022, 305, 114405. [Google Scholar] [CrossRef]
- Li, J.; Fang, H.; Fan, L.; Yang, J.; Ji, T.; Chen, Q. RGB-D Fusion Models for Construction and Demolition Waste Detection. Waste Manag. 2022, 139, 96–104. [Google Scholar] [CrossRef] [PubMed]
- Redmon, J.; Farhadi, A. YOLO9000: Better, Faster, Stronger. In Proceedings of the 30th IEEE Conference on Computer Vision and Pattern Recognition, CVPR 2017 2016, Honolulu, HI, USA, 21–26 January 2017; pp. 6517–6525. [Google Scholar]
- Ren, S.; He, K.; Girshick, R.; Sun, J. Faster R-CNN: Towards Real-Time Object Detection with Region Proposal Networks. IEEE Trans. Pattern Anal. Mach. Intell. 2017, 39, 1137–1149. [Google Scholar] [CrossRef] [PubMed]
- Liu, W.; Anguelov, D.; Erhan, D.; Szegedy, C.; Reed, S.; Fu, C.Y.; Berg, A.C. SSD: Single Shot Multibox Detector. In Computer Vision–ECCV 2016: 14th European Conference, Amsterdam, The Netherlands, October 11–14, 2016, Proceedings, Part. I 14; Springer International Publishing: Singapore, 2016; pp. 21–37. [Google Scholar]
- Mao, W.L.; Chen, W.C.; Fathurrahman, H.I.K.; Lin, Y.H. Deep Learning Networks for Real-Time Regional Domestic Waste Detection. J. Clean. Prod. 2022, 344, 131096. [Google Scholar] [CrossRef]
- Majchrowska, S.; Mikołajczyk, A.; Ferlin, M.; Klawikowska, Z.; Plantykow, M.A.; Kwasigroch, A.; Majek, K. Deep Learning-Based Waste Detection in Natural and Urban Environments. Waste Manag. 2022, 138, 274–284. [Google Scholar] [CrossRef]
- Liu, Z.; Gu, X.; Chen, J.; Wang, D.; Chen, Y.; Wang, L. Automatic Recognition of Pavement Cracks from Combined GPR B-Scan and C-Scan Images Using Multiscale Feature Fusion Deep Neural Networks. Autom. Constr. 2023, 146, 104698. [Google Scholar] [CrossRef]
- Lin, T. LabelImg. Git Code (2015). Available online: https://github.com/tzutalin/labelImg (accessed on 1 June 2023).
- Lin, T.Y.; Maire, M.; Belongie, S.; Hays, J.; Perona, P.; Ramanan, D.; Dollár, P.; Zitnick, C.L. Microsoft COCO: Common Objects in Context. In Proceedings of the Lecture Notes in Computer Science (Including Subseries Lecture Notes in Artificial Intelligence and Lecture Notes in Bioinformatics); Springer International Publishing: Singapore, 2014. [Google Scholar]
- Mahendrakar, T.; Ekblad, A.; Fischer, N.; White, R.; Wilde, M.; Kish, B.; Silver, I. Performance Study of YOLOv5 and Faster R-CNN for Autonomous Navigation around Non-Cooperative Targets. In Proceedings of the IEEE Aerospace Conference Proceedings, Big Sky, MT, USA, 5–12 March 2022. [Google Scholar] [CrossRef]












| Image Resolution Method | YOLOv5n | Recognition Algorithm for Small Targets (Proposed Method) | ||
|---|---|---|---|---|
| Time | Accuracy | Time | Accuracy | |
| 2048 × 2048 | 88 ms | 0.968 | 82.3 ms | 0.975 |
| 1024 × 1024 | 72.2 ms | 0.948 | 61.3 ms | 0.949 |
| 608 × 608 | 52.8 ms | 0.852 | 48.3 ms | 0.870 |
| 416 × 416 | 40.3 ms | 0.807 | 35.6 ms | 0.824 |
Disclaimer/Publisher’s Note: The statements, opinions and data contained in all publications are solely those of the individual author(s) and contributor(s) and not of MDPI and/or the editor(s). MDPI and/or the editor(s) disclaim responsibility for any injury to people or property resulting from any ideas, methods, instructions or products referred to in the content. |
© 2024 by the authors. Licensee MDPI, Basel, Switzerland. This article is an open access article distributed under the terms and conditions of the Creative Commons Attribution (CC BY) license (https://creativecommons.org/licenses/by/4.0/).
Share and Cite
Wang, Z.; Yang, X.; Zheng, X.; Li, H. Vision-Based On-Site Construction Waste Localization Using Unmanned Aerial Vehicle. Sensors 2024, 24, 2816. https://doi.org/10.3390/s24092816
Wang Z, Yang X, Zheng X, Li H. Vision-Based On-Site Construction Waste Localization Using Unmanned Aerial Vehicle. Sensors. 2024; 24(9):2816. https://doi.org/10.3390/s24092816
Chicago/Turabian StyleWang, Zeli, Xincong Yang, Xianghan Zheng, and Heng Li. 2024. "Vision-Based On-Site Construction Waste Localization Using Unmanned Aerial Vehicle" Sensors 24, no. 9: 2816. https://doi.org/10.3390/s24092816
APA StyleWang, Z., Yang, X., Zheng, X., & Li, H. (2024). Vision-Based On-Site Construction Waste Localization Using Unmanned Aerial Vehicle. Sensors, 24(9), 2816. https://doi.org/10.3390/s24092816

