A New Paradigm in AC Drive Control: Data-Driven Control by Learning Through the High-Efficiency Data Set—Generalizations and Applications to a PMSM Drive Control System
Abstract
1. Introduction
- (i)
- We propose a new combined linear PI and DDC control methodology that uses the process control variables obtained from a database of design, experimental, and simulated data built by an RBF technique.
- (ii)
- In the case of the EDSs, the combined control methodology deals with an outer time domain PI control of speed and an inner implicit RBF control loop.
- (iii)
- The inner control loop is based on a database, which contains the optimal controls corresponding to any speed and torque of process operation points. The control law is in implicit form, which is a set of high-efficiency steady-state process operation points.
- (iv)
- The RBF methodology compresses the set of all admissible operation points by network architecture, with a few optimal data basis functions.
- (v)
- We have evaluated the performance of the new DDC algorithm by simulating the PMSM control scheme, in which the demanded torque by the PI controller and the measured speed are the inputs for the RBF inner loop. The output of the inner loop is the inverter’s command shaping input, which selects the proper voltage vector sequence of the invertor.
- (vi)
- The inner RBF control loop is adaptive, that is, the inverter control is temperature and magnetic saturation dependent because the parameters of the process change with exogenous conditions.
2. Problem Statement—From Classical Physical Modeling of Energy Conversion Flow to Data-Free Model Control
2.1. Problem Statement
2.2. The DDC Strategy of the Energy Conversion Process
3. The DDC of AC Drive—Illustrative Case Study: The DDC of a PMSM Drive System
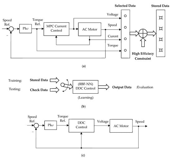
3.1. The DDC Principle of AC Drives
- Stage I: Stored data from MPC cascade control running. In this stage, we selected a limited data set obtained from the MPC cascade running in a steady-state regime for speed, torque, voltage, and current. Then, we impose the constraint of high efficiency, resulting in the stored data;
- Stage II: Training of DDC strategy. The stored data obtained in the previous stage serves as a base in this training stage for DDC design, which is done in an open structure. Usually, the stored data are numerically processed in order to improve the main features: efficiency, robustness, tracking, and disturbance rejection. These objectives are achieved by using a DB, which offers multiple possibilities for data processing;
- Stage III: Testing of the DDC method. Learning from the previous stage, the DDC strategy is able to operate at any point required by the application of AC drive. The DDC method is implemented with no cascade control structure, as shown in the figure.
3.2. DDC of the PMSM Drive System
3.2.1. Plant Modeling: PMSM and Power Inverter
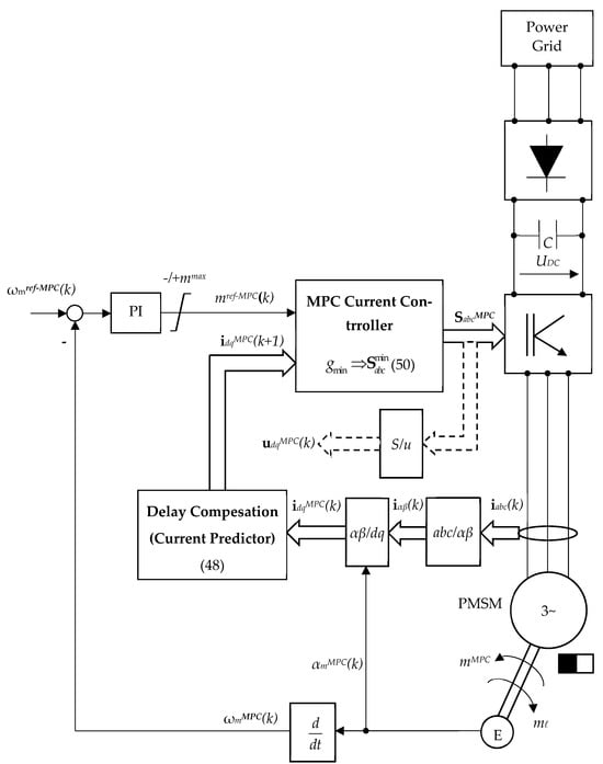
3.2.2. MPC with Finite Set
3.2.3. DDC Law of PMSM
3.2.4. Design of the DDC Database
- Storage grid of high-efficiency data. At this step, the main collected data set in the steady-state regime and knowledge, which corresponds to a high-efficiency value, is stored in , with:
- Database grid learning. The DB set is extended by a learning process, adding new points contained in the set:
- Application to data grid searching. It is checked if the added new points correspond to the real operation for open-loop applications.
- Closed-loop data grid control. Finally, the designed database grid is introduced in the desired closed-loop application in Figure 12.
3.2.5. DDC Matlab Implementation
MPC Algorithm
3.2.6. DDC Algorithm
- The PI_control, which calculates the actual torque set point mref using the measured past speed ωold and the speed set point ωref, and the tuning parameters Kp and Ki;
- The matlab RBF_Interpolant function, which interpolates the control surfaces (24) by the scattered support points contained in DB 1;
- The function Process_Model, which calculates the actual process variables (id, iq, m, ω,) and the powers p1, p2.
4. Illustrative Case Study of the DDC of a PMSM Drive System
4.1. Database Learning Design
4.2. Study on Rated Data Conditions
4.3. Study on Mismatch Conditions
4.4. Comparative Analysis of MPC and DDC Results
- -
- Settling time of the mechanical speed—tst;
- -
- Average efficiency on the entire simulation time—ηav;
- -
- Peak value of the a phase current in steady-state regime—Iapk;
- -
- THD of the a phase current computed in the steady-state regime for ten harmonics, including the fundamental of the frequency 55.66 Hz, for a common time domain pf MPC and DDC strategies, 4–5 s time.
5. Conclusions
Author Contributions
Funding
Data Availability Statement
Conflicts of Interest
Abbreviations
| AC | Alternative Current |
| AIMs | Artificial Intelligence Methods |
| DB | DataBase |
| DDC | Data Driven Control |
| DC | Direct-current |
| EDSs | Electric Drive Systems |
| EMF | ElectroMotive Force |
| HVAC | Hydro, Ventilation, Air Conditioning |
| MBC | Model Based Control |
| MFC | Model Free Control |
| MPC | Model Predictive Control |
| NN | Neural Network |
| PI | Proportional-Integral controller |
| LPF | Lower Pass Filter |
| PMSM | Permanent Magnet Synchronous Machine |
| RBF | Radial Basis Function |
| RL | Reinforcement Learning |
| THD | Total Harmonic Distorsion |
| QP | Quadratic Programming |
| WB | White-Box |
| Nomenclature | |
| (a, b, c) | Three phase coordinates |
| Set of the weights of the RBF-NN | |
| (α, β) | Fixed coordinates |
| αm | Electric position of the rotor |
| dMBC/MPC | Set of processing data obtained by MBC/MPC |
| doMBC/MPC | Steady-state set of processing data obtained by MBC/MPC |
| doe | Set of data obtained by grid learning |
| Cc, Cd | Continous/discrete cost |
| DB of knowledge and data of the process | |
| Δ | Unit-delay |
| e | Effort |
| ed/q | d/q electrical EMF components |
| RMS value of fundamental/ Harmonics components of the effort e | |
| EN | Set of envirovment data |
| E1, E2 | Input/output energy |
| emf | Motion ElectroMotive Force (EMF) |
| ε | Mean square error |
| η, ηav | Efficiency/Average efficiency |
| ξ | Discrete noise of the process state model |
| F | Operator of control law |
| f, g | Nonlinear function of the state representation |
| Fi | Explicit control law |
| fε | Implicit represenation of the process model |
| fu | Useful force |
| f1/2 | Components of surface grid representation |
| fm/p | Multi-valued map of torque/output power |
| f ′m/p | Single-valued map of torque/output power |
| ψPM | Permanent magnet flux |
| φi | Gaussian distribution |
| ΦMBC/MPC | Training data set given by MBC/MPC |
| g | Cost function |
| Gi | Implicit control law |
| g1, g2 | Generalized variables of trajectories |
| Γm/p | Set of speed and torque/output power and efficiency |
| Γ ′m/p | Set of speed and torque/output power and maximum efficiency |
| h/h | Output of the space state model |
| Hm | Horizon of command shaping searching |
| H/Hmax | Set of efficiency/maximum efficiency |
| HN | Set of design data |
| i | Index that corresponds to the combination of switching |
| (id, iq) | Direct and quadrature current components |
| Current phasor | |
| Iapk | Peak value of the a phase current |
| Input of the RBF-NN | |
| J | Motal inertia |
| kd/q | Corection factor of voltage |
| ke | Back motion EMF constant |
| Knowledge data | |
| l | Index of the number of hidden neurons of the RBF-NN |
| (Ld, Lq) | Direct and quadrature inductances |
| Lw | Filter length |
| LPF | Lower Pass Filter |
| λ | Generalized variables for transformation of PMSM model |
| Λm/p | Set of the cartesian product of speed and torque/output power |
| m, mℓ | Electromagnetic/load torque |
| M | Set of electromagnetic torque |
| Set of training data for RBF-NN | |
| Set of the aprioric knowledge | |
| μ | Center points of Gaussian function |
| μf | Friction factor of the load |
| N | Number of trajectory points |
| Nω/m/p/h | Number of points of the set of speed,torque,power,efficiency, respectively |
| Nobs | Number of observation points |
| Q | Flow rate |
| θ | Vector of parameters of the process state model |
| P | Pressure |
| P | Set of output power |
| p1, p2 | Input/output power |
| Set of electrical parameters | |
| Set of mechanical parameters | |
| Set of electromechanical parameters | |
| RN | Set of rated data |
| Rs | Stator resistance |
| RMS | Root mean square |
| Real/imaginary part of a given qunatity | |
| s | Flow |
| Sabc | Set of the switching states |
| σ | Basis width vector of the Gaussian distribution |
| t | Time |
| t0, t1 | Start/end time |
| Td | Desired final time |
| Ts | Sampling time period |
| T0 | Temperature od stator winding of PMSM |
| Direct/Indirect matrix of the Clarke transformation | |
| Direct/Indirect matrix of the Park transformation | |
| Power inverter matrix | |
| u | Control input |
| Any other control then the optimal one | |
| Control obtained via grid surface interpolation tehnique | |
| uabc | Three-phase voltages |
| udq | dq voltages |
| uftr | Filter input |
| uRBF | Output of the RBF-NN |
| u | Voltage phasor |
| UDC | DC bus voltage |
| (ud, uq) | Direct and quadrature voltage components |
| (udftr/nftr, uqftr/nftr) | Filtred/non-filtred commande of the power inverter |
| Linear velocity | |
| vd/q | Vectors of d/q components of power inverter |
| Command/optimal voltage of the DDC algorithm | |
| ωe, ωm | Electrical/mechanical angular speed |
| ωm,b | Based mechanical speed |
| ωm,max | Maximal mechanical speed |
| ωmN | Rated mechanical speed |
| x | State of the state model |
| y | Output of the state model |
| Output of the interpolation method | |
| yftr | Filter output |
| z | Generic variable used for the appling of the forward Euler forward method |
| zp | Stator magnetic poles pairs |
| w | Weights |
| Database operator of data processing | |
| Ω | Mecahical speed set |
References
- Sul, S.K. Control of Electric Machine Drive Systems; John Wiley and Sons: Hoboken, NJ, USA, 2011. [Google Scholar]
- Vas, P. Sensorless Vector and Direct Torque Control; Oxford University Press: New York, NY, USA, 1998. [Google Scholar]
- Rodriguez, J.; Cortes, P. Predictive Control of Power Converters and Electrical Drives; John Wiley & Sons, Ltd.: West Sussex, UK, 2012. [Google Scholar]
- Holtz, J. Advanced PWM and predictive control—An overview. IEEE Trans. Ind. Electron. 2016, 63, 3837–3844. [Google Scholar] [CrossRef]
- Casadei, D.; Serra, G.; Tani, K. Implementation of a direct control algorithm for induction motors based on discrete space vector modulation. IEEE Trans. Power Electron. 2000, 15, 769–777. [Google Scholar] [CrossRef]
- Vafaie, M.; Dehkordi, B.; Moallem, P.; Kiyoumarsi, A. Minimizing torque and flux ripples and improving dynamic response of PMSM using a voltage vector with optimal parameters. IEEE Trans. Ind. Electron. 2015, 63, 3876–3888. [Google Scholar] [CrossRef]
- Vazquez, S.; Leon, J.I.; Franquelo, L.G.; Rodriguez, J.; Young, H.A.; Marquez, A.; Zanchetta, P. Predictive control: A review of its applications in power electronics. IEEE Ind. Electron. Mag. 2014, 8, 16–31. [Google Scholar] [CrossRef]
- Vazquez, S.; Rodriguez, J.; Rivera, M.; Franquelo, L.G.; Norambuena, M. Model predictive control for power converters and drives: Advances and trends. IEEE Trans. Ind. Electron. 2017, 64, 935–947. [Google Scholar] [CrossRef]
- Rodríguez, J.; Kennel, R.M.; Espinoza, J.R.; Trincado, M.; Silva, C.A.; Rojas, C.A. High-performance control strategies for electrical drives: An experimental assessment. IEEE Trans. Ind. Electron. 2011, 59, 812–820. [Google Scholar] [CrossRef]
- Zhang, K.; Fan, M.; Yang, Y.; Zhu, Z.; Garcia, C.; Rodriguez, J. Field enhancing model predictive direct torque control of permanent magnet synchronous machine. IEEE Trans. Energy Convers. 2021, 36, 2924–2933. [Google Scholar] [CrossRef]
- Schwenzer, M.; Ay, M.; Bergs, T.; Abel, D. Review on model predictive control: An engineering perspective. Int. J. Adv. Manuf. Technol. 2021, 117, 1327–1349. [Google Scholar] [CrossRef]
- Richter, J.; Doppelbauer, M. Predictive trajectory control of permanent-magnet synchronous machines with nonlinear magnetic. IEEE Trans. Ind. Electron. 2016, 63, 3915–3924. [Google Scholar] [CrossRef]
- Djerioui, A.; Houari, A.; Machmoum, M.; Ghanes, M. Grey wolf optimizer-based predictive torque control for electric buses applications. Energies 2020, 13, 5013. [Google Scholar] [CrossRef]
- Siami, M.; Khaburi, D.A.; Abbaszadeh, A.; Rodriguez, J. Robustness improvement of predictive current control using prediction error correction for permanent-magnet synchronous machines. IEEE Trans. Ind. Electron. 2016, 63, 3458–3466. [Google Scholar] [CrossRef]
- Hu, F.; Luo, D.; Luo, C.; Long, Z.; Wu, G. Cascaded robust fault-tolerant predictive control for PMSM drives. Energies 2018, 11, 3087. [Google Scholar] [CrossRef]
- Singh, B.; Jain, P.; Mittal, A.P.; Gupta, J.R.P. Torque ripples minimization of DTC IPMSM drive for the EV propulsion system using a neural network. J. Power Electron. 2008, 8, 23–34. [Google Scholar]
- Wang, W.; Liu, Y.; Chen, H.; Gao, J.; Zhu, S.; Zhou, R. Improved Rotor Flux-Based SMO and RBF-PID Control Strategy for PMSM. Actuators 2023, 12, 327. [Google Scholar] [CrossRef]
- Qian, W.; Panda, S.K.; Xu, J.X. Torque ripple minimization in PM synchronous motors using iterative learning control. IEEE Trans. Power Electron. 2004, 19, 272–279. [Google Scholar] [CrossRef]
- Wang, G.; Xie, J.; Wang, S. Application of Artificial Intelligence in Power System Monitoring and Fault Diagnosis. Energies 2023, 16, 5477. [Google Scholar] [CrossRef]
- Schenke, M.; Kirchgassner, W.; Wallscheid, O. Controller design for electrical drives by deep reinforcement learning: A proof of concept. IEEE Trans. Ind. Informat. 2020, 16, 4650–4658. [Google Scholar] [CrossRef]
- Xie, H.; Wang, F.; Xun, Q.; He, Y.; Rodriguez, J.; Kennel, R. A low-complexity gradient descent solution with backtracking iteration approach for finite control set predictive current control. IEEE Trans. Ind. Electron. 2020, 69, 4522–4533. [Google Scholar] [CrossRef]
- Prag, K.; Woolway, M.; Celik, T. Toward data-driven optimal control: A systematic review of the landscape. IEEE Access 2022, 10, 32190–32212. [Google Scholar] [CrossRef]
- Hou, Z.S.; Wang, Z. From model-based control to data-driven control: Survey, classification and perspective. Inf. Sci. 2013, 235, 3–35. [Google Scholar] [CrossRef]
- Markovsky, I.; Dörfler, F. Behavioral systems theory in data-driven analysis, signal processing, and control. Annu. Rev. Control 2021, 52, 42–64. [Google Scholar] [CrossRef]
- Markovsky, I.; Dörfler, F. Data-driven dynamic interpolation and approximation. Automatica 2022, 135, 110008. [Google Scholar] [CrossRef]
- Hao, W. Data-Driven Control with Learned Dynamics. Ph.D. Thesis, Clemson University, Clemson, SC, USA, 2020. [Google Scholar]
- Dörfler, F.; Coulson, J.; Markovsky, I. Bridging direct and indirect data-driven control formulations via regularizations and relaxations. IEEE Trans. Autom. Control 2023, 68, 2023. [Google Scholar] [CrossRef]
- De Persis, C.; Tesi, P. Formulas for data-driven control: Stabilization, optimality, and robustness. IEEE Trans. Autom. Control 2020, 65, 909–924. [Google Scholar] [CrossRef]
- Kadali, R.; Huang, B.; Rossiter, A. A data driven subspace approach to predictive controller design. Control Eng. Pract. 2003, 11, 261–278. [Google Scholar] [CrossRef]
- Coulson, J.; Lygeros, J.; Dorfler, F. Distributionally robust chance constrained data-enabled predictive control. IEEE Trans. Autom. Control 2021, 67, 3289–3304. [Google Scholar] [CrossRef]
- Abolpour, R.; Khayatian, A.; Dehghani, M. Simultaneous model prediction and data-driven control with relaxed assumption on the model. ISA Trans. 2024, 145, 225–238. [Google Scholar] [CrossRef]
- Yang, L.; Ma, A.; Li, D.; Xi, Y. Input-mapping based data-driven model predictive control for unknown linear systems with bounded disturbances. Automatica 2023, 153, 111056. [Google Scholar] [CrossRef]
- Yang, L.; Li, D.; Ma, A.; Xi, Y.; Pu, Y.; Tan, Y. Input-mapping based data-driven model predictive control for unknown linear systems via online learning. Int. J. Robust Nonlinear Control. 2022; online ahead of pub. [Google Scholar] [CrossRef]
- Coulson, J.; Lygeros, J.; Dorfler, F. Data-Enabled Predictive Control: In the Shallows of the DeePC. In Proceedings of the 18th European Control Conference (ECC), Naples, Italy, 25–28 June 2019; pp. 307–312. [Google Scholar]
- Brosch, A.; Hanke, S.; Wallscheid, O.; Bocker, J. Data-driven recursive least squares estimation for model predictive current control of permanent magnet synchronous motors. IEEE Trans. Power Electron. 2021, 36, 2179–2190. [Google Scholar] [CrossRef]
- Carlet, P.G.; Favato, A.; Bolognani, S.; Dörfler, F. Data-driven continuous-set predictive current control for synchronous motor drives. IEEE Trans. Power Electron. 2022, 37, 6637–6646. [Google Scholar] [CrossRef]
- Carlet, P.G.; Favato, A.; Torchio, R.; Toso, F.; Bolognani, S.; Dörfler, F. Real-time feasibility of data-driven predictive control for synchronous motor drives. IEEE Trans. Power Electron. 2023, 38, 1672–1682. [Google Scholar] [CrossRef]
- Xie, Y.; Tang, X.; Song, B.; Zhou, X.; Guo, Y. Data-driven adaptive fractional order PI control for PMSM servo system with measurement noise and data dropouts. ISA Trans. 2018, 75, 172–188. [Google Scholar] [CrossRef] [PubMed]
- Guo, Q.; Zhang, C.; Li, L.; Zhang, J.; Wang, M. Maximum Efficiency per Torque Control of Permanent-Magnet Synchronous Machines. Appl. Sci. 2016, 6, 425. [Google Scholar] [CrossRef]
- Cavallaro, C.; Tommaso, A.O.; Miceli, R.; Raciti, A.; Galluzzo, G.R.; Trapanese, M. Efficiency Enhancement of Permanent-Magnet Synchronous Motor Drives by Online Loss Minimization Approaches. IEEE Trans. Ind. Electron. 2005, 52, 1153–1160. [Google Scholar] [CrossRef]
- Ni, R.G.; Xu, D.G.; Wang, G.L.; Ding, L.; Zhang, G.Q.; Qu, L.Z. Maximum Efficiency Per Ampere Control of Permanent-Magnet Synchronous Machines. IEEE Trans. Ind. Electron. 2015, 62, 2135–2143. [Google Scholar] [CrossRef]
- McCarthy, J.; Minsky, M.L.; Rochester, N.; Shannon, C.E. A Proposal for the Dartmouth Summer Research Project on Artificial Intelligence, August 31, 1955. AI Magazine, 15 December 2006. [Google Scholar]
- Liu, J. Radial Basis Function (RBF) Neural Network Control for Mechanical Systems: Design, Analysis and Matlab Simulation; Springer Science & Business Media: Berlin/Heidelberg, Germany, 2013. [Google Scholar]
- Kaminski, M. Nature-Inspired Algorithm Implemented for Stable Radial Basis Function Neural Controller of Electric Drive with Induction Motor. Energies 2020, 13, 6541. [Google Scholar] [CrossRef]
- Astrom, K.J.; Wittenmark, B. Computer-Controlled Systems: Theory and Design, 3rd ed.; Prentice Hall: Upper Saddle River, NJ, USA, 1997. [Google Scholar]








































| Index i | Sabc | Voltage Space Vector |
|---|---|---|
| 1 | ||
| 2 | ||
| 3 | ||
| 4 | ||
| 5 | ||
| 6 | ||
| 7 | ||
| 8 |
| Symbol | Description | Values |
|---|---|---|
| PN [W] | Rated power | 5500 |
| UN [V] | Rated voltage | 325 |
| mN [Nm] | Rated torque | 35 |
| IN [A] | Rated current | 10.6 |
| ωmN [rad/sec] | Rated speed | 157 |
| Rs [Ω] | Rotor resistance | 0.65 |
| Ld [H] | Direct axis inductance | 0.0082 |
| Lq [H] | Quadrature axis inductance | 0.0082 |
| J [kg∙m2] | Total inertia of the PMSM drive | 0.5 |
| zp | Stator pole pairs | 2 |
| Test | Control Strategy | tst [s] | ηav | Iapk [A] | THDa [%] |
|---|---|---|---|---|---|
| Rated conditions | MPC | 2.52 | 0.730 | 6.55 | 0.06 |
| DDC | 2.50 | 0.742 | 6.96 | 0.17 | |
| Mismach conditions | MPC | 3.68 | 0.612 | 7.86 | 0.08 |
| DDC | 2.28 | 0.722 | 6.44 | 0.13 |
Disclaimer/Publisher’s Note: The statements, opinions and data contained in all publications are solely those of the individual author(s) and contributor(s) and not of MDPI and/or the editor(s). MDPI and/or the editor(s) disclaim responsibility for any injury to people or property resulting from any ideas, methods, instructions or products referred to in the content. |
© 2024 by the authors. Licensee MDPI, Basel, Switzerland. This article is an open access article distributed under the terms and conditions of the Creative Commons Attribution (CC BY) license (https://creativecommons.org/licenses/by/4.0/).
Share and Cite
Costin, M.; Bivol, I. A New Paradigm in AC Drive Control: Data-Driven Control by Learning Through the High-Efficiency Data Set—Generalizations and Applications to a PMSM Drive Control System. Sensors 2024, 24, 7313. https://doi.org/10.3390/s24227313
Costin M, Bivol I. A New Paradigm in AC Drive Control: Data-Driven Control by Learning Through the High-Efficiency Data Set—Generalizations and Applications to a PMSM Drive Control System. Sensors. 2024; 24(22):7313. https://doi.org/10.3390/s24227313
Chicago/Turabian StyleCostin, Madalin, and Ion Bivol. 2024. "A New Paradigm in AC Drive Control: Data-Driven Control by Learning Through the High-Efficiency Data Set—Generalizations and Applications to a PMSM Drive Control System" Sensors 24, no. 22: 7313. https://doi.org/10.3390/s24227313
APA StyleCostin, M., & Bivol, I. (2024). A New Paradigm in AC Drive Control: Data-Driven Control by Learning Through the High-Efficiency Data Set—Generalizations and Applications to a PMSM Drive Control System. Sensors, 24(22), 7313. https://doi.org/10.3390/s24227313

