Delineation of Optimized Single and Multichannel Approximate DA-Based Filter Design Using Influential Single MAC Strategy for Trans-Multiplexer
Abstract
1. Introduction
2. Efficient Approximate Distributed Arithmetic FIR (ADA) Filter
2.1. Approximate Distributed Arithmetic Design
2.1.1. Approximate Radix-4 Multiplier
2.1.2. Approximate Radix-8 Multiplier
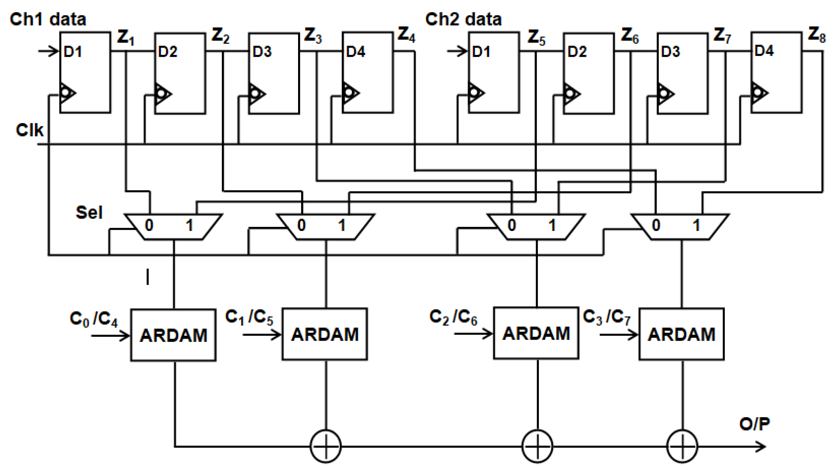
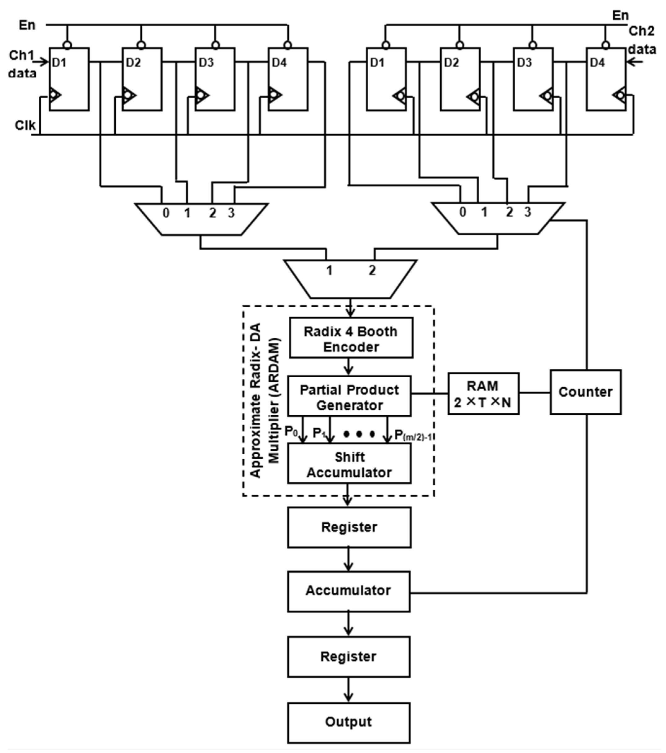
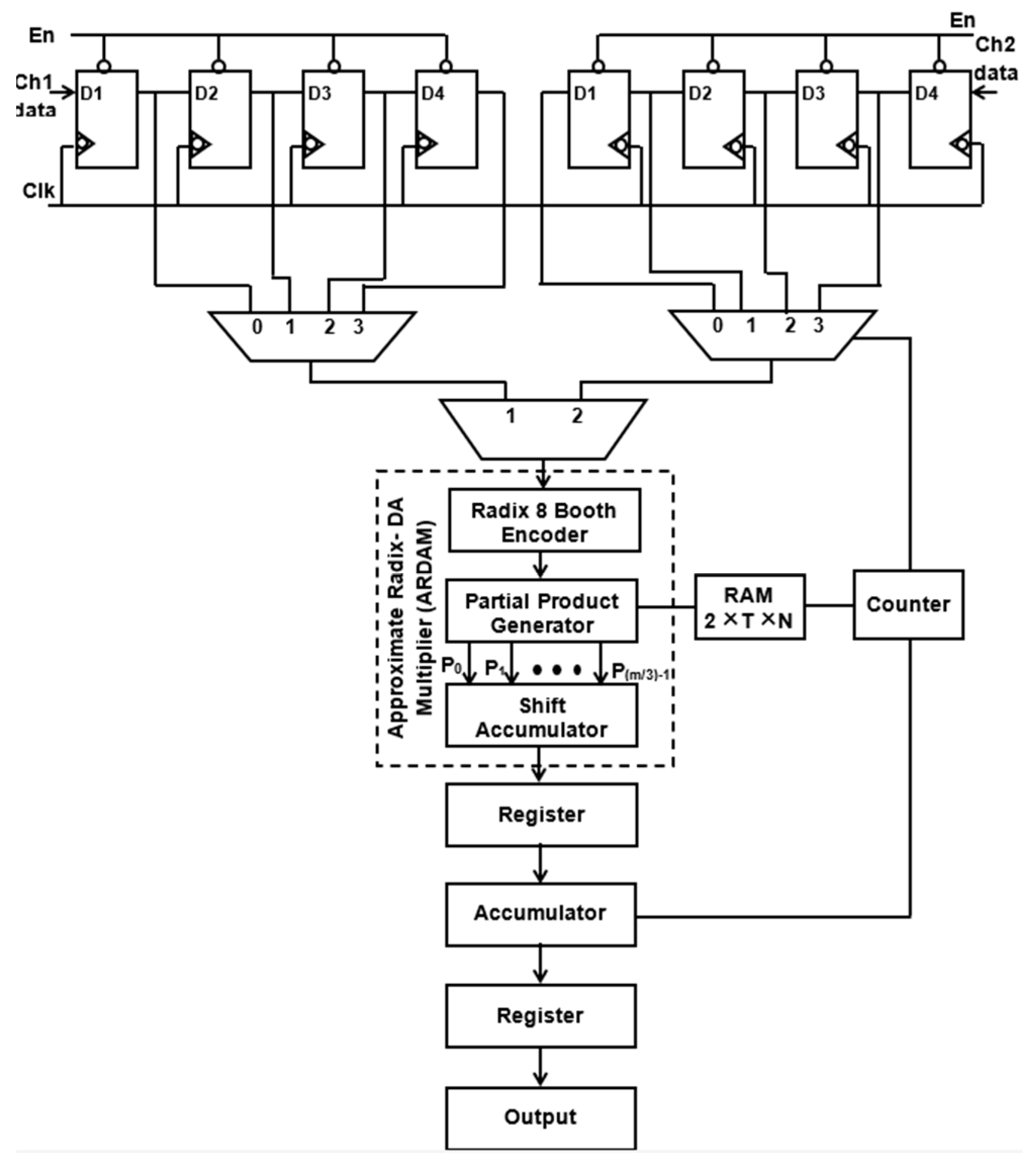
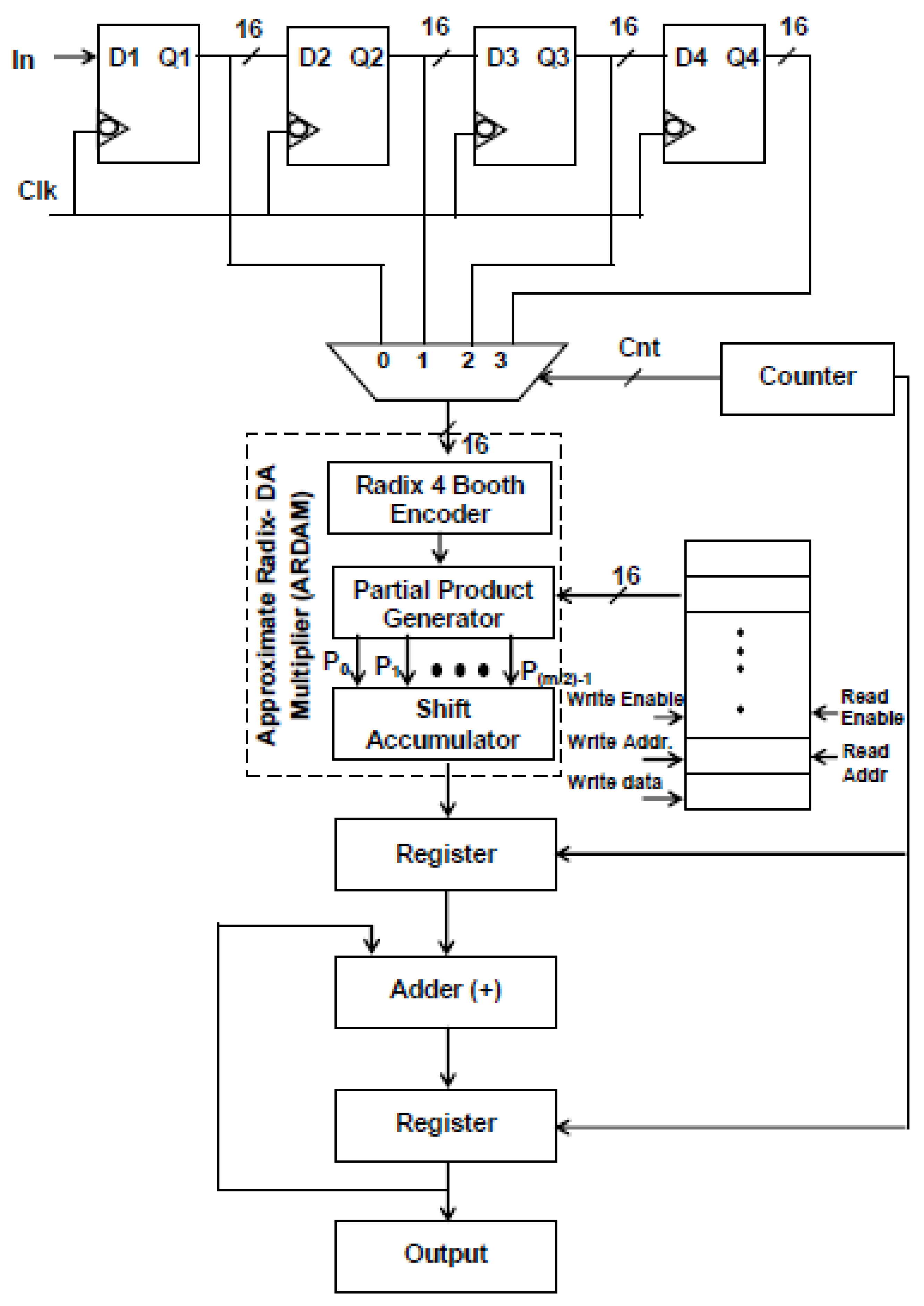
3. Propounded Multichannel Approximate DA Utilized Filter Design (M-ADAFD)
4. Results and Dissertation
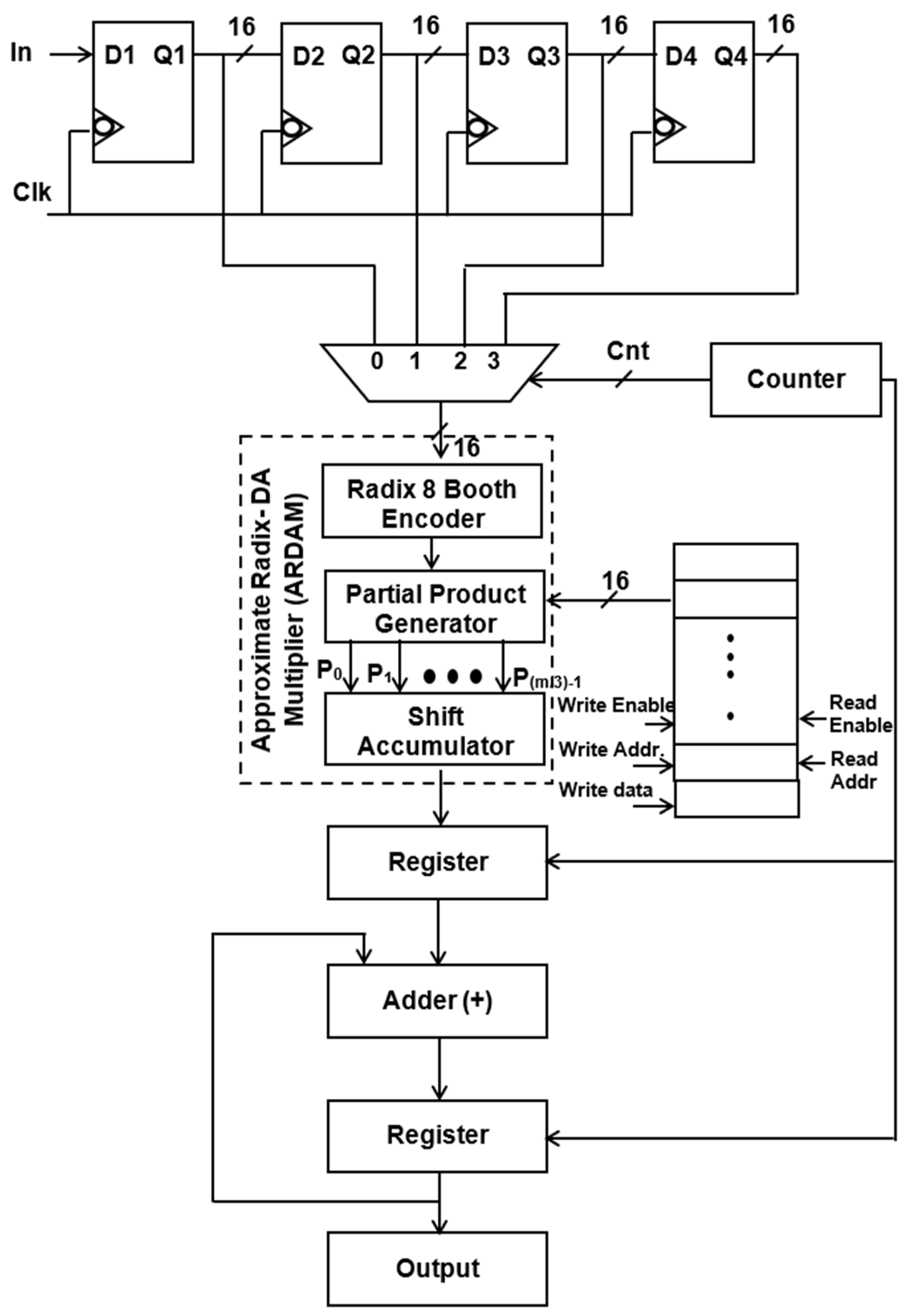
4.1. Proposed Single Channel Approximate DA Utilized Filter Design
4.2. Proposed Multichannel Approximate DA Utilized Filter Design
5. Conclusions
Author Contributions
Funding
Institutional Review Board Statement
Informed Consent Statement
Data Availability Statement
Conflicts of Interest
References
- Cruz-Roldán, A.F.; Blanco-Velasco, M. Joint Use of DFT Filter Banks and modulated Transmultiplexers for multicarrier Communications. Signal Process. 2011, 91, 1622–1635. [Google Scholar] [CrossRef]
- Martin, K.W. Small side-lobe filter design for multitone data-communication applications. IEEE Trans. Circuits Syst. II Anal. Digit. Signal Process. 1998, 45, 1155–1161. [Google Scholar] [CrossRef]
- Dostert, K.; Verlag, F. Powerline Communications; Prentice Hall: Hoboken, NJ, USA, 2001. [Google Scholar]
- Alluri, V.B.; Heath, J.R.; Lhamon, M. A New Multichannel, Coherent Amplitude Modulated, Time-Division Multiplexed, Software-Defined Radio Receiver Architecture, and Field-Programmable-Gate-Array Technology Implementation. IEEE Trans. Signal Process. 2010, 58, 5369–5384. [Google Scholar] [CrossRef]
- Liu, M.; Yan, C. The Multiplexed Structure of Multi-channel FIR Filter and its Resources Evaluation. In Proceedings of the 2012 International Conference on Computer Distributed Control and Intelligent Environmental Monitoring, Zhangjiajie, China, 5–6 March 2012. [Google Scholar]
- Chen, K.H.; Chiueh, T.D. A low power digit based Reconfigurable FIR Filter. IEEE Trans. Circuits Syst. 2006, 53, 617–621. [Google Scholar] [CrossRef]
- Meher, P.K. New Approach to Look Up Table Design and Memory-Based Realization of FIR Digital Filter. IEEE Trans. Circuits Syst. Irregul. Pap. 2010, 57, 592–603. [Google Scholar] [CrossRef]
- Mahesh, R.; Vinod, A.P. New Reconfigurable Architectures for implementing FIR Filter with low complexity. IEEE Trans. Comput. Aided Des. Integr. Circuits Syst. 2010, 29, 275–288. [Google Scholar] [CrossRef]
- Solla, T.; Vainio, O. Comparison of programmable FIR filter architectures for low power. In Proceedings of the 28th European Solid State Circuits Conference, Florence, Italy, 24–26 September 2002; pp. 759–762. [Google Scholar]
- Meher, P.K.; Chandrasekaran, S.; Amira, A. FPGA realization of FIR filters by efficient and flexible systolization using distributed arithmetic. IEEE Trans. Signal Process. 2008, 56, 3009–3017. [Google Scholar] [CrossRef]
- White, S.A. Applications of distributed arithmetic to digital signal processing: A tutorial review. IEEE ASSP Mag. 1989, 6, 4–19. [Google Scholar] [CrossRef]
- Meher, P.K. Hardware-efficient systolization of DA-based calculation of finite digital convolution. IEEE Trans. Circuits Syst. II 2006, 53, 707–711. [Google Scholar] [CrossRef]
- Vaithiyanathan, D.; James, B.P.; Mariammal, K. Comparative Study of Single MAC FIR Filter Architectures with Different Multiplication Techniques. In Proceedings of the 2023 Second International Conference on Electrical, Electronics, Information and Communication Technologies, Trichirappalli, India, 5–7 April 2023. [Google Scholar]
- Kumm, M.; Moller, K.; Zipf, P. Dynamically reconfigurable FIR filter architectures with fast reconfiguration. In Proceedings of the 2013 8th International Workshop on Reconfigurable and Communication-Centric Systems-on Chips (ReCoSoC), Darmstadt, Germany, 10–12 July 2013. [Google Scholar]
- Ozalevli, E.; Huang, W.; Hasler, P.E.; Anderson, D.V. A reconfigurable mixed-signal VLSI implementation of distributed arithmetic used for finite-impulse response filtering. IEEE Trans. Circuits Syst. I 2008, 55, 510–521. [Google Scholar] [CrossRef]
- Allred, D.J.; Yoo, H.; Krishnan, V.; Huang, W.; Anderson, D.V. LMS adaptive filters using distributed arithmetic for high throughput. IEEE Trans. Circuits Syst. I 2005, 52, 1327–1337. [Google Scholar] [CrossRef]
- Meher, P.K.; Park, S.Y. High-throughput pipelined realization of adaptive FIR filter based on distributed arithmetic. In Proceedings of the 2011 IEEE/IFIP 19th International Conference on VLSI, System-on-Chip, (VLSI-SOC’11), Hong Kong, China, 3–5 October 2011; pp. 428–433. [Google Scholar]
- Synposys, Inc. DesignWare Building Block IP User Guide, SP2, Mountain View, CA. Available online: http://www.synopsys.com/ (accessed on 21 June 2012).
- Xilinx, Inc. LogiCORE IP FIR Compiler v5.0, San Jose, CA. 2010. Available online: http://www.xilinx.com/ (accessed on 1 January 2010).
- Pari, B.; Mariammal, K.; Vaithiyanathan, D. A reconfigurable high-speed and low-complexity residue number system-based multiply-accumulate channel filter for software radio receivers. World J. Eng. 2024, 21, 16–30. [Google Scholar] [CrossRef]
- Park, S.Y.; Meher, P.K. Efficient FPGA and ASIC Realizations of a DA-based Reconfigurable FIR Digital Filter. IEEE Trans. Circuits Syst. II Express Briefs 2014, 61, 511–515. [Google Scholar] [CrossRef]
- Rashidi, B. High performance and low-power finite impulse response filter based on ring topology with modified retiming serial multiplier on FPGA. IET Signal Process. 2013, 7, 743–753. [Google Scholar] [CrossRef]
- Jiang, H.; Liu, C.; Liu, L.; Lombardi, F.; Han, J. A review, classification, and comparative evaluation of approximate arithmetic circuits. ACM J. Emerg. Technol. Comput. Syst. (JETC) 2017, 13, 60. [Google Scholar] [CrossRef]
- King, E.J.; Swartzlander, E.E. Data-dependent truncation scheme for parallel multipliers. In Proceedings of the Conference Record of the Thirty-First Asilomar Conference on Signals, Systems and Computers (Cat. 97CB36136), Pacific Grove, CA, USA, 2–5 November 1997; Volume 2, pp. 1178–1182. [Google Scholar] [CrossRef]
- Jiang, H.; Han, J.; Qiao, F.; Lombardi, F. Approximate Radix-8 Booth Multipliers for Low-Power and High-Performance Operation. IEEE Trans.Comput. 2016, 65, 2638–2644. [Google Scholar] [CrossRef]
- Zhang, L.; Rao, C.; Lou, X. Low-power reconfigurable FIR filter design based on common operation sharing. IEEE Tran. Circuits Syst. II Express Briefs 2023, 70, 3169–3173. [Google Scholar] [CrossRef]
- James, B.P.; Leung, M.-F.; Vaithiyanathan, D.; Mariammal, K. Optimal Realization of Distributed Arithmetic-Based MAC Adaptive FIR Filter Architecture Incorporating Radix-4 and Radix-8 Computation. Electronics 2024, 13, 3551. [Google Scholar] [CrossRef]
- Ezilarasan, M.R.; Pari, J.B.; Leung, M.-F. High Performance FPGA Implementation of Single MAC Adaptive Filter for Independent Component Analysis. J. Circuits Syst. Comput. 2023, 32, 2350294. [Google Scholar] [CrossRef]
- Ezilarasan, M.R.; Pari, J.B.; Leung, M.-F. Reconfigurable Architecture for Noise Cancellation in Acoustic Environment Using Single Multiply Accumulate Adaline Filter. Electronics 2024, 12, 810. [Google Scholar] [CrossRef]












| 0 | 0 | 0 | 0 |
| 0 | 0 | 1 | +1 |
| 0 | 1 | 0 | +1 |
| 0 | 1 | 1 | +2 |
| 1 | 0 | 0 | −2 |
| 1 | 0 | 1 | −1 |
| 1 | 1 | 0 | −1 |
| 1 | 1 | 1 | 0 |
| 0 | 0 | 0 | 0 | 0 |
| 0 | 0 | 0 | 1 | +1 |
| 0 | 0 | 1 | 0 | +1 |
| 0 | 0 | 1 | 1 | +2 |
| 0 | 1 | 0 | 0 | +2 |
| 0 | 1 | 0 | 1 | +3 |
| 0 | 1 | 1 | 0 | +3 |
| 0 | 1 | 1 | 1 | +4 |
| 1 | 0 | 0 | 0 | −4 |
| 1 | 0 | 0 | 1 | −3 |
| 1 | 0 | 1 | 0 | −3 |
| 1 | 0 | 1 | 1 | −2 |
| 1 | 1 | 0 | 0 | −2 |
| 1 | 1 | 0 | 1 | −1 |
| 1 | 1 | 1 | 0 | −1 |
| 1 | 1 | 1 | 1 | 0 |
| Performance Measures | ADA-Radix-4 | ADA-Radix-8 | ||||
|---|---|---|---|---|---|---|
| Device Used | XILINX VIRTEX-5 FPGA | |||||
| Filter Length | 4 | 8 | 16 | 4 | 8 | 16 |
| Number of Slices Registers (Available 58880) | 122 (0.20%) | 149 (0.25%) | 216 (0.36%) | 114 (0.21%) | 143 (0.27%) | 208 (0.38%) |
| Number of Slices LUTs (Available 58880) | 436 (2.17%) | 452 (21.77%) | 472 (0.22%) | 432 (0.74%) | 442 (0.75%) | 468 (0.81%) |
| Number of Fully- used Slices (NFUS)/Number of Used Slices (NUS) | 94 (8.5%) | 108 (7.3%) | 121 (7.82%) | 93 (20.8%) | 105 (21.1%) | 117 (20.7%) |
| Realization | MSP (ns) | MSF (MHz) | NOS | NSREG | NSLUT | Slice-Delay Product |
|---|---|---|---|---|---|---|
| Meher [11] | 4.17 | 239 | 275 | 688 | 833 | 1147 |
| Meher [17] | 17.35 | 57 | 178 | 412 | 267 | 4632 |
| Xilinx [19] | 3.96 | 252 | 368 | 970 | 806 | 1457 |
| Sang Yoon Park [21] [R = 2] * | 5.11 | 195 | 205 | 671 | 517 | 1048 |
| Sang Yoon Park [21] [R = 4] * | 10.91 | 91 | 126 | 397 | 277 | 1375 |
| Propounded S-ADAFD-Radix-4 | 2.575 | 388.34 | 121 | 216 | 472 | 311.575 |
| Proposed S-ADAFD-Radix-8 | 2.326 | 429 | 117 | 208 | 468 | 272.12 |
| Realization | MSP (ns) | MSF (MHz) | NOS | NSREG | NSLUT |
|---|---|---|---|---|---|
| Raghidi [22] | 2.713 | 302.253 | 287 | 196 | 379 |
| Investigated S-ADAFD-Radix-4 | 2.67 | 374.53 | 285 | 180 | 349 |
| Proposed S-ADAFD-Radix-8 | 2.55 | 392 | 297 | 184 | 361 |
| Proposed S-ADAFD | Complexity | ||
|---|---|---|---|
| Taps | 4 | 8 | 16 |
| Multiply Element Required | 1 | 1 | 1 |
| Registers Required | 9 | 13 | 21 |
| Adders Required | 1 | 1 | 1 |
| Parameters | Zhang L, Rao C, Lou X [26] | Proposed MAC-Radix-8 | Proposed MAC- Radix-4 |
|---|---|---|---|
| Number of Slices | 1014 | 212 | 224 |
| Delay (ns) | 1.81 | 1.61 | 1.73 |
| Slice LUT | 936 | 848 | 856 |
| Specification | Traditional Structure | Propounded M-ADAFD | ||||||
|---|---|---|---|---|---|---|---|---|
| Acc-Radix-8 | Acc-Radix-4 | Acc-Radix-8 | Acc-Radix-4 | |||||
| Used Channel | 2 | 4 | 2 | 4 | 2 | 4 | 2 | 4 |
| Slices Registers Available 58880 | 491 | 745 | 386 | 641 | 356 | 574 | 578 | 581 |
| Slice LUTs Available 58880 | 2100 | 2161 | 3501 | 3532 | 515 | 658 | 575 | 676 |
| NFUS /NUS | 340 (15.5%) | 516 (21.8%) | 224 (5.8%) | 315 (7.3%) | 161 (21.1%) | 174 (21.1%) | 173 (10.46%) | 187 (12.15%) |
| Number of Slices Used Available 58880 | 2250 | 2317 | 3700 | 3870 | 727 | 520 | 578 | 581 |
| MSP (ns) | 0.63 | 1.2 | 0.857 | 1.4 | 2.523 | 2.84 | 2.65 | 2.91 |
| MSF (MHz) | 1587 | 833,33 | 1166 | 714.28 | 396.35 | 352.11 | 377.35 | 343.64 |
| Design | MSP (ns) | MSF (MHz) | NOS | Slice-Delay Product |
|---|---|---|---|---|
| Xilinx Inc., (2005) | 2.202 | 454 | 216 | 476 |
| M-ADAFD-radix-4 | 2.10 | 476 | 157 | 329.70 |
| M-ADAFD-radix-8 | 2.05 | 487.80 | 169 | 346.45 |
| Parameter | Existing Design | Proposed Design | ||||||
|---|---|---|---|---|---|---|---|---|
| Acc-Radix-4 | Acc-Radix-8 | Acc-Radix-4 | Acc-Radix-8 | |||||
| No. of Channels | 2 | 4 | 2 | 4 | 2 | 4 | 2 | 4 |
| Area (mm2) | 0.101 | 0.113 | 0.141 | 0.16 | 0.063 | 0.083 | 0.093 | 0.098 |
Disclaimer/Publisher’s Note: The statements, opinions and data contained in all publications are solely those of the individual author(s) and contributor(s) and not of MDPI and/or the editor(s). MDPI and/or the editor(s) disclaim responsibility for any injury to people or property resulting from any ideas, methods, instructions or products referred to in the content. |
© 2024 by the authors. Licensee MDPI, Basel, Switzerland. This article is an open access article distributed under the terms and conditions of the Creative Commons Attribution (CC BY) license (https://creativecommons.org/licenses/by/4.0/).
Share and Cite
James, B.P.; Man-Fai, L.; Karuthapandian, M.; Dhandapani, V. Delineation of Optimized Single and Multichannel Approximate DA-Based Filter Design Using Influential Single MAC Strategy for Trans-Multiplexer. Sensors 2024, 24, 7149. https://doi.org/10.3390/s24227149
James BP, Man-Fai L, Karuthapandian M, Dhandapani V. Delineation of Optimized Single and Multichannel Approximate DA-Based Filter Design Using Influential Single MAC Strategy for Trans-Multiplexer. Sensors. 2024; 24(22):7149. https://doi.org/10.3390/s24227149
Chicago/Turabian StyleJames, Britto Pari, Leung Man-Fai, Mariammal Karuthapandian, and Vaithiyanathan Dhandapani. 2024. "Delineation of Optimized Single and Multichannel Approximate DA-Based Filter Design Using Influential Single MAC Strategy for Trans-Multiplexer" Sensors 24, no. 22: 7149. https://doi.org/10.3390/s24227149
APA StyleJames, B. P., Man-Fai, L., Karuthapandian, M., & Dhandapani, V. (2024). Delineation of Optimized Single and Multichannel Approximate DA-Based Filter Design Using Influential Single MAC Strategy for Trans-Multiplexer. Sensors, 24(22), 7149. https://doi.org/10.3390/s24227149

