Lane Attribute Classification Based on Fine-Grained Description
Abstract
1. Introduction
2. Related Work
2.1. Lane Position Information Detection
2.2. Lane Attribute Information Detection
3. Methods
3.1. Lane Line Instance Detection Method
3.1.1. Positive Sample Grid Detection of Lane Lines
3.1.2. Row–Column Guide Matrix Design
3.1.3. Characteristic Distillation Module Design
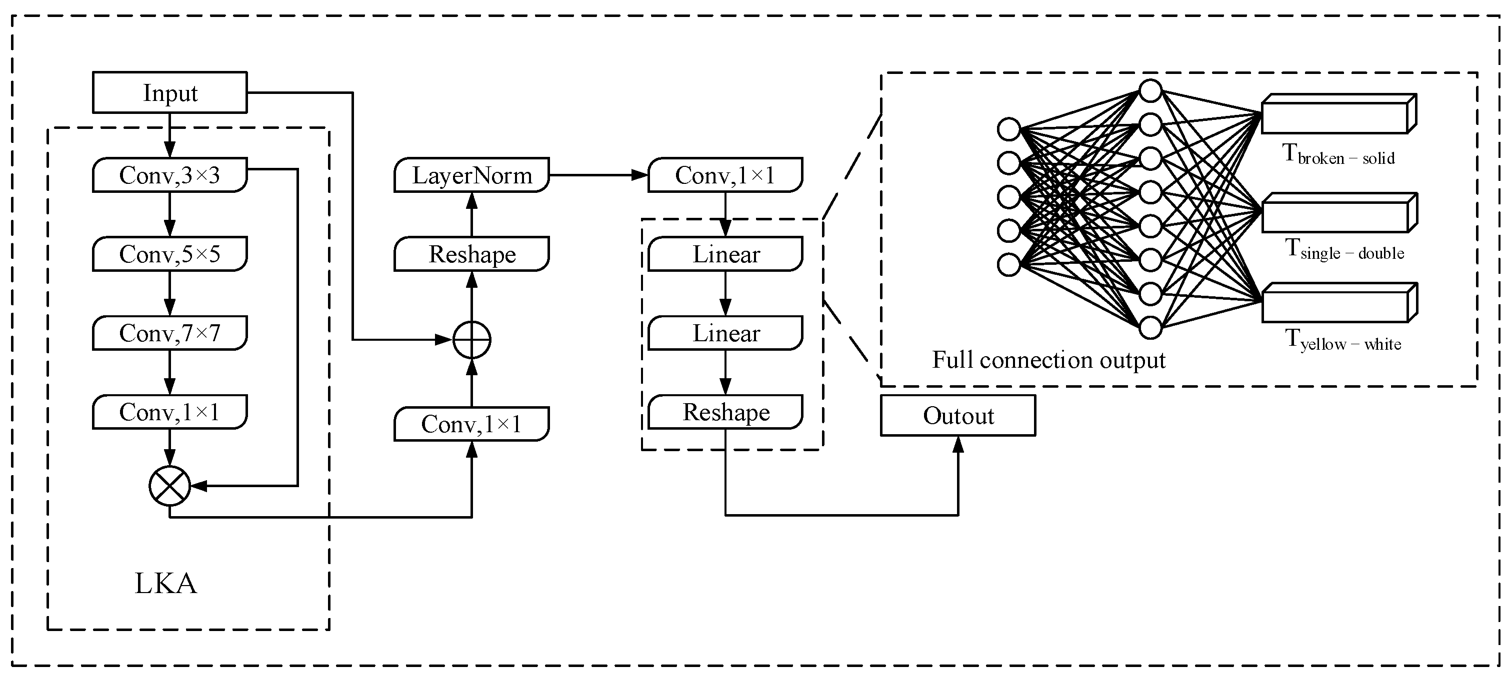
3.2. Fine-Grained Attribute Detection Method
3.2.1. Lane Line Fine-Grained Attribute Descriptor
3.2.2. Fine-Grained Attribute Detection Module
3.3. Loss Function
4. Experiments
4.1. Construction of Fine-Grained Attribute Data Set of Lane Lines
4.1.1. Lane Line Data Set
4.1.2. Annotation of Lane Instance Information
4.1.3. Lane Attribute Completion in Complex Environment
| Algorithm 1: Lane line attribute inference in areas without visual cues |
| Input: D, Q, P, where D is the visual attribute label matrix; Q is the distribution matrix of lane instances; P is a complete fine-grained attribute matrix. |
| Initialization: Matrix Q is initialized according to the lane instance annotation information in Section 4.1.2. Matrix D is initialized according to the original annotation information of ApolloScape, and the missing region is set to 0; P = D; h is equal to 2. |
| 1 Repeat |
| 2 if Dh = 0 and Qh > 0 then 3 if Dh−1 > 0 then 4 Ph = Dh−1 /* Inferring nonvisual region attribute values from the bottom up */ |
| 5 else 6 Ph = 1 /* Judged as special areas such as curbs */ 7 end if 8 end if |
| 9 h = h + 1 /* Upward iterative computation */ |
| 10 Until h = H 11 h = H − 1 12 Repeat 13 if Ph = 1 and Ph+1 ≠ 0 then 14 Ph = Ph+1 /* Reasoning from top to bottom The region cannot be determined in Step 6 */ 15 end if 16 h = h − 1 /* Downward iterative computation */ 17 Until h = 0 |
| Output: P |
4.2. Evaluation Index and Experimental Setting
4.2.1. Lane Detection Evaluation Index
4.2.2. Specific Parameters
4.3. Comparison Experiment of Lane Position Information Detection
4.4. Fine-Grained Attribute Detection Experiment
4.5. Comparison Experiment of Fine-Grained Attribute Detection
5. Conclusions
Author Contributions
Funding
Institutional Review Board Statement
Informed Consent Statement
Data Availability Statement
Conflicts of Interest
References
- Aly, M. Real Time Detection of Lane Markers in Urban Streets. In Proceedings of the 2008 IEEE Intelligent Vehicles Symposium, Eindhoven, The Netherlands, 4–6 June 2008; IEEE: Piscataway, NJ, USA, 2008; pp. 7–12. [Google Scholar]
- Qiao, D.; Wu, X.; Wang, T. A Lane Recognition Based on Line-CNN Network. In Proceedings of the 2020 Asia-Pacific Conference on Image Processing, Electronics and Computers (IPEC), Dalian, China, 14–16 April 2020; IEEE: Piscataway, NJ, USA, 2020; pp. 96–100. [Google Scholar]
- Pizzati, F.; Allodi, M.; Barrera, A.; García, F. Lane Detection and Classification Using Cascaded CNNs. In Proceedings of the Computer Aided Systems Theory–EUROCAST 2019: 17th International Conference, Las Palmas de Gran Canaria, Spain, 17–22 February 2019; Revised Selected Papers, Part II 17. Springer: Berlin/Heidelberg, Germany, 2020; pp. 95–103. [Google Scholar]
- Li, J.; Jiang, F.; Yang, J.; Kong, B.; Gogate, M.; Dashtipour, K.; Hussain, A. Lane-DeepLab: Lane Semantic Segmentation in Automatic Driving Scenarios for High-Definition Maps. Neurocomputing 2021, 465, 15–25. [Google Scholar] [CrossRef]
- Hou, Y.; Ma, Z.; Liu, C.; Hui, T.-W.; Loy, C.C. Inter-Region Affinity Distillation for Road Marking Segmentation. In Proceedings of the IEEE/CVF Conference on Computer Vision and Pattern Recognition, Seattle, WA, USA, 13–19 June 2020; pp. 12486–12495. [Google Scholar]
- Pan, X.; Shi, J.; Luo, P.; Wang, X.; Tang, X. Spatial as Deep: Spatial Cnn for Traffic Scene Understanding. In Proceedings of the AAAI Conference on Artificial Intelligence, New Orleans, LA, USA, 2–7 February 2018; Volume 32, pp. 7276–7283. [Google Scholar]
- Neven, D.; De Brabandere, B.; Georgoulis, S.; Proesmans, M.; Van Gool, L. Towards End-to-End Lane Detection: An Instance Segmentation Approach. In Proceedings of the 2018 IEEE Intelligent Vehicles Symposium (IV), Changshu, China, 26–30 June 2018; IEEE: Piscataway, NJ, USA, 2018; pp. 286–291. [Google Scholar]
- Zhang, Y.; Zhu, L.; Feng, W.; Fu, H.; Wang, M.; Li, Q.; Li, C.; Wang, S. Vil-100: A New Dataset and a Baseline Model for Video Instance Lane Detection. In Proceedings of the IEEE/CVF International Conference on Computer Vision, Montreal, QC, Canada, 10–17 October 2021; pp. 15681–15690. [Google Scholar]
- Lee, M.; Lee, J.; Lee, D.; Kim, W.; Hwang, S.; Lee, S. Robust Lane Detection via Expanded Self Attention. In Proceedings of the IEEE/CVF Winter Conference on Applications of Computer Vision, Waikoloa, HI, USA, 3–8 January 2022; pp. 1949–1958. [Google Scholar]
- Li, X.; Li, J.; Hu, X.; Yang, J. Line-Cnn: End-to-End Traffic Line Detection with Line Proposal Unit. IEEE Trans. Intell. Transp. Syst. 2019, 21, 248–258. [Google Scholar] [CrossRef]
- Tabelini, L.; Berriel, R.; Paixao, T.M.; Badue, C.; De Souza, A.F.; Oliveira-Santos, T. Keep Your Eyes on the Lane: Real-Time Attention-Guided Lane Detection. In Proceedings of the IEEE/CVF Conference on Computer Vision and Pattern Recognition, Nashville, TN, USA, 20–25 June 2021; pp. 294–302. [Google Scholar]
- Redmon, J.; Divvala, S.; Girshick, R.; Farhadi, A. You Only Look Once: Unified, Real-Time Object Detection. In Proceedings of the IEEE Conference on Computer Vision and Pattern Recognition, Las Vegas, NV, USA, 27–30 June 2016; pp. 779–788. [Google Scholar]
- Chen, Z.; Liu, Q.; Lian, C. Pointlanenet: Efficient End-to-End Cnns for Accurate Real-Time Lane Detection. In Proceedings of the 2019 IEEE Intelligent Vehicles Symposium (IV), Paris, France, 9–12 June 2019; IEEE: Piscataway, NJ, USA, 2019; pp. 2563–2568. [Google Scholar]
- Xu, H.; Wang, S.; Cai, X.; Zhang, W.; Liang, X.; Li, Z. Curvelane-Nas: Unifying Lane-Sensitive Architecture Search and Adaptive Point Blending. In Proceedings of the Computer Vision–ECCV 2020: 16th European Conference, Glasgow, UK, 23–28 August 2020; Proceedings, Part XV 16. Springer: Berlin/Heidelberg, Germany, 2020; pp. 689–704. [Google Scholar]
- Zheng, T.; Huang, Y.; Liu, Y.; Tang, W.; Yang, Z.; Cai, D.; He, X. Clrnet: Cross Layer Refinement Network for Lane Detection. In Proceedings of the IEEE/CVF Conference on Computer Vision and Pattern Recognition, New Orleans, LA, USA, 18–24 June 2022; pp. 898–907. [Google Scholar]
- Van Gansbeke, W.; De Brabandere, B.; Neven, D.; Proesmans, M.; Van Gool, L. End-to-End Lane Detection through Differentiable Least-Squares Fitting. In Proceedings of the IEEE/CVF International Conference on Computer Vision Workshops, Seoul, Republic of Korea, 27–28 October 2019; pp. 905–913. [Google Scholar]
- Tabelini, L.; Berriel, R.; Paixao, T.M.; Badue, C.; De Souza, A.F.; Oliveira-Santos, T. Polylanenet: Lane Estimation via Deep Polynomial Regression. In Proceedings of the 2020 25th International Conference on Pattern Recognition (ICPR), Milan, Italy, 10–15 January 2021; IEEE: Piscataway, NJ, USA, 2021; pp. 6150–6156. [Google Scholar]
- Liu, R.; Yuan, Z.; Liu, T.; Xiong, Z. End-to-End Lane Shape Prediction with Transformers. In Proceedings of the IEEE/CVF winter Conference on Applications of Computer Vision, Waikoloa, HI, USA, 3–8 January 2021; pp. 3694–3702. [Google Scholar]
- Feng, Z.; Guo, S.; Tan, X.; Xu, K.; Wang, M.; Ma, L. Rethinking Efficient Lane Detection via Curve Modeling. In Proceedings of the IEEE/CVF Conference on Computer Vision and Pattern Recognition, New Orleans, LA, USA, 18–24 June 2022; pp. 17041–17049. [Google Scholar]
- Ko, Y.; Lee, Y.; Azam, S.; Munir, F.; Jeon, M.; Pedrycz, W. Key Points Estimation and Point Instance Segmentation Approach for Lane Detection. IEEE Trans. Intell. Transp. Syst. 2021, 23, 8949–8958. [Google Scholar] [CrossRef]
- Qu, Z.; Jin, H.; Zhou, Y.; Yang, Z.; Zhang, W. Focus on Local: Detecting Lane Marker from Bottom up via Key Point. In Proceedings of the IEEE/CVF Conference on Computer Vision and Pattern Recognition, Nashville, TN, USA, 20–25 June 2021; pp. 14117–14125. [Google Scholar]
- Wang, J.; Ma, Y.; Huang, S.; Hui, T.; Wang, F.; Qian, C.; Zhang, T. A Keypoint-Based Global Association Network for Lane Detection. In Proceedings of the IEEE/CVF Conference on Computer Vision and Pattern Recognition, New Orleans, LA, USA, 18–24 June 2022; pp. 1382–1391. [Google Scholar]
- Qin, Z.; Wang, H.; Li, X. Ultra Fast Structure-Aware Deep Lane Detection. In Proceedings of the Computer Vision–ECCV 2020: 16th European Conference, Glasgow, UK, 23–28 August 2020; Proceedings, Part XXIV 16. Springer: Berlin/Heidelberg, Germany, 2020; pp. 276–291. [Google Scholar]
- Qin, Z.; Zhang, P.; Li, X. Ultra Fast Deep Lane Detection with Hybrid Anchor Driven Ordinal Classification. IEEE Trans. Pattern Anal. Mach. Intell. 2022, 46, 2555–2568. [Google Scholar] [CrossRef] [PubMed]
- Yoo, S.; Lee, H.S.; Myeong, H.; Yun, S.; Park, H.; Cho, J.; Kim, D.H. End-to-End Lane Marker Detection via Row-Wise Classification. In Proceedings of the IEEE/CVF Conference on Computer Vision and Pattern Recognition Workshops, Seattle, WA, USA, 14–19 June 2020; pp. 4335–4343. [Google Scholar]
- Jayasinghe, O.; Anhettigama, D.; Hemachandra, S.; Kariyawasam, S.; Rodrigo, R.; Jayasekara, P. SwiftLane: Towards Fast and Efficient Lane Detection. In Proceedings of the 2021 20th IEEE International Conference on Machine Learning and Applications (ICMLA), Pasadena, CA, USA, 13–16 December 2021; IEEE: Piscataway, NJ, USA, 2021; pp. 859–864. [Google Scholar]
- Collado, J.M.; Hilario, C.; de la Escalera, A.; Armingol, J.M. Adaptative Road Lanes Detection and Classification. In Proceedings of the International Conference on Advanced Concepts for Intelligent Vision Systems, Antwerp, Belgium, 18–21 September 2006; Springer: Berlin/Heidelberg, Germany, 2006; pp. 1151–1162. [Google Scholar]
- Schubert, R.; Schulze, K.; Wanielik, G. Situation Assessment for Automatic Lane-Change Maneuvers. IEEE Trans. Intell. Transp. Syst. 2010, 11, 607–616. [Google Scholar] [CrossRef]
- Lee, S.; Kim, J.; Shin Yoon, J.; Shin, S.; Bailo, O.; Kim, N.; Lee, T.-H.; Seok Hong, H.; Han, S.-H.; So Kweon, I. Vpgnet: Vanishing Point Guided Network for Lane and Road Marking Detection and Recognition. In Proceedings of the IEEE International Conference on Computer Vision, Venice, Italy, 22–29 October 2017; pp. 1947–1955. [Google Scholar]
- Hinton, G.; Vinyals, O.; Dean, J. Distilling the Knowledge in a Neural Network. Comput. Sci. 2015, 14, 38–39. [Google Scholar]
- Guo, M.-H.; Lu, C.-Z.; Liu, Z.-N.; Cheng, M.-M.; Hu, S.-M. Visual Attention Network. Comput. Vis. Media 2023, 9, 733–752. [Google Scholar] [CrossRef]
- Yang, Z.; Li, Z.; Jiang, X.; Gong, Y.; Yuan, Z.; Zhao, D.; Yuan, C. Focal and Global Knowledge Distillation for Detectors. In Proceedings of the IEEE/CVF Conference on Computer Vision and Pattern Recognition, New Orleans, LA, USA, 18–24 June 2022; pp. 4643–4652. [Google Scholar]
- Wei, Y.; Hu, H.; Xie, Z.; Zhang, Z.; Cao, Y.; Bao, J.; Chen, D.; Guo, B. Contrastive Learning Rivals Masked Image Modeling in Fine-Tuning via Feature Distillation. arXiv 2020, arXiv:2205.14141. [Google Scholar]
- Huang, X.; Cheng, X.; Geng, Q.; Cao, B.; Zhou, D.; Wang, P.; Lin, Y.; Yang, R. The Apolloscape Dataset for Autonomous Driving. In Proceedings of the IEEE Conference on Computer Vision and Pattern Recognition Workshops, Salt Lake City, UT, USA, 18–22 June 2018; pp. 954–960. [Google Scholar]
- Zheng, T.; Fang, H.; Zhang, Y.; Tang, W.; Yang, Z.; Liu, H.; Cai, D. Resa: Recurrent Feature-Shift Aggregator for Lane Detection. In Proceedings of the AAAI Conference on Artificial Intelligence, Vancouver, BC, Canada, 2–9 February 2021; Volume 35, pp. 3547–3554. [Google Scholar]
- Zhou, K.; Zhou, R. End-to-End Lane Detection with One-to-Several Transformer. arXiv 2023, arXiv:2305.00675. [Google Scholar]














| Method | Instance | Attribute Classification | Fine-Grained Attribute |
|---|---|---|---|
| Lane-cascaded [2] | √ | √ | — |
| Lane classification [3] | √ | √ | — |
| Lane DeepLab [4] | — | — | √ |
| Lane-FGA | √ | √ | √ |
| Data Set | Lane Instance Annotation | Fine-Grained Attribute Annotation |
|---|---|---|
| CULane | √ | — |
| TuSimple | √ | — |
| ApolloScape | — | * √ |
| Training | Test | Validation | Resolution | Lines | |
|---|---|---|---|---|---|
| CULane | 88,880 | 34,680 | 9675 | 1640 × 590 | ≤4 |
| ApolloScape-Precise | 4160 | 520 | 584 | 3384 × 2710 | ≤4 |
| ApolloScape-Large | 39,779 | 11,365 | 5684 | 3384 × 2710 | ≤4 |
| Type | Method | Normal | Crowded | Dazzle | Shadow | Noline | Arrow | Curve | Crossroad | Night | Total |
|---|---|---|---|---|---|---|---|---|---|---|---|
| Segmentation-based | RESA(ResNet-34) [35] | 91.9 | 72.4 | 66.5 | 72.0 | 46.3 | 88.1 | 68.6 | 1896 | 69.8 | 74.5 |
| RESA(ResNet-50) [35] | 92.1 | 73.1 | 69.2 | 72.8 | 47.7 | 88.3 | 70.3 | 1503 | 69.9 | 75.3 | |
| Curve-based | Bezier(ResNet-18) [19] | 90.2 | 71.6 | 62.5 | 70.9 | 45.3 | 84.1 | 59.0 | 996 | 68.7 | 73.7 |
| Bezier(ResNet-34) [19] | 91.6 | 73.2 | 69.2 | 76.7 | 48.1 | 87.2 | 62.5 | 888 | 69.9 | 75.6 | |
| Point detection-based | CurveLanes(M) [14] | 90.2 | 70.5 | 65.9 | 69.3 | 48.8 | 85.7 | 67.5 | 2359 | 68.2 | 73.5 |
| CurveLanes(L) [14] | 90.7 | 72.3 | 67.7 | 70.1 | 49.4 | 85.8 | 68.4 | 1746 | 68.9 | 74.8 | |
| Line anchor-based | LaneATT(ResNet-18) [11] | 91.1 | 72.9 | 65.7 | 70.9 | 48.3 | 85.4 | 63.3 | 1170 | 68.9 | 75.1 |
| LaneATT(ResNet-34) [11] | 92.1 | 75.0 | 66.4 | 78.1 | 49.3 | 88.3 | 67.7 | 1330 | 70.7 | 76.6 | |
| O2SFr(ResNet-18) [36] | 91.9 | 73.9 | 70.4 | 74.8 | 49.8 | 86.1 | 68.7 | 2361 | 70.7 | 76.1 | |
| O2SFr(ResNet-34) [36] | 92.5 | 75.3 | 70.9 | 77.7 | 51.0 | 87.6 | 68.1 | 2749 | 72.9 | 77 | |
| Row classification- based | UFLDv2(ResNet-18) [24] | 91.8 | 73.3 | 65.3 | 75.1 | 49.2 | 87.9 | 68.5 | 2075 | 70.7 | 75 |
| UFLDv2(ResNet-34) [24] | 92.5 | 74.8 | 65.5 | 75.5 | 46.8 | 88.8 | 70.1 | 1910 | 70.8 | 76 | |
| Lane-FGA(ResNet-18) | 92.8 | 76.0 | 71.8 | 77.0 | 51.2 | 87.9 | 73.0 | 1622 | 73.3 | 77.7 | |
| Lane-FGA(ResNet-18) * | 92.4 | 76.5 | 71.8 | 78.8 | 51.6 | 88.3 | 72.1 | 1639 | 73.7 | 77.9 | |
| Lane-FGA(ResNet-34) * | 93.1 | 76.9 | 73.0 | 77.2 | 51.7 | 88.9 | 72.2 | 1617 | 74.4 | 78.3 |
| Attribute | Index | Lane-FGA(ResNet-18) | Lane-FGA(ResNet-34) |
|---|---|---|---|
| Dotted–solid | Accdotted | 89.46 | 90.37 |
| Accsolid | 89.01 | 89.26 | |
| Accmean | 89.19 | 89.71 | |
| Yellow-white | Accyellow | 93.08 | 93.37 |
| Accwhite | 92.62 | 93.12 | |
| Accmean | 92.69 | 93.16 | |
| single−double | Accsingle | 93.43 | 93.95 |
| Accdouble | 85.66 | 88.51 | |
| Accmean | 93.19 | 93.78 |
Disclaimer/Publisher’s Note: The statements, opinions and data contained in all publications are solely those of the individual author(s) and contributor(s) and not of MDPI and/or the editor(s). MDPI and/or the editor(s) disclaim responsibility for any injury to people or property resulting from any ideas, methods, instructions or products referred to in the content. |
© 2024 by the authors. Licensee MDPI, Basel, Switzerland. This article is an open access article distributed under the terms and conditions of the Creative Commons Attribution (CC BY) license (https://creativecommons.org/licenses/by/4.0/).
Share and Cite
He, Z.; Gong, P.; Ye, H.; Gan, Z. Lane Attribute Classification Based on Fine-Grained Description. Sensors 2024, 24, 4800. https://doi.org/10.3390/s24154800
He Z, Gong P, Ye H, Gan Z. Lane Attribute Classification Based on Fine-Grained Description. Sensors. 2024; 24(15):4800. https://doi.org/10.3390/s24154800
Chicago/Turabian StyleHe, Zhonghe, Pengfei Gong, Hongcheng Ye, and Zizheng Gan. 2024. "Lane Attribute Classification Based on Fine-Grained Description" Sensors 24, no. 15: 4800. https://doi.org/10.3390/s24154800
APA StyleHe, Z., Gong, P., Ye, H., & Gan, Z. (2024). Lane Attribute Classification Based on Fine-Grained Description. Sensors, 24(15), 4800. https://doi.org/10.3390/s24154800

