Three-Dimensional Numerical Field Analysis in Transformers to Identify Losses in Tape Wound Cores
Abstract
1. Introduction
2. Numerical Models
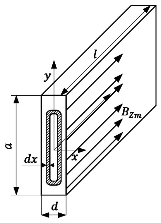
2.1. Analyzed Objects
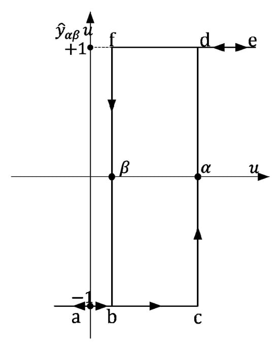
2.2. Numerical Model
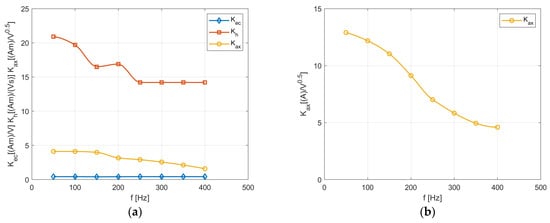
3. Calculation Results and Measured Verification
4. Conclusions
Author Contributions
Funding
Institutional Review Board Statement
Informed Consent Statement
Data Availability Statement
Conflicts of Interest
References
- Mazaleyrat, F. Soft Magnetic Materials. In Handbook of Magnetism and Magnetic Materials; Coey, M., Parkin, S., Eds.; Springer: Cham, Switzerland, 2021. [Google Scholar] [CrossRef]
- Available online: https://www.femag.it/wp-content/uploads/2022/12/femag_lamiere_silicio.pdf (accessed on 4 May 2023).
- Available online: https://metglas.com/magnetic-materials/ (accessed on 4 May 2023).
- Available online: https://ferroxcube.home.pl/prod/assets/sfmatgra_frnt.pdf (accessed on 4 May 2023).
- Available online: https://www.grandviewresearch.com/industry-analysis/soft-magnetic-materials-market (accessed on 25 January 2023).
- Bozorth, R.M. Ferromagnetism; Wiley & Sons Inc.: Hoboken, NJ, USA, 2003. [Google Scholar]
- Bertotti, G. Hysteresis in Magnetism; Academic Press: San Diego, CA, USA, 1998. [Google Scholar]
- Wolman, W.; Kaden, H. Über die Wirbelstromverzögerung Magnetisehe Schaltvorgänge. Z. Tech. Phys. 1932, 13, 330–345. [Google Scholar]
- Bertotti, G. Hysteresis in Magnetism for Physicists, Materials Scientists, and Engineers; Academic Press: San Diego, CA, USA, 1998. [Google Scholar]
- Mayergoyz, I.D.; Serpico, C. Eddy-current losses in magnetic conductors with abrupt magnetic transitions. IEEE Trans. Magn. 2000, 36, 1962–1969. [Google Scholar] [CrossRef]
- Mayergoyz, I. Mathematical Models of Hysteresis and Their Applications; Elsevier: Amsterdam, The Netherlands, 2003. [Google Scholar]
- Hussain, S.; Lowther, D.A. An Efficient Implementation of the Classical Preisach Model. IEEE Trans. Magn. 2018, 54, 7300204. [Google Scholar] [CrossRef]
- Mörée, G.; Leijon, M. Review of Play and Preisach Models for Hysteresis in Magnetic Materials. Materials 2023, 16, 2422. [Google Scholar] [CrossRef] [PubMed]
- Jiles, D.C.; Ramesh, A.; Shi, Y.; Fang, X. Application of the Anisotropic Extension of the Theory of Hysteresis to the Magnetization Curves of Crystalline and Textured Magnetic Materials. IEEE Trans. Magn. 1997, 33, 3961–3963. [Google Scholar] [CrossRef]
- Jiles, D.C.; Thoelke, J.B.; Devine, M.K. Numerical Determination of Hysteresis Parameters the Modeling of Magnetic Properties Using the Theory of Ferromagnetic Hysteresis. IEEE Trans. Magn. 1992, 28, 27–35. [Google Scholar] [CrossRef]
- Malczyk, R.; Izydorczyk, J. The frequency–dependent Jiles–Atherton hysteresis model. Physica B 2015, 463, 68–75. [Google Scholar] [CrossRef]
- Kollár, P.; Vojtek, V.; Birčáková, Z.; Füzer, J.; Fáberová, M.; Bureš, R. Steinmetz law in iron–phenolformaldehyde resin soft magnetic composites. J. Magn. Magn. Mater. 2014, 353, 65–70. [Google Scholar] [CrossRef]
- Bertotti, G. General properties of power losses in soft ferromagnetic materials. IEEE Trans. Magn. 1988, 24, 621–630. [Google Scholar] [CrossRef]
- Bertotti, G. Direct relation between hysteresis and dynamic losses in soft magnetic materials. J. Phys. 1985, 46, 389–392. [Google Scholar] [CrossRef]
- Koteras, D.; Tomczuk, B.; Waindok, A. Implicit iteration calculations using 3D field analyses, to predict the power loss in powder ferromagnets, with their measurement tests. Measurements 2023, 207, 112311. [Google Scholar] [CrossRef]
- Koteras, D.; Tomczuk, B. Comparison of the field methods in homogenization of the laminated magnetic cores. Int. J. Appl. Electromagn. Mech. 2020, 63, 705–714. [Google Scholar] [CrossRef]
- Krähenbühl, L.; Dular, P.; Zeidan, T.; Buret, F. Homogenization of lamination stacks in linear magnetodynamics. IEEE Trans. Magn. 2004, 40, 912–915. [Google Scholar] [CrossRef]
- Gyselinck, J.; Sabariego, R.V.; Dular, P. A nonlinear time-domain homogenization technique for laminated iron cores in three-dimensional finite-element models. IEEE Trans. Magn. 2006, 42, 763–766. [Google Scholar] [CrossRef]
- Chiu, H.-C.; Pao, H.-K.; Hsieh, R.-H.; Chiu, Y.-J.; Jang, J.-H. Numerical Analysis on the Eddy Current Losses in a Dry-type 3000 kVA Transformer. Energy Procedia 2019, 156, 332–336. [Google Scholar] [CrossRef]
- Available online: https://www.femag.it/en/products/cores-c-series/ (accessed on 13 April 2024).
- Available online: https://metglas.com/distribution-transformer-electrical-steel/ (accessed on 13 April 2024).
- Maxwell Help, Ansys 2020 R1. 2020. Available online: https://www.ansys.com/it-solutions/contacting-technical-support/ (accessed on 15 May 2024).
- Wajnert, D. A field-circuit model of the hybrid magnetic bearing. Arch. Mech. Eng. 2019, 66, 191–208. [Google Scholar] [CrossRef]
- Masood, A.; Baghbaderani, H.A.; Alvarez, K.L.; Blanco, J.M.; Pavlovic, Z.; Ström, V.; Stamenov, P.; Mathuna, C.O.; McCloskey, P. High-frequency power loss mechanisms in ultra-thin amorphous ribbons. J. Magn. Magn. Mater. 2021, 519, 167469. [Google Scholar] [CrossRef]













| Symbol | Transformer 1 | Transformer 2 |
|---|---|---|
| a | 24 | 16 |
| b | 40 | 40 |
| d | 75 | 52 |
| h | 128.6 | 102 |
| e | 1.35 | 1.35 |
| g | 29 | 29 |
Disclaimer/Publisher’s Note: The statements, opinions and data contained in all publications are solely those of the individual author(s) and contributor(s) and not of MDPI and/or the editor(s). MDPI and/or the editor(s) disclaim responsibility for any injury to people or property resulting from any ideas, methods, instructions or products referred to in the content. |
© 2024 by the authors. Licensee MDPI, Basel, Switzerland. This article is an open access article distributed under the terms and conditions of the Creative Commons Attribution (CC BY) license (https://creativecommons.org/licenses/by/4.0/).
Share and Cite
Koteras, D.; Tomczuk, B. Three-Dimensional Numerical Field Analysis in Transformers to Identify Losses in Tape Wound Cores. Sensors 2024, 24, 3228. https://doi.org/10.3390/s24103228
Koteras D, Tomczuk B. Three-Dimensional Numerical Field Analysis in Transformers to Identify Losses in Tape Wound Cores. Sensors. 2024; 24(10):3228. https://doi.org/10.3390/s24103228
Chicago/Turabian StyleKoteras, Dariusz, and Bronislaw Tomczuk. 2024. "Three-Dimensional Numerical Field Analysis in Transformers to Identify Losses in Tape Wound Cores" Sensors 24, no. 10: 3228. https://doi.org/10.3390/s24103228
APA StyleKoteras, D., & Tomczuk, B. (2024). Three-Dimensional Numerical Field Analysis in Transformers to Identify Losses in Tape Wound Cores. Sensors, 24(10), 3228. https://doi.org/10.3390/s24103228
