Review of Wireless RFID Strain Sensing Technology in Structural Health Monitoring
Abstract
1. Introduction
2. Overview of RFID Technology
2.1. RFID Technology
2.2. RFID Electronic Tag
2.3. RFID Reader
3. Design and Application of RFID Strain Sensors in SHM
3.1. Passive RFID Strain Sensing Technology
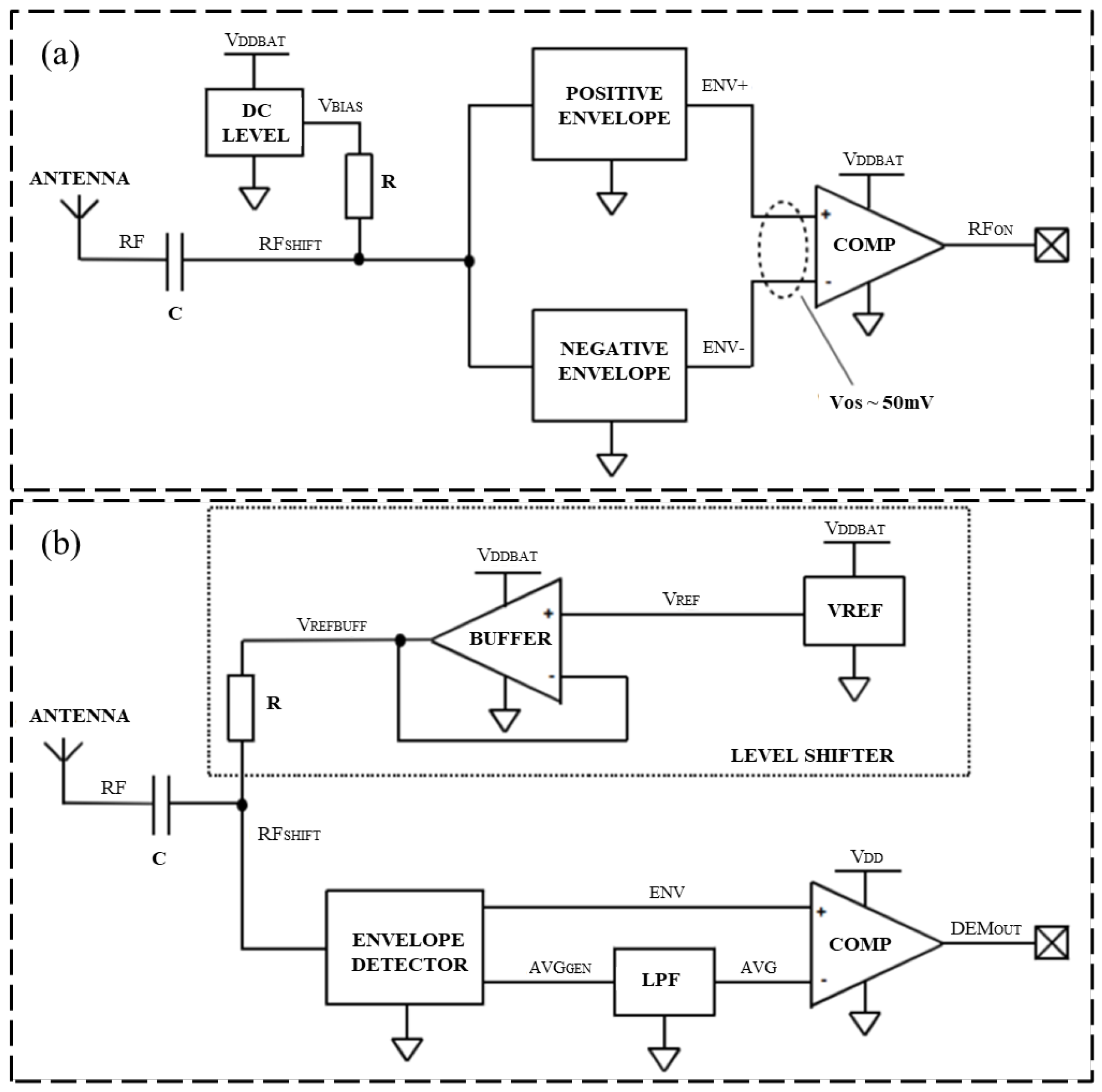
3.2. Active RFID Strain Sensing Technology
3.3. Semi-Passive RFID Strain Sensing Technology
3.4. Ultra High-Frequency RFID Strain Sensing Technology
3.5. Chipless RFID Strain Sensing Technology
3.6. Wireless Strain Sensing Based on Multi-Sensory RFID System
3.7. Wireless Strain Sensing Based on Other RFID Technologies
4. Conclusions
Funding
Institutional Review Board Statement
Informed Consent Statement
Data Availability Statement
Acknowledgments
Conflicts of Interest
References
- Wang, Q.A.; Zhang, C.; Ma, Z.G.; Ni, Y.Q. Modelling and forecasting of SHM strain measurement for a large-scale suspension bridge during typhoon events using variational heteroscedasic Gaussian process. Eng. Struct. 2021, 251, 113554. [Google Scholar] [CrossRef]
- Liu, L.J.; Zhang, X.; Lei, Y. Data-driven identification of structural damage under unknown seismic excitations using the energy integrals of strain signals transformed from transmissibility functions. J. Sound Vib. 2023, 546, 117490. [Google Scholar] [CrossRef]
- Zhang, J.Q.; Jin, Z.H.; Teng, S.; Chen, G.F.; Cui, F.S. Structural damage detection using convolutional neural networks based on modal strain energy and population of structures. Int. J. Comput. Methods 2023, 20, 2230001. [Google Scholar] [CrossRef]
- Wang, Q.A.; Dai, Y.; Ma, Z.G.; Wang, J.F.; Lin, J.F.; Ni, Y.Q.; Ren, W.X.; Jiang, J.; Yang, X.; Yan, J.R. Towards high-precision data modeling of SHM measurements using an improved sparse Bayesian learning scheme with strong generalization ability. Struct. Health Monit. Int. J. 2023, 2023, 14759217231170316. [Google Scholar] [CrossRef]
- Wang, Q.A.; Wang, C.B.; Ma, Z.G.; Chen, W.; Ni, Y.Q.; Wang, C.F.; Yan, B.G.; Guan, P.X. Bayesian dynamic linear model framework for SHM data forecasting and missing data imputation during typhoon events. Struct. Health Monit. Int. J. 2022, 21, 2933–2950. [Google Scholar] [CrossRef]
- Wang, X.J.; Chen, F.; Zhou, H.Y.; Ni, P.H.; Wang, L.H.; Zhang, J. Structural damage detection based on cross-correlation function with data fusion of various dynamic measurements. J. Sound Vib. 2022, 541, 117373. [Google Scholar] [CrossRef]
- Wang, Q.A.; Dai, Y.; Ma, Z.G.; Ni, Y.; Tang, J.; Xu, X.; Wu, Z. Towards probabilistic data-driven damage detection in SHM using sparse bayesian learning scheme. Struct. Control. Health Monit. 2022, 29, e3070. [Google Scholar] [CrossRef]
- Zuo, J.S.; Feng, J.X.; Gameiro, M.G.; Tian, Y.L.; Liang, J.; Wang, Y.Y.; Ding, J.H.; He, Q.G. RFID-based sensing in smart packaging for food applications: A review. Future Foods 2022, 6, 100198. [Google Scholar] [CrossRef]
- Kevin, M.G.; Prince, A.; David, C. A review of chipless remote sensing solutions based on RFID technology. Sensors 2019, 19, 4829. [Google Scholar] [CrossRef]
- Tarricone, L.; Grosinger, J. Augmented RFID technologies for the internet of things and beyond. Sensors 2020, 20, 987. [Google Scholar] [CrossRef]
- Caccami, M.C.; Marrocco, G. Electromagnetic characterisation of self-tuning UHF RFID tags for sensing application. In Proceedings of the 2016 IEEE International Symposium on Antennas and Propagation (APSURSI), Fajardo, Puerto Rico, 26 June–1 July 2016; pp. 1273–1274. [Google Scholar]
- Hasani, M.; Vena, A.; Sydanheimo, L.; Ukkonen, L.; Tentzeris, M.M. Implementation of a dual-interrogation-mode embroidered RFID-enabled strain sensor. IEEE Antennas Wirel. Propag. Lett. 2013, 12, 1272–1275. [Google Scholar] [CrossRef]
- Bhattacharyya, R.; Floerkemeier, C.; Sarma, S. Low-cost, ubiquitous RFID-tag-antenna-based sensing. Proc. IEEE 2010, 98, 1593–1600. [Google Scholar] [CrossRef]
- Nabavi, S.; Anabestani, H.; Bhadra, S. A printed paper-based RFID tag for wireless humidity sensing. In Proceedings of the 2022 IEEE Sensors, Dallas, TX, USA, 30 October–2 November 2022; pp. 1–4. [Google Scholar]
- Hasani, M.; Vena, A.; Sydanheimo, L.; Ukkonen, L.; Tentzeris, M.M. A novel RFID-enabled strain sensor using the double power measurement technique. In Proceedings of the 2014 IEEE MTT-S International Microwave Symposium (IMS2014), Tampa, FL, USA, 1–6 June 2014; pp. 1–4. [Google Scholar]
- Zhang, Y.F.; Bai, L.J. Rapid structural condition assessment using radio frequency identification (RFID) based wireless strain sensor. Automat. Constr. 2015, 54, 1–11. [Google Scholar] [CrossRef]
- Dey, A.; Sau, B. Tracking of RFID tags in a sensing covered anchor-Free network of RFID readers. In Proceedings of the 2016 IEEE 6th International Conference on Advanced Computing (IACC), Bhimavaram, India, 27–28 February 2016; pp. 689–694. [Google Scholar]
- Tan, H.Y.; Cui, R.C.; Xiao, Z.L.; Wang, Y.J.; Yong Jian, L.U. Design of ULTRA-high frequency RFID reader based on AS3990/AS3991. Appl. Electron. Tech. 2010, 36, 54–56. [Google Scholar]
- Luo, W.; Zheng, J. RFID reader antenna optimal deployment based on improved elephant herding algorithm. In Proceedings of the 2021 IEEE International Conference on Consumer Electronics and Computer Engineering (ICCECE), Guangzhou, China, 15–17 January 2021; pp. 348–352. [Google Scholar]
- Sun, W. Towards parallel decoding with compressive sensing in multi-reader large-scale RFID system. In Proceedings of the 2021 IEEE International Conference on RFID (RFID), Atlanta, GA, USA, 27–29 April 2021; pp. 1–8. [Google Scholar]
- Wang, S.J.; Zhou, S.Y. Design and research of RFID reader. Sci. Technol. Inf. 2010, 1. [Google Scholar]
- Wei, W.H. The design of low power UHF RFID reader. In Proceedings of the 2019 The International Workshop on Materials Engineering and Computer Sciences (IWMECS 2019), Xi’an, China, 16–17 March 2019; pp. 361–364. [Google Scholar]
- Kimionis, J.; Tentzeris, M.M. Software-defined reader for multi-modal RFID sensing. In Proceedings of the 2016 IEEE MTT-S International Microwave Symposium (IMS), San Francisco, CA, USA, 22–27 May 2016; pp. 1–4. [Google Scholar]
- Xie, N.; He, P.J.; Feng, L. Design of multi-protocol RFID reader with adjustable frequency. Microcontroller Embed. Syst. Appl. 2012, 12, 33–35+58. [Google Scholar]
- Khan, Z.; Chen, X.C.; He, H.; Mehmood, A.; Virkki, J. A bending passive RFID tag as a sensor for high-temperature exposure. Int. J. Antenn. Propag. 2021, 2021, 1–9. [Google Scholar] [CrossRef]
- Benchirouf, A.; Sowade, E.; Al-Hamry, A.; Blaudeck, T.; Kanoun, O.; Baumann, R. Investigation of RFID passive strain sensors based on carbon nanotubes using inkjet printing technology. In Proceedings of the International Multi-Conference on Systems, Signals & Devices, Chemnitz, Germany, 20–23 March 2012; pp. 1–6. [Google Scholar]
- Rakibet, O.O.; Rumens, C.V.; Batchelor, J.C.; Holder, S.J. Epidermal passive RFID strain sensor for assisted technologies. IEEE Antenn. Wirel. Pr. 2014, 13, 814–817. [Google Scholar] [CrossRef]
- Rennane, A.; Benmahmoud, F.; Abdelnour, A.; Fonseca, N.; Kaddour, D.; Touhami, R.; Tedjini, S. Passive UHF RFID bending and absolute force strain gauge based sensors. In Proceedings of the Mediterranean Microwave Symposium, Marseille, France, 28–30 November 2017; pp. 1–4. [Google Scholar]
- He, Y.; Li, M.M.; Wan, G.C.; Tong, M.S. A passive and wireless sensor based on RFID antenna for detecting mechanical deformation. IEEE Open J. Antennas Propag. 2020, 1, 426–434. [Google Scholar] [CrossRef]
- Occhiuzzi, C.; Paggi, C.; Marrocco, G. Passive RFID strain-sensor based on meander-line antennas. IEEE Trans. Antennas Propag. 2011, 59, 4836–4840. [Google Scholar] [CrossRef]
- Gonek, P.; Lisowski, M.; Uhl, T. Development of wireless passive sensing platform communication issues. In Mechatronics: Ideas for Industrial Applications; Springer: Berlin/Heidelberg, Germany, 2015; Volume 317, pp. 41–49. [Google Scholar]
- Wan, G.C.; Xue, K.; Tang, L.Y.; Tong, M.S. Design of a high-gain strain sensor for monitoring structural health based on passive UHF RFID. In Proceedings of the 2017 Progress in Electromagnetics Research Symposium-Fall (PIERS-FALL), Singapore, 19–22 November 2017; pp. 2119–2122. [Google Scholar]
- Yi, X.H.; Cho, C.H.; Wang, Y.; Tentzeris, M.M. Battery-free slotted patch antenna sensor for wireless strain and crack monitoring. Smart Struct. Syst. 2016, 18, 1217–1231. [Google Scholar] [CrossRef]
- Cho, H.; Baek, Y. Reader collision avoidance for multihop deployment of active RFID readers. IEICE Electron. Express 2010, 7, 1396–1402. [Google Scholar] [CrossRef]
- Abdulla, R.; Ismail, W. Survey of WSN technology based reliable and efficient active RFID. In Proceedings of the 2013 IEEE 11th Malaysia International Conference on Communications (MICC), Kuala Lumpur, Malaysia, 26–28 November 2013; pp. 116–121. [Google Scholar]
- Dufek, I.; Derbek, V. Adaptation of an active RFID technology for low power wireless sensor networks. In Proceedings of the 2013 9th International Wireless Communications and Mobile Computing Conference (IWCMC), Sardinia, Italy, 1–5 July 2013; pp. 769–773. [Google Scholar]
- Wang, Q.A.; Zhang, C.; Ma, Z.G. Towards long-transmission-distance and semi-active wireless strain sensing enabled by dual-interrogation-mode RFID technology. Struct. Control. Health Monit. 2022, 29, e3069. [Google Scholar] [CrossRef]
- DiGiampaolo, E.; DiCarlofelice, A.; Gregori, A. An RFID-enabled wireless strain gauge sensor for static and dynamic structural monitoring. IEEE Sens. J. 2017, 17, 286–294. [Google Scholar] [CrossRef]
- Xuecheng, Z.; Huan, L.; Hui, L.; Dongsheng, L.; Liang, G.; Ke, Y. Design and implementation of an analog front-end circuit for semi-passive HF RFID tag. In Proceedings of the 2014 IEEE Radio Frequency Integrated Circuits Symposium, Tampa, FL, USA, 1–3 June 2014; pp. 389–392. [Google Scholar]
- Neto, E.; Soares, R.; Conrad, E.; Costa, J.; Ramaswami, M. A semi-passive UHF RFID tag compliant with brazilian national automated vehicle identification system (SINIAV). In Proceedings of the IEEE International Conference on RFID-Technologies & Applications, Nice, France, 5–7 November 2012. [Google Scholar]
- Che, W.Y.; Meng, D.C.; Chang, X.G.; Chen, W.; Wang, L.; Yang, Y.; Xu, C.; Tan, X.; Yan, N.; Min, H. A semi-passive UHF RFID tag with on-chip temperature sensor. In Proceedings of the IEEE Custom Integrated Circuits Conference, San Jose, CA, USA, 19–22 September 2010. [Google Scholar]
- Yang, C.W.; Tao, Y.H.; Lan, T.G.; Man, H. Liquid conductivity detection by passive secure UHF RFID Tag. In Proceedings of the 2018 48th European Microwave Conference (EuMC), Madrid, Spain, 23–27 September 2018; pp. 874–877. [Google Scholar]
- Chen, X.; Ukkonen, L.; Björninen, T. Passive e-textile UHF RFID-based wireless strain sensors with integrated references. IEEE Sens. J. 2016, 16, 7835–7836. [Google Scholar] [CrossRef]
- Saxl, G.; Gortschacher, L.; Ussmueller, T.; Grosinger, J. Software-defined RFID readers. IEEE Microw. Mag. 2021, 3, 46–56. [Google Scholar] [CrossRef]
- Qian, X.Y.; Zhou, C.; Dong, Y.; Xu, C.; He, X.; Yang, Y. A near-field UHF RFID reader antenna with large interrogation zone. In Proceedings of the 2020 IEEE International Conference on Computational Electromagnetics (ICCEM), Singapore, 25–27 March 2020; pp. 207–208. [Google Scholar]
- Long, F.Y. Implementation and wireless readout of passive UHF RFID strain sensor tags based on electro-textile antennas. In Proceedings of the 2015 9th European Conference on Antennas and Propagation (EuCAP), Lisbon, Portugal, 13–17 April 2015; pp. 1–5. [Google Scholar]
- Tatiparthi, S.R.; De, Y.G.; Whittaker, C.N.; Hu, S.H.; Yuan, Z.G.; Zhong, R.Y.; Zhuang, W.Q. Development of radio-frequency identification (RFID) sensors suitable for smart-monitoring applications in sewer systems. Water Res. 2021, 198, 117107. [Google Scholar] [CrossRef]
- Yu, X.L.; Yu, Y.S.; Wang, Z.M.; Liu, J.L.; Zhao, Z.M. A novel temperature control system of measuring the dynamic UHF RFID reading performance. In Proceedings of the International Conference on Instrumentation Measurement Computer Communication and Control, Harbin, China, 21–23 July 2016; pp. 322–326. [Google Scholar]
- Martinez-Martinez, J.J.; Herraiz-Martinez, F.J.; Galindo-Romera, G. A contactless RFID system based on chipless MIW tags. IEEE Trans. Antennas Propag. 2018, 66, 5064–5071. [Google Scholar] [CrossRef]
- Forouzandeh, M.; Karmakar, N.C. Chipless RFID tags and sensors: A review on time-domain techniques. Wirel. Power Transf. 2015, 2, 62–77. [Google Scholar] [CrossRef]
- Herrojo, C.; Mata-Contreras, J.; Paredes, A.N.F.; Ramon, E.; Martin, F. Near-field chipless-RFID system with high data capacity for security and authentication applications. IEEE Trans. Microw. Theory Tech. 2017, 65, 5298–5308. [Google Scholar] [CrossRef]
- Herrojo, A.; Mata-Contreras, J.; Paredes, F.; Núñez, A.; Ramon, E.; Martín, F. Near-field chipless-RFID tags with sequential bit reading implemented in plastic substrates. J. Magn. Magn. Mater. 2017, 459, 322–327. [Google Scholar] [CrossRef]
- Shuvashis, D. Design and feasibility analysis of conventional planar antennas as chipless RFID strain sensors. In Proceedings of the 2015 International Symposium on Antennas and Propagation (ISAP), Hobart, Australia, 9–12 November 2015. [Google Scholar]
- Buchanan, N.B.; Fusco, V. Single VCO chipless RFID near-field reader. Electron. Lett. 2016, 23, 1958–1960. [Google Scholar] [CrossRef]
- Watanabe, Y. Analysis of strain sensor using millimeter wave chipless RFID tag. In Proceedings of the 2020 International Symposium on Antennas and Propagation (ISAP), Osaka, Japan, 25–28 January 2021; pp. 45–46. [Google Scholar]
- Li, D.; Wang, Y. Thermally stable wireless satch antenna sensor for strain and crack sensing. Sensors 2020, 20, 3835. [Google Scholar] [CrossRef] [PubMed]
- Cook, B.S.; Vyas, R.; Kim, S.; Thai, T.; Le, T.; Traille, A.; Aubert, H.; Tentzer, M.M. RFID-based sensors for zero-power autonomous wireless sensor networks. IEEE Sens. J. 2014, 14, 2419–2431. [Google Scholar] [CrossRef]
- Chakrabartty, S.; Feng, T.; Aono, K. Gen-2 RFID compatible, zero down-time, programmable mechanical strain-monitors and mechanical impact detectors. In Proceedings of the Sensors and Smart Structures Technologies for Civil, Mechanical, and Aerospace Systems 2013, San Diego, CA, USA, 19 April 2013; Volume 8692. [Google Scholar]
- Jayawardana, D.; Liyanapathirana, R.; Zhu, X.Q. RFID-based wireless multi-sensory system for simultaneous dynamic acceleration and strain measurements of civil infrastructure. IEEE Sens. J. 2019, 19, 12389–12397. [Google Scholar] [CrossRef]
- Li, F.; Xiang, D.; Chiang, S.; Tittmann, B.R.; Searfass, C. Wireless surface acoustic wave radio frequency identification (SAW-RFID) sensor system for temperature and strain measurements. In Proceedings of the IEEE International Ultrasonics Symposium (IUS), Orlando, FL, USA, 18–21 October 2011; pp. 822–825. [Google Scholar]
- Chakaravarthi, G.; Logakannan, K.P.; Philip, J.; Rengaswamy, J.; Ramachandran, V.; Arunachalam, K. Reusable passive wireless RFID sensor for strain measurement on metals. IEEE Sens. J. 2018, 18, 5143–5150. [Google Scholar] [CrossRef]
- Patel, S.J.; Zawodniok, M. Passive RFID tags for metallic environments using phased array reader antennas. In Proceedings of the 2019 IEEE International Instrumentation and Measurement Technology Conference (I2MTC), Auckland, New Zealand, 20–23 May 2019; pp. 1–6. [Google Scholar]
- Lee, J.; Park, J.; Ryu, W.; Hong, B.; Kwon, J. Design and implementation of a virtual reader for emulation of RFID Physical Reader. Commun. Comput. Inf. Sci. 2011, 18, 225–230. [Google Scholar]































| No. | Technical Data and Features | Maturity Level |
|---|---|---|
| [25] | Low-energy high-temperature exposure sensor with a read range of more than 6 m. After bending, there is a significant decrease in the read range (to around 2–3 m). The backscattered power changes from −36 dBm to −43 dBm. | Laboratory |
| [26] | Wireless passive RFID strain sensor with carbon nanotubes smart materials and inkjet technology. | Laboratory |
| [27] | Passive wireless RFID strain sensor with a barium titanate-loaded polydimethylsiloxane substrate. | Laboratory |
| [28] | Passive UHF RFID sensor with flexible substrate. | Laboratory |
| [29] | Novel rectangular patch antenna in a wireless and passive manner. | Laboratory |
| [30] | Completely passive UHF RFID sensor with low-cost and sub-millimeter resolution. | Laboratory |
| [31] | Completely passive wireless communication interface with an effective communication and data storage rate on the level of 18 Kbit/s. | Laboratory |
| [32] | Wireless and passive UHF rectangular patch antenna. | Laboratory |
| [33] | Completely battery-free (passive) and wireless sensor with a slotted patch antenna. | Laboratory |
| [34] | Reader collision avoidance for multihop deployment of active RFID system which complies with ISO/IEC 18000-7. | Laboratory |
| [35] | Review study on RFID wireless sensors. | NA |
| [36] | An energy-efficient RFID tag and the antenna system, which use the technology of adaptive beam forming. | Laboratory |
| [37] | Dual-interrogation-mode RFID strain sensor with a reading range of 80 m, which can automatically switch between passive modes with low power consumption and active UHF modes. | Laboratory |
| [38] | Semi-passive wireless strain gauge sensor to handle fast time-varying phenomena. | Laboratory |
| [39] | Semi-passive HF RFID tag compatible with ISO/IEC 14443 Type A. Much longer recognition distance than passive tags and can work normally when the magnetic field is 0.3 A/m. Power consumption is as low as 129.6 μW. | Laboratory |
| [40] | Semi-passive UHF RFID tag with low-power PMU. Manufactured in 0.18μm standard CMOS technology with −26 dBm RF input power. | Laboratory |
| [41] | Semi-passive UHF sensor tag compatible with ISO 18000-6C. Sensitivity and standby current are −23.7 dBm and 150 nA. | Laboratory |
| [42] | A passive secure UHF RFID tag and read performance degrades rapidly as conductivity varies to less than 0.5 S/m. | Laboratory |
| [43] | Wireless strain sensing based on passive UHF RFID tags with high EM isolation between the tags. | Laboratory |
| [44] | UHF RFID sensing system software-defined radios-based RFID readers. | Laboratory |
| [45] | RFID sensor antenna with a bandwidth from 778 to 984 MHz and a uniform magnetic field distribution in a large reading region. | Laboratory |
| [46] | 900 MHz is the optimal frequency resulting in a readout distance of up to 7.5 m. | Laboratory |
| [47] | 9 dBiC RFID sensor antenna with optimal detection ranges of 0.57–3.5 m. | Both in the field and laboratory |
| [48] | UHF RFID sensor and reading distance of RFID tag reduces with the increase in test temperature. | Laboratory |
| [49] | Contactless RFID system formed by chipless tags based on the magneto-inductive wave delay lines. | Laboratory |
| [50] | Passive RFID sensors and 900 MHz RFID readers with a link budget of about 100 dB. | Laboratory |
| [51] | High data capacity chipless RFID sensing system. | Laboratory |
| [52] | Chipless RFID systems based on near-field coupling between the tag and the reader with sequential bit reading. | Laboratory |
| [53] | Design and analysis of four conventional and printed monopole and dipole antennas as chipless RFID strain sensors. | Laboratory |
| [54] | 10-bit RFID tag which operates over the frequency range 2.4–3.4 GHz. | Laboratory |
| [55] | Strain sensor using millimeter wave chipless RFID tag. | Laboratory |
| [56] | Dual-mode patch antenna sensor fabricated on a substrate material with a steady dielectric constant. Passive patch antenna sensor with good reliability under temperature fluctuations. | Both in the field and laboratory |
| [57] | Chip-based RFID sensors with two resonances—the resonance of the patch at 3.4 GHz, and the resonance of the loop at 2.9 GHz. | Laboratory |
| [58] | Operating in the 860 MHz–960 MHz frequency range. Multi-access capability with access rates greater than 1600 tags per second and read speeds at 100 Kbits/s. | Laboratory |
| [59] | RFID strain sensor with spectral bandwidths of 40 Hz and 26.5 Hz, which has a 30 mHz natural frequency determination error. | Laboratory |
| [60] | Wireless surface acoustic wave RFID Sensor tolerant for high temperatures, which can measure the strain/stress and temperature on engine blades. | Laboratory |
| [61] | Reusable passive wireless RFID strain sensor. The tag RL at resonance (878 MHz) is 21.18 dB. | Laboratory |
| [62] | A phased array using RFID reader antennas to achieve 30 feet (10 m) read range. | Laboratory |
| [63] | Virtual reader which can closely emulate physical readers by read fail ratio of approximately 10%. | Laboratory |
Disclaimer/Publisher’s Note: The statements, opinions and data contained in all publications are solely those of the individual author(s) and contributor(s) and not of MDPI and/or the editor(s). MDPI and/or the editor(s) disclaim responsibility for any injury to people or property resulting from any ideas, methods, instructions or products referred to in the content. |
© 2023 by the authors. Licensee MDPI, Basel, Switzerland. This article is an open access article distributed under the terms and conditions of the Creative Commons Attribution (CC BY) license (https://creativecommons.org/licenses/by/4.0/).
Share and Cite
Liu, G.; Wang, Q.-A.; Jiao, G.; Dang, P.; Nie, G.; Liu, Z.; Sun, J. Review of Wireless RFID Strain Sensing Technology in Structural Health Monitoring. Sensors 2023, 23, 6925. https://doi.org/10.3390/s23156925
Liu G, Wang Q-A, Jiao G, Dang P, Nie G, Liu Z, Sun J. Review of Wireless RFID Strain Sensing Technology in Structural Health Monitoring. Sensors. 2023; 23(15):6925. https://doi.org/10.3390/s23156925
Chicago/Turabian StyleLiu, Gang, Qi-Ang Wang, Guiyue Jiao, Pengyuan Dang, Guohao Nie, Zichen Liu, and Junyu Sun. 2023. "Review of Wireless RFID Strain Sensing Technology in Structural Health Monitoring" Sensors 23, no. 15: 6925. https://doi.org/10.3390/s23156925
APA StyleLiu, G., Wang, Q.-A., Jiao, G., Dang, P., Nie, G., Liu, Z., & Sun, J. (2023). Review of Wireless RFID Strain Sensing Technology in Structural Health Monitoring. Sensors, 23(15), 6925. https://doi.org/10.3390/s23156925

