A Novel Smart CFRP Cable Based on Optical Electrical Co-Sensing for Full-Process Prestress Monitoring of Structures
Abstract
1. Introduction
2. Development of OECS-CFRP Cable
2.1. Sensing Principle of DOFS and CCFPI
2.2. Fabrication of CFRP Bars
2.3. Assembly of OECS-CFRP Cable
3. Performance of the OECS-CFRP Cable
3.1. Sensing Properties
3.1.1. Strain Sensing Performance of Smart CFRP Bars
3.1.2. Tension Sensing Performance of OECS-CFRP Cable
3.2. OECS-CFRP Cable Monitoring from Tensile to Fracture
3.3. Prestressing Monitoring Methods Comparison
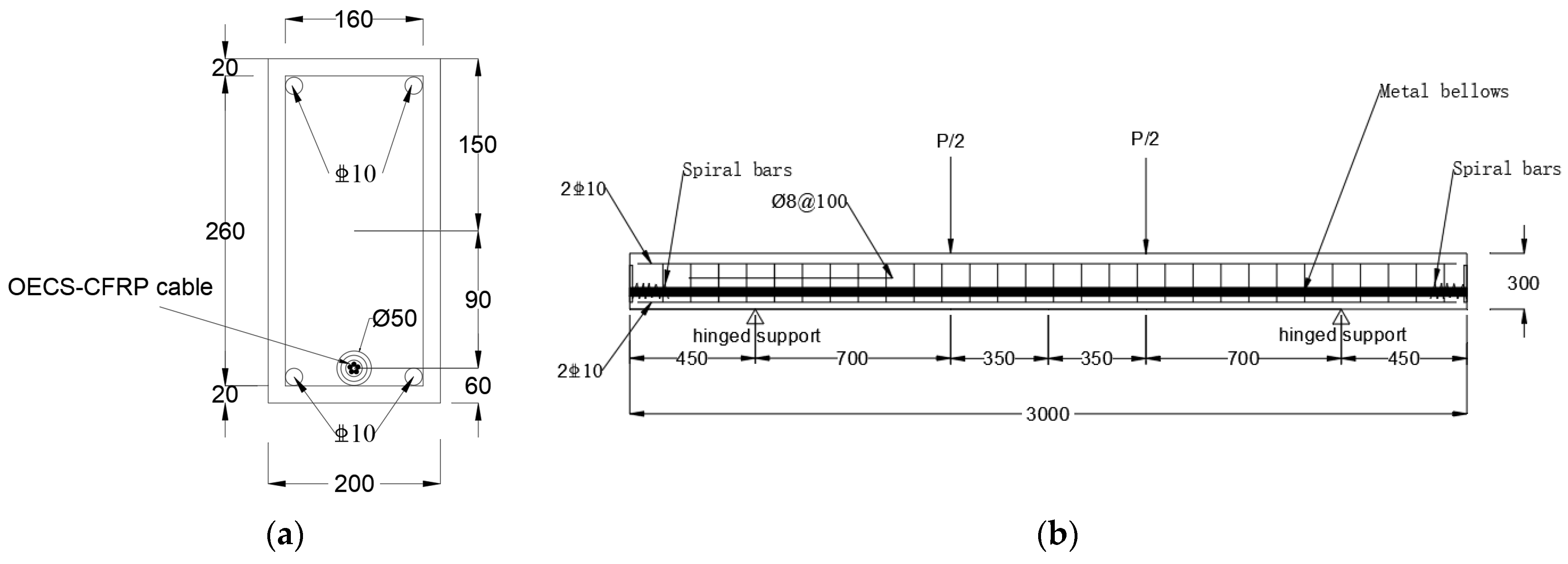
4. Test on Prestress Monitoring of the RC Beam
4.1. Design of the Unbonded Prestressed RC Beam
4.2. Tensile Stress Monitoring of the OECS-CFRP Cable
4.3. Loading Test of the Unbonded Prestressed RC Beam
4.3.1. Experiment Design
4.3.2. Finite Element Model
4.3.3. Results and Discussion
5. Conclusions
Author Contributions
Funding
Institutional Review Board Statement
Informed Consent Statement
Data Availability Statement
Conflicts of Interest
References
- Jiang, T.Y.; Fang, Z. Experimental investigation on the performance of wedge-bond anchors for CFRP tendons. Chin. Civ. Eng. J. 2010, 43, 79–87. [Google Scholar]
- Cai, D.S.; Yin, J.; Liu, R.G. Experimental and analytical investigation into the stress performance of composite anchors for CFRP tendons. Compos. Part B Eng. 2015, 79, 530–534. [Google Scholar] [CrossRef]
- Wang, L.; Zhang, J.; Xu, J.; Han, Q. Anchorage systems of CFRP cables in cable structures—A review. Constr. Build. Mater. 2017, 160, 82–99. [Google Scholar] [CrossRef]
- Zhu, W.; Chen, H.; Wei, W.; Chen, B.; Chen, X. Analysis of Multi-Tendon Friction-Based Composite Anchorage Device for CFRP Cables and Its Anchorage Mechanism. Materials 2022, 15, 2895. [Google Scholar] [CrossRef] [PubMed]
- Wu, J.; Xian, G.; Li, H. A novel anchorage system for CFRP cable: Experimental and numerical investigation. Compos. Struct. 2018, 194, 555–563. [Google Scholar] [CrossRef]
- Mei, K.; Seracino, R.; Lv, Z. An experimental study on bond-type anchorages for carbon fiber-reinforced polymer cables. Constr. Build. Mater. 2016, 106, 584–591. [Google Scholar] [CrossRef]
- Liu, Y.; Xie, J.Z.; Tafsirojjaman, T.; Yue, Q.R.; Tan, C.; Che, G.J. CFRP lamella stay-cable and its force measurement based on microwave radar. Case Stud. Constr. Mater. 2021, 16, e00824. [Google Scholar] [CrossRef]
- ACI 440.3R; Guide Test Methods for Fiber-Reinforced Polymers (FRPs) for Reinforcing or Strengthening Concrete Structures. American Concrete Institute: Farmington Hills, MI, USA, 2004.
- Schmidt, J.W.; Bennitz, A.; Taljsten, B.; Goltermann, P.; Pedersen, H. Mechanical anchorage of FRP tendons—A literature review. Constr. Build. Mater. 2012, 32, 110–121. [Google Scholar] [CrossRef]
- Jung, W.; Park, J.; Kang, J.; Keum, M. A fundamental study on the anchor performance of non-surface treated multi CFRP tendons. Int. J. Civil Environ. Eng. 2013, 7, 283–287. [Google Scholar]
- Campbell, T.I.; Shrive, N.G.; Soudki, K.A.; Al-Mayah, A.; Keatley, J.P.; Reda, M.M. Design and evaluation of a wedge-type anchor for fibre reinforced polymer tendons. Can. J. Civil Eng. 2000, 27, 985–992. [Google Scholar] [CrossRef]
- Meier, U.; Meier, H.; Kim, P. Anchorage Device for High-Performance Fiber Composite Cables. U.S. Patent 5713169, 3 February 1998. [Google Scholar]
- Fang, Z.; Zhang, K.; Tu, B. Experimental investigation of a bond-type anchorage system for multiple FRP tendons. Eng. Struct. 2013, 57, 364–373. [Google Scholar] [CrossRef]
- Xie, G.-H.; Yan, P.; Sun, Y.; Feng, Q.-H.; Gedi, A.A. Fatigue performance of anchorage for CFRP tendons affected by water infiltration. Constr. Build. Mater. 2020, 269, 121359. [Google Scholar] [CrossRef]
- Fava, G.; Carvelli, V.; Pisani, M.A. Mechanical behaviour modelling of a new anchor system for large diameter GFRP bars. Compos. Part B Eng. 2012, 43, 1397–1404. [Google Scholar] [CrossRef]
- Geffroy, R.-L. The Laroin footbridge with carbon composite stay-cables. In Proceedings of the Footbridge, Paris, France, 20–22 November 2002. [Google Scholar]
- Wanxu, Z.; Lian, S.; Yang, W. Finite Element Analysis and Test of Wedge-type Anchor for Prestressed CFRP Plates. Earthq. Resist. Eng. Retrofit. 2015, 37, 97–101. [Google Scholar]
- Lian, S.; Jinping, O.; Zhi, Z. Development of a new anchorage system for carbon fiber–reinforced polymer rods using extrusion process. Adv. Struct. Eng. 2022, 25, 1002–1014. [Google Scholar] [CrossRef]
- Le, T.C.; Phan, T.T.V.; Nguyen, T.H.; Ho, D.D.; Huynh, T.C. A Low-Cost Prestress Monitoring Method for Post-Tensioned RC Beam Using Piezoelectric-Based Smart Strand. Buildings 2021, 11, 431. [Google Scholar] [CrossRef]
- Guo, X.; Liu, D.; Huang, P.; Zheng, X. Prestress loss of CFL in a prestressing process for strengthening RC beams. Int. J. Polym. Sci. 2017, 2017, 3832468. [Google Scholar] [CrossRef]
- Zhang, S.; Zhang, H.; Zhou, J.; Liu, H.; Ma, H.; Liao, L. Alternating prestress monitoring of steel strands based on the magnetoelastic inductance method. Measurement 2022, 194, 111024. [Google Scholar] [CrossRef]
- Kumar, V.D.; Mohamed, J.S.; Nallasivan, G.; Ramalingam, P.S.; Karpagaraj, M.; Kanna, S.R. Automatic detection of defects in pre-stressed multi strand wires using hall effect sensor. J. Phys. Conf. Ser. 2021, 2054, 012070. [Google Scholar] [CrossRef]
- Tang, Y.; Huang, Z.; Chen, Z.; Chen, M.; Zhou, H.; Zhang, H.; Sun, J. Novel visual crack width measurement based on backbone double-scale features for improved detection automation. Eng. Struct. 2023, 274, 115158. [Google Scholar] [CrossRef]
- Abdel-Jaber, H.; Glisic, B. Monitoring of prestressing forces in prestressed concrete structures—An overview. Struct. Control Health Monit. 2019, 26, e2374. [Google Scholar] [CrossRef]
- Bonopera, M.; Chang, K.C.; Lee, Z.K. State-of-the-art review on determining prestress losses in prestressed concrete girders. Appl. Sci. 2020, 10, 7257. [Google Scholar] [CrossRef]
- Dong, Y. High-performance distributed Brillouin optical fiber sensing. Photonic Sens. 2021, 11, 69–90. [Google Scholar] [CrossRef]
- Zhang, H.; Zhou, D.; Wang, B.; Pang, C.; Xu, P.; Jiang, T.; Ba, D.; Li, H.; Dong, Y. Recent Progress in Fast Distributed Brillouin Optical Fiber Sensing. Appl. Sci. 2018, 8, 1820. [Google Scholar] [CrossRef]
- Jiao, T.; Zhou, Z.; Liu, J.; Xiao, H.; Ou, J. Large strain-tolerated smart steel strand with built in coaxial cable Fabry–Perot interferometer. Measurement 2020, 151, 107019. [Google Scholar] [CrossRef]
- Wei, T.; Wu, S.; Huang, J.; Xiao, H.; Fan, J. Coaxial cable Bragg grating. Appl. Phys. Lett. 2011, 99, 113517. [Google Scholar] [CrossRef]
- Huang, J.; Wei, T.; Lan, X.; Fan, J.; Xiao, H. Coaxial cable Bragg grating sensors for large strain measurement with high accuracy. In Sensors and Smart Structures Technologies for Civil, Mechanical, and Aerospace Systems 2012; SPIE: Bellingham, WA, USA, 2012; Volume 8345, pp. 840–848. [Google Scholar]
- Huang, J.; Wei, T.; Wu, S.; Lan, X.; Fan, J.; Xiao, H. Coaxial cable bragg grating sensors for structural health monitoring. Int. J. Pavement Res. Technol. 2012, 5, 338. [Google Scholar]
- Huang, J.; Wei, T.; Fan, J.; Xiao, H. Coaxial cable Bragg grating assisted microwave coupler. Rev. Sci. Instrum. 2014, 85, 014703. [Google Scholar] [CrossRef]
- Stevan, S.L., Jr.; Mendes Júnior, J.J.A.; Janzen, F.C.; Oliveira, M.L.; Pohl, A.D.A.P. Long period Bragg grating in coaxial transmission lines. J. Microw. Optoelectron. Electromagn. Appl. 2015, 14, 28–39. [Google Scholar] [CrossRef]
- Huang, J.; Wang, T.; Hua, L.; Fan, J.; Xiao, H.; Luo, M. A coaxial cable Fabry-Perot interferometer for sensing applications. Sensors 2013, 13, 15252–15260. [Google Scholar] [CrossRef]
- Cheng, B.; Zhu, W.; Hua, L.; Liu, J.; Li, Y.; Nygaard, R.; Xiao, H. Distributed torsion sensor based on cascaded coaxial cable Fabry–Perot interferometers. Meas. Sci. Technol. 2016, 27, 075103. [Google Scholar] [CrossRef]
- Zhu, C.; Gerald, R.E.; Huang, J. On the Sensitivity of Microwave Fabry–Perot Interferometers for Displacement Detection. IEEE Trans. Microw. Theory Tech. 2022, 70, 3943–3953. [Google Scholar] [CrossRef]
- Thévenaz, L. Advanced Fiber Optics-Concepts and Technology; EPFL University: Lausanne, Switzerland, 2011. [Google Scholar]




























| Sensor | Linearity | Hysteresis | Repeatability | Resolution/kN |
|---|---|---|---|---|
| DOFS-C1 | 2.64% | 1.24% | 0.68% | 0.073 |
| DOFS-C2 | 2.60% | 1.43% | 1.25% | 0.072 |
| CCFPI-C1 | 5.99% | 4.34% | 2.65% | 0.986 |
| CCFPI-C2 | 7.14% | 2.47% | 4.28% | 1.217 |
| Eca (GPa) | Pca (kN) | σca (MPa) |
|---|---|---|
| 163.83 | 178 | 1676 |
| Methods | Sensitivity to Changes in the Prestressing Force | Force Distribution along the Structure | Accuracy | Effects of Environmental Temperature | Cost | Applicability to CFRP Cable | |
|---|---|---|---|---|---|---|---|
| Sensor | Instrument | ||||||
| PZT-interface | High (locally) | Local but only at anchorage | Low | High | High | High | Not explored |
| Acoustoelastic methods | Low | Not feasible, global | Medium | Not explored | None | High | Not explored |
| Elasto-magnetic methods | High | Feasible, local | High | High (can be calibrated) | High | High | Unfeasible |
| FBG sensors | High | Feasible, local | High | High (can be compensated) | High | Medium | Cable normal use phase only |
| DOFS | High | Feasible, Distributed | High | High (can be compensated) | Low | High | Cable normal use phase only |
| CC-FPI | Medium | Feasible, local | Medium | High (can be compensated) | Low | Medium | Cable normal use phase and failure stage |
| OECS-CFRP cable | High | Feasible | High | High (can be compensated) | Low | High | Cable normal use phase and failure stage |
| Age (d) | fcu,k (MPa) | fck (MPa) | Ec (MPa) | υ |
|---|---|---|---|---|
| 28 | 42.2 | 26.9 | 3.26 × 104 | 0.31 |
| Diameter (mm) | fyk (MPa) | fstk (MPa) | Es (MPa) |
|---|---|---|---|
| C10 | 476 | 644 | 2.10 × 105 |
| Sensors | Frequency | Range | Sensitivity | Resolution | Accuracy |
|---|---|---|---|---|---|
| Dial indicator (YHD-100) | 1 Hz | ±50 mm | 0.2 mv/mm | 0.001 mm | 0.01 mm |
| Force transducer (BLR-1) | 1 Hz | 50 t | 0.01069 mv/kN | 0.001 kN | ±0.5% |
| Vertical Load (kN) | Force Transducer (kN) | DOFS | CCFPI | ||||
|---|---|---|---|---|---|---|---|
| Values (kN) | Absolute Error (kN) | Relative Error (%) | Values (kN) | Absolute Error (kN) | Relative Error (%) | ||
| 0 | 87.1 | 87.8 | 0.7 | 0.80 | 86.9 | 0.2 | 0.21 |
| 21 | 87.1 | 87.9 | 0.8 | 0.92 | 86.1 | 1.0 | 1.15 |
| 40 | 87.4 | 88.2 | 0.8 | 0.92 | 85.8 | 1.6 | 1.83 |
| 60.4 | 87.8 | 88.6 | 0.8 | 0.91 | 86.5 | 1.3 | 1.48 |
| 69 | 88.7 | 89.5 | 0.8 | 0.90 | 86.9 | 0.8 | 0.90 |
| 80.5 | 90.2 | 91.0 | 0.8 | 0.89 | 88.5 | 1.7 | 1.88 |
| 100.6 | 94 | 94.7 | 0.7 | 0.74 | 92.4 | 1.6 | 1.70 |
| 119.5 | 103 | 103.4 | 0.4 | 0.39 | 99.7 | 3.3 | 3.20 |
| 140 | 123 | 122.6 | 0.4 | 0.33 | 117.6 | 5.4 | 4.39 |
| 150 | 135.5 | 134.6 | 0.7 | 0.52 | 133.5 | 2.0 | 1.48 |
| 160 | 150 | 148.1 | 1.7 | 1.13 | 145.9 | 4.1 | 2.73 |
| 170 | 173.3 | 168.5 | 4.6 | 2.65 | 168.8 | 4.5 | 2.60 |
| 133.7 | 191.3 | 186.4 | 4.7 | 2.46 | 185.5 | 5.8 | 3.03 |
Disclaimer/Publisher’s Note: The statements, opinions and data contained in all publications are solely those of the individual author(s) and contributor(s) and not of MDPI and/or the editor(s). MDPI and/or the editor(s) disclaim responsibility for any injury to people or property resulting from any ideas, methods, instructions or products referred to in the content. |
© 2023 by the authors. Licensee MDPI, Basel, Switzerland. This article is an open access article distributed under the terms and conditions of the Creative Commons Attribution (CC BY) license (https://creativecommons.org/licenses/by/4.0/).
Share and Cite
Yang, H.; Shao, L.; Ou, J.; Zhou, Z. A Novel Smart CFRP Cable Based on Optical Electrical Co-Sensing for Full-Process Prestress Monitoring of Structures. Sensors 2023, 23, 5261. https://doi.org/10.3390/s23115261
Yang H, Shao L, Ou J, Zhou Z. A Novel Smart CFRP Cable Based on Optical Electrical Co-Sensing for Full-Process Prestress Monitoring of Structures. Sensors. 2023; 23(11):5261. https://doi.org/10.3390/s23115261
Chicago/Turabian StyleYang, Huanyu, Lian Shao, Jinping Ou, and Zhi Zhou. 2023. "A Novel Smart CFRP Cable Based on Optical Electrical Co-Sensing for Full-Process Prestress Monitoring of Structures" Sensors 23, no. 11: 5261. https://doi.org/10.3390/s23115261
APA StyleYang, H., Shao, L., Ou, J., & Zhou, Z. (2023). A Novel Smart CFRP Cable Based on Optical Electrical Co-Sensing for Full-Process Prestress Monitoring of Structures. Sensors, 23(11), 5261. https://doi.org/10.3390/s23115261

