Low-Complexity Multi-Size Circular-Shift Network for 5G New Radio LDPC Decoders
Abstract
1. Introduction
2. Multi-Size Circular-Shift Network for 5G NR LDPC Decoder
2.1. 5G NR LDPC Characteristics
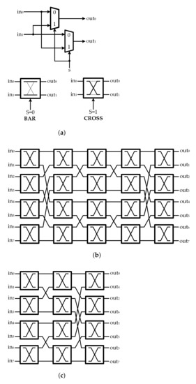
2.2. Multi-Size Circular-Shift Network
3. Proposed Low-Complexity Multi-Size Circular-Shift Network for 5G New Radio LDPC Decoder
3.1. Modified Lifting Size Table for 5G New Radio LDPC Codes
3.2. Structure of Forward Routing Network
3.3. Fine-Coarse Structure for Circular-Shift Network
- Step 1. Pre-rotator: Each sub-block of input data are processed by a pre-rotator subnetwork to generate the pre-circular shift by performing shift operation.
- Step 2. Main rotator: The k-th ouput datum of each pre-rotator network is distributed into the k-th main rotator subnetwork, where . The main circular shift is generated by performing shift operation on each main rotator subnetwork. To overcome the inside-group rotation at the pre-rotator network, the cross-group movement is performed by the circular shift at the k-th main rotator subnetwork where .
3.4. Proposed Low-Complexity Multi-Size Circular-Shift Network
4. Implementation Results and Comparison
5. Conclusions
Author Contributions
Funding
Institutional Review Board Statement
Informed Consent Statement
Conflicts of Interest
References
- Gallager, R.G. Low-density Parity-check Codes. IRE Trans. Inform. Theory 1962, 8, 21–28. [Google Scholar] [CrossRef]
- MacKay, D.J.; Neal, R.M. Near Shannon Limit Performance of Low-density Parity-check Codes. Electron. Lett. 1996, 32, 1645–1646. [Google Scholar] [CrossRef]
- Session Chairman (Nokia). Chairman’s Notes of Agenda Item 7.1.5 Channel Coding and Modulation. 3GPP TSG RAN WG1 Meeting No. 87, R1-1613710. 2016. Available online: https://portal.3gpp.org/ngppapp/CreateTdoc.aspx?mode=view&contributionId=752413 (accessed on 7 December 2021).
- Ad-Hoc Chair (Nokia). Chairman’s Notes of Agenda Item 7.1.4. Channel Coding. 3GPP TSG RAN WG1 Meeting AH 2, R1-1711982. 2017. Available online: https://portal.3gpp.org/ngppapp/CreateTdoc.aspx?mode=view&contributionId=805088 (accessed on 7 December 2021).
- Le Trung, K.; Ghaffari, F.; Declercq, D. An Adaptation of Min-Sum Decoder for 5G Low-Density Parity-Check Codes. In Proceedings of the 2019 IEEE International Symposium on Circuits and Systems (ISCAS), Sapporo, Japan, 26–29 May 2019; pp. 1–5. [Google Scholar]
- Liang, C.; Li, M.; Lee, H.; Lee, H.; Ueng, Y. Hardware-friendly LDPC Decoding Scheduling for 5G HARQ Applications. In Proceedings of the 2019 IEEE International Conference on Acoustics, Speech and Signal Processing, Brighton, UK, 12–17 May 2019; pp. 1418–1422. [Google Scholar]
- Li, H.; Bai, B.; Mu, X.; Zhang, J.; Xu, H. Algebra-assisted Construction of Quasi-cyclic LDPC Codes for 5G New Radio. IEEE Access 2018, 6, 50229–50244. [Google Scholar] [CrossRef]
- Nguyen, T.T.B.; Nguyen Tan, T.; Lee, H. Efficient QC-LDPC Encoder for 5G New Radio. Electronics 2019, 8, 668. [Google Scholar] [CrossRef]
- Ajaz, S.; Nguyen, T.T.B.; Lee, H. An Area-Efficient Half-Row Pipelined Layered LDPC Decoder Architecture. J. Semicond. Technol. Sci. (JSTS) 2017, 17, 845–853. [Google Scholar] [CrossRef]
- Nguyen, T.T.B.; Lee, H. Low-complexity Multi-mode Multi-way Split-row Layered LDPC Decoder for Gigabit Wireless Communications. Integr. VLSI J. 2019, 65, 189–200. [Google Scholar] [CrossRef]
- Ajaz, S.; Lee, H. Efficient Multi-Gb/s Multi-mode LDPC Decoder Architecture for IEEE 802.11ad Applications. Integr. VLSI J. 2015, 51, 21–36. [Google Scholar] [CrossRef]
- Ajaz, S.; Lee, H. An Efficient Radix-4 Quasi-cyclic Shift Network for QC-LDPC Decoders. IEICE Electron. Express 2014, 11, 1–6. [Google Scholar] [CrossRef][Green Version]
- Ajaz, S.; Lee, H. Reduced-complexity Local Switch Based Multi-mode QC-LDPC Decoder Architecture for Gigabit Wireless Communications. IET Electron. Lett. 2013, 49, 1246–1248. [Google Scholar] [CrossRef]
- Jung, Y.; Jung, Y.; Lee, S.; Kim, J. Low-complexity Multi-way and Reconfigurable Cyclic Shift Network of QC-LDPC Decoder for Wi-Fi/WIMAX Applications. IEEE Trans. Consum. Electron. 2013, 2013, 467–475. [Google Scholar] [CrossRef]
- Oh, D.; Parhi, K.K. Low-Complexity Switch Network for Reconfigurable LDPC Decoders. IEEE Trans. Very Large Scale Integr. (VLSI) Syst. 2010, 18, 85–94. [Google Scholar] [CrossRef]
- Rovini, M.; Gentile, G.; Fanucci, L. Multi-size Circular Shifting Networks for Decoders of Structured LDPC Codes. Electron. Lett. 2007, 43, 938–940. [Google Scholar] [CrossRef]
- Xiang, B.; Zeng, X. A 4.84 mm2 847–955 Mb/s 397 mW Dual-path Fully-overlapped QC-LDPC Decoder for the WiMAX System in 0.13 µm CMOS. In Proceedings of the 2010 Symposium on VLSI Circuits, Honolulu, HI, USA, 16–18 June 2010; pp. 211–212. [Google Scholar]
- Peng, X.; Chen, Z.; Zhao, X.; Zhou, D.; Goto, S. A 115 mW 1Gbps QC-LDPC Decoder ASIC for WiMAX in 65nm CMOS. In Proceedings of the 2011 IEEE Asian Solid-State Circuits Conference, Jeju, Korea, 14 November 2011; pp. 317–320. [Google Scholar]
- Kang, H.-J.; Yang, B.-D. Low-complexity Multi-size Cyclic-shifter for QC-LDPC Codes. ETRI J. 2017, 39, 319–325. [Google Scholar] [CrossRef]
- Chen, T.; Vakilinia, K.; Member, S.; Divsalar, D.; Fellow, L.; Wesel, R.D.; Member, S. Protograph-Based Raptor-Like LDPC Codes. IEEE Trans. Commun. 2015, 63, 1522–1532. [Google Scholar] [CrossRef]
- Benes, V.E. Optimal Rearrangeable Multistage Connecting Networks. Bell Syst. Tech. J. 1964, 43, 1641–1656. [Google Scholar] [CrossRef]
- Tang, J.; Bhatt, T.; Sundaramurthy, V.; Parhi, K.K. Reconfigurable Shuffle Network Design in LDPC Decoders. In Proceedings of the IEEE 17th International Conference on Application-specific Systems, Architectures and Processors (ASAP’06), Steamboat Springs, CO, USA, 11–13 September 2006; pp. 81–86. [Google Scholar]
- Chen, X.; Lin, S.; Akella, V. QSN—A Simple Circular-Shift Network for Reconfigurable Quasi-Cyclic LDPC Decoders. IEEE Trans. Circuits Syst. II Exp. Briefs 2010, 57, 782–786. [Google Scholar] [CrossRef]
- Kang, H.-J.; Yang, B.-D. Low-complexity, High-speed Multi-size Cyclic-shifter for Quasi-cyclic LDPC Decoder. Electron. Lett. 2018, 54, 452–454. [Google Scholar] [CrossRef]
- Li, M.; Naessens, F.; Debacker, P.; Raghavan, P.; Desset, C.; Li, M.; Dejonghe, A.; Van Der Perre, L. An Area and Energy Efficient Half-row-paralleled Layer LDPC Decoder for the 802.11ad Standard. In Proceedings of the SiPS 2013 Proceedings, Taipei, Taiwan, 16–18 October 2013; pp. 112–117. [Google Scholar]







| Components | Resource Consumption | |
|---|---|---|
| Adders/Subtractors | Adders | 445,970 |
| Subtractors | 526,286 | |
| Comparators | Lessequal Comparators | 2070 |
| Greater Comparators | 481,022 | |
| Multiplexers | 732,228 | |
| Logic Shifters | 482,448 | |
| Proposed | RIP [23,24] | FC + MUXs [16] | FC + RIP [24] | |
|---|---|---|---|---|
| Maximum size P | 384 | 96 | 96 | 96 |
| CMOS technology | 65-nm | 32/28-nm | 130-nm | 32/28-nm |
| Message bits | 8-bit | 8-bit | 6-bit | 8-bit |
| Frequency (MHz) | 580 | 637 | 500 | 649 |
| Norm. Frequency (MHz) | 580 | 314 | 1000 | 320 |
| Area (mm) | 0.301 | 0.042 | 0.278 | 0.036 |
| Norm. Area (mm) | 0.301 | 0.696 | 0.371 | 0.599 |
Publisher’s Note: MDPI stays neutral with regard to jurisdictional claims in published maps and institutional affiliations. |
© 2022 by the authors. Licensee MDPI, Basel, Switzerland. This article is an open access article distributed under the terms and conditions of the Creative Commons Attribution (CC BY) license (https://creativecommons.org/licenses/by/4.0/).
Share and Cite
Nguyen, T.T.; Nguyen, T.T.B.; Lee, H. Low-Complexity Multi-Size Circular-Shift Network for 5G New Radio LDPC Decoders. Sensors 2022, 22, 1792. https://doi.org/10.3390/s22051792
Nguyen TT, Nguyen TTB, Lee H. Low-Complexity Multi-Size Circular-Shift Network for 5G New Radio LDPC Decoders. Sensors. 2022; 22(5):1792. https://doi.org/10.3390/s22051792
Chicago/Turabian StyleNguyen, Tuy Tan, Tram Thi Bao Nguyen, and Hanho Lee. 2022. "Low-Complexity Multi-Size Circular-Shift Network for 5G New Radio LDPC Decoders" Sensors 22, no. 5: 1792. https://doi.org/10.3390/s22051792
APA StyleNguyen, T. T., Nguyen, T. T. B., & Lee, H. (2022). Low-Complexity Multi-Size Circular-Shift Network for 5G New Radio LDPC Decoders. Sensors, 22(5), 1792. https://doi.org/10.3390/s22051792

