Human Control Model Estimation in Physical Human–Machine Interaction: A Survey
Abstract
1. Introduction
2. Motor Control in the Central Nervous System
3. Neuromuscular Dynamics Model
4. Sensory Dynamics
4.1. Visual System
4.2. Vestibular System
4.3. Proprioceptive Systems
4.4. Inter-Sensory Models
5. Human–Machine Control Models
5.1. McRuer’s Crossover Model
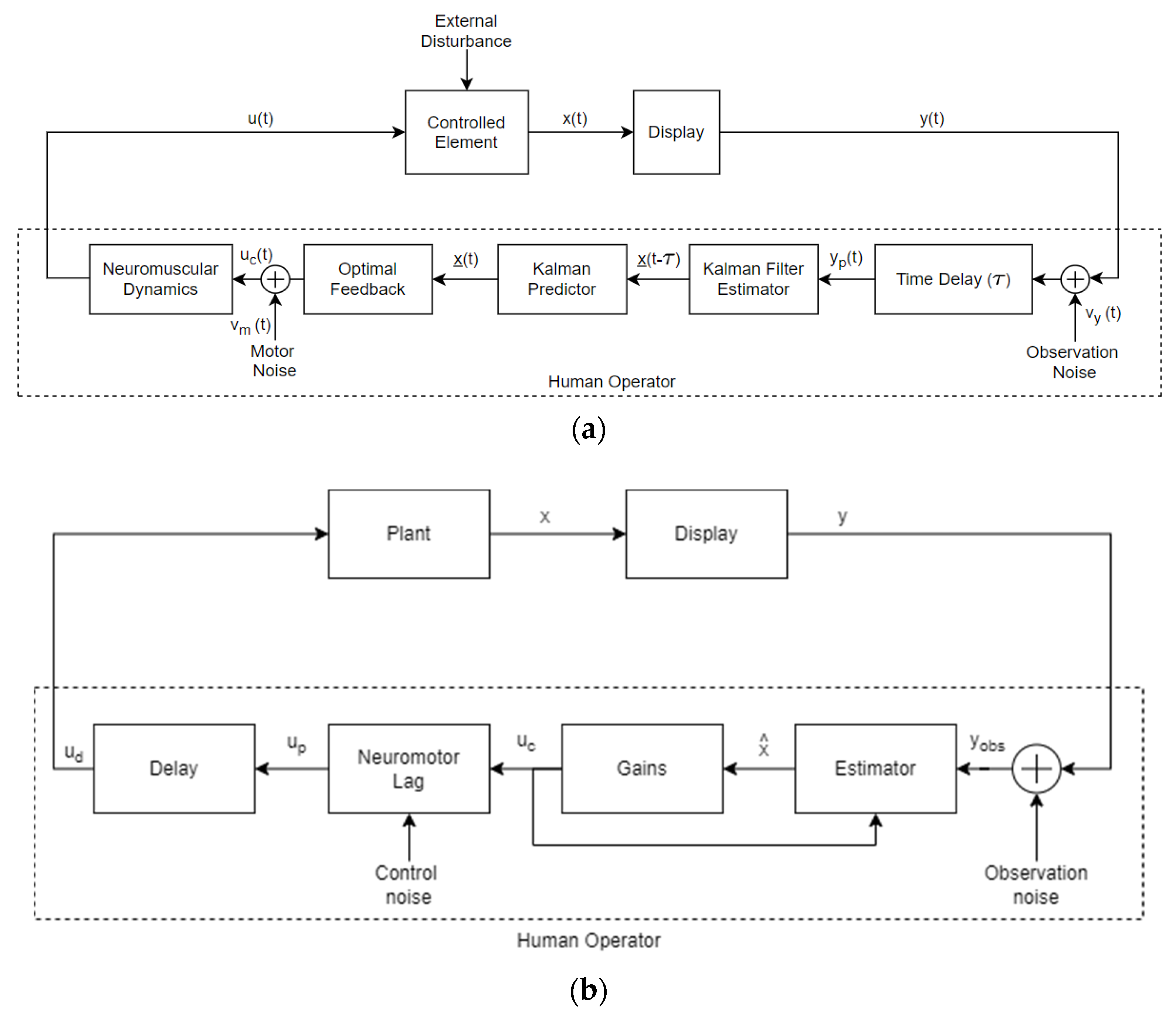
5.2. Optimal Control Model
- Kalman filter, which is used to model a human’s ability to deduce a system state from perceived information;
- Kalman predictor, which represents the compensation for inherent time delay;
- Optimal feedback, which builds optimal control uc based on yp input.
5.3. Structural Model
- k = 0: the controlled element is a constant;
- k = 1: the controlled element is an integrator;
- k = 2: the controlled element is a square integrator.
5.4. Descriptive Model
5.5. Biodynamic Models
6. Human–Machine Interfaces
7. Conclusions
Funding
Conflicts of Interest
References
- He, B.; Yuan, H.; Meng, J.; Gao, S. Brain-computer interfaces. In Neural Engineering; Springer: Cham, Switzerland, 2020; pp. 131–183. [Google Scholar]
- Seung, S. Connectome: How the Brain’s Wiring Makes Us Who We Are; HMH: Boston, MA, USA, 2012. [Google Scholar]
- Markram, H. The human brain project. Sci. Am. 2012, 306, 50–55. [Google Scholar] [CrossRef] [PubMed]
- Kawato, M.; Furukawa, K.; Suzuki, R. A hierarchical neural-network model for control and learning of voluntary movement. Biol. Cybern. 1987, 57, 169–185. [Google Scholar] [CrossRef] [PubMed]
- Ito, M. Mechanisms of motor learning in the cerebellum. Brain Res. 2000, 886, 237–245. [Google Scholar] [CrossRef]
- Jordan, M.I.; Rumelhart, D.E. Forward models: Supervised learning with a distal teacher. Cogn. Sci. 1992, 16, 307–354. [Google Scholar] [CrossRef]
- Feldman, A.G.; Levin, M.F. The equilibrium-point hypothesis–past, present and future. Adv. Exp. Med. Biol. 2009, 629, 699–726. [Google Scholar]
- Falisse, A.; Pitto, L.; Kainz, H.; Hoang, H.; Wesseling, M.; Van Rossom, S.; Jonkers, I. Physics-based simulations to predict the differential effects of motor control and musculoskeletal deficits on gait dysfunction in cerebral palsy: A retrospective case study. Front. Hum. Neurosci. 2020, 14, 40. [Google Scholar] [CrossRef]
- Groote, F.D.; Falisse, A. Rapid Predictive Simulations to Study the Interaction Between Motor Control and Musculoskeletal Dynamics in Healthy and Pathological Human Movement. In Proceedings of the International Conference on Neuro Rehabilitation, Pisa, Italy, 13–16 October 2020; Springer: Cham, Switzerland; pp. 327–331. [Google Scholar]
- Zou, H.; Tao, H.; Zhou, Z.; Hu, B. Identification of Mechanical Impedance Parameters of Human Upper Limbs Using Mechanical Perturbation Method. In Proceedings of the International Conference on Man-Machine-Environment System Engineering, Beijing, China, 23–25 October 2021; Springer: Singapore; pp. 141–147. [Google Scholar]
- Demir, U.; Kocaoğlu, S.; Akdoğan, E. Human impedance parameter estimation using artificial neural network for modelling physiotherapist motion. Biocybern. Biomed. Eng. 2016, 36, 318–326. [Google Scholar] [CrossRef]
- Tustin, A. The nature of the operator’s response in manual control, and its implications for controller design. J. Inst. Electr. Eng. Part IIA Autom. Regul. Servo Mech. 1947, 94, 190–206. [Google Scholar]
- Hess, R.A. Human-in-the-loop control. In Control System Applications; CRC Press: Boca Raton, FL, USA, 2018; pp. 327–334. [Google Scholar]
- Wang, K.; Su, J.; Zhang, P.; Huang, B.; Feng, W. Interaction Design of Display and Control Equipment Based on Man-Machine-Environment System Engineering. In Proceedings of the International Conference on Man-Machine-Environment System Engineering, Beijing, China, 23–25 October 2021; Springer: Singapore; pp. 869–877. [Google Scholar]
- Wu, G.; Wu, Y.; Lu, X.; Xu, S.; Wang, C. Human–Machine Interface Optimization Design Based on Ecological Interface Design (EID) Theory. In Proceedings of the International Conference on Man-Machine-Environment System Engineering, Beijing, China, 23–25 October 2020; Springer: Singapore; pp. 715–723. [Google Scholar]
- Ngo, H.Q.T.; Tran, A.S.; Dong, V.K.; Yan, J. Implementation of the Mathematical Model for Service Robot to Avoid Obstacles and Human. In Proceedings of the Future Technologies Conference, Vancouver, BC, Canada, 28–29 November 2021; Springer: Cham, Switzerland; pp. 513–525. [Google Scholar]
- Ngo, H.Q.T.; Le, V.N.; Thien, V.D.N.; Nguyen, T.P.; Nguyen, H. Develop the socially human-aware navigation system using dynamic window approach and optimize cost function for autonomous medical robot. Adv. Mech. Eng. 2020, 12, 1687814020979430. [Google Scholar] [CrossRef]
- Khoramshahi, M.; Billard, A. A dynamical system approach to task-adaptation in physical human-robot interaction. Auton. Robot. 2019, 43, 927–946. [Google Scholar] [CrossRef]
- Neto, P.; Simão, M.; Mendes, N.; Safeea, M. Gesture-based human-robot interaction for human assistance in manufacturing. Int. J. Adv. Manuf. Technol. 2019, 101, 119–135. [Google Scholar] [CrossRef]
- Ullrich, D.; Butz, A.; Diefenbach, S. The Development of Overtrust: An Empirical Simulation and Psychological Analysis in the Context of Human-Robot Interaction. Front. Robot. AI 2021, 8, 44. [Google Scholar] [CrossRef] [PubMed]
- Desideri, L.; Ottaviani, C.; Malavasi, M.; di Marzio, R.; Bonifacci, P. Emotional processes in human-robot interaction during brief cognitive testing. Comput. Hum. Behav. 2019, 90, 331–342. [Google Scholar] [CrossRef]
- Vasconez, J.P.; Carvajal, D.; Cheein, F.A. On the design of a human-robot interaction strategy for commercial vehicle driving based on human cognitive parameters. Adv. Mech. Eng. 2019, 11, 1687814019862715. [Google Scholar] [CrossRef]
- Wang, J.; Pradhan, M.R.; Gunasekaran, N. Machine learning-based human-robot interaction in ITS. Inf. Process. Manag. 2022, 59, 102750. [Google Scholar] [CrossRef]
- Rasmussen, J. Skills, rules, and knowledge; signals, signs, and symbols, and other distinctions in human performance models. IEEE Trans. Syst. Man Cybern. 1983, SMC-13, 257–266. [Google Scholar] [CrossRef]
- Xu, S.; Tan, W.; Efremov, A.V.; Sun, L.; Qu, X. Review of control models for human pilot behavior. Annu. Rev. Control 2017, 44, 274–291. [Google Scholar] [CrossRef]
- Miall, R.C.; Weir, D.J.; Wolpert, D.M.; Stein, J.F. Is the cerebellum a Smith predictor? J. Mot. Behav. 1993, 25, 203–216. [Google Scholar] [CrossRef]
- Wolpert, D.M.; Ghahramani, Z.; Jordan, M.I. An internal model for sensorimotor integration. Science 1995, 269, 1880–1882. [Google Scholar] [CrossRef]
- Feldman, A.G.; Goussev, V.; Sangole, A.; Levin, M.F. Threshold position control and the principle of minimal interaction in motor actions. Prog. Brain Res. 2007, 165, 267–281. [Google Scholar]
- Kawato, M. Internal models for motor control and trajectory planning. Curr. Opin. Neurobiol. 1999, 9, 718–727. [Google Scholar] [CrossRef]
- Dubois, D.M. Computing Anticipatory Systems. AIP Conf. Proc. 2001, 573, 706. [Google Scholar]
- Burdet, E.; Tee, K.P.; Mareels, I.; Milner, T.E.; Chew, C.M.; Franklin, D.W.; Kawato, M. Stability and motor adaptation in human arm movements. Biol. Cybern. 2006, 94, 20–32. [Google Scholar] [CrossRef] [PubMed]
- Feldman, A.G. Functional tuning of nervous system with control of movement or maintenance of a steady posture: II Controllable parameters of the muscles. Biophysics 1966, 11, 565–578. [Google Scholar]
- Bizzi, E.; Accornero, N.; Chapple, W.; Hogan, N. Posture control and trajectory formation during arm movement. J. Neurosci. 1984, 4, 2738–2744. [Google Scholar] [CrossRef]
- Flash, T. The control of hand equilibrium trajectories in multi-joint arm movements. Biol. Cybern. 1987, 57, 257–274. [Google Scholar] [CrossRef]
- Gomi, H.; Kawato, M. Equilibrium-point control hypothesis examined by measured arm-stiffness during multi-joint movement. Science 1996, 272, 117–120. [Google Scholar] [CrossRef]
- Latash, M.L.; Gottlieb, G.L. Reconstruction of shifting elbow joint compliant characteristics during fast and slow movements. Neuroscience 1991, 43, 697–712. [Google Scholar] [CrossRef]
- Katayama, M.; Kawato, M. Virtual trajectory and stiffness ellipse during multi-joint arm movement predicted by neural inverse models. Biol. Cybern. 1993, 69, 353–362. [Google Scholar] [CrossRef]
- Gribble, P.L.; Ostry, D.J. Compensation for interaction torques during single and multi-joint limb movement. J. Neurophysiol. 1999, 82, 2310–2326. [Google Scholar] [CrossRef]
- Morasso, P.G.; Schieppati, M. Can muscle stiffness alone stabilize upright standing? J. Neurophysiol. 1999, 82, 1622–1626. [Google Scholar] [CrossRef] [PubMed]
- Milner, T.E.; Cloutier, C. Compensation for mechanically unstable loading involuntary wrist movement. Exp. Brain Res. 1993, 94, 522–532. [Google Scholar] [CrossRef] [PubMed]
- Sanger, T.D. Neural network learning control of robot manipulators using gradually increasing task difficulty. IEEE Trans Robot. Autom. 1994, 10, 323–333. [Google Scholar] [CrossRef]
- Katayama, M.; Inoue, S.; Kawato, M. A strategy of motor learning using adjustable parameters for arm movement. In Proceedings of the 20th Annual International Conference of the IEEE Engineering in Medicine and Biology Society, Hong Kong, 29 October–1 November 1998; pp. 2370–2373. [Google Scholar]
- McRuer, D.T.; Graham, D.; Krendel, E.S.; Reisener, W. Human Pilot Dynamics in Compensatory Systems: Theory, Models and Experiments with Controlled-Element and Forcing Function Variations; AFFDL-TR-65-15; Elsevier Ltd.: Amsterdam, The Netherlands, 1965. [Google Scholar]
- McRuer, D.T.; Krendel, E.S. Mathematical Models of Human Pilot Behavior; Advisory Group for Aerospace Research and Development: Neuilly-Sur-Seine, France, 1974. [Google Scholar]
- Van Paasen, M.M.; Van Der Vaart, J.C.; Mulder, J.A. Model of the neuromuscular dynamics of the human pilot’s arm. J. Aircr. 2004, 41, 1482–1490. [Google Scholar] [CrossRef]
- Fayazi, S.A.; Wan, N.; Lucich, S.; Vahidi, A.; Mocko, G. Optimal pacing in a cycling time-trial considering cyclist’s fatigue dynamics. In Proceedings of the 2013 American Control Conference, Washington, DC, USA, 17–19 June 2013; pp. 6442–6447. [Google Scholar]
- Ma, L.; Chablat, D.; Bennis, F.; Zhang, W. A new simple dynamic muscle fatigue model and its validation. Int. J. Ind. Ergon. 2009, 39, 211–220. [Google Scholar] [CrossRef]
- Liu, J.Z.; Brown, R.W.; Yue, G.H. A dynamical model of muscle activation, fatigue, and recovery. Biophys. J. 2002, 82, 2344–2359. [Google Scholar] [CrossRef]
- Uppal, S.K.; Vaz, A. Motion Control of a Phalange Using Tendon-Based Actuation System: A Bond Graph Approach. In Machines, Mechanism and Robotics; Springer: Singapore, 2022; pp. 1479–1486. [Google Scholar]
- Mishra, N.; Vaz, A. Bond graph modeling of a 3-joint string-tube actuated finger prosthesis. Mech. Mach. Theory 2017, 117, 1–20. [Google Scholar] [CrossRef]
- Vaz, A.; Singh, K.; Dauphin-Tanguy, G. Bond graph model of extensor mechanism of finger-based on hook–string mechanism. Mech. Mach. Theory 2015, 91, 187–208. [Google Scholar] [CrossRef]
- Lone, M.M.; Cooke, A.K. Review of pilot models used in aircraft flight dynamics. Aerosp. Sci. Technol. 2014, 34, 55–74. [Google Scholar] [CrossRef]
- Tsang, P.S.; Vidulich, M.A. (Eds.) Principles and Practice of Aviation Psychology; CRC Press: Boca Raton, FL, USA, 2002. [Google Scholar]
- Previc, F.H.; Ergoline, W.R. (Eds.) Spatial Disorientation in Aviation; Aiaa: Reston, VA, USA, 2004; Volume 203. [Google Scholar]
- Curry, R.; Young, L.; Hoffman, W.; Kugel, D. A pilot model with visual and motion cues. In Proceedings of the AIAA Visual and Motion Simulation Conference, Dayton, OH, USA, 26–28 April 1976. [Google Scholar]
- Schmidt, D.K.; Bacon, B.J. An optimal control approach to pilot/vehicle analysis and the Neal–Smith criteria. J. Guid. Control Dyn. 1983, 6, 339–347. [Google Scholar]
- ADS-33E-PRF—Aeronautical Design Standard, Performance Specification, Handling Qualities Requirements for Military Rotorcraft; United States Army Aviation And Missile Command Aviation Engineering Directorate Redstone Arsenal: Huntsville, Alabama, 2000.
- Nguyen, A.H.; Mai, L.; Do, H.N. Visual Object Tracking Method of Spatio-temporal Context Learning with Scale Variation. In Proceedings of the International Conference on the Development of Biomedical Engineering in Vietnam, Ho Chi Minh, Vietnam, 20–22 July 2020; Springer: Cham, Switzerland; pp. 733–742. [Google Scholar]
- Henriques, J.; Caseiro, R.; Martins, P.; Batista, J. High-speed tracking with kernelized correlation filters. IEEE Trans Pattern Anal. Mach. Intell. 2015, 37, 583–596. [Google Scholar] [CrossRef] [PubMed]
- Chen, F.; Xie, W.; Xia, T. Target Tracking Algorithm Based on Kernel Correlation Filter with Anti-occlusion Mechanisms. In Proceedings of the 2020 15th IEEE International Conference on Signal Processing (ICSP), Beijing, China, 6–9 December 2020; Volume 1, pp. 220–225. [Google Scholar]
- Luo, W.; Xing, J.; Milan, A.; Zhang, X.; Liu, W.; Kim, T.K. Multiple object tracking: A literature review. Artif. Intell. 2021, 293, 103448. [Google Scholar] [CrossRef]
- Kumar, A.; Ghosh, I. Non-compliance behaviour of pedestrians and the associated conflicts at signalized intersections in India. Saf. Sci. 2022, 147, 105604. [Google Scholar] [CrossRef]
- Roy, A.; Hossain, M.; Muromachi, Y. A deep reinforcement learning-based intelligent intervention framework for real-time proactive road safety management. Accid. Anal. Prev. 2022, 165, 106512. [Google Scholar] [CrossRef]
- Heerspink, H.; Berkouwer, W.; Stroosma, O.; van Paassen, R.; Mulder, M.; Mulder, B. Evaluation of vestibular thresholds for motion detection in the Simona research simulator. In Proceedings of the AIAA Modeling and Simulation Technologies Conference and Exhibit, San Francisco, CA, USA, 15–18 August 2005; p. 6502. [Google Scholar]
- Halligan, P.W.; Zeman, A.; Berger, A. Phantoms in the Brain. BMJ 1999, 319, 587–588. [Google Scholar] [CrossRef]
- Purves, D.; Lotto, R.B. Why We See What We Do Redux: A Wholly Empirical Theory of Vision; Sinauer Associates: Sunderland, MA, USA, 2011. [Google Scholar]
- Berthoz, A.; Pavard, B.; Young, L.R. Perception of linear horizontal self-motion induced by peripheral vision (linearvection) basic characteristics and visual-vestibular interactions. Exp. Brain Res. 1975, 23, 471–489. [Google Scholar] [CrossRef]
- Fernandez, C.; Goldberg, J.M. Physiology of peripheral neurons innervating semicircular canals of the squirrel monkey. II. Response to sinusoidal stimulation and dynamics of peripheral vestibular system. J. Neurophysiol. 1971, 34, 661–675. [Google Scholar] [CrossRef]
- Hosman, R.; Stassen, H. Pilot’s perception in the control of aircraft motions. Control Eng. Pract. 1999, 7, 1421–1428. [Google Scholar] [CrossRef]
- Telban, R.; Cardullo, F.; Guo, L. Investigation of mathematical models of otolith organs for human centered motion cueing algorithms. In Proceedings of the Modeling and Simulation Technologies Conference, Denver, CO, USA, 14–17 August 2000; p. 4291. [Google Scholar]
- McRuer, D.T.; Graham, D.; Krendel, E.S.; Reisner, W., Jr. Human Pilot Dynamics in Compensatory Systems; Air Force Flight Dynamics Lab.: Dayton, OH, USA, 1965. [Google Scholar]
- Phatak, A.; Weinert, H.; Segall, I.; Day, C.N. Identification of a modified optimal control model for the human operator. Automatica 1976, 12, 31–41. [Google Scholar] [CrossRef]
- Ragazzini, J.R. Engineering aspects of the human being as a servomechanism. In Proceedings of the Meeting of the American Psychological Association, Washington, DC, USA, 19 May 1948. [Google Scholar]
- Suzuki, S.; Furuta, K. Adaptive impedance control to enhance human skill on a haptic interface system. J. Control Sci. Eng. 2012, 2012, 1–10. [Google Scholar] [CrossRef]
- Martínez-García, M.; Gordon, T.; Shu, L. Extended crossover model for human-control of fractional order plants. IEEE Access 2017, 5, 27622–27635. [Google Scholar] [CrossRef]
- Takács, Á.; Kovács, L.; Rudas, I.; Precup, R.E.; Haidegger, T. Models for force control in telesurgical robot systems. Acta Polytech. 2015, 12, 95–114. [Google Scholar]
- Baron, S.; Kleinman, D.L.; Levison, W.H. An optimal control model of human response part II: Prediction of human performance in a complex task. Automatica 1970, 6, 371–383. [Google Scholar] [CrossRef]
- Kleinman, D.L.; Baron, S.; Levison, W.H. An optimal control model of human response part I: Theory and validation. Automatica 1970, 6, 357–369. [Google Scholar] [CrossRef]
- Wierenga, R.D. An evaluation of a pilot model based on Kalman filtering and optimal control. IEEE Trans. Man-Mach. Syst. 1969, 10, 108–117. [Google Scholar] [CrossRef]
- Innocenti, M. The Optimal Control Pilot Model and Applications; Advisory Group for Aerospace Research and Development: Neuilly-Sur-Seine, France, 1988. [Google Scholar]
- Doman, D. Optimal control pilot modeling for resolving Cooper–Harper rating discrepancies. In Proceedings of the AIAA Atmospheric Flight Mechanics Conference and Exhibit, Portland, OR, USA, 9–11 August 1999; pp. 176–186. [Google Scholar]
- Davidson, J.B.; Schmidt, D.K. Modified Optimal Control Pilot Model for Computer-Aided Design and Analysis; NASA-TM-4384: Washington, DC, USA, 1992. [Google Scholar]
- Doman, D.B.; Anderson, M.R. A fixed-order optimal control model of human operator response. Automatica 2000, 36, 409–418. [Google Scholar] [CrossRef]
- Baron, S.; Kleinman, D.L. The human as an optimal controller and information processor. IEEE Trans. Man-Mach. Syst. 1969, 10, 9–17. [Google Scholar] [CrossRef]
- Wang, C.; Liao, F.; Han, J.; Li, G. A revised optimal control pilot model for computer simulation. In Proceedings of the 2008 2nd International Conference on Bioinformatics and Biomedical Engineering, Shanghai, China, 16–18 May 2008. [Google Scholar]
- Gai, E.G.; Curry, R.E. A model of the human observer in failure detection tasks. IEEE Trans. Syst. Man Cybern. SMC 1976, 6, 85–94. [Google Scholar] [CrossRef]
- Kleinman, D.L.; Killingsworth, W.R. A predictive pilot model for STOL aircraft landing. In NASA Contractor Report; National Aeronautics and Space Administration: Washington, DC, USA, 1974. [Google Scholar]
- Hess, R.A. Obtaining multi-loop pursuit-control pilot models from computer simulation. Proc. Inst. Mech. Eng. Part G J. Aerosp. Eng. 2008, 222, 189–199. [Google Scholar] [CrossRef]
- Hess, R.A. Multi-axis pilot modelling: Models and methods for wake vortex encounter simulations. In Proceedings of the Presentation to WakeNet-3 Europe Safety Workshop, Berlin, Germany, 1–2 June 2010. [Google Scholar]
- Efremov, A.V.; Ogloblin, A.V.; Koshelenko, A.V. Evaluation and prediction of aircraft handling qualities. In Proceedings of the 23rd Atmospheric Flight Mechanics Conference, Boston, MA, USA, 10–12 August 1998. [Google Scholar]
- Edkins, C.R. The Prediction of Pilot Opinion Ratings Using Optimal and Sub-Optimal Pilot Models. Ph.D. Thesis, Air Force Institute of Technology, Dayton, OH, USA, 1994. [Google Scholar]
- Hess, R.A. Prediction of pilot opinion ratings using an optimal pilot model. Hum. Factors J. Hum. Factors Ergon. Soc. 1977, 19, 459–475. [Google Scholar] [CrossRef]
- Schönfeld, A. Modified optimal control model and wake vortex encounter. In Proceedings of the Presentation at the WakeNet3–Europe Specific Workshop: Models and Methods for WVE Simulations, Berlin, Germany, 2 June 2010. [Google Scholar]
- Lone, M.M. Pilot Modeling for Airframe Loads Analysis. Ph.D. Thesis, University of Cranfield, Bedford, UK, 1998. [Google Scholar]
- Lone, M.M.; Cooke, A.K. Pilot-model-in-the-loop simulation environment to study large aircraft dynamics. Proc. Inst. Mech. Eng. Part G J. Aerosp. Eng. 2012, 227, 555–568. [Google Scholar] [CrossRef]
- Hess, R.A. Optimal control approximations for time-delay systems. AIAA J. 1972, 10, 1536–1538. [Google Scholar] [CrossRef]
- Levison, W.H. Alternative treatments of attention-sharing within the optimal control model. In Proceedings of the IEEE International Conference on Systems, Man and Cybernetics, Cambridge, MA, USA, 14–17 November 1989; pp. 744–749. [Google Scholar]
- Gawthrop, P.; Loram, I.; Lakie, M.; Gollee, H. Intermittent control: A computational theory of human control. Biol. Cybern. 2011, 104, 31–51. [Google Scholar] [CrossRef] [PubMed]
- Johannsen, G.; Rouse, W.B. Mathematical concepts for modeling human behavior in complex man-machine systems. Hum. Factors 1979, 21, 733–747. [Google Scholar] [CrossRef]
- Pattipati, K.R.; Kleinman, D.L.; Ephrath, A.R. A dynamic decision model of human task selection performance. IEEE Trans. Syst. Man Cybern. SMC 1983, 13, 145–166. [Google Scholar] [CrossRef]
- Menner, M.; Worsnop, P.; Zeilinger, M.N. Constrained inverse optimal control with application to a human manipulation task. IEEE Trans. Control Syst. Technol. 2019, 29, 826–834. [Google Scholar] [CrossRef]
- Mainprice, J.; Hayne, R.; Berenson, D. Predicting human reaching motion in collaborative tasks using inverse optimal control and iterative re-planning. In Proceedings of the 2015 IEEE International Conference on Robotics and Automation (ICRA), Seattle, WA, USA, 26–30 May 2015; pp. 885–892. [Google Scholar]
- Jin, I.G.; Orosz, G. Connected cruise control among human-driven vehicles: Experiment-based parameter estimation and optimal control design. Transp. Res. Part C Emerg. Technol. 2018, 95, 445–459. [Google Scholar]
- Hess, R.A. Structural model of the adaptive human pilot. J. Guid. Control Dyn. 1979, 3, 416–423. [Google Scholar] [CrossRef]
- Hess, R.A. A rationale for human operator pulsive control behavior. J. Guid. Control 1979, 2, 221–227. [Google Scholar] [CrossRef]
- Smith, R.H. A theory for handling qualities with applications to MIL-F-8785B. In Technical Report AFFDL-TR-75-119; Air Force Flight Dynamics Lab.: Dayton, OH, USA, 1975. [Google Scholar]
- Hess, R.A. A pilot modeling technique for handling-qualities research. In Proceedings of the 6th Atmospheric Flight Mechanics Conference, Danvers, MA, USA, 11–13 August 1980. [Google Scholar]
- Hess, R.A. Analyzing manipulator and feel system effects in aircraft flight control. IEEE Trans. Syst. Man Cybern. 1990, 20, 923–931. [Google Scholar] [CrossRef]
- Magdaleno, R.E.; McRuer, D.T. Experimental validation and analytical elaboration for models of the pilot’s neuromuscular subsystem in tracking tasks. In NASA Contractor Report; National Aeronautics and Space Administration: Washington, DC, USA, 1971. [Google Scholar]
- Hess, R.A. Model for human use of motion cues in vehicular control. J. Guid. Control Dyn. 1990, 13, 476–482. [Google Scholar] [CrossRef]
- Hess, R.A. Effects of time delays on systems subject to manual control. J. Guid. Control Dyn. 1984, 7, 416–421. [Google Scholar] [CrossRef]
- Hess, R.A. Unified theory for aircraft handling qualities and adverse aircraft-pilot coupling. J. Guid. Control Dyn. 1997, 20, 1141–1148. [Google Scholar] [CrossRef]
- George, G.R. New Methods of Mathematical Modeling of Human Behavior in the Manual Tracking Task. Ph.D. Thesis, State University of New York at Binghamton, New York, NY, USA, 2008. [Google Scholar]
- Heffley, R. Use of a task-pilot-vehicle (TPV) model as a tool for flight simulator math model development. In Proceedings of the AIAA Guidance, Navigation, and Control Conference, Toronto, ON, Canada, 2–5 August 2010. [Google Scholar]
- Efremov, A.V.; Tjaglik, M.S. The development of perspective displays for highly precise tracking tasks. In Advances in Aerospace Guidance, Navigation and Control; Springer: Berlin/Heidelberg, Germany, 2011; pp. 163–174. [Google Scholar]
- Efremov, A.V.; Tjaglik, M.S.; Tiumentzev, U.V.; Tan, W. Pilot behavior modeling and its application to manual control tasks. IFAC-Pap. 2016, 49, 159–164. [Google Scholar] [CrossRef]
- Hess, R.A.; Malsbury, T. Closed-loop assessment of flight simulator fidelity. J. Guid. Control Dyn. 1991, 14, 191–197. [Google Scholar] [CrossRef]
- Hess, R.A.; Malsbury, T.; Atencio, A., Jr. Flight simulator fidelity assessment in a rotorcraft lateral translation maneuver. J. Guid. Control Dyn. 1993, 16, 79–85. [Google Scholar] [CrossRef]
- Hess, R.A.; Siwakosit, W. Assessment of flight simulator fidelity in multiaxis tasks including visual cue quality. J. Aircr. 2001, 38, 607–614. [Google Scholar] [CrossRef]
- Zeyada, Y.; Hess, R.A. Computer-aided assessment of flight simulator fidelity. J. Aircr. 2003, 40, 173–180. [Google Scholar] [CrossRef]
- Hess, R.A. Rudder control strategies and force/feel system designs in transport aircraft. J. Guid. Control Dyn. 2005, 28, 1251–1262. [Google Scholar] [CrossRef]
- Hess, R.A. Theory for aircraft handling qualities based upon a structural pilot model. J. Guid. Control Dyn. 1989, 12, 792–797. [Google Scholar] [CrossRef]
- Hess, R.A.; Sunyoto, I. Toward a unifying theory for aircraft handling qualities. J. Guid. Control Dyn. 1985, 8, 40–46. [Google Scholar] [CrossRef]
- Afloare, A.I.; Ionita, A. Prediction of the handling qualities and pilot-induced oscillation rating levels. INCAS Bull. 2014, 6, 3–13. [Google Scholar]
- Hess, R.A.; Joyce, R. Analytical investigation of transport aircraft handling qualities. In Proceedings of the AIAA Atmospheric Flight Mechanics Conference, Boston, MA, USA, 19–22 August 2013; pp. 19–22. [Google Scholar]
- Grant, O.L.; Stol, K.A.; Swain, A.; Hess, R.A. Handling qualities of a twin ducted-fan aircraft: An analytical evaluation. J. Guid. Control Dyn. 2015, 38, 1126–1131. [Google Scholar] [CrossRef]
- Weber, G.; Efremov, A.V.; Ogloblin, A.V. Development of criteria for flying qualities prediction using structural modelling of human pilot behaviour in the longitudinal precise tracking task. In Proceedings of the European Conference for Aerospace Sciences, Moscow, Russia, 7 July 2005; pp. 4–7. [Google Scholar]
- Gibson, J. The Definition, Understanding and Design of Aircraft Handling Qualities; Delft University Press: Delft, The Netherlands, 1997. [Google Scholar]
- Padfield, G.D. The making of helicopter flying qualities: A requirements perspective. Aeronaut. J. 1998, 102, 409–437. [Google Scholar]
- Hosman, R. Pilot’s Perception and Control of Aircraft Motions; Delft University Press: Delft, The Netherlands, 1996. [Google Scholar]
- Hosman, R.; Schuring, J.; Van der Geest, P. Pilot model development for the manual balked landing maneuver. In Proceedings of the AIAA Modeling and Simulation Technologies Conference and Exhibit, San Francisco, CA, USA, 15–18 August 2005. [Google Scholar]
- Hosman, R.; Van der Vaart, J.C. Vestibular models and thresholds of motion perception. In Results of Tests in a Flight Simulator; Delft University of Technology: Delft, The Netherlands, 1978. [Google Scholar]
- Hosman, R.; Van der Vaart, J.C. Effects of vestibular and visual motion perception on task performance. Acta Psychol. 1981, 48, 271–287. [Google Scholar] [CrossRef]
- Zaal, P.M.T.; Pool, D.M.; Mulder, M.; Van Paassen, M.M. New types of target inputs for multi-modal pilot model identification. In Proceedings of the AIAA Modeling and Simulation Technologies Conference and Exhibit, Honolulu, HI, USA, 18–21 August 2008; pp. 18–21. [Google Scholar]
- Mulder, M.; Kaljouw, W.J.; Van Paassen, M.M. Parameterized multi-loop model of pilot’s use of central and peripheral visual motion cues. In Proceedings of the AIAA Modeling and Simulation Technologies Conference and Exhibit, San Francisco, CA, USA, 15–18 August 2005. [Google Scholar]
- Grant, P.R.; Yam, B.; Hosman, R.; Schroeder, J.A. The effect of simulator motion on pilot’s control behavior for helicopter yaw control tasks. In Proceedings of the AIAA Modeling and Simulation Technologies Conference, San Francisco, CA, USA, 15–18 August 2005. [Google Scholar]
- Groen, E.L.; Smaili, M.H.; Hosman, R.J. Perception model analysis of flight simulator motion for a decrab maneuver. J. Aircr. 2007, 44, 427–435. [Google Scholar] [CrossRef][Green Version]
- Griffin, M.J. The validation of biodynamic models. Clin. Biomech. 2001, 16, S81–S92. [Google Scholar] [CrossRef]
- Masarati, P.; Quaranta, G.; Bernardini, A.; Guglieri, G. Voluntary pilot action through biodynamics for helicopter flight dynamics simulation. J. Guid. Control Dyn. 2015, 38, 431–441. [Google Scholar] [CrossRef]
- Pavel, M.D.; Jump, M.; Dang-Vu, B.; Masarati, P.; Gennaretti, M.; Ionita, A.; Zaichik, L.; Smaili, H.; Quaranta, G.; Yilmaz, D.; et al. Adverse rotorcraft pilot couplings—Past, present and future challenges. Prog. Aerosp. Sci. 2013, 62, 1–51. [Google Scholar] [CrossRef]
- Venrooij, J.; Van Paassen, M.M.; Mulder, M.; Abbink, D.A.; Mulder, M.; Van Der Helm, F.C.; Bülthoff, H.H. A framework for biodynamic feedthrough analysis—Part I: Theoretical foundations. IEEE Trans. Cybern. 2014, 44, 1686–1698. [Google Scholar] [CrossRef]
- Venrooij, J.; Van Paassen, M.M.; Mulder, M.; Abbink, D.A.; Mulder, M.; Van Der Helm, F.C.; Bülthoff, H.H. A framework for biodynamic feedthrough analysis—Part II: Validation and application. IEEE Trans. Cybern. 2014, 44, 1699–1710. [Google Scholar] [CrossRef] [PubMed]
- Dieterich, O.; Götz, J.; Dang Vu, B.; Haverdings, H.; Masarati, P.; Pavel, M.; Michael, J.; Genaretti, M. Adverse rotorcraft-pilot coupling: Recent research activities in Europe. In Proceedings of the 34th European Rotorcraft Forum, Liverpool, UK, 16–19 September 2008. [Google Scholar]
- Kitazaki, S.; Griffin, M.J. A modal analysis of whole-body vertical vibration, using a finite element model of the human body. J. Sound Vib. 1997, 200, 83–103. [Google Scholar] [CrossRef]
- Sirouspour, M.R.; Salcudean, S.E. Suppressing operator-induced oscillations in manual control systems with movable bases. IEEE Trans. Control Syst. Technol. 2003, 11, 448–459. [Google Scholar] [CrossRef]
- Sövényi, S.; Gillespie, R.B. Cancellation of biodynamic feedthrough in-vehicle control tasks. IEEE Trans. Control Syst. Technol. 2007, 15, 1018–1029. [Google Scholar] [CrossRef]
- Kitazaki, S.; Griffin, M.J. Resonance behaviour of the seated human body and effects of posture. J. Biomech. 1997, 31, 143–149. [Google Scholar] [CrossRef]
- Matsumoto, Y.; Griffin, M.J. Movement of the upper-body of seated subjects exposed to vertical whole-body vibration at the principal resonance frequency. J. Sound Vib. 1998, 215, 743–762. [Google Scholar] [CrossRef]
- Levison, W.H.; Harrah, C.B. Biomechanical and performance response of man in six different directional axis vibration environments. In Aerospace Medical Research Laboratory Technical Report AMRL-TR-77-71; Bolt Beranek and Newman Inc.: Cambridge, MA, USA, 1977. [Google Scholar]
- Hike, G. A biomechanical pilot model for prediction of roll ratcheting. In Proceedings of the AIAA Atmospheric Flight Mechanics Conference, Portland, OR, USA, 9–11 August 1999; pp. 187–196. [Google Scholar]
- Matsumoto, Y.; Griffin, M.J. Modelling the dynamic mechanisms associated with the principal resonance of the seated human body. Clin. Biomech. 2001, 16, S31–S44. [Google Scholar] [CrossRef]
- Johnston, D.E.; Aponso, B.L. Design considerations of manipulator and feel system characteristics in roll tracking. In NASA Contractor Report; National Aeronautics and Space Administration: Washington, DC, USA, 1988. [Google Scholar]
- Raney, D.L.; Jackson, E.B.; Buttrill, C.S. Simulation study of impact of aeroelastic characteristics on flying qualities of a high speed civil transport. In NASA Technical Report; National Aeronautics and Space Administration: Washington, DC, USA, 2002. [Google Scholar]
- Raney, D.L.; Jackson, E.B.; Buttrill, C.S.; Adams, W.M. The impact of structural vibration on flying qualities of a supersonic transport. In Proceedings of the AIAA Atmospheric Flight Mechanics Conference, Montreal, QC, Canada, 6–9 August 2001. [Google Scholar]
- Venrooij, J.; Mulder, M.; van Paassen, M.M.; Mulder, M.; Abbink, D.A. Relating biodynamic feedthrough to neuromuscular admittance. In Proceedings of the 2009 IEEE International Conference on Systems, Man and Cybernetics, San Antonio, TX, USA, 11–14 October 2009; pp. 1668–1673. [Google Scholar]
- Coe, T.E.; Xing, J.T.; Shenoi, R.A.; Taunton, D. A simplified 3-D human body–seat interaction model and its applications to the vibration isolation design of high-speed marine craft. Ocean. Eng. 2009, 36, 732–746. [Google Scholar] [CrossRef]
- Masarati, P.; Quaranta, G.; Zaichik, L.; Yashin, Y.; Desyatnik, P.; Pavel, M.D.; Venrooij, J.; Smaili, H. Biodynamic Pilot Modelling for Aeroelastic A/RPC; European Rotorcraft Forum: Moscow, Russia, 2013. [Google Scholar]
- Eskandari, N.; Dumont, G.A.; Wang, Z.J. Delay-incorporating observability and predictability analysis of safety-critical continuous-time systems. IET Control Theory Appl. 2015, 9, 1692–1699. [Google Scholar] [CrossRef]
- Drexler, D.A.; Takács, A.; Nagy, T.D.; Haidegger, T. Handover Process of Autonomous Vehicles-technology and application challenges. Acta Polytech. Hung. 2019, 16, 235–255. [Google Scholar]
- Scibilia, A.; Laghi, M.; De Momi, E.; Peternel, L.; Ajoudani, A. A self-adaptive robot control framework for improved tracking and interaction performances in low-stiffness teleoperation. In Proceedings of the 2018 IEEE-RAS 18th International Conference on Humanoid Robots (Humanoids), Beijing, China, 6–9 November 2018; pp. 280–283. [Google Scholar]
- Ajoudani, A.; Tsagarakis, N.; Bicchi, A. Tele-impedance: Teleoperation with impedance regulation using a body–machine interface. Int. J. Robot. Res. 2012, 31, 1642–1656. [Google Scholar] [CrossRef]
- Hirche, S.; Buss, M. Human-oriented control for haptic teleoperation. Proc. IEEE 2012, 100, 623–647. [Google Scholar] [CrossRef]
- Takács, Á.; Rudas, I.J.; Haidegger, T. The other end of human–robot interaction: Models for safe and efficient tool–tissue interactions. In Human–Robot Interaction; Chapman and Hall/CRC: Boca Raton, FL, USA, 2019; pp. 137–170. [Google Scholar]










| Rasmussen Behavior Classification | Xu et al. Models Classification | Control Models |
|---|---|---|
| Skill-based | Based on control theory Based on human physiology | Crossover model Optimal control model Structural model Descriptive model Biodynamic models |
| Rule-based Knowledge-based | Based on intelligent techniques | Fuzzy control models Neural network models Models based on other machine learning techniques |
Publisher’s Note: MDPI stays neutral with regard to jurisdictional claims in published maps and institutional affiliations. |
© 2022 by the authors. Licensee MDPI, Basel, Switzerland. This article is an open access article distributed under the terms and conditions of the Creative Commons Attribution (CC BY) license (https://creativecommons.org/licenses/by/4.0/).
Share and Cite
Scibilia, A.; Pedrocchi, N.; Fortuna, L. Human Control Model Estimation in Physical Human–Machine Interaction: A Survey. Sensors 2022, 22, 1732. https://doi.org/10.3390/s22051732
Scibilia A, Pedrocchi N, Fortuna L. Human Control Model Estimation in Physical Human–Machine Interaction: A Survey. Sensors. 2022; 22(5):1732. https://doi.org/10.3390/s22051732
Chicago/Turabian StyleScibilia, Adriano, Nicola Pedrocchi, and Luigi Fortuna. 2022. "Human Control Model Estimation in Physical Human–Machine Interaction: A Survey" Sensors 22, no. 5: 1732. https://doi.org/10.3390/s22051732
APA StyleScibilia, A., Pedrocchi, N., & Fortuna, L. (2022). Human Control Model Estimation in Physical Human–Machine Interaction: A Survey. Sensors, 22(5), 1732. https://doi.org/10.3390/s22051732

