SP-WVD with Adaptive-Filter-Bank-Supported RF Sensor for Low RCS Targets’ Nonlinear Micro-Doppler Signature/Pattern Imaging System
Abstract
1. Introduction
2. Mathematical Descriptions
2.1. Short-Term Fourier Transform
2.2. Wavelet Transform
2.3. Smoothed Pseudo-Wigner–Ville Distribution with an Adaptive Filter Bank
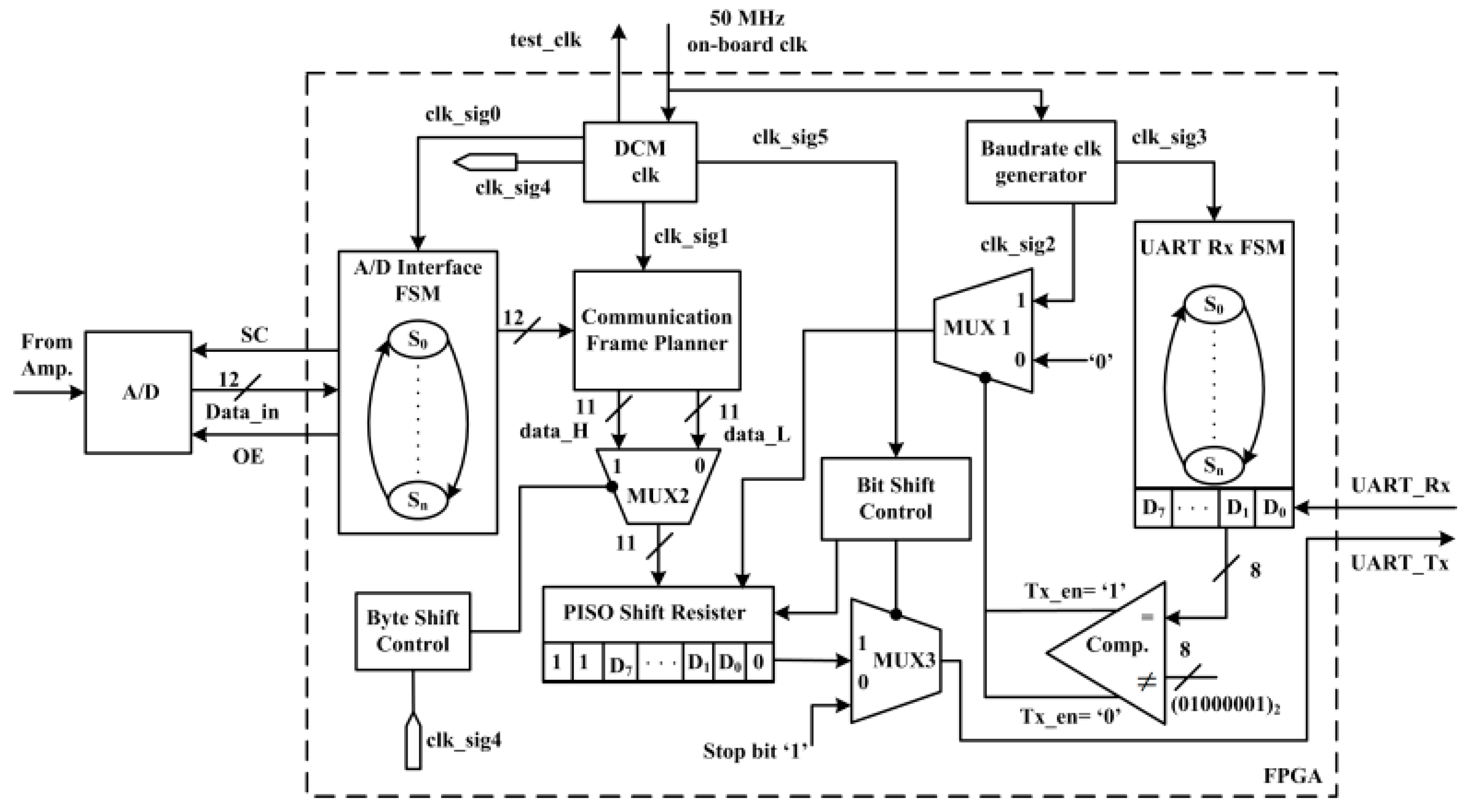
3. Design for RF Sensor and Experiments
- (a)
- Acquisition of RF sensor signal/data samples at 10 kHz: raw non-stationary multifrequency data/samples having the targets’ behavioral micro-Doppler signature/pattern profiles;
- (b)
- Plotting the time series data of the RF sensor;
- (c)
- (d)
- Computation and plotting of the power spectrum of sensor data using Equation (1);
- (e)
- Extracting the main features from the power spectrum of sensor data (from the results of step (d) to decide/design the adaptive decomposition filter bank structure;
- (f)
- (g)
- Sub-level decomposition of the sensor signal: the required levels, within the Doppler band, are obtained using enough LPFs and BPFs, i.e., the decomposition filter bank structure;
- (h)
- Responses of all LPFs and BPFs are linearly amplified using a constant gain of 20 dB;
- (i)
- Amplified signals are passed through the SP-WVD algorithm (Equation (12)), and all computations are performed, in parallel, using parloop in the MATLAB environment;
- (j)
- Summing the results of all SP-WVD channels: sum = { SP-WVD (LPF1) + SP-WVD (LPF2) + …..+ SP-WVD (LPFx) } + { SP-WVD(BPF1)+ SP-WVD(BPF2) +…….+ SP-WVD (BPFy) }, where ; the values of H and I are integers and depend on the Doppler bandwidth;
- (k)
- Micro-Doppler signature/pattern imaging based on the results of the summed SP-WVD.
| Algorithm 1. Pseudo Code: Proposed SP-WVD with an adaptive filter bank |
|
4. Results and Data Analysis
4.1. Experimental Micro-Doppler Signature/Pattern Generation Accuracy Comparative Analysis
4.2. Recognition of the Micro-Doppler Signature/Pattern of Two Targets’ Motions: Rotational Propeller System and Flapping Bionic Bird
4.3. Extraction of Micro-Doppler Signature/Pattern Profiles of Three Targets’ Motions: Three- and Two-Blade Rotational Propeller Systems and a Flapping Bird
4.4. Signature/Pattern Imaging of a Static Rotational (Propeller System) and a Guided Orbital Motion Target
4.5. Behavioral Imaging of Activities of Three Different Targets: Three-Blade Propeller Rotation System, Kinetic Warhead Motion, and Bird’s Flapping Action
5. State-of-the-Art (SOTA) Comparative Discussion
6. Conclusions
Author Contributions
Funding
Institutional Review Board Statement
Informed Consent Statement
Data Availability Statement
Acknowledgments
Conflicts of Interest
References
- Skolnik, M.I. Introduction to Radar System, 3rd ed.; McGraw Hill Education: New York, NY, USA, 2001. [Google Scholar]
- Gite, T.Y.; Pradeep, P.G.; Raj, A.A.B. Design and Evaluation of C-Band FMCW Radar System. In Proceedings of the 2nd International Conference on Trends in Electronics and Informatics (ICOEI), Tirunelveli, India, 11–12 May 2018; IEEE: New York, NY, USA, 2018; pp. 1274–1276. [Google Scholar]
- Anan, A.P.L.; Kumawat, H.C.; Raj, A.B. Moving Target Detection in Foliage Environment using FMCW Radar. In Proceedings of the 5th International Conference on Communication and Electronics Systems (ICCES), Coimbatore, India, 10–12 June 2020; IEEE: New York, NY, USA, 2020; pp. 418–421. [Google Scholar]
- Molchanov, P.; Harmanny, R.I.; De Wit, J.J.; Egiazarian, K.; Astola, J. Classification of small UAVs and birds by micro-Doppler signatures. Int. J. Microw. Wirel. Technol. 2014, 6, 435–444. [Google Scholar] [CrossRef]
- Rahman, S.; Robertson, D.A. Radar micro-Doppler signatures of drones and birds at K-band and W-band. Sci. Rep. 2018, 8, 1–11. [Google Scholar] [CrossRef] [PubMed]
- Farshchian, M.; Selesnick, I.; Parekh, A. Bird body and wing-beat radar Doppler signature separation using sparse optimization. In Proceedings of the 24th International Workshop on Compressed Sensing Theory and its Applications to Radar, Sonar and Remote Sensing (CoSeRa), Aachen, Germany, 19–22 September 2016; IEEE: New York, NY, USA, 2016; pp. 71–74. [Google Scholar]
- Behera, D.K.; Raj, A.B. Drone Detection and Classification using Deep Learning. In Proceedings of the 4th International Conference on Intelligent Computing and Control Systems (ICICCS), Madurai, India, 13–15 May 2020; IEEE: New York, NY, USA, 2020; pp. 1012–1016. [Google Scholar]
- Chen, V.C. The Micro-Doppler Effect in Radar, 1st ed.; Artech House: Norwood, MA, USA, 2011. [Google Scholar]
- Rajkumar, C.; Raj, A.B. Design and Development of DSP Interfaces and Algorithm for FMCW Radar Altimeter. In Proceedings of the 4th International Conference on Recent Trends on Electronics, Information, Communication & Technology (RTEICT), Bangalore, India, 17–18 May 2019; IEEE: New York, NY, USA, 2019; pp. 720–725. [Google Scholar]
- Mazumder, J.; Raj, A.B. Detection and Classification of UAV Using Propeller Doppler Profiles for Counter UAV Systems. In Proceedings of the 5th International Conference on Communication and Electronics Systems (ICCES), Coimbatore, India, 10–12 June 2020; IEEE: New York, NY, USA, 2020; pp. 221–227. [Google Scholar]
- Garg, U.; Raj, A.A.B.; Ray, K.P. Cognitive Radar Assisted Target Tracking: A Study. In Proceedings of the 3rd International Conference on Communication and Electronics Systems (ICCES), Coimbatore, India, 15–16 October 2018; IEEE: New York, NY, USA, 2018; pp. 427–430. [Google Scholar]
- Gong, J.; Yan, J.; Li, D.; Kong, D.; Hu, H. Interference of radar detection of drones by birds. Prog. Electromagn. Res. M 2019, 81, 1–11. [Google Scholar] [CrossRef]
- Jian, M.; Lu, Z.; Chen, V.C. Experimental study on radar micro-Doppler signatures of unmanned aerial vehicles. In Proceedings of the 2017 IEEE Radar Conference (RadarConf), Seattle, WA, USA, 8–12 May 2017; IEEE: New York, NY, USA, 2017; pp. 854–857. [Google Scholar]
- Ritchie, M.; Fioranelli, F.; Borrion, H.; Griffiths, H. Multistatic micro-Doppler radar feature extraction for classification of unloaded/loaded micro-drones. IET Radar Sonar Navig. 2017, 11, 116–124. [Google Scholar] [CrossRef]
- Hui, Y.; Bai, X.; Zhou, F. JTF Analysis of Micromotion Targets Based on Single-Window Variational Inference. IEEE Trans. Geosci. Remote Sens. 2021, 59, 6600–6608. [Google Scholar] [CrossRef]
- Rivera Suana, J.A. Design of a Low-Noise Amplifier for Radar Application in the 5 GHz Frequency Band. 2017. Available online: http://www.diva-portal.org/smash/get/diva2:1115519/FULLTEXT01.pdf (accessed on 20 October 2021).
- Chen, V.; Li, F.; Ho, S.-S.; Wechsler, H. Analysis of micro-Doppler signatures. IEE Proc. Radar Sonar Navig. 2003, 150, 271. [Google Scholar] [CrossRef]
- Shakya, P.; Raj, A.A.B. Inverse Synthetic Aperture Radar Imaging Using Fourier Transform Technique. In Proceedings of the 1st International Conference on Innovations in Information and Communication Technology (ICIICT), Chennai, India, 25–26 April 2019; IEEE: New York, NY, USA, 2019; pp. 1–4. [Google Scholar]
- Gupta, D.; Raj, A.A.B.; Kulkarni, A. Multi-Bit Digital Receiver Design for Radar Signature Estimation. In Proceedings of the 3rd IEEE International Conference on Recent Trends in Electronics, Information & Communication Technology (RTEICT), Bangalore, India, 18–19 May 2018; IEEE: New York, NY, USA, 2018; pp. 1072–1075. [Google Scholar]
- Charvat, G.L. Small and Short-Range Radar Systems; CRC Press: Boca Raton, FL, USA, 2014. [Google Scholar]
- Su, B.Y.; Ho, K.C.; Rantz, M.J.; Skubic, M. Doppler Radar Fall Activity Detection Using the Wavelet Transform. IEEE Trans. Biomed. Eng. 2015, 62, 865–875. [Google Scholar] [CrossRef]
- Meena, P.; Sharma, R.R.; Pachori, R.B. Cross-term suppression in the Wigner-Ville distribution using variational mode decomposition. In Proceedings of the 5th International Conference on Signal Processing, Computing and Control (ISPCC), Solan, India, 10–12 October 2019; IEEE: New York, NY, USA, 2019; pp. 323–328. [Google Scholar]
- Whitelonis, N.; Ling, H. Radar Signature Analysis Using a Joint Time-Frequency Distribution Based on Compressed Sensing. IEEE Trans. Antennas Propag. 2013, 62, 755–763. [Google Scholar] [CrossRef]
- Wang, X.-J.; Xue, Y.-J.; Zhou, W.; Luo, J.-S. Spectral Decomposition of Seismic Data with Variational Mode Decomposition-Based Wigner–Ville Distribution. IEEE J. Sel. Top. Appl. Earth Obs. Remote Sens. 2019, 12, 4672–4683. [Google Scholar] [CrossRef]
- Klaer, P.; Huang, A.; Sévigny, P.; Rajan, S.; Pant, S.; Patnaik, P.; Balaji, B. An Investigation of Rotary Drone HERM Line Spectrum under Manoeuvering Conditions. Sensors 2020, 20, 5940. [Google Scholar] [CrossRef]
- Xiao, Z.; Yan, Z. Radar Emitter Identification Based on Novel Time-Frequency Spectrum and Convolutional Neural Network. IEEE Comm. Lett. 2021, 25, 2634–2638. [Google Scholar] [CrossRef]
- Zhou, Y.; Bi, D.; Shen, A.; Wang, X. Hough transform-based large micro-motion target detection and estimation in synthetic aperture radar. IET Radar Sonar Navig. 2019, 13, 558–565. [Google Scholar] [CrossRef]
- de Quevedo, Á.D.; Urzaiz, F.I.; Menoyo, J.G.; López, A.A. Drone detection and radar-cross-section measurements by RAD-DAR. IET Radar Sonar Navig. 2019, 13, 1437–1447. [Google Scholar] [CrossRef]
- Kumawat, H.C.; Raj, A.B. Extraction of Doppler signature of micro-to-macro rotations/motions using continuous wave radar—Assisted measurement system. IET Sci. Meas. Technol. 2020, 14, 772–785. [Google Scholar] [CrossRef]
- Matsuda, T.; Yataka, R.; Gocho, M.; Tanaka, T. Micro-Doppler Analysis under Various Aspect Angles for Small UAV Classification. In Proceedings of the 2019 IEEE Asia-Pacific Microwave Conference (APMC), Singapore, 10–13 December 2019; IEEE: New York, NY, USA, 2019; pp. 102–104. [Google Scholar]
- Phanindra, B.R.; Pralhad, R.; Raj, A.B. Machine Learning Based Classification of Ducted and Non-Ducted Propeller Type Quadcopter. In Proceedings of the 6th International Conference on Advanced Computing and Communication Systems (ICACCS), Coimbatore, India, 6–7 March 2020; IEEE: New York, NY, USA, 2020; pp. 1296–1301. [Google Scholar]
- Ramesh, K. E-Bird Technology; Wildlife Institute of India: Uttarakhand, India, 2018. [Google Scholar]
- Suresh, P.; Thayaparan, T.; Obulesu, T.; Venkataramaniah, K. Extracting Micro-Doppler Radar Signatures from Rotating Targets Using Fourier–Bessel Transform and Time–Frequency Analysis. IEEE Trans. Geosci. Remote Sens. 2013, 52, 3204–3210. [Google Scholar] [CrossRef]
- Kumawat, H.C.; Raj, A.B. Approaching/Receding Target Detection using CW Radar. In Proceedings of the 5th International Conference on Communication and Electronics Systems (ICCES), Coimbatore, India, 10–12 June 2020; IEEE: New York, NY, USA, 2020; pp. 136–141. [Google Scholar]
- Bazil Raj, A.A. FPGA-Based Embedded System Developer’s Guide, 1st ed.; CRC Press: Boca Raton, FL, USA, 2018. [Google Scholar]
- MathWorks. Spectrogram Using Short-Time Fourier Transform. Available online: https://in.mathworks.com/help/signal/ref/spectrogram.html (accessed on 20 October 2021).
- Addison, P.S. The Illustrated Wavelet Transform Handbook: Introductory Theory and Applications in Science, Engineering, Medicine and Finance, 2nd ed.; CRC Press: Boca Raton, FL, USA, 2017. [Google Scholar]
- Boashash, B. Time-Frequency Signal Analysis and Processing: A Comprehensive Reference; Elsevier Science: Amsterdam, The Netherlands, 2015. [Google Scholar]
- Kumawat, H.C.; Raj, A.B. Data Acquisition and Signal Processing System for CW Radar. In Proceedings of the 5th International Conference on Computing, Communication, Control And Automation (ICCUBEA), Pune, India, 19–21 September 2019; IEEE: New York, NY, USA, 2019; pp. 1–5. [Google Scholar]
- Cohen, L.; Loughlin, P.J. leID1. Time-frequency analysis: Theory and applications. J. Acoust. Soc. Am. 2013, 134, 4002. [Google Scholar] [CrossRef]
- Kalra, M.; Kumar, S.; Das, B. Moving Ground Target Detection with Seismic Signal Using Smooth Pseudo Wigner–Ville Distribution. IEEE Trans. Instrum. Meas. 2020, 69, 3896–3906. [Google Scholar] [CrossRef]
- Mahafza, B.R. Radar Signal Analysis and Processing Using MATLAB; Routledge: Boca Raton, FL, USA, 2016. [Google Scholar]
- Proakis, J.G.; Manolakis, D.G. Digital Signal Processing, 4th ed.; Pearson Education India: Chennai, India, 2007. [Google Scholar]
- Wang, Y.; Liu, Q.; Fathy, A.E. CW and Pulse–Doppler Radar Processing Based on FPGA for Human Sensing Applications. IEEE Trans. Geosci. Remote Sens. 2012, 51, 1–11. [Google Scholar] [CrossRef]
- Bazil Raj, A.A.; VijayaSelvi, J.A.; Raghavan, S. Real-time Measurement of Meteorological Parameters for Estimating Low Altitude Atmospheric Turbulence Strength (Cn2). IET Sci. Meas. Technol. 2014, 8, 459–469. [Google Scholar] [CrossRef]
- Chen, V.C. Advances in applications of radar micro-Doppler signatures. In Proceedings of the 2014 IEEE Conference on Antenna Measurements & Applications (CAMA), Anitbes Juan-les-Pins, France, 16–19 November 2014; IEEE: New York, NY, USA, 2014; pp. 1–4. [Google Scholar]
- Vishwakarma, S.; Ram, S.S. Detection of Multiple Movers Based on Single Channel Source Separation of Their Micro-Dopplers. IEEE Trans. Aerosp. Electron. Syst. 2017, 54, 159–169. [Google Scholar] [CrossRef]
- Fioranelli, F.; Ritchie, M.; Griffiths, H.; Borrion, H. Classification of loaded/unloaded micro-drones using multistatic radar. Electron. Lett. 2015, 51, 1813–1815. [Google Scholar] [CrossRef]
- Kim, B.K.; Kang, H.-S.; Park, S.-O. Experimental Analysis of Small Drone Polarimetry Based on Micro-Doppler Signature. IEEE Geosci. Remote Sens. Lett. 2017, 14, 1670–1674. [Google Scholar] [CrossRef]
- Choi, I.-O.; Kim, K.-T.; Jung, J.-H.; Kim, S.-H.; Park, S.-H. Efficient Measurement System to Investigate Micro-Doppler Signature of Ballistic Missile. Int. J. Aeronaut. Space Sci. 2016, 17, 614–621. [Google Scholar] [CrossRef][Green Version]
- Sun, H.-X.; Liu, Z. Micro-doppler feature extraction for ballistic missile warhead. In Proceedings of the 2008 International Conference on Information and Automation, Changsha, China, 20–23 June 2008; IEEE: New York, NY, USA, 2008; pp. 1333–1336. [Google Scholar]
- Jung, J.-H.; Kim, K.-T.; Kim, S.-H.; Park, S.-H. Micro-doppler extraction and analysis of the ballistic missile using rda based on the real flight scenario. Prog. Electromagn. Res. M 2014, 37, 83–93. [Google Scholar] [CrossRef][Green Version]
- He, F.; Wang, P.; Xu, X. Coning target micro-motion feature extraction via scattering centre reconstruction. Electron. Lett. 2014, 50, 1388–1389. [Google Scholar] [CrossRef]











| S. No. | Target | Specification |
|---|---|---|
| 1 | Bionic bird (Figure 1a) | Flapping speed: 1–4 flap/s; wing length: 19 cm; bird’s body width: 5.5 cm; wing beat control: 3 V DC motor; flap control voltage: 1.9–3.0 V; control provision: pot. knob variation; RCS [42]: ~−28.86 dBsm |
| 2 | 3-Blade propeller (Figure 1b) | Blade length: 7.5 cm; maximum blade width: 7 cm; blade thickness: 0.1 cm; maximum revolutions per minute (RPM): 1910; blade propulsion: 5 V DC motor; RPM control provision: pot. knob variation; RPM control voltage: 0.5–5 V; RPM measurement: using a tachometer; sensor frequency to RPM conversion: RPM = (fx60)/n [25,29]; RCS [42]: ~−0.268 dBsm. |
| 3 | 2-Blade propeller (Figure 1c) | Blade length: 20 cm; maximum blade width: 4.5 cm; blade thickness: 0.1 cm; maximum RPM: 1740; blade propulsion: 230 V AC motor; RPM control provision: silicon control rectifier (SCR) knob variation; RPM control voltage: 100–230 V; RPM measurement: using a tachometer; sensor frequency to RPM conversion: RPM = (fx60)/n [25,29]; RCS [42]: ~9.77 dBsm |
| 4 | Kinetic warhead (Figure 1d) | Height: 16 cm; base radius: 7 cm; mass: 1 kg; mounting: screw with fuel propeller system; nose alignment: 3-axis tip tilt; RCS [42]: ~−41.87 dBsm. |
| S. No. | Type of Target | Authors | RF Sensor | Imaging Technique | Improvements Attended Using the Proposed Sensor/Technique | Comparative Remark |
|---|---|---|---|---|---|---|
| 1 | Flapping bird | Molchanov, P., et al. [4] | Continuous-wave (CW) sensor (9.5 GHz) | STFT | Maximum micro-Doppler: 1 kHz Maximum flapping speed: 28 m/s Frequency resolution: ~0.5 Hz Time resolution: ~0.08 s Sensor: CW (5.3 GHz) Maximum range: 100 m Target horizontal orientation: 0°–360° Target vertical orientation: 0°–360° Target behaviors: sustained flapping/flying/gliding | Improved performance is obtained using the proposed RF sensor and technique than the SOTA results. |
| 2 | Rahman, S., et al. [5] | CW sensor (24 GHz and 94 GHz) | ||||
| 3 | Farshchian, M., et al. [6] | CW sensor (24 GHz) | ||||
| 4 | Chen, V.C. [46] | Frequency-modulated continuous-wave (FMCW) sensor (X-band) | ||||
| 1 | Rotational propeller system | Rahman, S., et al. [5] | CW sensor (24 GHz and 94 GHz) | STFT | Maximum micro-Doppler: 1 kHz Maximum rotational frequency: 1 kHz Maximum RPM: 20,000 (for 3 blades), 30,000 (for 2 blades) Frequency resolution: ~0.5 Hz Sensor: CW (5.3 GHz) Maximum range: 100 m Target vertical orientation: −90°–+90° Target behaviors: sustained flying/tilted flying | Improved performance is obtained using the proposed RF sensor and technique than the SOTA results. |
| 2 | Vishwakarma S., et al. [47] | CW sensor (7.5 GHz) | ||||
| 3 | Fioranelli, F., et al. [48] | Pulsed sensor (2.4 GHz) | ||||
| 4 | Kim, B.K., et al. [49] | FMCW sensor (14.03–14.18 GHz) | ||||
| 1 | Motorized laboratory model kinetic warhead structure | Choi, I., et al. [50] | Pulsed sensor (10 GHz; PRF = 1 kHz) | STFT | Maximum micro-Doppler: 1 kHz Maximum angular velocity: 6.28 E3 rad/s Frequency resolution: ~0.5 Hz Sensor: CW (5.3 GHz) Maximum range: 100 m Target horizontal orientation: −45° to +45° Target vertical orientation: −45° to +45° Eclipse sensing: yes Tilted orbital path: Yes −30° to +30° Orbital path: circular or arbitrary Target behaviors: horizontal/vertical orbital motion, projectile motion, spinning | Improved performance is obtained than the SOTA results’ expected range. Since [47,48] show simulations, the target range is in the order of kilometers. |
| 2 | Simulation model of a ballistic missile warhead-structure-spinning profile | Sun, H., et al. [51] | Pulsed sensor (10 GHz; PRF = 250 Hz) | SP-WVD | ||
| 3 | Simulation model of a warhead-structure-spinning profile | Jung, J., et al. [52] | Pulsed sensor (10 GHz; PRF = 6 kHz) | STFT | ||
| 4 | Coning target model warhead structure | He, F., et al. [53] | Pulsed sensor (10 GHz; PRF = 5 Hz) | STFT-based scattering center reconstruction method |
Publisher’s Note: MDPI stays neutral with regard to jurisdictional claims in published maps and institutional affiliations. |
© 2022 by the authors. Licensee MDPI, Basel, Switzerland. This article is an open access article distributed under the terms and conditions of the Creative Commons Attribution (CC BY) license (https://creativecommons.org/licenses/by/4.0/).
Share and Cite
Kumawat, H.C.; Raj, A.A.B. SP-WVD with Adaptive-Filter-Bank-Supported RF Sensor for Low RCS Targets’ Nonlinear Micro-Doppler Signature/Pattern Imaging System. Sensors 2022, 22, 1186. https://doi.org/10.3390/s22031186
Kumawat HC, Raj AAB. SP-WVD with Adaptive-Filter-Bank-Supported RF Sensor for Low RCS Targets’ Nonlinear Micro-Doppler Signature/Pattern Imaging System. Sensors. 2022; 22(3):1186. https://doi.org/10.3390/s22031186
Chicago/Turabian StyleKumawat, Harish C., and A Arockia Bazil Raj. 2022. "SP-WVD with Adaptive-Filter-Bank-Supported RF Sensor for Low RCS Targets’ Nonlinear Micro-Doppler Signature/Pattern Imaging System" Sensors 22, no. 3: 1186. https://doi.org/10.3390/s22031186
APA StyleKumawat, H. C., & Raj, A. A. B. (2022). SP-WVD with Adaptive-Filter-Bank-Supported RF Sensor for Low RCS Targets’ Nonlinear Micro-Doppler Signature/Pattern Imaging System. Sensors, 22(3), 1186. https://doi.org/10.3390/s22031186
