Improved Feature Parameter Extraction from Speech Signals Using Machine Learning Algorithm
Abstract
1. Introduction
- The process of identifying a person by speech signals consists of several stages. Among them, there are steps that require more calculation time. This is spectral analysis. One of the parameters that is especially important in machine learning algorithms is the training time. In this work, we found that the process of extracting features is important for the identification of speech signals. Additionally, it takes a lot of time in machine learning. It is established that the process of spectral analysis consists of independent operations, and parallelization is possible.
- Experiments have shown that FFT and DCT spectral transformations give good results in spectral analysis. The spectral analysis process is valid for each segment of the speech signal. This allows us to clearly distinguish these features from the speech signal. With the help of the OpenMP and TBB tools, a parallel computing algorithm was developed that made it possible to speed up the calculations.
- The segment size is important when dividing a speech signal into segments. During the experiments, it was found that the size of the segment of the speech signal depends on the cache memory of the central processor. In particular, matching segment to cache size in multicore processors has been found to have a positive effect on computational speed in machine learning.
- A new parallel implementation method is proposed for spectral transformations of signals for feature parameter extraction from speech signals using a machine learning algorithm on multicore processors using TBB and OpenMP.
- It was also found that the effective use of the principle of mapping the main memory block to the cache and the size of the cache memory block can increase the processing speed.
2. Related Works
3. Pre-Processing: Material Overview
- ○
- The primary processing of speech signals (phonogram);
- ○
- The classification of acoustic symbols using an intelligent algorithm (spectrogram).
- ○
- Separation of the boundaries of the speech signal;
- ○
- Digital filtering;
- ○
- Segmentation;
- ○
- Application of a smoothing window;
- ○
- Spectral transformation, and
- ○
- normalization of spectral frequencies.
3.1. Separation of Boundaries
3.2. Number of Zero-Crossings
- -
- Ensuring a minimum probability of error under the influence of high noise levels,
- -
- the probability of the correct detection of useful speech, even under loud noise conditions;
- -
- High speed in determining the speech boundaries that meet the real-time mode requirements.
3.3. Digital Filtering
3.4. Segmentation
3.5. Spectral Transformation
3.6. Normalization of Spectral Frequencies
3.7. Dataset
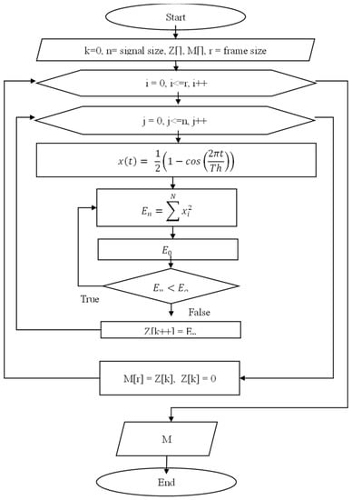
4. Proposed Method
4.1. Division into Frames
4.2. Hanning Window and Decreasing Values
4.3. Short-Time Fourier Transform (STFT) Switches
4.4. Mel Transform
5. Experimental Results
6. Limitations
7. Conclusions
Author Contributions
Funding
Institutional Review Board Statement
Informed Consent Statement
Data Availability Statement
Acknowledgments
Conflicts of Interest
References
- Meng, Y.J.; Liu, W.J.; Zhang, R.Z.; Du, H.S. Speech Feature Parameter Extraction and Recognition Based on Interpolation. Appl. Mech. Mater. 2014, 602–605, 2118–2123. [Google Scholar] [CrossRef]
- Musaev, M.; Rakhimov, M. Accelerated Training for Convolutional Neural Networks. In Proceedings of the 2020 International Conference on Information Science and Communications Technologies (ICISCT), Tashkent, Uzbekistan, 4–6 November 2020; pp. 1–5. [Google Scholar] [CrossRef]
- Ye, F.; Yang, J. A Deep Neural Network Model for Speaker Identification. Appl. Sci. 2021, 11, 3603. [Google Scholar] [CrossRef]
- Musaev, M.; Rakhimov, M. A Method of Mapping a Block of Main Memory to Cache in Parallel Processing of the Speech Signal. In Proceedings of the 2019 International Conference on Information Science and Communications Technologies (ICISCT), Karachi, Pakistan, 9–10 March 2019; pp. 1–4. [Google Scholar] [CrossRef]
- Jiang, N.; Liu, T. An improved speech segmentation and clustering algorithm based on SOM and k-means. Math. Probl. Eng. 2020, 2020, 3608286. [Google Scholar] [CrossRef]
- Hu, W.; Yang, Z.; Chen, C.; Sun, B.; Xie, Q. A vibration segmentation approach for the multi-action system of numerical control turret. Signal Image Video Process. 2021, 16, 489–496. [Google Scholar] [CrossRef]
- Popescu, T.D.; Aiordachioaie, D. Fault detection of rolling element bearings using optimal segmentation of vibrating signals. Mech. Syst. Signal Process. 2019, 116, 370–391. [Google Scholar] [CrossRef]
- Shihab, M.S.H.; Aditya, S.; Setu, J.H.; Imtiaz-Ud-Din, K.M.; Efat, M.I.A. A Hybrid GRU-CNN Feature Extraction Technique for Speaker Identification. In Proceedings of the 2020 23rd International Conference on Computer and Information Technology (ICCIT), Dhaka, Bangladesh, 19–21 December 2020; pp. 1–6. [Google Scholar] [CrossRef]
- Korkmaz, O.; Atasoy, A. Emotion recognition from speech signal using mel-frequency cepstral coefficients. In Proceedings of the 9th International Conference on Electrical and Electronics Engineering (ELECO), Bursa, Turkey, 26–28 November 2015; pp. 1254–1257. [Google Scholar]
- Ayvaz, U.; Gürüler, H.; Khan, F.; Ahmed, N.; Whangbo, T.; Abdusalomov, A. Automatic Speaker Recognition Using Mel-Frequency Cepstral Coefficients Through Machine Learning. CMC-Comput. Mater. Contin. 2022, 71, 5511–5521. [Google Scholar]
- Al-Qaderi, M.; Lahamer, E.; Rad, A. A Two-Level Speaker Identification System via Fusion of Heterogeneous Classifiers and Complementary Feature Cooperation. Sensors 2021, 21, 5097. [Google Scholar] [CrossRef]
- Batur Dinler, Ö.; Aydin, N. An Optimal Feature Parameter Set Based on Gated Recurrent Unit Recurrent Neural Networks for Speech Segment Detection. Appl. Sci. 2020, 10, 1273. [Google Scholar] [CrossRef]
- Kim, H.; Shin, J.W. Dual-Mic Speech Enhancement Based on TF-GSC with Leakage Suppression and Signal Recovery. Appl. Sci. 2021, 11, 2816. [Google Scholar] [CrossRef]
- Lee, S.-J.; Kwon, H.-Y. A Preprocessing Strategy for Denoising of Speech Data Based on Speech Segment Detection. Appl. Sci. 2020, 10, 7385. [Google Scholar] [CrossRef]
- Rusnac, A.-L.; Grigore, O. CNN Architectures and Feature Extraction Methods for EEG Imaginary Speech Recognition. Sensors 2022, 22, 4679. [Google Scholar] [CrossRef] [PubMed]
- Wafa, R.; Khan, M.Q.; Malik, F.; Abdusalomov, A.B.; Cho, Y.I.; Odarchenko, R. The Impact of Agile Methodology on Project Success, with a Moderating Role of Person’s Job Fit in the IT Industry of Pakistan. Appl. Sci. 2022, 12, 10698. [Google Scholar] [CrossRef]
- Aggarwal, A.; Srivastava, A.; Agarwal, A.; Chahal, N.; Singh, D.; Alnuaim, A.A.; Alhadlaq, A.; Lee, H.-N. Two-Way Feature Extraction for Speech Emotion Recognition Using Deep Learning. Sensors 2022, 22, 2378. [Google Scholar] [CrossRef] [PubMed]
- Marini, M.; Vanello, N.; Fanucci, L. Optimising Speaker-Dependent Feature Extraction Parameters to Improve Automatic Speech Recognition Performance for People with Dysarthria. Sensors 2021, 21, 6460. [Google Scholar] [CrossRef]
- Tiwari, S.; Jain, A.; Sharma, A.K.; Almustafa, K.M. Phonocardiogram Signal Based Multi-Class Cardiac Diagnostic Decision Support Syste. IEEE Access 2021, 9, 110710–110722. [Google Scholar] [CrossRef]
- Mohtaj, S.; Schmitt, V.; Möller, S. A Feature Extraction based Model for Hate Speech Identification. arXiv 2022, arXiv:2201.04227. [Google Scholar]
- Kuldoshbay, A.; Abdusalomov, A.; Mukhiddinov, M.; Baratov, N.; Makhmudov, F.; Cho, Y.I. An improvement for the automatic classification method for ultrasound images used on CNN. Int. J. Wavelets Multiresolution Inf. Process. 2022, 20, 2150054. [Google Scholar]
- Passricha, V.; Aggarwal, R.K. A hybrid of deep CNN and bidirectional LSTM for automatic speech recognition. J. Intell. Syst. 2020, 29, 1261–1274. [Google Scholar] [CrossRef]
- Mukhamadiyev, A.; Khujayarov, I.; Djuraev, O.; Cho, J. Automatic Speech Recognition Method Based on Deep Learning Approaches for Uzbek Language. Sensors 2022, 22, 3683. [Google Scholar] [CrossRef] [PubMed]
- Li, F.; Liu, M.; Zhao, Y.; Kong, L.; Dong, L.; Liu, X.; Hui, M. Feature extraction and classification of heart sound using 1D convolutional neural networks. EURASIP J. Adv. Signal Process. 2019, 2019, 59. [Google Scholar] [CrossRef]
- Chang, L.-C.; Hung, J.-W. A Preliminary Study of Robust Speech Feature Extraction Based on Maximizing the Probability of States in Deep Acoustic Models. Appl. Syst. Innov. 2022, 5, 71. [Google Scholar] [CrossRef]
- Ramírez, J.; Górriz, J.M.; Segura, J.C. Voice Activity Detection. Fundamentals and Speech Recognition System Robustness. In Robust Speech Recognition and Understanding; Grimm, M., Kroschel, K., Eds.; I-TECH Education and Publishing: London, UK, 2007; pp. 1–22. [Google Scholar]
- Oh, S. DNN Based Robust Speech Feature Extraction and Signal Noise Removal Method Using Improved Average Prediction LMS Filter for Speech Recognition. J. Converg. Inf. Technol. 2021, 11, 1–6. [Google Scholar] [CrossRef]
- Abbaschian, B.J.; Sierra-Sosa, D.; Elmaghraby, A. Deep Learning Techniques for Speech Emotion Recognition, from Databases to Models. Sensors 2021, 21, 1249. [Google Scholar] [CrossRef]
- Rakhimov, M.; Mamadjanov, D.; Mukhiddinov, A. A High-Performance Parallel Approach to Image Processing in Distributed Computing. In Proceedings of the 2020 IEEE 14th International Conference on Application of Information and Communication Technologies (AICT), Uzbekistan, Tashkent, 7–9 October 2020; pp. 1–5. [Google Scholar] [CrossRef]
- Abdusalomov, A.; Mukhiddinov, M.; Djuraev, O.; Khamdamov, U.; Whangbo, T.K. Automatic Salient Object Extraction Based on Locally Adaptive Thresholding to Generate Tactile Graphics. Appl. Sci. 2020, 10, 3350. [Google Scholar] [CrossRef]
- Abdusalomov, A.; Whangbo, T.K. An improvement for the foreground recognition method using shadow removal technique for indoor environments. Int. J. Wavelets Multiresolution Inf. Process. 2017, 15, 1750039. [Google Scholar] [CrossRef]
- Abdusalomov, A.; Whangbo, T.K. Detection and Removal of Moving Object Shadows Using Geometry and Color Information for Indoor Video Streams. Appl. Sci. 2019, 9, 5165. [Google Scholar] [CrossRef]
- Mery, D. Computer Vision for X-ray Testing; Springer International Publishing: Cham, Switzerland, 2015; p. 271. ISBN 978-3319207469. [Google Scholar]
- Mark, S. Speech imagery recalibrates speech-perception boundaries. Atten. Percept. Psychophys. 2016, 78, 1496–1511. [Google Scholar] [CrossRef]
- Mudgal, E.; Mukuntharaj, S.; Modak, M.U.; Rao, Y.S. Template Based Real-Time Speech Recognition Using Digital Filters on DSP-TMS320F28335. In Proceedings of the 2018 Fourth International Conference on Computing Communication Control and Automation (ICCUBEA), Pune, India, 16–18 August 2018; pp. 1–6. [Google Scholar] [CrossRef]
- Makowski, R.; Hossa, R. Automatic speech signal segmentation based on the innovation adaptive filter. Int. J. Appl. Math. Comput. Sci. 2014, 24, 259–270. [Google Scholar] [CrossRef]
- Tan, L.; Jiang, J. Digital Signal Processing, 3rd ed.; John Wiley & Sons, Inc.: New York, NY, USA, 2019; ISBN 9780128150719. [Google Scholar]
- Fazliddinovich, R.M.; Abdumurodovich, B.U. Parallel processing capabilities in the process of speech recognition. In Proceedings of the 2017 International Conference on Information Science and Communications Technologies (ICISCT), Tashkent, Uzbekistan, 2–4 November 2017; pp. 1–3. [Google Scholar] [CrossRef]
- Kutlimuratov, A.; Abdusalomov, A.; Whangbo, T.K. Evolving Hierarchical and Tag Information via the Deeply Enhanced Weighted Non-Negative Matrix Factorization of Rating Predictions. Symmetry 2020, 12, 1930. [Google Scholar] [CrossRef]
- Kartik, C. Understanding audio data, fourier transform, fft and spectrogram features for a speech recognition system. Towards Data Sci.-Medium 2020. [Google Scholar]
- Lokesh, S.; Devi, M.R. Speech recognition system using enhanced mel frequency cepstral coefficient with windowing and framing method. Clust. Comput. 2019, 22, 11669–11679. [Google Scholar] [CrossRef]
- Khujayorov, I.; Ochilov, M. Parallel Signal Processing Based-On Graphics Processing Units. In Proceedings of the 2019 International Conference on Information Science and Communications Technologies (ICISCT), Tashkent, Uzbekistan, 9–10 March 2019; pp. 1–4. [Google Scholar]
- Sanjaya, W.M.; Anggraeni, D.; Santika, I.P. Speech Recognition using Linear Predictive Coding (LPC) and Adaptive Neuro-Fuzzy (ANFIS) to Control 5 DoF Arm Robot. J. Phys. Conf. Ser. 2018, 1090, 012046. [Google Scholar] [CrossRef]
- Barbara, C.; Gabriele, J.; Ruud, P. Using OpenMP: Portable Shared Memory Parallel Programming (Scientific and Engineering Computation); Chapters 1–13; MIT Press: Cambridge, MA, USA, 2007; p. 384. [Google Scholar]
- Boltaevich, M.B.; Ogli, N.R.H.; Soibjonqizi, G.N.; Serkabayogli, M.S. Estimation affects of formats and resizing process to the accuracy of convolutional neural network. In Proceedings of the 2019 International Conference on Information Science and Communications Technologies (ICISCT), Tashkent, Uzbekistan, 4–6 November 2019; pp. 1–5. [Google Scholar]
- Jang, K.; You, K.-B.; Park, H. A Study on Correcting Korean Pronunciation Error of Foreign Learners by Using Supporting Vector Machine Algorithm. Int. J. Adv. Cult. Technol. 2020, 8, 316–324. [Google Scholar] [CrossRef]
- Wang, K.; Shamma, S.A. Spectral shape analysis in the central auditory system. IEEE Trans. Speech Audio Process. 1995, 3, 382–395. [Google Scholar] [CrossRef][Green Version]
- Loweimi, E.; Cvetkovic, Z.; Bell, P.; Renals, S. Speech Acoustic Modelling from Raw Phase Spectrum. In Proceedings of the ICASSP 2021–2021 IEEE International Conference on Acoustics, Speech and Signal Processing (ICASSP), Toronto, ON, Canada, 6–11 June 2021; pp. 6738–6742. [Google Scholar] [CrossRef]
- Umirzakova, S.; Abdusalomov, A.; Whangbo, T.K. Fully Automatic Stroke Symptom Detection Method Based on Facial Features and Moving Hand Differences. In Proceedings of the 2019 International Symposium on Multimedia and Communication Technology (ISMAC), Quezon City, Philippines, 19–21 August 2019; pp. 1–5. [Google Scholar] [CrossRef]
- Portnoff, M. Short-time Fourier analysis of sampled speech. IEEE Trans. Acoust. Speech Signal Process. 1981, 29, 364–373. [Google Scholar] [CrossRef]
- Valikhujaev, Y.; Abdusalomov, A.; Cho, Y.I. Automatic Fire and Smoke Detection Method for Surveillance Systems Based on Dilated CNNs. Atmosphere 2020, 11, 1241. [Google Scholar] [CrossRef]
- Abdusalomov, A.; Baratov, N.; Kutlimuratov, A.; Whangbo, T.K. An Improvement of the Fire Detection and Classification Method Using YOLOv3 for Surveillance Systems. Sensors 2021, 21, 6519. [Google Scholar] [CrossRef] [PubMed]
- Abdusalomov, A.B.; Mukhiddinov, M.; Kutlimuratov, A.; Whangbo, T.K. Improved Real-Time Fire Warning System Based on Advanced Technologies for Visually Impaired People. Sensors 2022, 22, 7305. [Google Scholar] [CrossRef] [PubMed]
- Abdusalomov, A.; Whangbo, T.K.; Djuraev, O. A Review on various widely used shadow detection methods to identify a shadow from images. Int. J. Sci. Res. Publ. 2016, 6, 2250–3153. [Google Scholar]
- Akmalbek, A.; Djurayev, A. Robust shadow removal technique for improving image enhancement based on segmentation method. IOSR J. Electron. Commun. Eng. 2016, 11, 17–21. [Google Scholar]
- Mukhiddinov, M.; Abdusalomov, A.B.; Cho, J. Automatic Fire Detection and Notification System Based on Improved YOLOv4 for the Blind and Visually Impaired. Sensors 2022, 22, 3307. [Google Scholar] [CrossRef] [PubMed]
- Makhmudov, F.; Mukhiddinov, M.; Abdusalomov, A.; Avazov, K.; Khamdamov, U.; Cho, Y.I. Improvement of the end-to-end scene text recognition method for “text-to-speech” conversion. Int. J. Wavelets Multiresolution Inf. Process. 2020, 18, 2050052:1–2050052:26. [Google Scholar] [CrossRef]
- Cabral, F.S.; Fukai, H.; Tamura, S. Feature Extraction Methods Proposed for Speech Recognition Are Effective on Road Condition Monitoring Using Smartphone Inertial Sensors. Sensors 2019, 19, 3481. [Google Scholar] [CrossRef] [PubMed]
- Hao, C.; Xin, M.; Xu, Y. A Study of Speech Feature Extraction Based on Manifold Learning. J. Phys. Conf. Ser. 2019, 1187, 052021. [Google Scholar] [CrossRef]
- Wang, Y. Detecting Pronunciation Errors in Spoken English Tests Based on Multifeature Fusion Algorithm. Complexity 2021, 2021, 6623885. [Google Scholar] [CrossRef]
- Aggarwal, G.; Singh, L. Comparisons of Speech Parameterisation Techniques for Classification of Intellectual Disability Using Machine Learning. Int. J. Cogn. Informatics Nat. Intell. 2020, 14, 16–34. [Google Scholar] [CrossRef]
- Sajjad, A.; Shirazi, A.; Tabassum, N.; Saquib, M.; Sheikh, N. Speaker Identification & Verification Using MFCC & SVM. Int. Res. J. Eng. Technol. 2017, 4, 1950–1953. [Google Scholar]
- Dharmale, G.J.; Patil, D.D. Evaluation of Phonetic System for Speech Recognition on Smartphone. Int. J. Innov. Technol. Explor. Eng. 2019, 8, 3354–3359. [Google Scholar] [CrossRef]
- Patil, M.N.; Nemade, M.U. Content- Based Audio Classification and Retrieval Using Segmentation, Feature Extraction and Neural Network Approach. In Advances in Computer Communication and Computational Sciences; Springer: Singapore, 2019; pp. 263–281. [Google Scholar]
- Zhang, H. Dynamic Feature Extraction Method of Phone Speakers Based on Deep Learning. Recent Adv. Comput. Sci. Commun. 2021, 14, 2411–2419. [Google Scholar] [CrossRef]
- Farkhod, A.; Abdusalomov, A.; Makhmudov, F.; Cho, Y.I. LDA-Based Topic Modeling Sentiment Analysis Using Topic/Document/Sentence (TDS) Model. Appl. Sci. 2021, 11, 11091. [Google Scholar] [CrossRef]
- Diego, C.-S.; Soberanis, M.C.; Chin, I.; UcCetin, V. Fixing Errors of the Google Voice Recognizer through Phonetic Distance Metrics. arXiv 2021, arXiv:2102.09680. [Google Scholar]
- Gogate, M.; Dashtipour, K.; Adeel, A.; Hussain, A. CochleaNet: A robust language-independent audio-visual model for real-time speech enhancement. Inf. Fus. 2020, 63, 273–285. [Google Scholar] [CrossRef]
- Kacur, J.; Puterka, B.; Pavlovicova, J.; Oravec, M. On the Speech Properties and Feature Extraction Methods in Speech Emotion Recognition. Sensors 2021, 21, 1888. [Google Scholar] [CrossRef] [PubMed]
- Sterpu, G.; Harte, N. Taris: An online speech recognition framework with sequence to sequence neural networks for both audio-only and audio-visual speech. Comput. Speech Lang. 2022, 74, 101349. [Google Scholar] [CrossRef]
- Jakhongir, N.; Abdusalomov, A.; Whangbo, T.K. 3D Volume Reconstruction from MRI Slices based on VTK. In Proceedings of the 2021 International Conference on Information and Communication Technology Convergence (ICTC), Jeju Island, Korea, 19–21 October 2021; pp. 689–692. [Google Scholar] [CrossRef]
- Nodirov, J.; Abdusalomov, A.B.; Whangbo, T.K. Attention 3D U-Net with Multiple Skip Connections for Segmentation of Brain Tumor Images. Sensors 2022, 22, 6501. [Google Scholar] [CrossRef]
- Belhan, C.; Fikirdanis, D.; Cimen, O.; Pasinli, P.; Akgun, Z.; Yayci, Z.O.; Turkan, M. Audio-Visual Speech Recognition using 3D Convolutional Neural Networks. In Proceedings of the 2021 Innovations in Intelligent Systems and Applications Conference (ASYU), Elazig, Turkey, 6–8 October 2021; pp. 1–5. [Google Scholar] [CrossRef]
- Avazov, K.; Abdusalomov, A.; Cho, Y.I. Automatic moving shadow detection and removal method for smart city environments. J. Korean Inst. Intell. Syst. 2020, 30, 181–188. [Google Scholar] [CrossRef]
- Hajarolasvadi, N.; Demirel, H. 3D CNN-Based Speech Emotion Recognition Using K-Means Clustering and Spectrograms. Entropy 2019, 21, 479. [Google Scholar] [CrossRef]












| Processor Model | Clock Frequency (GHz) | Cores | Cache Memory Processor L1/L2/L3 |
|---|---|---|---|
| Intel Core i5-2310 | 3.0 | 4 | 64 KB/256 KB/6 MB |
| Intel Core i7-7700 | 3.60 | 4 (8) | 256 KB/1 MB/ 8 MB |
| Intel Xeon E5-2609 v4 | 1.77 | 8 | 64 KB/256 KB/ 20 MB |
| Intel Core i7-11800H | 2.30 | 8 (16) | 640 KB/10 MB/24 MB |
| Processor Model | Clock Frequency (GHz) | Cores | Cache Memory Processor L1/L2/L3 |
|---|---|---|---|
| Intel Core i5-2310 | 3.0 | 4 | 32 KB/256 KB/6.0 MB |
| Intel Core i5-4200U | 2.3 | 2/2 | 32 KB/256 KB/3.0 MB |
| Intel Core i7-6920HQ | 3.80 | 4 (8) | 256 KB/1.0 MB/8.0 MB |
| Category | Train | Valid | Test | Total |
|---|---|---|---|---|
| Duration (hours) | 109.56 | 5.04 | 5.4 | 120 |
| # Utterances | 82.7 | 3.8 | 4.08 | 90.650 |
| # Words | 378.0 k | 17.4 k | 18.7 k | 415.0 k |
| # Unique Words | 60.2 k | 2.7 k | 2.9 k | 65.8 k |
| Classification | Environment |
|---|---|
| Graphic Processing Unit | GeForce RTX 2080 Ti 11 GB (2 are installed) |
| Central Processing Unit | Intel Core 9 Gen i7-9700k (4.90 GHz) |
| Random Access Memory | DDR4 16 GB (4 are installed) |
| Storage | SSD: 512 GB HDD: 2 TB (2 are installed) |
| Motherboard | ASUS PRIME Z390-A |
| Operating System | Windows 10 |
| Language | Visual Studio 2019 C++ |
| Local Area Network | Internal port—10/100 Mbps External port—10/100 Mbps |
| Power | 1000 W (+12 V Single Rail) |
| Test | Test 1 | Test 2 | Test Cycle (50) | |
|---|---|---|---|---|
| Algorithm | ||||
| Classical | 0.0399 | 0.0459 | 5.7758 | |
| Our method | 0.0407 | 0.0387 | 5.2277 | |
| Algorithm | Number of Features | Precision | Recall | FM | Average |
|---|---|---|---|---|---|
| Fazliddin et al. [57] | 325 | 0.918 | 0.921 | 0.914 | 0.911 |
| Cabral et al. [58] | 325 | 0.975 | 0.961 | 0.963 | 0.963 |
| Cheng Hao et al. [59] | 325 | 0.817 | 0.945 | 0.872 | 0.882 |
| Yinping Wang [60] | 325 | 0.975 | 0.879 | 0.917 | 0.926 |
| Aggarwal et al. [61] | 325 | 0.937 | 0.942 | 0.943 | 0.941 |
| Ahmed et al. [62] | 325 | 0.773 | 0.787 | 0.805 | 0.78.9 |
| Gulbakshee et al. [63] | 325 | 0.921 | 0.924 | 0.932 | 0.938 |
| Patil et al. [64] | 325 | 0.876 | 0.858 | 0.879 | 0.872 |
| Hongbing Zhang [65] | 325 | 0.904 | 0.893 | 0.907 | 0.908 |
| Farkhod et al. [66] | 325 | 0.935 | 0.938 | 0.942 | 0.938 |
| Proposed method | 325 | 0.983 | 0.987 | 0.995 | 0.984 |
| Criteria | Ayvaz et al. [10] | Gogate et al. [68] | Mukhamadiyev et al. [23] | Proposed Method |
|---|---|---|---|---|
| Robust to Vibration | weak | normal | powerful | powerful |
| Timing of words | normal | powerful | normal | powerful |
| Difficult accents and dialects | weak | normal | weak | normal |
| Speaker identification | normal | normal | weak | powerful |
| High-dimensional signal space | weak | normal | powerful | powerful |
| Background noise | powerful | normal | normal | normal |
| Computation speed | normal | powerful | normal | powerful |
Publisher’s Note: MDPI stays neutral with regard to jurisdictional claims in published maps and institutional affiliations. |
© 2022 by the authors. Licensee MDPI, Basel, Switzerland. This article is an open access article distributed under the terms and conditions of the Creative Commons Attribution (CC BY) license (https://creativecommons.org/licenses/by/4.0/).
Share and Cite
Abdusalomov, A.B.; Safarov, F.; Rakhimov, M.; Turaev, B.; Whangbo, T.K. Improved Feature Parameter Extraction from Speech Signals Using Machine Learning Algorithm. Sensors 2022, 22, 8122. https://doi.org/10.3390/s22218122
Abdusalomov AB, Safarov F, Rakhimov M, Turaev B, Whangbo TK. Improved Feature Parameter Extraction from Speech Signals Using Machine Learning Algorithm. Sensors. 2022; 22(21):8122. https://doi.org/10.3390/s22218122
Chicago/Turabian StyleAbdusalomov, Akmalbek Bobomirzaevich, Furkat Safarov, Mekhriddin Rakhimov, Boburkhon Turaev, and Taeg Keun Whangbo. 2022. "Improved Feature Parameter Extraction from Speech Signals Using Machine Learning Algorithm" Sensors 22, no. 21: 8122. https://doi.org/10.3390/s22218122
APA StyleAbdusalomov, A. B., Safarov, F., Rakhimov, M., Turaev, B., & Whangbo, T. K. (2022). Improved Feature Parameter Extraction from Speech Signals Using Machine Learning Algorithm. Sensors, 22(21), 8122. https://doi.org/10.3390/s22218122

