Fast Registration of Point Cloud Based on Custom Semantic Extraction
Abstract
1. Introduction
2. Methods
2.1. Semantic Features
2.1.1. Normal Vector Calculation
2.1.2. Adaptive Regional Scale
2.1.3. Semantic Scoring and Classification
2.2. Coarse Registration Algorithm Based on Custom Semantic Feature Extraction
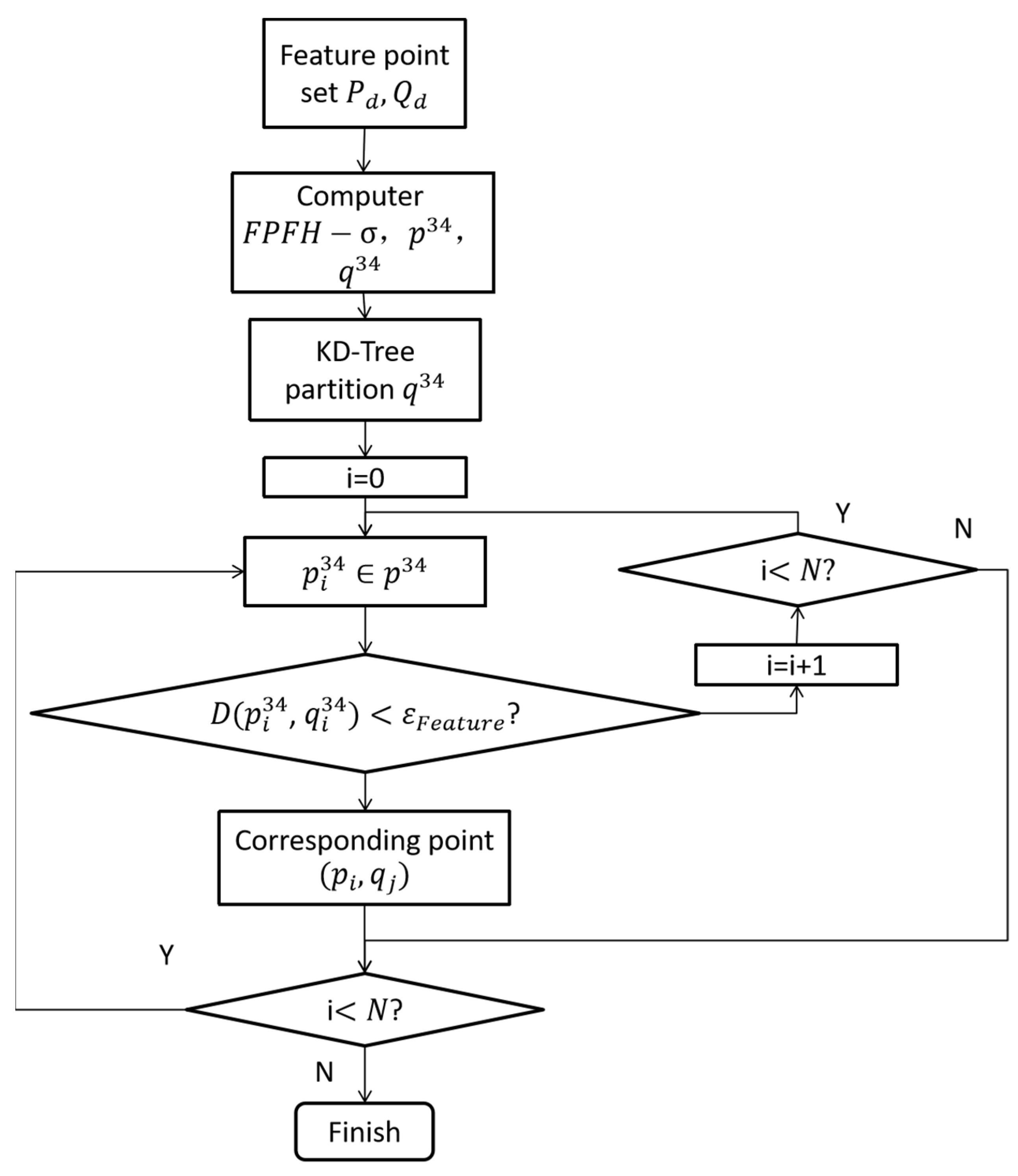
2.2.1. Feature Similarity between Points
2.2.2. Feature Similarity between Point Pairs
2.3. Point Cloud Coarse Registration
- Randomly select three points from the source feature cloud , and obtain three sets of corresponding points for calculating the rotation and translation matrix under the condition that the above constraints are satisfied.
- Use the matrix to perform rigid body transformation on the source high-feature point cloud sample set , and the obtained sample point cloud set is recorded as .
- For all points in the point set, find the corresponding nearest points in the point set respectively. Calculate its Euclidean distance, and use it as the estimated deviation E after accumulation.
- Repeat the above three steps until the specified accuracy or the highest number of cycles is reached, and the minimum deviation obtained in the cycle is obtained. At this time, the corresponding rotation and translation matrix is .
- By using , a rigid body transformation on the source point cloud S, calculate the deviation from the target point cloud set T.
3. Results and Analysis
3.1. Datasets
3.2. Point Cloud Registration Results
3.2.1. Generation Parameters Analysis
3.2.2. Semantic Feature Point Extraction
3.3. Evaluation of the Proposed Method
3.3.1. Time Performance
3.3.2. Comprehensive Analysis of Time Cost and Accuracy of the Proposed Method
3.3.3. Registration Robustness Analysis
Robustness to Noise
Robustness to Randomly Varying Point Density
3.4. Outdoor Scene Application
4. Conclusions
Author Contributions
Funding
Institutional Review Board Statement
Informed Consent Statement
Data Availability Statement
Conflicts of Interest
References
- Han, M.; Zhou, B.; Qian, K.; Fang, F. 3Dlocalization and Mapping of Outdoor Mobile Robots Using a LIDAR. J. Huazhong Univ. Ence Technol. 2015, 43 (Suppl. 1), 315–318. [Google Scholar] [CrossRef]
- Gézero, L.; Antunes, C. An Efficient Method to Create Digital Terrain Models from Point Clouds Collected by Mobile Lidar Systems. ISPRS—Int. Arch. Photogramm. Remote Sens. Spat. Inf. Sci. 2017, XLII-1/W1, 289–296. [Google Scholar] [CrossRef]
- Va, G.; Ghgb, B.; Sb, G.; Rb, T. Recognising Structure in Laser Scanner Point Clouds. In Proceedings of the ISPRS Working Group VIII/2: Laser Scanning for Forest and Landscape Assessment, Freiburg, Germany, 3–6 October 2004. [Google Scholar]
- Pu, S.; Vosselman, G. Knowledge Based Reconstruction of Building Models from Terrestrial Laser Scanning Data. ISPRS J. Photogramm. Remote Sens. 2009, 64, 575–584. [Google Scholar] [CrossRef]
- Cho, S.; Cho, K. Real-Time 3D Reconstruction Method Using Massive Multi-Sensor Data Analysis and Fusion. J. Supercomput. 2019, 75, 3229–3248. [Google Scholar] [CrossRef]
- Lovi, D.; Birkbeck, N.; Cobza, D.; Jgersand, M. Incremental Free-Space Carving for Real-Time 3D Reconstruction. Master’s Thesis, University of Alberta, Edmonton, AB, Canada, 2011. [Google Scholar]
- Yue, M.A.; Wei, Z.C.; Wang, Y. Point Cloud Feature Extraction Based Integrated Positioning Method for Unmanned Vehicle. In Proceedings of the 2014 International Conference on Applied Mechanics and Mechanical Automation (AMMA 2014), Macau, China, 20–21 May 2014. [Google Scholar]
- Pierzcha, A.M.; Giguère, P.; Astrup, R. Mapping Forests Using an Unmanned Ground Vehicle with 3D LiDAR and Graph-SLAM. Comput. Electron. Agric. 2018, 145, 217–225. [Google Scholar] [CrossRef]
- Herbert, H.E.; Ray, M.D. Self-Contained Mapping and Positioning System Utilizing Point Cloud Data. Canada Patent Application No. CA2347569C, 14 May 2021. [Google Scholar]
- Salvi, J.; Matabosch, C.; Fofi, D.; Forest, J. A Review of Recent Range Image Registration Methods with Accuracy Evaluation. Image Vis. Comput. 2007, 25, 578–596. [Google Scholar] [CrossRef]
- Guo, Y.; Bennamoun, M.; Sohel, F.; Min, L.; Wan, J. 3D Object Recognition in Cluttered Scenes with Local Surface Features: A Survey. IEEE Trans. Pattern Anal. Mach. Intell. 2014, 36, 2270–2287. [Google Scholar] [CrossRef] [PubMed]
- Restrepo, M.I.; Ulusoy, A.O.; Mundy, J.L. Evaluation of Feature-Based 3-d Registration of Probabilistic Volumetric Scenes. ISPRS J. Photogramm. Remote Sens. 2014, 98, 1–18. [Google Scholar] [CrossRef]
- Besl, P.J.; Mckay, N.D. Method for Registration of 3-D Shapes. In Proceedings of the Sensor Fusion IV: Control Paradigms and Data Structures, ROBOTICS‘91, Boston, MA, USA, 14–15 November 1991; Volume 1611, pp. 586–606. [Google Scholar] [CrossRef]
- Rusinkiewicz, S.; Levoy, M. Efficient Variants of the ICP Algorithm. In Proceedings of the Third International Conference on 3-D Digital Imaging and Modeling, Quebec City, QC, Canada, 28 May–1 June 2001. [Google Scholar] [CrossRef]
- Agamennoni, G.; Fontana, S.; Siegwart, R.Y.; Sorrenti, D.G. Point Clouds Registration with Probabilistic Data Association. In Proceedings of the IEEE/RSJ International Conference on Intelligent Robots & Systems, Daejeon, Korea, 9–14 October 2016. [Google Scholar]
- Yang, C.; Medioni, G. Object Modeling by Registration of Multiple Range Images. Image Vis. Comput. 2002, 10, 145–155. [Google Scholar] [CrossRef]
- Ji, S.; Ren, Y.; Ji, Z.; Liu, X.; Hong, G. An Improved Method for Registration of Point Cloud. Opt.—Int. J. Light Electron Opt. 2017, 140, 451–458. [Google Scholar] [CrossRef]
- Liu, S.; Gao, D.; Wang, P.; Guo, X.; Xu, J.; Liu, D.-X. A Depth-Based Weighted Point Cloud Registration for Indoor Scene. Sensors 2018, 18, 3608. [Google Scholar] [CrossRef] [PubMed]
- Kamencay, P.; Sinko, M.; Hudec, R.; Benco, M.; Radil, R. Improved Feature Point Algorithm for 3D Point Cloud Registration. In Proceedings of the 2019 42nd International Conference on Telecommunications and Signal Processing (TSP), Budapest, Hungary, 1–3 July 2019. [Google Scholar]
- Yang, Y.; Li, H.; Yang, J.; Zhong, D. Structured Down-Sampling and Registration Method for 3D Point Cloud of Indoor Scene. In Proceedings of the 2019 IEEE International Conference on Systems, Man and Cybernetics (SMC), Bari, Italy, 6–9 October 2019. [Google Scholar]
- Böhm, J.; Becker, S. Automatic Marker-Free Registration of Terrestrial Laser Scans Using Reflectance Features. In Proceedings of the 8th Conference on Optical 3D Measurement Techniques, Zurich, Switzerland, 9–12 July 2007; pp. 338–344. [Google Scholar]
- Barnea, S.; Filin, S. Keypoint Based Autonomous Registration of Terrestrial Laser Point-Clouds. ISPRS J. Photogramm. Remote Sens. 2008, 63, 19–35. [Google Scholar] [CrossRef]
- Rusu, R.B.; Marton, Z.C.; Blodow, N.; Beetz, M. Persistent Point Feature Histograms for 3D Point Clouds. In Intelligent Autonomous Systems 10; IOS Press: Amsterdam, The Netherlands, 2008; pp. 119–128. [Google Scholar] [CrossRef]
- Rusu, R.B.; Blodow, N.; Beetz, M. Fast Point Feature Histograms (FPFH) for 3D Registration. In Proceedings of the 2009 IEEE International Conference on Robotics and Automation, Kobe, Japan, 12–17 May 2009; pp. 3212–3217. [Google Scholar] [CrossRef]
- Sipiran, I.; Bustos, B. Harris 3D: A Robust Extension of the Harris Operator for Interest Point Detection on 3D Meshes. Vis. Comput. 2011, 27, 963. [Google Scholar] [CrossRef]
- Qi, L.; Xiang, H.; Shuanggao, L.; Zhengping, D. Feature Extraction from Point Clouds for Rigid Aircraft Part Inspection Using an Improved Harris Algorithm. Meas. Sci. Technol. 2018, 29, 115202. [Google Scholar] [CrossRef]
- Ye, Q.; Liu, H.; Lin, Y. Study of RGB-D Point Cloud Registration Method Guided by Color Information. In Proceedings of the International Conference on Information Optics and Photonics, Xi’an, China, 23–26 July 2021. [Google Scholar]
- Kleppe, A.L.; Egeland, O. A Curvature-Based Descriptor for Point Cloud Alignment Using Conformal Geometric Algebra. Adv. Appl. Clifford Algebras 2018, 28, 50. [Google Scholar] [CrossRef]
- Xian, N.; Xiao, N.; Wang, N. A Fast Registration Algorithm of Rock Point Cloud Based on Spherical Projection and Feature Extraction. Front. Comput. Sci. 2019, 13, 13. [Google Scholar] [CrossRef]
- Lu, J.; Wang, Z.; Hua, B.; Chen, K. Automatic Point Cloud Registration Algorithm Based on the Feature Histogram of Local Surface. PLoS ONE 2020, 15, e0238802. [Google Scholar] [CrossRef] [PubMed]
- Ye, S.; Chen, D.; Han, S.; Wan, Z.; Liao, J. Meta-PU: An Arbitrary-Scale Upsampling Network for Point Cloud. arXiv 2021, arXiv:2102.04317. [Google Scholar] [CrossRef] [PubMed]
- Zhou, W.; Yang, Q.; Jiang, Q.; Zhai, G.; Lin, W. Blind Quality Assessment of 3D Dense Point Clouds with Structure Guided Resampling. arXiv 2022, arXiv:2208.14603. [Google Scholar] [CrossRef]















| Procedure | Parameter | Descriptor | Value | |
|---|---|---|---|---|
| Semantic feature points extraction | Regional point cloud segmentation and scoring | Threshold for point set volatility coefficient | 17 | |
| Gaussian weight bandwidth in point set scoringata | 2 | |||
| High feature point extraction | Tolerance of feature point extraction boundary | 0.15 | ||
| Point cloud registration | Correspondence matching | Feature similarity threshold for corresponding points | 3 | |
| The distance threshold of the corresponding point | 0.3 | |||
| The maximum search distance of the corresponding point pair | 4 |
| Semantic Feature Points Extraction (ms) | Point Cloud Registration | Total Time (s) | |||
|---|---|---|---|---|---|
| Regional Point Cloud Segmentation | Feature Point Extraction | One Iteration (ms) | Number of Iterations | ||
| Armadillo | 3139 | 2034 | 1.2 | 1022 | 6.4 |
| Bunny | 536 | 358 | 0.2 | 94 | 0.9 |
| Persistent Feature Point Extraction | Point Feature Extraction | Registration | |
|---|---|---|---|
| Method 1 | FPFH | FPFH | SAC_IA |
| Method 2 | Custom semantics | FPFH | SAC_IA |
| Method 3 | FPFH | FPFH | PFP_SAC_IA |
| Method 4 | Harris | FPFH | PFP_SAC_IA |
| Method 5 | Custom semantics | FPFH | PFP_SAC_IA |
| Armadillo | Bunny | |||||
|---|---|---|---|---|---|---|
| Registration Error | Time Cost (s) | Number of Iterations | Registration Error | Time Cost (s) | Number of Iterations | |
| Method 1 | 0.068749 | 430.8 | 65 | 10.67 | 28 | |
| Method 2 | 0.0989533 | 601.3 | 164 | 3.71 | 94 | |
| Method 3 | 0.303254 | 56.9 | 10,000 | 3.51 | 3552 | |
| Method 4 | 1.09559 | 24.5 | 10,000 | 4.47 | 10,000 | |
| Method 5 | 0.0989533 | 6.4 | 164 | 0.93 | 94 | |
| KITTI Odometry Benchmark Velodyne | Marketplace | |||
|---|---|---|---|---|
| Registration Error | Time Cost (s) | Registration Error | Time Cost (s) | |
| P2P-ICP | 0.00508164 | 27 | 23 | 291 |
| P2L-ICP | 0.00045351 | 21 | 103 | 276 |
| 4PCS | 0.0791283 | 17 | 0.0415829 | 53 |
| Our method | 0.00492884 | 15 | 0.0253817 | 37 |
Publisher’s Note: MDPI stays neutral with regard to jurisdictional claims in published maps and institutional affiliations. |
© 2022 by the authors. Licensee MDPI, Basel, Switzerland. This article is an open access article distributed under the terms and conditions of the Creative Commons Attribution (CC BY) license (https://creativecommons.org/licenses/by/4.0/).
Share and Cite
Wu, J.; Xiao, Z.; Chen, F.; Peng, T.; Xiong, Z.; Yuan, F. Fast Registration of Point Cloud Based on Custom Semantic Extraction. Sensors 2022, 22, 7479. https://doi.org/10.3390/s22197479
Wu J, Xiao Z, Chen F, Peng T, Xiong Z, Yuan F. Fast Registration of Point Cloud Based on Custom Semantic Extraction. Sensors. 2022; 22(19):7479. https://doi.org/10.3390/s22197479
Chicago/Turabian StyleWu, Jianing, Zhang Xiao, Fan Chen, Tianlin Peng, Zhi Xiong, and Fengwei Yuan. 2022. "Fast Registration of Point Cloud Based on Custom Semantic Extraction" Sensors 22, no. 19: 7479. https://doi.org/10.3390/s22197479
APA StyleWu, J., Xiao, Z., Chen, F., Peng, T., Xiong, Z., & Yuan, F. (2022). Fast Registration of Point Cloud Based on Custom Semantic Extraction. Sensors, 22(19), 7479. https://doi.org/10.3390/s22197479
