Hybrid Random Forest and Support Vector Machine Modeling for HVAC Fault Detection and Diagnosis
Abstract
:1. Introduction
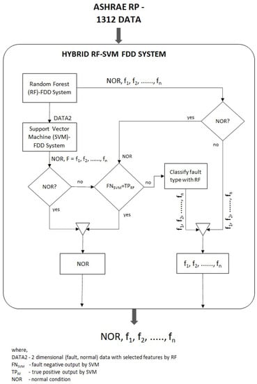
- Based on the historical data obtained from the building management system (BMS), the proposed hybrid method was developed by combining the merits of RF and SVM classifiers. It is not necessary to have prior knowledge of the HVAC system or the cause of the faults, which is advantageous for nonspecialists.
- In the proposed system, the significant features can be automatically generated with the use of RF classifier, and this enhances the generalization and computational performance. In addition, the proposed method can significantly reduce the number of sensors required for the entire HVAC system to identify the faults efficiently, which is useful in real-world applications.
- The HVAC system operational data obtained from the BMS is always unbalanced, where the normal conditional data is always more than the faulty conditional data. Since the proposed HRF–SVM uses the merits of both RF and SVM, the imbalanced input data from BMS is effectively handled by implementing RF as a multiclass classifier for fault types classification and SVM as a binary classifier to identify the normal conditions.
2. Background
2.1. Random Forest (RF)
- For to B:
- (a)
- Draw a bootstrap sample X of size N from the training data.
- (b)
- Grow an RF tree to the bootstrapped data by recursively repeating the following steps for each terminal node of the tree until the minimum node size is reached:
- i.
- Select m variables at random for the p variables.
- ii.
- Pick the best variable/split-point among the m.
- iii.
- Split the node into two daughter nodes.
- Output the ensemble of the tree :
- To make a regression at new points x, .
- To make a classification , whereas is defined as the class prediction of the bth RF tree.
2.2. Support Vector Machine (SVM)
3. Methodology
4. Experiment
4.1. Dataset and Parameters
4.2. Feature Selection
4.3. Evaluation of Hybrid RF-SVM Model
4.4. Comparison of Performance of HRF–SVM Model with Other Methods
5. Conclusions
Author Contributions
Funding
Institutional Review Board Statement
Informed Consent Statement
Data Availability Statement
Conflicts of Interest
References
- IEA. Transition to Sustainable Buildings. Strategies and Opportunities to 2050; IEA: Paris, France, 2013. [Google Scholar]
- Seem, J.E.; House, J.M. Integrated control and fault detection of air-handling units. HVAC&R Res. 2009, 15, 25–55. [Google Scholar]
- Wang, H.; Chen, Y.; Chan, C.W.H.; Qin, J.; Wang, J. Online model-based fault detection and diagnosis strategy for VAV air handling units. Energy Build. 2012, 55, 252–263. [Google Scholar] [CrossRef]
- Beghi, A.; Brignoli, R.; Cecchinato, L. A data-driven approach for fault diagnosis in HVAC chiller systems. In Proceedings of the IEEE Conference on Control Applications, Sydney, Australia, 21–23 September 2015. [Google Scholar]
- Xiao, F.; Zhao, Y.; Wen, J.; Wang, S. Bayesian network based FDD strategy for variable air volume terminals. Autom. Constr. 2014, 41, 106–118. [Google Scholar] [CrossRef]
- Du, J.; Er, M.J.; Rutkowski, L. Fault Diagnosis of an Air-Handling Unit System Using a Dynamic Fuzzy-Neural Approach. In Proceedings of the 10th International Conference on Artificial Intelligence and Soft Computing, Zakopane, Poland, 13–17 June 2010. [Google Scholar]
- Yuwonoa, M.; Guo, Y.; Wall, J. Unsupervised feature selection using swarm intelligence and consensus clustering for automatic fault detection and diagnosis in Heating Ventilation and Air Conditioning systems. Appl. Soft Comput. 2015, 34, 402–425. [Google Scholar] [CrossRef]
- Shahnazari, H.; Mhaskar, P. Modeling and fault diagnosis design for HVAC systems using recurrent neural networks. Comput. Chem. Eng. 2019, 6, 189–203. [Google Scholar] [CrossRef]
- Liang, J.; Du, R. Model-based fault detection and diagnosis of HVAC systems using support vector machine method. Int. J. Refrig. 2007, 30, 1104–1114. [Google Scholar] [CrossRef]
- Li, J.; Guo, Y.; Wall, J.; West, S. Support vector machine based fault detection and diagnosis for HVAC systems. Int. J. Intell. Syst. Technol. Appl. 2019, 18, 204–222. [Google Scholar] [CrossRef]
- Zhang, D.; Qian, L.; Mao, B.; Huang, C. A Data-Driven Design for Fault Detection of Wind Turbines Using Random Forests and XGboost. Energy Build. 2018, 6, 21020–21031. [Google Scholar] [CrossRef]
- Chakraborty, D.; Elzarka, H. Early detection of faults in HVAC systems using an XGBoost model with a dynamic threshold. Energy Build. 2019, 185, 326–344. [Google Scholar] [CrossRef]
- Yana, R.; Ma, Z.; Zhaob, Y.; Kokogiannakis, G. A decision tree based data-driven diagnostic strategy for air handling units. Energy Build. 2016, 133, 37–45. [Google Scholar] [CrossRef]
- West, S.R.; Guo, Y. Automated Fault Detection And Diagnosis Of HVAC Subsystems Using Statistical Machine Learning. In Proceedings of the Building Simulation 2011: 12th Conference of International Building Performance Simulation Association, Sydney, Australia, 14–16 November 2011. [Google Scholar]
- Zhao, Y.; Wen, J.; Wang, S. Diagnostic Bayesian networks for diagnosing air handling units faults—Part II: Faults in coils and sensors. Appl. Therm. Eng. 2015, 90, 145–157. [Google Scholar] [CrossRef]
- Zhao, Y.; Wen, J.; Wang, S. Diagnostic Bayesian networks for diagnosing air handling units faults—Part I: Faults in dampers, fans, filters and sensors. Appl. Therm. Eng. 2017, 111, 1272–1286. [Google Scholar] [CrossRef]
- Yan, K.; Ji, Z.; Shen, W. Online Fault Detection Methods for Chillers Combining Extended Kalman Filter and Recursive One-class SVM. Neurocomputing 2017, 228, 205–212. [Google Scholar] [CrossRef] [Green Version]
- Yan, K.J.; Ji, Z.; Lu, H.; Huang, J.; Shen, W.; Xue, Y. Fast and Accurate Classification of Time Series Data Using Extended ELM: Application in Fault Diagnosis of Air Handling Units. IEEE Trans. Syst. Man Cybern. 2019, 49, 1349–1356. [Google Scholar] [CrossRef]
- Lee, K.P.; Wu, B.H.; Peng, S.L. Deep-learning-based fault detection and diagnosis of air-handling units. Build. Environ. 2019, 157, 24–33. [Google Scholar] [CrossRef]
- Liao, H.; Cai, W.; Cheng, F.; Dubey, S.; Rajesh, P.B. An Online Data-Driven Fault Diagnosis Method for Air Handling Units by Rule and Convolutional Neural Networks. Sensors 2021, 21, 4358. [Google Scholar] [CrossRef] [PubMed]
- Saifur, R.M.; Khaledur, R.M.; Kaykobada, M.; Sohel, R.M. An optimized model to identify sub-Golgi protein types using SVM and Random Forest based feature selection. Artif. Intell. Med. 2018, 84, 90–100. [Google Scholar]
- Rustam, Z.; Sudarsono, E.; Sarwinda, D. Hybrid SVM—Random-Forest (RF) and Support Vector Machine (SVM) Implementation for Analysis of Gene Expression Data in Chronic Kidney Disease (CKD). In Proceedings of the 9th Annual Basic Science International Conference, Malang, Indonesia, 20–21 March 2019. [Google Scholar]
- Demidova, L.A.; Klyueva, I.A.; Pylkin, A.N. Hybrid Approach to Improving the Results of the SVM Classification Using the Random Forest Algorithm. Procedia Comput. Sci. 2019, 150, 455–461. [Google Scholar] [CrossRef]
- Wen, J.; Li, S. ASHRAE 1312-RP: Tools for Evaluating Fault Detection and Diagnostic Methods for Air-Handling Units—Final Report; Drexel University: Philadelphia, PA, USA, 2011. [Google Scholar]
- Genuer, R.; Poggi, J.M.; Tuleau, M.C. Variable selection using random forests. Pattern Recognit. Lett. 2010, 31, 2225–2236. [Google Scholar] [CrossRef] [Green Version]
- Aldrich, C.; Auret, L. Fault detection and diagnosis with random forest feature extraction and variable importance methods. IFAC Proc. Vol. 2010, 43, 79–86. [Google Scholar] [CrossRef]
- Jan, S.U.; Lee, Y.D.; Shin, J.; Koo, I. Sensor Fault Classification Based on Support Vector Machine and Statistical Time-Domain Features. IEEE Access 2017, 5, 8682–8690. [Google Scholar] [CrossRef]







| Fault | Abbreviation | Description | Test Date | Sample |
|---|---|---|---|---|
| 19 August 2007 | ||||
| F0 | NORMAL | Normal condition | 25 August 2007 | 2160 |
| 04 September 2007 | ||||
| F1 | CCVOP | Cooling coil valve opened | 01 September 2007 | 432 |
| F2 | CCVOP | Cooling coil valve opened | 02 September 2007 | 432 |
| F3 | CCVCL | Cooling coil valve fully closed | 27 August 2007 | 576 |
| F4 | CCVOP | Control coil valve fully opened | 31 August 2007 | 360 |
| F5 | DLAFTSF | Duct leak after supply air fan | 07 September 2007 | 360 |
| F6 | DLBFSF | Duct leak before supply air fan | 08 September 2007 | 360 |
| F7 | EADAMPCL | Exhaust air damper closed | 20 August 2007 | 288 |
| F8 | EADAMPOP | Exhaust air damper opened | 21 August 2007 | 288 |
| F9 | OADAMPOP | Outside air damper opened | 05 September 2007 | 288 |
| F10 | OADAMPOP | Outside air damper opened | 06 September 2007 | 288 |
| F11 | OADAMPCL | Outside air damper closed | 26 August 2007 | 360 |
| F12 | RFFAIL | Return air fan failure | 23 August 2007 | 360 |
| F13 | RFSPD | Return air fan fixed speed | 22 August 2007 | 288 |
| Fault | Precision (%) | Recall (%) | F1-Score (%) |
|---|---|---|---|
| NORMAL | 100 | 100 | 100 |
| CCVOP | 100 | 99 | 99 |
| CCVOP | 100 | 100 | 100 |
| CCVCL | 100 | 100 | 100 |
| CCVOP | 100 | 93 | 96 |
| DLAFTSF | 94 | 88 | 91 |
| DLBFSF | 87 | 94 | 90 |
| EADAMPCL | 100 | 98 | 99 |
| EADAMPOP | 93 | 100 | 96 |
| OADAMPOP | 100 | 95 | 97 |
| OADAMPOP | 95 | 100 | 97 |
| OADAMPCL | 100 | 99 | 99 |
| RFFAIL | 100 | 100 | 100 |
| RFSPD | 97 | 100 | 98 |
| Fault | HRF–SVM (%) | RF (%) | SVM (%) | OvR-SVM (%) | EKF-CS-D-ELM (%) |
|---|---|---|---|---|---|
| NORMAL | 100 | 52 | 100 | 98 | NA |
| CCVOP | 99 | 100 | 81 | 99 | 96.7 |
| CCVOP | 100 | 100 | 92 | 91 | 99.1 |
| CCVCL | 100 | 100 | 98 | 100 | 96.4 |
| CCVOP | 93 | 88 | 65 | 82 | 95.9 |
| DLAFTSF | 88 | 76 | 4 | 26 | 94.4 |
| DLBFSF | 94 | 93 | 7 | 54 | 97.6 |
| EADAMPCL | 98 | 100 | 78 | 25 | 95.2 |
| EADAMPOP | 100 | 98 | 98 | 100 | 91.3 |
| OADAMPOP | 95 | 89 | 0 | 4 | NA |
| OADAMPOP | 100 | 98 | 0 | 13 | 92.4 |
| OADAMPCL | 99 | 100 | 91 | 99 | 91.3 |
| RFFAIL | 100 | 100 | 100 | 100 | 93.1 |
| RFSPD | 100 | 100 | 100 | 100 | 84.1 |
| Model Accuracy | 98 | 82 | 77 | 81 | 94 |
Publisher’s Note: MDPI stays neutral with regard to jurisdictional claims in published maps and institutional affiliations. |
© 2021 by the authors. Licensee MDPI, Basel, Switzerland. This article is an open access article distributed under the terms and conditions of the Creative Commons Attribution (CC BY) license (https://creativecommons.org/licenses/by/4.0/).
Share and Cite
Tun, W.; Wong, J.K.-W.; Ling, S.-H. Hybrid Random Forest and Support Vector Machine Modeling for HVAC Fault Detection and Diagnosis. Sensors 2021, 21, 8163. https://doi.org/10.3390/s21248163
Tun W, Wong JK-W, Ling S-H. Hybrid Random Forest and Support Vector Machine Modeling for HVAC Fault Detection and Diagnosis. Sensors. 2021; 21(24):8163. https://doi.org/10.3390/s21248163
Chicago/Turabian StyleTun, Wunna, Johnny Kwok-Wai Wong, and Sai-Ho Ling. 2021. "Hybrid Random Forest and Support Vector Machine Modeling for HVAC Fault Detection and Diagnosis" Sensors 21, no. 24: 8163. https://doi.org/10.3390/s21248163
APA StyleTun, W., Wong, J. K.-W., & Ling, S.-H. (2021). Hybrid Random Forest and Support Vector Machine Modeling for HVAC Fault Detection and Diagnosis. Sensors, 21(24), 8163. https://doi.org/10.3390/s21248163

