Simulation-Based Design and Optimization of Accelerometers Subject to High-Temperature and High-Impact Loads
Abstract
:1. Introduction
1.1. Accelerometers in Harsh Environment
1.2. Sensing Mechanism
1.3. Design Challenges for an Accelerometer Subject to High Temperature and High Impact
- (1)
- The sensing system is an assembly of several parts. A failure of any part under an extreme temperature will lead to the failure of the system. Therefore, the materials must be carefully selected so that all the parts are free of failure in the required varying range of temperature. From this perspective, ideal materials should demonstrate the properties of high-temperature resistance such as steel alloys (metals materials) or ceramics (non-metals materials).
- (2)
- The sensing element with the piezoelectric materials must sustain its measuring capability under a high temperature. Many studies have been reported on the development of sensors for applications with high temperature [5].
- (3)
- Taking into consideration a wide and varying range of temperature, the selection of materials should ensure the thermal–structural stability of the sensing system. However, it should be noted that the thermal–structural characteristics of the sensing system are highly coupled with several uncertainties; this presents a difficulty in selecting appropriate materials for parts in the system.
- (4)
- The operation modes reflect different physical conditions for the sensing system. For example, if the system is in the storage, no impact load is involved and the temperature surrounding the system is around 20 °C. It is known as a static state under normal temperature. The conventional combat mode is a combination of the storage mode with an impact load. In addition, both non-combat and combat modes may involve high-temperature conditions. The non-combat mode with a high temperature is the combination of storage mode with a constant high temperature. The combat mode under high temperature is the combination of non-combat mode, high temperature, and impact load. Defining and analyzing the working states is critical to understanding the working mechanism and thus optimizing the design of the sensing system.
1.4. The Research Scope of This Paper
2. Structural Design and Analysis
2.1. Sensor Structure
2.2. Experimental Scheme
3. Simulation Model
3.1. Static Analysis with Initial Preloading on Bolt
- Step 1-1: The geometries of parts in the sensing systems are modeled by parameters and dimensions in Table 1.
- Step 1-2: The initial bolt elongation is calculated, it is assumed that the connectors are rigid. Based on the given design parameters in Table 2, the tensile stress of the bolt is Pdesign = 185 MPa, and the initial bolt elongation is determined bywhere and are the design length and elastic modulus of the bolt, respectively. Then,
- Step 1-3: The initial elongation is treated as an interference amount between the nut and mass block.
- Step 1-4: The nut and bolt are set as a glue condition; while other pairs of parts in the model are defined as contact pairs.
- Step 1-5: A compulsory contact pair is defined between the lower surface of the nut and the upper surface of the mass block, which is shown in Figure 6.
- Step 1-6: The tensile stress of the weakest section of the bolt is analyzed and the result is shown in Figure 7. It is then compared with the design target in Step 2. The nut interference amount must be adjusted until the analysis result is matched with the design value (185 MPa). In this case, the interference amount is obtained as 0.02-mm.
3.2. Dynamic Modeling and Analysis
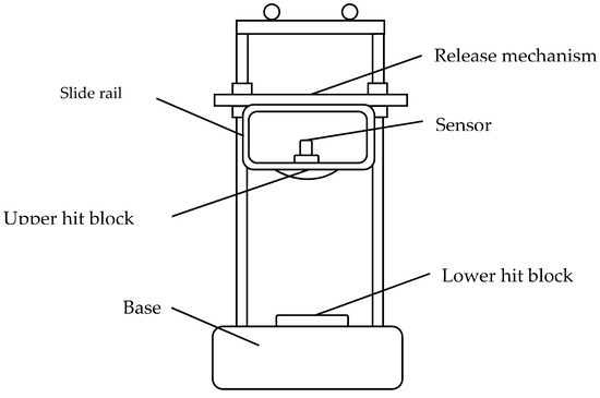
- Step 2-1: The structure of sensor in the test bench (Figure 8) is simplified by suppressing the slide rail. The lower hit block and the base are simplified and glued as a long cylinder (lower hit block assembly). The upper hit block is simplified into a short cylinder of a diameter equal to the lower block. The mass of the short cylinder is set as the same to the mass of the whole free-falling structure in the physical test. In that case, the dynamic model could simulate the same impact of the experiment. The lower surface of the sensor and the upper surface of the upper hit block are glued.
- Step 2-2: The collision velocity is calculated. The drop height of 50-mm is commonly used in the physical experiment, accordingly, the velocity at the time of collision is set as v = 1-m/s, which generates acceleration of 7217 g.
- Step 2-3: The motion in the physical experiments is simplified by using the principle of relative motions. In the physical experiments, the sensing element and the upper block hit the lower block at the velocity of 1-m/s. To simplify the analysis, the simulation model defines moving objects with a relative velocity and the base part is fixed; i.e., the upper block and sensing element are hit with the constraints of no displacement. The lower hit block assembly moves with the initial velocity of 1-m/s until collide occurs to the upper hit block. The gap between the upper and lower blocks is set as 0.35-mm; this implies that the collision will happen at the time moment of 350-µs. The collision time is thoroughly calculated to adapt the loading of all the simulation parameters. Figure 8 shows the simulation model for dynamic analysis.
3.3. Preloading of Bolts in Dynamic Analysis
- Step 3-1: The bolt preload interference is defined in the dynamic simulation model, and the value for preloading interference is estimated in Section 3.1. In this simulation, the interference amount is 0.02-mm. In the geometric model, the interference is given between the nut and the mass block; while the nut and bolt are glued. The contact pair of the nut and mass bock is defined at the initial stage and represented in Figure 9. Other contact pairs in the model are defined as face-face contacts.
- Step 3-2: The force-time relation is defined, and it is applied on the top end of the bolt to load the preloading action as shown in Figure 10.The bolt will be pulled until there is a clearance between nut and mass block. Figure 11 shows such a scenario. Then the pulling force is released to initialize the contacts at the pair of surfaces. The nut will meet and contact with the mass block when the bolt bounces back, and the initial bolt preload is expressed in the dynamic simulation model.
- Step 3-3: The dynamic simulation model is an un-damped system, and a sudden change of the load will cause system oscillating. To reduce the computation, it is desirable to shorten the loading time, and it is usually with the units of milliseconds or microseconds. The pulling force should be within the elastic range to avoid the plastic deformation occurring to the bolt. Moreover, the load curve should be as smooth as possible. The model will continue to oscillate after the contact pair is formed. Figure 12 shows the applied damping to eliminate oscillation. The aforementioned methods allow stabilizing the simulation model.
3.4. Loading Thermal Load
- Step 4-1: The temperature-time curve is defined in the model, and Figure 13 shows the temperature change with respect to time. The thermal load must be within the limit to prevent the sensing system from yielding or damage. The loading time of the temperature change should be extended appropriately, and the temperature-time curve should be as smooth as possible.
- Step 4-2: After the thermal loading is completed, the damping is applied to eliminate the oscillation caused by a thermal loading. Finally, a stabilized state is obtained, and the stability state reflects the coupled actions of bolt initial preloading and thermal loads in the simulation model.
3.5. Loading Impact
- Step 5-1: Based on the model presented in Section 3.4, the initial velocity is defined for the lower hit block assembly. The impact load is applied by the collision. The sensing system becomes an elastically oscillating system. If the initial velocity is applied on sensing element, the velocity will be built up instantly. The sudden change of the velocity will cause a shock oscillation and an inaccurate reflection of the impact load. If damping is applied to eliminate the shock oscillation, the motion of the sensing element is also restricted, and the collision will be reflected inaccurately. Therefore, it is desirable to set the lower hit block assembly as a moving part.
- Step 5-2: After the collision is completed, the sensing system will produce an un-damped periodic oscillation. In fact, the sensing system is a damped elastic oscillation system, and the waveform of the oscillation will be gradually decayed. A certain damping-time curve should be applied to the sensing system to represent the attenuation of the oscillation.
4. Analysis of the Simulation Result
4.1. The Illustration of the Whole Dynamic Process
- (1)
- A–B corresponds to the preloading process of bolt.
- (2)
- B–C shows the oscillation produced by preloading has been stabilized by damping. The stress value after the stabilization is −59.1 MPa. This explains the effect of bolt preload.
- (3)
- C–D shows the loading process of thermal loads and the incurred oscillation.
- (4)
- D–E shows the oscillation induced by the thermal loads has been eliminated by damping, and the stress value is −37.1 MPa. That means the sensor structure becomes loose due to the thermal action, which is similar to the characteristics of experimental test. The compressive stress on piezoelectric sheet is decreased by 22.0 MPa.
- (5)
- E–F shows that the impact action and its oscillation have a positive amplitude of −60.8 MPa (compressive stress) and a reverse amplitude of −20.1 MPa (compressive stress). In this situation, the curve reflects the baseline of the sensing element is −37.1 MPa, and it detects the compressive stress of the forward impact strength of −23.7 MPa, and the tensile stress of the reverse impact strength of 17 MPa.
4.2. Characteristics of Thermal Structure
5. Design Optimization
- (1)
- Increasing the preload of the bolt. The response baseline of the sensing system can be promoted by increasing the initial preloading stress, which contributes to resisting the reverse impact and increasing the range of thermal load.
- (2)
- Thermal expansion coefficient of the sensing structure should be optimized. According to the analysis result of Section 4.2, the effect of the preload of bolt was relaxed greatly with the increase of temperature, and the sensing system even malfunctioned when the temperature reached 648 °C. Therefore, the thermal expansion coefficient is a key factor to improve the thermal work capacity and stability. We choose this scheme as the benchmarking reference to optimize the sensor design.
- (3)
- The thermal expansion coefficient of mass block is optimized. The mass block does not play a significant role but contributes to the inertial impact; it has the maximized length along the axial direction. Figure 17 shows that the optimization of the thermal expansion coefficient on the mass block significantly adjusted the preloading effect of the whole system [33]. Here, the coefficient of the thermal expansion of the mass block is optimized to 16.8 × 10−6 °C. The sensor has a good thermal impact response, and the system is stable. Figure 18 shows the dynamic responses of piezoelectric sheet with the mass block of its optimized coefficient of thermal expansion. The details of system responses are given in Table 4.
6. Conclusions
- (1)
- A prototype of the virtual experiment and its simulation technology are developed to reveal the couplings of thermal loads and impact loads over the sensing structure. Accordingly, the simulation model takes into accounts of all major factors such as preloads of bolts, temperature changes, and dynamic impact loads.
- (2)
- A new form of quasi-static analysis method is proposed. It uses the result of dynamic analysis to express a static mode of the objects to be investigated. The method was adopted to represent the effect of initial preloads and thermal loads. The method has great potential to be extended to represent any static mode with a sequence of dynamic loading conditions.
- (3)
- The simulation of the initial design has shown that the sensing system could only work below a temperature of 260 °C, and it led to the conclusion that the thermal expansion coefficient of the sensing system affected the performance of the sensing system significantly when subject to a high temperature.
- (4)
- The simulation-based method was adopted to improve the sensing system by optimizing the coefficients of thermal expansions of the mass block. It led to an optimized sensing system, which can survive without a malfunction up to a temperature of 648 °C. This case study has shown the effectiveness of the proposed method for design optimization of accelerometers under extremely harsh conditions.
Author Contributions
Funding
Acknowledgments
Conflicts of Interest
References
- Song, P.; Li, K.J. Development of the technique of high shock test on hard-target penetration weapons and high-g accelerometer at abroad. Meas. Control Technol. 2002, 21, 30–32. [Google Scholar]
- Shang, Y.L.; Ma, B.H. An inertia switch structure design based on the computer simulation. J. Detect. Control 2004, 26, 44–46. [Google Scholar]
- Lü, X.Z.; Jiang, J.N.; Wang, H.; Gao, Q.B.; Zhao, S.B.; Li, N.; Yang, J.Y.; Wang, S.L.; Bao, W.M.; Chen, R.J. Sensitivity-Compensated Micro-Pressure Flexible Sensor for Aerospace Vehicle. Sensors 2019, 19, 72. [Google Scholar] [CrossRef] [PubMed]
- Lee, G.-J.; Hwang, W.-J.; Park, J.-J.; Lee, M.-K. Study of sensitive parameters on the sensor performance of a compression-type piezoelectric accelerometer based on the meta-model. Energies 2019, 12, 1381. [Google Scholar] [CrossRef]
- Jiang, X.N.; Kim, K.; Zhang, S.J.; Johnson, J.; Salazar, G. High-temperature piezoelectric sensing. Sensors 2014, 14, 144–169. [Google Scholar] [CrossRef] [PubMed]
- Tian, F. Study on the Influence Caused by Thermal to Structure of Piezoelectric Dynamometer. Ph.D. Thesis, Dalian University of Technology, Dalian, China, 2015; pp. 12–16. [Google Scholar]
- Zhang, Z.C.; Yang, L.M. Optimizing design of piezoelectric accelerometer under high impact environment using Msc.dytran software. Transducer Microsyst. Technol. 2009, 28, 61–66. [Google Scholar]
- Zhang, S.; Jiang, X.; Lapsley, M.; Moses, P.; Shrout, T.R. Piezoelectric accelerometers for ultrahigh-temperature application. Appl. Phys. Lett. 2010, 96. [Google Scholar] [CrossRef]
- Cheng, P.; Cheng, J. Experiment research on thermal shock effect of piezoelectric pressure transducers. Transducer Microsyst. Technol. 2006, 25, 32–34. [Google Scholar]
- Goyal, S.; Buratynski, E.K. Method for Realistic Drop-Testing. Int. J. Microcircuits Electron. Packag. 2000, 23, 45–52. [Google Scholar]
- Liu, T.G.; Zhang, D. Measurement and analysis on shock delayed response time of piezoelectric sensor. Meas. Control Technol. 2016, 35, 10–12. [Google Scholar]
- Guo, L.; Zhao, Y. Based on the piezoelectric accelerometer measurement method to study the impact of the acceleration. J. Chang. Univ. Sci. Technol. 2011, 3, 55–57. [Google Scholar]
- Hughes, K.; Vignjevic, R.; Corcoran, F.; Gulavani, O.; De Vuyst, T.; Campbell, J.; Djordjevic, N. Transferring momentum: Novel drop protection concept for mobile devices. Int. J. Impact Eng. 2018, 117, 85–101. [Google Scholar] [CrossRef]
- Cadge, D.; Wang, H.; Bai, R. Drop test simulation of electronic devices using finite element method. In Proceedings of the International Conference on Electronic Materials and Packaging, Kowloon, China, 11–14 December 2006. [Google Scholar]
- Hwan, C.-L.; Lin, M.-J.; Lo, C.-C.; Chen, W.-L. Drop tests and impact simulation for cell phones. J. Chin. Inst. Eng. 2011, 34, 337–346. [Google Scholar] [CrossRef]
- Yu, D.; Kwak, J.B.; Park, S.; Lee, J. Dynamic responses of PCB under product-level free drop impact. Microelectron. Reliab. 2010, 50, 1028–1038. [Google Scholar] [CrossRef]
- Dong, Z.; Yang, M. Optimal design of a double-vibrator ultrasonic motor using combination method of finite element method, sensitivity analysis and adaptive genetic algorithm. Sens. Actuators A Phys. 2017, 266, 1–8. [Google Scholar] [CrossRef]
- Ladani, L.; Nelson, S. A novel piezo-actuator-sensor micromachine for mechanical characterization of micro-specimens. Micromachines 2010, 1, 129–152. [Google Scholar] [CrossRef]
- Lim, C.T.; Teo, Y.M.; Shim, V.P.W. Numerical simulation of the drop impact response of a portable electronic product. IEEE Trans. Compon. Packag. Technol. 2002, 25, 478–485. [Google Scholar]
- Kim, J.G.; Park, Y.K. Experimental verification of drop/impact simulation for a cellular phone. Exp. Mech. 2004, 44, 375–380. [Google Scholar] [CrossRef]
- Karppinen, J.; Li, J.; Pakarinen, J.; Mattila, T.T.; Paulasto-Krockel, M. Shock impact reliability characterization of a handheld product in accelerated test and use environment. Microelectron. Reliab. 2012, 52, 190–198. [Google Scholar] [CrossRef]
- Choi, B.; Kwon, J.; Jeon, Y.; Lee, M.G. Development of novel platform to predict the mechanical damage of a miniature mobile haptic actuator. Micromachines 2017, 8, 156. [Google Scholar] [CrossRef]
- Somasundaram, D.S.; Trabia, M.B.; O'Toole, B.J. A methodology for predicting high impact shock propagation within bolted-joint structures. Int. J. Impact Eng. 2014, 73, 30–42. [Google Scholar] [CrossRef]
- Nakalswamy, K.K. Experimental and Numerical Analysis of Structures with Bolted Joints Subjected to Impact Load. Ph.D. Thesis, University of Nevada, Reno, NV, USA, 2010. [Google Scholar]
- Langer, P.; Sepahvand, K.; Guist, C.; Marburg, S. Finite element modeling for structural dynamic analysis of bolted joints under uncertainty. Procedia Eng. 2017, 199, 954–959. [Google Scholar] [CrossRef]
- DeAngelis, D.A.; Schulze, G.W.; Wong, K.S. Optimizing piezoelectric stack preload bolts in ultrasonic transducers. Phys. Procedia 2015, 6, 11–20. [Google Scholar] [CrossRef]
- Choi, B.; Choi, H.; Kang, Y.S.; Jeon, Y.; Lee, M.J. 2-step drop impact analysis of a miniature mobile haptic actuator considering high strain rate and damping effects. Micromachines 2019, 10, 272. [Google Scholar] [CrossRef] [PubMed]
- Academic Committee of the Superalloys, CSM. China Superalloys Handbook, 1st ed.; China Zhijian Publishing House: Beijing, China, 2012; pp. 585–588. [Google Scholar]
- Tang, X.H. Study on Piezoelectric Accelerometers FE Model and its Application. Ph.D. Thesis, Yanshan University, Qinhuangdao, China, 2012; pp. 59–68. [Google Scholar]
- Sae, U.P.; Madhu, R.K.; Thomson, K.R.; Robbins, J.L. A FE modeling and validation of vehicle rubber mount preloading and impact response. In Proceedings of the 8th International LS-DYNA Users Conference, Crash/Safty, Dallas, TX, USA, 2004; Volume 5, pp. 23–32. Available online: https://www.dynalook.com/conferences/international-conf-2004/05-3.pdf (accessed on 29 August 2019).
- O’Toole, B.; Nakalswamy, K.K.; Feghhi, M. Experimental and finite element analysis of preloaded bolted joints under impact loading. In Proceedings of the 47th AIAA/ASME/ASCE/AHS/ASC structures, Newport, RI, USA, 1–4 May 2006; Volume 3, pp. 2024–2032. [Google Scholar]
- Li, J.; Tian, Y.L. Modeling approach for bolt preload of piezoelectric accelerometer work at high temperature and high impact. J. Mach. Des. 2018, 35, 115–118. [Google Scholar]
- Tian, Y.L.; Li, J. A Layer-Structured Mass Block and Acceleration Sensor. CN Patent 207,611,064U, 13 July 2018. [Google Scholar]


















| Part | Dimension Parameter | Dimensions (mm) | ||||
|---|---|---|---|---|---|---|
| Piezoelectric sheet | ![]() | d1 = 10 | d2 = 4.1 | h = 0.6 | ||
| Conductive sheet | ![]() | d1 = 10 | d2 = 4.5 | h = 0.2 | ||
| Insulating sheet | ![]() | d1 = 10 | d2 = 4.1 | h = 0.6 | ||
| Mass block | ![]() | d1 = 14 | d2 = 10 | d3 = 4.5 | h1 = 3 | h2 = 5.5 |
| Nut | ![]() | d1 = 8.5 | d2 = 4 | h = 2.5 | ||
| Parts | Material | Density (g/mm³) | Elastic Modulus (Pa) | Poisson’s Ratio | Thermal Expansion Coefficient (1/°C) |
|---|---|---|---|---|---|
| Piezoelectric sheet | PZT5 | 7.77 × 10−3 | 2.10 × 1011 | 0.30 | 7.46 × 10−6 |
| Center bolt | GH4093 alloy steel | 8.19 × 10−3 | 2.26 × 1011 | 0.30 | 1.19 × 10−5 |
| Conductive sheet | Cr20Ni80 alloy steel | 8.40 × 10−3 | 1.80 × 1011 | 0.33 | 1.80 × 10−5 |
| Insulating sheet | 95 ceramic | 3.70 × 10−3 | 2.21 × 1011 | 0.22 | 7.33 × 10−6 |
| Mass block | Tungsten alloy | 17.5 × 10−3 | 3.40 × 1011 | 0.27 | 6.75 × 10−6 |
| Nut | GH4093 alloy steel | 8.19 × 10−3 | 2.26 × 1011 | 0.30 | 1.19 × 10−5 |
| Shell | GH4093 alloy steel | 8.19 × 10−3 | 2.26 × 1011 | 0.30 | 1.19 × 10−5 |
| Temperature/°C | −70 | −55 | 260 | 482 | 648 |
|---|---|---|---|---|---|
| Action of initial bolt preloading/MPa | −59.1 | −59.1 | −59.1 | −59.1 | −59.1 |
| Bolt preload coupled with thermal/MPa | −64.8 | −63.4 | −37.1 | −14.8 | 0.0 |
| Action of thermal/MPa | −5.7 | −4.3 | +22.0 | +44.3 | +59.1 |
| Action of forward impact/MPa | −89.8 | −88.5 | −60.8 | −39.9 | −48.8 |
| Action of inverse impact/MPa | −45.7 | −43.8 | −20.1 | −4.1 | 0.0 |
| Failure or not | Safe | Safe | Safe | Failure | Failure |
| Temperature/°C | −70 | −55 | 260 | 482 | 648 |
|---|---|---|---|---|---|
| Action of initial bolt preloading /MPa | −59.1 | −59.1 | −59.1 | −59.1 | −59.1 |
| Bolt preload coupled with thermal/MPa | −59.3 | −59.2 | −57.1 | −52.3 | −47.8 |
| Action of thermal/MPa | −0.2 | −0.1 | +2.0 | +6.8 | +11.3 |
| Action of forward impact/MPa | −85.2 | −84.5 | −81.5 | −77.5 | −74.9 |
| Action of inverse impact/MPa | −40.2 | −41.1 | −40.8 | −34.9 | −28.8 |
| Failure or not | Safe | Safe | Safe | Safe | Safe |
© 2019 by the authors. Licensee MDPI, Basel, Switzerland. This article is an open access article distributed under the terms and conditions of the Creative Commons Attribution (CC BY) license (http://creativecommons.org/licenses/by/4.0/).
Share and Cite
Li, J.; Tian, Y.; Dan, J.; Bi, Z.; Zheng, J.; Li, B. Simulation-Based Design and Optimization of Accelerometers Subject to High-Temperature and High-Impact Loads. Sensors 2019, 19, 3759. https://doi.org/10.3390/s19173759
Li J, Tian Y, Dan J, Bi Z, Zheng J, Li B. Simulation-Based Design and Optimization of Accelerometers Subject to High-Temperature and High-Impact Loads. Sensors. 2019; 19(17):3759. https://doi.org/10.3390/s19173759
Chicago/Turabian StyleLi, Ji, Yaling Tian, Junjie Dan, Zhuming Bi, Jinhui Zheng, and Bailin Li. 2019. "Simulation-Based Design and Optimization of Accelerometers Subject to High-Temperature and High-Impact Loads" Sensors 19, no. 17: 3759. https://doi.org/10.3390/s19173759
APA StyleLi, J., Tian, Y., Dan, J., Bi, Z., Zheng, J., & Li, B. (2019). Simulation-Based Design and Optimization of Accelerometers Subject to High-Temperature and High-Impact Loads. Sensors, 19(17), 3759. https://doi.org/10.3390/s19173759





