A Novel Method for Separating and Locating Multiple Partial Discharge Sources in a Substation
Abstract
:1. Introduction
2. The Multi-PD Sources Separation Method Based on the TD Distribution Feature
2.1. The Direction Measurement Method in 3-D for One PD Source
2.2. The Multi-PD Sources Separation Characteristic Parameter
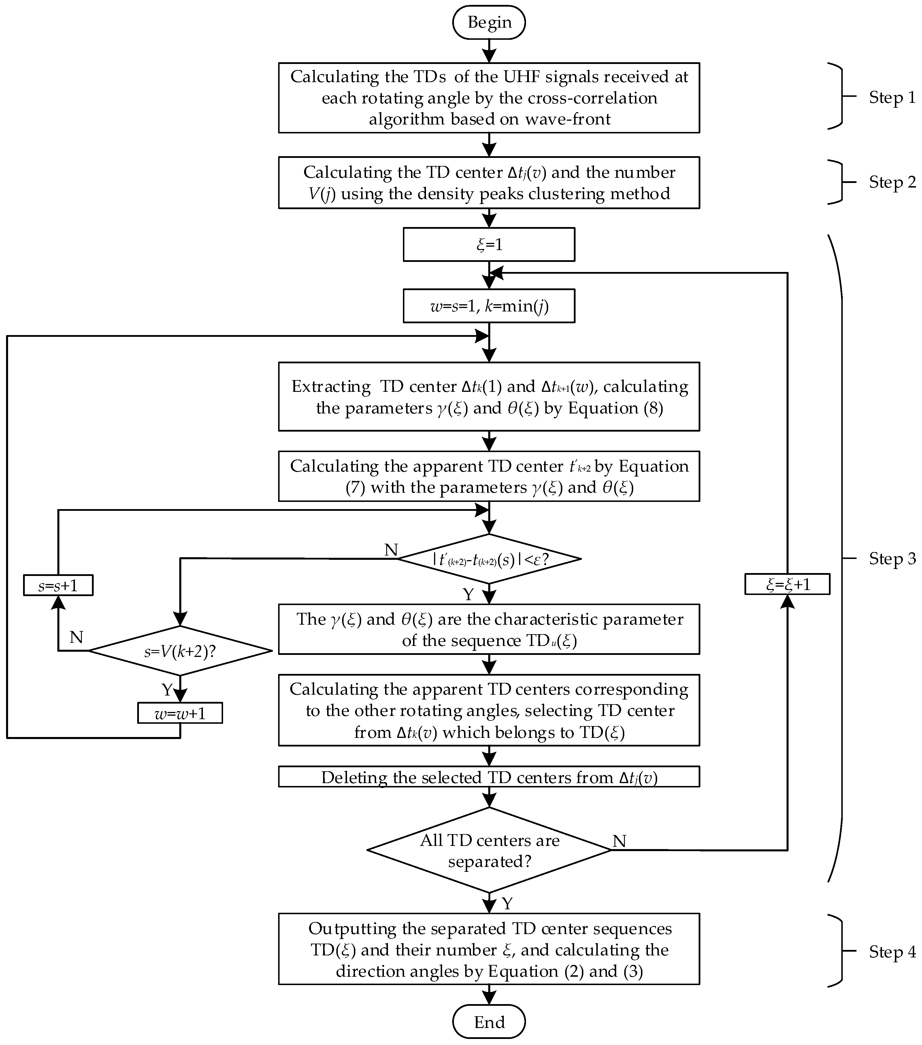
2.3. The Direction Separation Method of Multi-PD Sources
2.4. The TD Center Estimation Usingthe DensityPeaks Clustering Method
3. The Multi-PD Sources Localization Method Based on Error Probability
4. Verification of Simulation
4.1.The Simulation Arrangement
4.2. The Simulation Result of Case 1
4.3. The Simulation Result of Case 2
5. Field Test in Substation
5.1. Test Arrangement
5.2. The Separation and Localization Results
6. Discussions
7. Conclusions
- (1)
- The separation rate is increased effectively. With the TD center extracted by the density peaks clustering method, the error TD is removed and the dispersion problem of TDs is solved. The TD sequence distribution feature is used as the characteristic parameter to separate the multiple PD sources. Therefore, the analysis of the noisy UHF signal’s waveform is avoided, which is the key of improving the separation rate.
- (2)
- The localization accuracy is improved. Through rotating measurement at a point, the deficiency of the unidirection of the directional antenna is overcome, and an accurate direction between the PD source and the measurement point is obtained. With the multi-point measurement and error probability localization method, the PD source can be located in 3D.
- (3)
- To verify the proposed method and compare with the previously published method, a simulation model with three PD sources was established by XFdtd. With the case of three different PD sources, the separation rate was increased, using the proposed method, from 71% to 95% when SNR = 5 dB, and the accuracy of the localization result was improved from 2-D to 3-D. With the case of the two same PD sources, the separation rate of the previously published method declined seriously, while the proposed method is not affected.
- (4)
- A field test was carried in a 220 kV substation. An air-gap discharge in a disc insulator and a simulated PD source were used as the testing targets. The two PD sources were separated effectively with the TD distribution features and were located in 3-D accurately by the error probability of the directions. This indicates that the proposed method is effective in the field test.
Acknowledgments
Author Contributions
Conflicts of Interest
Abbreviations
| PD | Partial discharge |
| UHF | Ultra-high frequency |
| SNR | Signal noise ratio |
| TD | Time delay |
| TDOA | Time difference of arrival |
References
- Portugues, I.; Moore, P.J.; Glover, I.A. Frequency domain characterisation of partial discharges via a non-invasive measurement system. In Proceedings of the International Conference on Properties and Applications of Dielectric Materials, Nagoya, Japan, 1–5 June 2003; pp. 835–838.
- Moore, P.J.; Portugues, I.E.; Glover, I.A. Partial discharge investigation of a power transformer using wireless wideband radio-frequency measurements. IEEE Trans. Power Deliv. 2006, 21, 528–530. [Google Scholar] [CrossRef]
- Liu, Y.; Zhou, W.; Li, P. An Ultrahigh Frequency Partial Discharge Signal De-Noising Method Based on a Generalized S-Transform and Module Time-Frequency Matrix. Sensors 2016, 16, 941. [Google Scholar] [CrossRef] [PubMed]
- Zhang, Y.; Upton, D.; Jaber, A. Multiple Source Localization for Partial Discharge Monitoring in Electrical Substation. In Proceedings of the Loughborough Antennas & Propagation Conference, Loughborough, UK, 2–3 November 2015.
- Portugues, I.E.; Moore, P.J. Study of propagation effects of wideband radiated RF signals from PD activity. In Proceedings of the Power Engineering Society General Meeting, Montreal, QC, Canada, 18–22 April 2006; pp. 1–6.
- Tian, Y.; Kawada, M. Estimation of DOAs of EM Waves Emitted from Multiple Partial Discharge Sources in Free Space by Using Wideband Signal Subspace Methods. J. Int. Counc. Electr. Eng. 2011, 1, 384–389. [Google Scholar] [CrossRef]
- Hou, H.; Sheng, G.; Li, S. A Novel Algorithm for Separating Multiple PD Sources in a Substation Based on Spectrum Reconstruction of UHF Signals. IEEE Trans. Power Deliv. 2015, 30, 809–817. [Google Scholar] [CrossRef]
- Baker, P.C.; Judd, M.D.; Mcarthur, S.D.J. A frequency-based RF partial discharge detector for low-power wireless sensing. IEEE Trans. Dielectr. Electr. Insul. 2010, 17, 133–140. [Google Scholar] [CrossRef]
- Portugues, I.; Moore, P.J.; Glover, I.A. The effect of multipath in time domain characterization of partial discharges. In Proceedings of the International Conference on Properties and Applications of Dielectric Materials, Nagoya, Japan, 1–5 June 2003; pp. 311–314.
- Portugues, I.E.; Moore, P.J.; Glover, I.A. RF-Based Partial Discharge Early Warning System for Air-Insulated Substations. IEEE Trans. Power Deliv. 2009, 24, 20–29. [Google Scholar] [CrossRef]
- Li, P.; Zhou, W. A Novel Method for Partial Discharge Localization in Air-insulated Substations. IET Sci. Meas. Technol. 2017. [Google Scholar] [CrossRef]
- Moore, P.J.; Portugues, I.E.; Glover, I.A. Radiometric location of partial discharge sources on energized high-Voltage plant. IEEE Trans. Power Deliv. 2005, 20, 2264–2272. [Google Scholar] [CrossRef]
- Hou, H.; Sheng, G.; Jiang, X. Localization Algorithm for the PD Source in Substation Based on L-Shaped Antenna Array Signal Processing. IEEE Trans. Power Deliv. 2015, 30, 472–479. [Google Scholar] [CrossRef]
- Hou, H.; Sheng, G.; Sun, X. A Selected Bi-Spectrum Based Separation Algorithm for Multi-PD Sources in Substation. Power Syst. Technol. 2014, 38, 1379–1384. [Google Scholar]
- Bartnikas, R. A comment concerning the rise times of partial discharge pulses. IEEE Trans. Dielectr. Electr. Insul. 2005, 12, 196–202. [Google Scholar] [CrossRef]
- Judd, M.D.; Farish, O.; Hampton, B.F. The excitation of UHF signals by partial discharges in GIS. IEEE Trans. Dielectr. Electr. Insul. 1996, 3, 213–228. [Google Scholar] [CrossRef]
- Rodriguez, A.; Laio, A. Clustering by fast search and find of density peaks. Science 2014, 344, 1492–1496. [Google Scholar] [CrossRef] [PubMed]
- Mehmood, R.; Zhang, G.; Bie, R.; Dawood, H.; Ahmad, H. Clustering by fast search and find of density peaks via heat diffusion. Neurocomputing 2016, 208, 210–217. [Google Scholar] [CrossRef]
- Liu, Y.; Zhou, W.; Yang, S. A Novel Miniaturized Vivaldi Antenna Using Tapered Slot Edge with Resonant Cavity Structure for Ultra-wide Band Applications. IEEE Antennas Wirel. Propag. Lett. 2016, 1, 1881–1884. [Google Scholar] [CrossRef]












| Case | P1 | P2 | P3 | |||
|---|---|---|---|---|---|---|
| Amplitude/A | Width/ns | Amplitude/A | Width/ns | Amplitude/A | Width/ns | |
| Case 1 | 1 | 4 | 1.5 | 2 | 2 | 6 |
| Case 2 | 1 | 4 | 2 | 2 | 2 | 2 |
| Measuring Points | P1 | P2 | P3 | |||
|---|---|---|---|---|---|---|
| γ | θ/° | γ | θ/° | γ | θ/° | |
| O1 | −181.3 | −63.5 | −180 | −72.8 | −176.4 | −80.2 |
| O2 | −178.1 | −80.8 | −179.7 | −90.2 | −178.1 | −99.2 |
| O3 | −182.2 | −99.6 | −180 | −107.2 | −186.7 | −115.8 |
| Measuring Points | O1 | O2 | O3 | |
|---|---|---|---|---|
| P1(θ/°, φ/°) | Theoretical value | (63.4, 24.1) | (80.5, 26.3) | (−80.5, 26.3) |
| Calculated value | (63.7, 22.5) | (80.7, 27) | (−80.5, 27.1) | |
| Error | (0.3, −1.6) | (0.2, 0.7) | (0, 0.7) | |
| P2(θ/°,φ/°) | Theoretical value | (72.9, 23.8) | (−90, 24.8) | (−72.9, 23.8) |
| Calculated value | (72.8, 24.4) | (−89.8, 26) | (−72.7, 25.7) | |
| Error | (−0.1, 0.6) | (−0.2, 1.2) | (−0.2, 1.9) | |
| P3(θ/°,φ/°) | Theoretical value | (80.5, 26.3) | (−80.5, 26.3) | (−63.4, 24.1) |
| Calculated value | (80.1, 25.9) | (−80, 25.4) | (−63.9, 23.1) | |
| Error | (−0.4, −0.4) | (0.5, −0.7) | (−0.5, −1) | |
| SNR/dB | Separation Rate/% | P1Localization Result/m | P2Localization Result/m | P3Localization Result/m | |||
|---|---|---|---|---|---|---|---|
| Coordinate | Error (3-D) | Coordinate | Error (3-D) | Coordinate | Error (3-D) | ||
| 25 | 100 | (1.99, 6.47, 3.05) | 0.06 | (2.97, 6.02, 2.94) | 0.07 | (1.01, 5.99, 2.97) | 0.03 |
| 10 | 98.7 | (2.02, 6.46, 3.07) | 0.08 | (3.03, 5.99, 3.1) | 0.1 | (0.96, 6.04, 3.06) | 0.08 |
| 5 | 95 | (1.99, 6.44, 3.15) | 0.16 | (2.99, 6.04, 3.02) | 0.04 | (1.02, 6, 2.9) | 0.1 |
| SNR/dB | Separation Rate/% | P1Localization Result/m | P2Localization Result/m | P3Localization Result/m | |||
|---|---|---|---|---|---|---|---|
| Coordinate | Error(2-D) | Coordinate | Error(2-D) | Coordinate | Error(2-D) | ||
| 25 | 84 | (2.13, 6.67) | 0.21 | (2.85,6.12) | 0.19 | (1.07,6.09) | 0.11 |
| 10 | 77 | (2.19, 6.73) | 0.30 | (2.79, 6.24) | 0.32 | (0.87, 6.16) | 0.21 |
| 5 | 71 | (2.27, 6.84) | 0.43 | (2.67, 6.29) | 0.44 | (1.25, 6.19) | 0.31 |
| SNR/dB | Separation Rate Calculated by the Proposed Method/% | Separation Rate Calculated by the Previously Reported Method/% |
|---|---|---|
| 25 | 100 | 68 |
| 10 | 98.3 | 62 |
| 5 | 95.3 | 56 |
© 2017 by the authors. Licensee MDPI, Basel, Switzerland. This article is an open access article distributed under the terms and conditions of the Creative Commons Attribution (CC BY) license ( http://creativecommons.org/licenses/by/4.0/).
Share and Cite
Li, P.; Zhou, W.; Yang, S.; Liu, Y.; Tian, Y.; Wang, Y. A Novel Method for Separating and Locating Multiple Partial Discharge Sources in a Substation. Sensors 2017, 17, 247. https://doi.org/10.3390/s17020247
Li P, Zhou W, Yang S, Liu Y, Tian Y, Wang Y. A Novel Method for Separating and Locating Multiple Partial Discharge Sources in a Substation. Sensors. 2017; 17(2):247. https://doi.org/10.3390/s17020247
Chicago/Turabian StyleLi, Pengfei, Wenjun Zhou, Shuai Yang, Yushun Liu, Yan Tian, and Yong Wang. 2017. "A Novel Method for Separating and Locating Multiple Partial Discharge Sources in a Substation" Sensors 17, no. 2: 247. https://doi.org/10.3390/s17020247
APA StyleLi, P., Zhou, W., Yang, S., Liu, Y., Tian, Y., & Wang, Y. (2017). A Novel Method for Separating and Locating Multiple Partial Discharge Sources in a Substation. Sensors, 17(2), 247. https://doi.org/10.3390/s17020247

