New C4D Sensor with a Simulated Inductor
Abstract
:1. Introduction


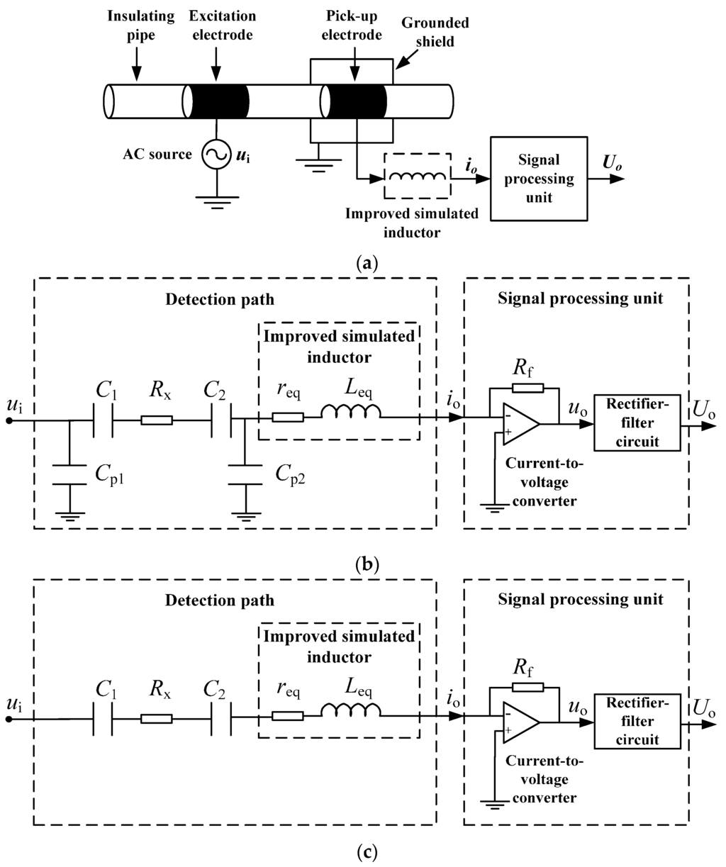
2. Design of New C4D Sensor
2.1. Improved Simulated Inductor
- Considering the practical applications, to avoid the output saturation of the operational amplifiers and , two resistors and are added between the inverting input and the output of the operational amplifiers and , respectively.
- The resistor is adjustable while it is an invariable resistor in the Riordan-type floating simulated inductor circuit. This modification is to make the equivalent inductance of the improved simulated inductor adjustable.

2.2. New C4D Sensor

3. Experimental Results and Discussion
3.1. Experimental Results

| New C4D Sensor | Length of the Electrodes (mm) | Length of the Gap (mm) | Excitation Frequency (kHz) |
|---|---|---|---|
| 3.0 mm i.d. 1 (5.0 mm o.d. 2) | 15.0 | 15.0 | 164.8 |
| 4.6 mm i.d. (7.0 mm o.d.) | 23.0 | 23.0 | 151.7 |
| 6.4 mm i.d. (8.5 mm o.d.) | 32.0 | 32.0 | 134.8 |




3.2. Discussion
4. Conclusions
Acknowledgments
Author Contributions
Conflicts of Interest
References
- Tower, O.F. The Conductivity of Liquids: Methods, Results, Chemical Applications and Theoretical Considerations; Chemical Publishing Company: Easton, PA, USA, 1905. [Google Scholar]
- De Diego, A.; Usobiaga, A.; Fernandez, L.A.; Madariaga, J.M. Application of the electrical conductivity of concentrated electrolyte solutions to industrial process control and design: From experimental measurement towards prediction through modeling. Trends. Anal. Chem. 2001, 20, 65–78. [Google Scholar] [CrossRef]
- Bard, A.J.; Faulkner, L.R. Electrochemical Methods Fundamentals and Application; John Wiley & Sons, Inc.: New York, NY, USA, 2001. [Google Scholar]
- Hamann, C.H.; Hamnett, A.; Vielstich, W. Electrochemistry, 2nd ed.; Wiley-VCH Verlag GmbH & Co.KGaA: Weinheim, Germany, 2007. [Google Scholar]
- Pumera, M. Contactless conductivity detection for microfluidics: Designs and applications. Talanta 2007, 74, 358–364. [Google Scholar] [CrossRef] [PubMed]
- Gas, B.; Demjanenko, M.; Vacik, J. High-frequency contactless conductivity detection in isotachophoresis. J. Chromatogr. A 1980, 192, 253–257. [Google Scholar] [CrossRef]
- Kuban, P.; Hauser, P.C. A review of the recent achievements in capacitively coupled contactless conductivity detection. Anal. chim. Acta 2008, 607, 15–29. [Google Scholar] [CrossRef] [PubMed]
- Kuban, P.; Hauser, P.C. Ten years of axial capacitively coupled contactless conductivity detection for CZE—A review. Electrophoresis 2009, 30, 176–188. [Google Scholar] [CrossRef] [PubMed]
- Coltro, W.K.T.; Lima, R.S.; Segato, T.P.; Carrilho, E.; de Jesus, D.P.; do Lago, C.L.; da Silva, J.A.F. Capacitively coupled contactless conductivity detection on microfluidic systems—Ten years of development. Anal. Methods 2012, 4, 25–33. [Google Scholar] [CrossRef]
- Kuban, P.; Hauser, P.C. Contactless conductivity detection for analytical techniques—Developments from 2012 to 2014. Electrophoresis 2015, 36, 195–211. [Google Scholar] [CrossRef] [PubMed]
- Gas, B.; Zuska, J.; Coufal, P.; van de Goor, T. Optimization of the high-frequency contactless conductivity detector for capillary electrophoresis. Electrophoresis 2002, 23, 3520–3527. [Google Scholar] [CrossRef]
- Opekar, F.; Tuma, P.; Stulik, K. Contactless impedance sensors and their application to flow measurements. Sensors 2013, 13, 2786–2801. [Google Scholar] [CrossRef] [PubMed]
- Kuban, P.; Hauser, P.C. Capacitively coupled contactless conductivity detection for microseparation techniques—Recent developments. Electrophoresis 2011, 32, 30–42. [Google Scholar] [CrossRef] [PubMed]
- Reilley, C.N. Fundamentals of Electrode Processes. In Treatise on Analytical Chemistry; Kolthoff, I.M., Elving, P.J., Eds.; Interscience Publishers: New York, NY, USA, 1963; Part 1; Volume 4, pp. 2109–2160. [Google Scholar]
- West Loveland, J. Conductometry and Oscillometry. In Treatise on Analytical Chemistry; Kolthoff, I.M., Elving, P.J., Eds.; Interscience Publishers: New York, NY, USA, 1963; Part 1; Volume 4, pp. 2569–2630. [Google Scholar]
- Coltro, W.K.T.; de Santis Neves, R.; de Jesus Motheo, A.; da Silva, J.A.F.; Carrilho, E. Microfluidic devices with integrated dual-capacitively coupled contactless conductivity detection to monitor binding events in real time. Sens. Actuators B Chem. 2014, 192, 239–246. [Google Scholar] [CrossRef]
- Laugere, F.; Lubking, G.W.; Berthold, A.; Bastemeijer, J.; Vellekoop, M.J. Downscaling aspects of a conductivity detector for application in on-chip capillary electrophoresis. Sens. Actuators A Phys. 2001, 92, 109–114. [Google Scholar] [CrossRef]
- Laugere, F.; Guijt, R.M.; Bastemeijer, J.; van der Steen, G.; Berthold, A.; Baltussen, E.; Sarro, P.; van Dedem, G.W.K.; Bossche, A. On-chip contactless four-electrode conductivity detection for capillary electrophoresis devices. Anal. Chem. 2003, 75, 306–312. [Google Scholar] [CrossRef] [PubMed]
- Zemann, A.J.; Schnell, E.; Volgger, D.; Bonn, G.K. Contactless conductivity detection for capillary electrophoresis. Anal. Chem. 1998, 70, 563–567. [Google Scholar] [CrossRef] [PubMed]
- Da Silva, J.A.F.; do Lago, C.L. An oscillometric detector for capillary electrophoresis. Anal. Chem. 1998, 70, 4339–4343. [Google Scholar] [CrossRef]
- Kuban, P.; Hauser, P.C. Fundamental aspects of contactless conductivity detection for capillary electrophoresis, part I: Frequency behavior and cell geometry. Electrophoresis 2004, 25, 3387–3397. [Google Scholar] [CrossRef] [PubMed]
- Kuban, P.; Hauser, P.C. Fundamental aspects of contactless conductivity detection for capillary electrophoresis, part II: Signal-to-noise ratio and stray capacitance. Electrophoresis 2004, 25, 3398–3405. [Google Scholar] [CrossRef] [PubMed]
- Brito-Neto, J.G.A.; da Silva, J.A.F.; Blanes, L.; do Lago, C.L. Understanding capacitively coupled contactless conductivity detection in capillary and microchip electrophoresis, part 1. Fundamentals. Electroanalysis 2005, 17, 1198–1206. [Google Scholar] [CrossRef]
- Brito-Neto, J.G.A.; da Silva, J.A.F.; Blanes, L.; do Lago, C.L. Understanding capacitively coupled contactless conductivity detection in capillary and microchip electrophoresis, part 2. Peak shape, stray capacitance, noise, and actual electronics. Electroanalysis 2005, 17, 1207–1214. [Google Scholar] [CrossRef]
- Cahill, B.P.; Land, R.; Nacke, T.; Min, M.; Beckmann, D. Contactless sensing of the conductivity of aqueous droplets in segmented flow. Sens. Actuators B Chem. 2011, 159, 286–293. [Google Scholar]
- Huang, Z.Y.; Jiang, W.W.; Zhou, X.M.; Wang, B.L.; Ji, H.F.; Li, H.Q. A new method of capacitively coupled contactless conductivity detection based on series resonance. Sens. Actuators B Chem. 2009, 143, 239–245. [Google Scholar] [CrossRef]
- Huang, Z.Y.; Long, J.; Xu, W.B.; Ji, H.F.; Wang, B.L.; Li, H.Q. Desigen of capacitively coupled contactless conductivity detecion sensor. Flow Meas. Instrum. 2012, 27, 67–70. [Google Scholar] [CrossRef]
- Wang, L.; Huang, Z.Y.; Wang, B.L.; Ji, H.F.; Li, H.Q. Flow pattern identification of gas-liquid two-phase flow based on capacitively coupled contactless conductivity detection. IEEE Trans. Instrum. Meas. 2012, 61, 1466–1475. [Google Scholar] [CrossRef]
- Gillespie, E.; Connolly, D.; Macka, M.; Hauser, P.; Paull, B. Development of a contactless conductivity detector cell for 1.6 mm OD (1/16th inch) HPLC tubing and micro-bore columns with on-column detection. Analyst 2008, 133, 1104–1110. [Google Scholar] [CrossRef] [PubMed]
- Laugere, F.; Lubking, G.W.; Bastemeijer, J.; Vellekoop, M.J. Design of an electronic interface for capacitively coupled four-electrode conductivity detection in capillary electrophoresis microchip. Sens. Actuators B Chem. 2002, 83, 104–108. [Google Scholar] [CrossRef]
- Shih, C.Y.; Li, W.; Zheng, S.Y.; Tai, Y.C. A resonance-induced sensitivity enhancement method for conductivity sensors. In Proceedings of the 5th IEEE Conference on Sensors, Daegu, Korea, 22–25 October 2006; pp. 271–274.
- Zheng, S.Y.; Nandra, M.S.; Shih, C.Y.; Li, W.; Tai, Y.C. Resonance impedance sensing of human blood cells. Sens. Actuators A Phys. 2008, 145, 29–36. [Google Scholar] [CrossRef]
- Kang, Q.; Shen, D.Z.; Li, Q.L.; Hu, Q.; Dong, J.F.; Du, J.G.; Tang, B. Reduction of the impedance of a contactless conductivity detector for microchip capillary electrophoresis: Compensation of the electrode impedance by addition of a series inductance from a piezoelectric quartz crystal. Anal. Chem. 2008, 80, 7826–7832. [Google Scholar] [CrossRef] [PubMed]
- Shen, D.Z.; Li, D.D.; Yang, X.W.; Zhu, Y.; Dong, J.F.; Kang, Q. Application of a low impedance contactless conductometric detector for the determination of inorganic cations in capillary monolithic column chromatography. Talanta 2011, 84, 42–48. [Google Scholar] [CrossRef] [PubMed]
- Shen, D.Z.; Li, Y.L.; Zhang, Z.L.; Zhang, P.; Kang, Q. Determination of amino acids by capillary electrophoresis with differential resonant contactless conductivity detector. Talanta 2013, 104, 39–43. [Google Scholar] [CrossRef] [PubMed]
- Kumar, U.; Shukla, S.K. Analytical study of inductor simulation circuits. Act. Passive Electron. Compon. 1989, 13, 211–227. [Google Scholar] [CrossRef]
- Andriesei, C.; Goraş, L. On the tuning possibilities of an RF bandpass filter with simulated inductor. In Proceedings of the International Semiconductor Conference, Sinaia, Romania, 15–17 October 2007; pp. 489–492.
- Yuce, E.; Minaei, S.; Cicekoglu, O. Limitations of the simulated inductors based on a single current conveyor. IEEE Trans. Circuits. Syst. I Reg. Papers 2006, 53, 2860–2867. [Google Scholar] [CrossRef]
- Yuan, F. CMOS Active Inductors and Transformers: Principle, Implementation, and Applications; Springer Science & Business Media: New York, NY, USA, 2008. [Google Scholar]
- Fakhfakh, M.; Pierzchała, M.; Rodanski, B. On the design of active inductors with current-controlled voltage sources. Analog Digit. Signal Process. 2012, 73, 89–98. [Google Scholar] [CrossRef]
- Antoniou, A. Realisation of gyrators using operational amplifiers, and their use in RC-active-network synthesis. IEEE Proc. 1969, 116, 1838–1850. [Google Scholar] [CrossRef]
- Riordan, R.H.S. Simulated inductors using differential amplifiers. Electron. Lett. 1967, 3, 50–51. [Google Scholar] [CrossRef]
- Dutta Roy, S.C. A circuit for floating inductance simulation. IEEE Proc. 1974, 62, 521–523. [Google Scholar] [CrossRef]
- Christiansen, D.; Alexander, C.; Jurgen, R. Standard Handbook of Electronic Engineering, 5th ed.; McGraw Hill Professional: Boston, MA, USA, 2004. [Google Scholar]
- Yuce, E.; Minaei, S.; Cicekoglu, O. A novel grounded inductor realization using a minimum number of active and passive components. ETRI J. 2005, 27, 427–432. [Google Scholar] [CrossRef]
© 2016 by the authors; licensee MDPI, Basel, Switzerland. This article is an open access article distributed under the terms and conditions of the Creative Commons by Attribution (CC-BY) license (http://creativecommons.org/licenses/by/4.0/).
Share and Cite
Lyu, Y.; Ji, H.; Yang, S.; Huang, Z.; Wang, B.; Li, H. New C4D Sensor with a Simulated Inductor. Sensors 2016, 16, 165. https://doi.org/10.3390/s16020165
Lyu Y, Ji H, Yang S, Huang Z, Wang B, Li H. New C4D Sensor with a Simulated Inductor. Sensors. 2016; 16(2):165. https://doi.org/10.3390/s16020165
Chicago/Turabian StyleLyu, Yingchao, Haifeng Ji, Shijie Yang, Zhiyao Huang, Baoliang Wang, and Haiqing Li. 2016. "New C4D Sensor with a Simulated Inductor" Sensors 16, no. 2: 165. https://doi.org/10.3390/s16020165
APA StyleLyu, Y., Ji, H., Yang, S., Huang, Z., Wang, B., & Li, H. (2016). New C4D Sensor with a Simulated Inductor. Sensors, 16(2), 165. https://doi.org/10.3390/s16020165
