Novel H+-Ion Sensor Based on a Gated Lateral BJT Pair
Abstract
:1. Introduction
2. Experimental Setup
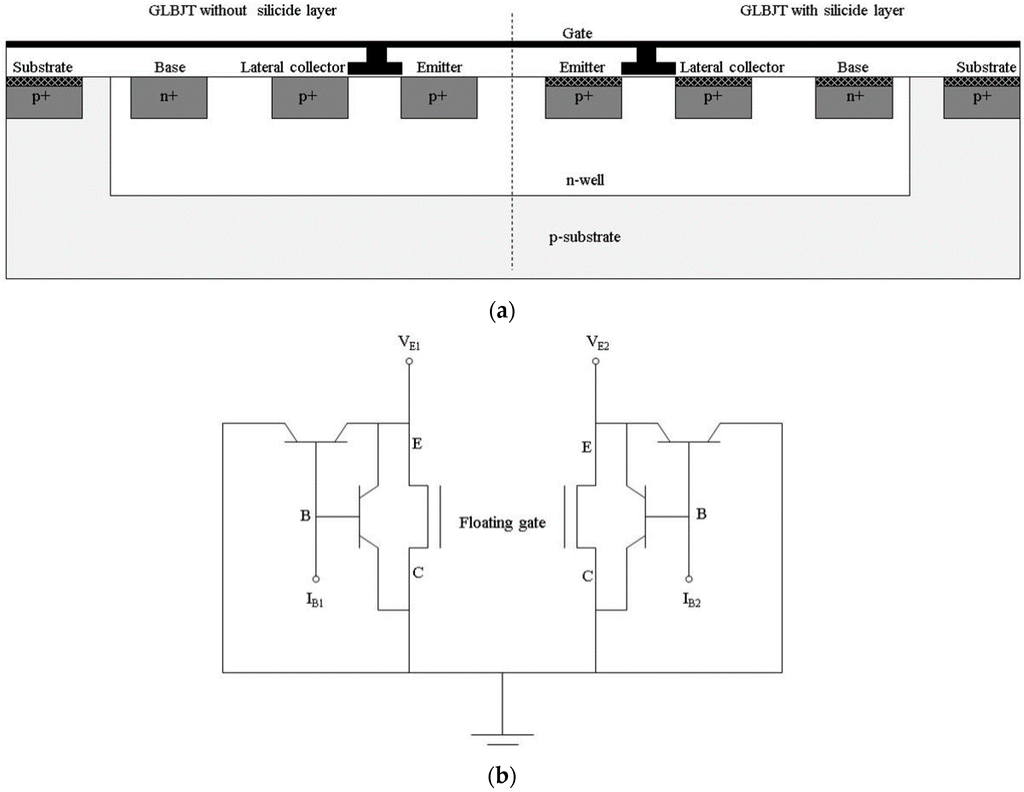
2.1. Fabrication of the Gated Lateral BJT Pair

2.2. pH Value Detection System Setup

2.3. Comparison of the Electrical Characteristics of the Two Components with/without the Silicide Layer
2.4. pH Value Detection
3. Results and Discussion
3.1. Comparison of the VG-IE Curve of the Gated Lateral BJTs with/without the Silicide Layer


3.2. The VG-gm Curve Properties of the Two Sensor Components

3.3. pH Value Detection Based on Proposed Device

4. Conclusions
Acknowledgments
Author Contributions
Conflicts of Interest
References
- Ariga, K.; Yamauchi, Y.; Ji, Q.; Yonamine, Y.; Hill, J.P. Research Update: Mesoporous sensor nanoarchitectionics. APL Mater. 2014, 2, 1–11. [Google Scholar] [CrossRef]
- Ariga, K.; Ji, Q.; Mori, T.; Naito, M.; Yamauchi, Y.; Abe, H.; Hill, J.P. Enzyme nanoarchitectonics: Organization and device application. Chem. Soc. Rev. 2013, 42, 6203–6568. [Google Scholar] [CrossRef] [PubMed]
- Ishihara, S.; Labuta, J.; Rossom, W.V.; Ishikawa, D.; Minarni, K.; Hill, J.P.; Ariga, K. Porphyrin-based sensor nanoarchitectonics in diverse physical detection modes. Phys. Chem. 2014, 16, 9713–9746. [Google Scholar] [CrossRef] [PubMed]
- Ariga, K.; Yamauchi, Y.; Rydzek, G.; Ji, Q.; Yonamine, Y.; Wu, K.C.W.; Hill, J.P. Layer-by-layer nanoarchitectonics: Invention, innovation, and evolution. Chem. Lett. 2014, 43, 36–68. [Google Scholar] [CrossRef]
- Chen, C.C.; Chen, H.I.; Liu, H.Y.; Chou, P.C.; Liou, J.K.; Liu, W.C. On a GaN-based ion sensitive field-effect transistor (ISFET) with a hydrogen peroxide surface treatment. Sens. Actruators B 2015, 209, 658–663. [Google Scholar] [CrossRef]
- Deng, X.; Wang, F.; Chen, Z. A novel electrochemical sensor based on nano-structured film electrode for monitoring nitric oxide in living tissues. Talanta 2010, 82, 1218–1224. [Google Scholar] [CrossRef] [PubMed]
- Goda, T.; Yamada, E.; Katayama, Y.; Tabata, M.; Matsumoto, A.; Miyahara, Y. Potentiometric responses of ion-selective microelectrode with bovine serum albumin adsorption. Biosens. Bioelectron. 2016, 77, 208–214. [Google Scholar] [CrossRef] [PubMed]
- Kokot, M. Measurement of sub-nanometer molecular layers with ISFET without a reference electrode dependency. Sens. Actuators B 2011, 157, 424–429. [Google Scholar] [CrossRef]
- Dong, Z.; Wejinya, U.C.; Chalamalasetty, S.N.S. Development of CNT-ISFET based pH sensing system using atomic force microscopy. Sens. Actuators A 2012, 173, 293–301. [Google Scholar] [CrossRef]
- Lin, H.C.; Tan, T.B.; Chang, G.Y.; Leest, V.V.D.; Formigoni, N. Lateral complementary transistor structure for the simultaneous fabrication of functional blocks. Proc. IEEE 1964, 10, 1491–1495. [Google Scholar] [CrossRef]
- Hefner, A.R.; Diebolt, D.M. An experimentally verified IGBT model implemented in the saber circuit simulator. IEEE Trans. Power Electron. 1994, 9, 532–542. [Google Scholar] [CrossRef]
- Kwon, H.C.; Kwon, D.H.; Sawada, K.; Kang, S.W. The characteristics of H+ ion-sensitive transistor driving with MOS hybrid mode operation. IEEE Electron Device Lett. 2008, 29, 1138–1141. [Google Scholar] [CrossRef]
- Yuan, H.; Kwon, H.C.; Yeom, S.H.; Wang, B.; Kim, K.J.; Kwon, D.H.; Kang, S.W. Volatile organic compound gas sensor using a gated lateral bipolar junction transistor. J. Korean Phys. Soc. 2011, 59, 478–481. [Google Scholar]
- Yuan, H.; Kwon, K.C.; Yeom, S.H.; Kwon, D.H.; Kang, S.W. MOSFET-BJT hybrid mode of the gated lateral bipolar junction transistor for C-reactive protein detection. Biosens. Bioelectron. 2011, 28, 434–437. [Google Scholar] [CrossRef] [PubMed]
- Yuan, H.; Kwon, H.C.; Kang, B.H.; Kang, I.M.; Kwon, D.H.; Kang, S.W. Highly sensitive ion sensor based on the MOSFET-BJT hybrid mode of a gated lateral BJT. Sens. Actuators B 2013, 181, 44–49. [Google Scholar] [CrossRef]
- Yuan, H.; Kang, B.H.; Jeong, H.M.; Kwon, H.C.; Yeom, S.H.; Lee, J.S.; Kwon, D.H.; Kang, S.W. Room temperature VOC gas detection using a gated lateral BJT with an assembled solvatochromic dye. Sens. Actuators B 2013, 187, 288–294. [Google Scholar] [CrossRef]
- Yuan, H.; Zhang, J.X.; Zhang, C.; Zhang, N.; Xu, L.X.; Ding, M.; Patrick, J.C. Low gate voltage operated multi-emitter-dot H+ ion-sensitive gated lateral bipolar junction transistor. Chin. Phys. Lett. 2015, 32, 020701:1–020701:4. [Google Scholar] [CrossRef]
- Zhang, S.L.; Ostling, M. Metal silicide in CMOS technology: Past, present, and future trends. Crit. Rev. Solid State Mater. Sci. 2003, 28, 1–129. [Google Scholar] [CrossRef]
- Dalapati, G.K.; Tan, C.C.; Panah, S.M.; Tan, H.R.; Chi, D. Low temperature grown highly texture aluminum alloyed iron silicide on silicon substrate for opto-electronic applications. Mater. Lett. 2015, 159, 455–458. [Google Scholar] [CrossRef]
- Sadia, Y.; Aminov, Z.; Mogilyansky, D.; Gelbstein, Y. Texture anisotropy of higher manganese silicide following arc-melting and hot-pressing. Intermetallics 2016, 68, 71–77. [Google Scholar] [CrossRef]
- Joardar, K. An improved analytical model for collector currents in lateral bipolar transistors. IEEE Trans. Electron Devices 1994, 41, 373–382. [Google Scholar] [CrossRef]
- Malgras, V.; Ji, Q.; Kamachi, Y.; Mori, T.; Shieh, F.K.; Wu, K.C.W.; Ariga, K.; Yamauchi, Y. Templated synthesis for nanoarchitectured porous materials. Bull. Chem. Soc. Jpn. 2015, 88, 1171–1200. [Google Scholar] [CrossRef]
- Fung, C.D.; Cheung, P.W.; Ko, W.H. A generalized theory of an electrolyte-insulator-semiconductor field-effect transistor. IEEE Electron Device Lett. 1986, 33, 8–18. [Google Scholar] [CrossRef]
- Koch, S.; Woias, P.; Meixner, L.K.; Drost, S.; Wolf, H. Protein detection with a novel ISFET-based zeta potential analyzer. Biosens. Bioelectron. 1999, 14, 413–421. [Google Scholar] [CrossRef]
- Fernandes, P.G.; Stiegler, H.J.; Zhao, M.; Cantley, K.D.; Obradovic, B.; Chapman, R.A.; Wen, H.C.; Mahmud, G.; Vogel, E.M. SPICE macromodel of silicon-on-insulator-field-effect-transistor-based biological sensors. Sens. Actuators B 2012, 161, 163–170. [Google Scholar] [CrossRef]
- Chermiti, J.; Ali, M.B.; Dridi, C.; Gonchar, M.; Jaffrezic-Renault, N.; Korpan, Y. Site-binding model as a basis for numerical evaluation of analytical parameters of capacitance-biosensors for formaldehyde and methylamine detection. Sens. Actuators B 2013, 188, 824–830. [Google Scholar] [CrossRef]
© 2015 by the authors; licensee MDPI, Basel, Switzerland. This article is an open access article distributed under the terms and conditions of the Creative Commons by Attribution (CC-BY) license (http://creativecommons.org/licenses/by/4.0/).
Share and Cite
Yuan, H.; Zhang, J.; Cao, C.; Zhang, G.; Zhang, S. Novel H+-Ion Sensor Based on a Gated Lateral BJT Pair. Sensors 2016, 16, 14. https://doi.org/10.3390/s16010014
Yuan H, Zhang J, Cao C, Zhang G, Zhang S. Novel H+-Ion Sensor Based on a Gated Lateral BJT Pair. Sensors. 2016; 16(1):14. https://doi.org/10.3390/s16010014
Chicago/Turabian StyleYuan, Heng, Jixing Zhang, Chuangui Cao, Gangyuan Zhang, and Shaoda Zhang. 2016. "Novel H+-Ion Sensor Based on a Gated Lateral BJT Pair" Sensors 16, no. 1: 14. https://doi.org/10.3390/s16010014
APA StyleYuan, H., Zhang, J., Cao, C., Zhang, G., & Zhang, S. (2016). Novel H+-Ion Sensor Based on a Gated Lateral BJT Pair. Sensors, 16(1), 14. https://doi.org/10.3390/s16010014
