Energy, Exergetic, and Thermoeconomic Analyses of Hydrogen-Fueled 1-kW Proton-Exchange Membrane Fuel Cell
Abstract
1. Introduction
2. Energy and Exergy Analyses of Thermal Systems
2.1. Energy Conservation
2.2. Exergy Balance Equation and the Second Law of Thermodynamics
2.3. Exergy Cost-Balance Equation
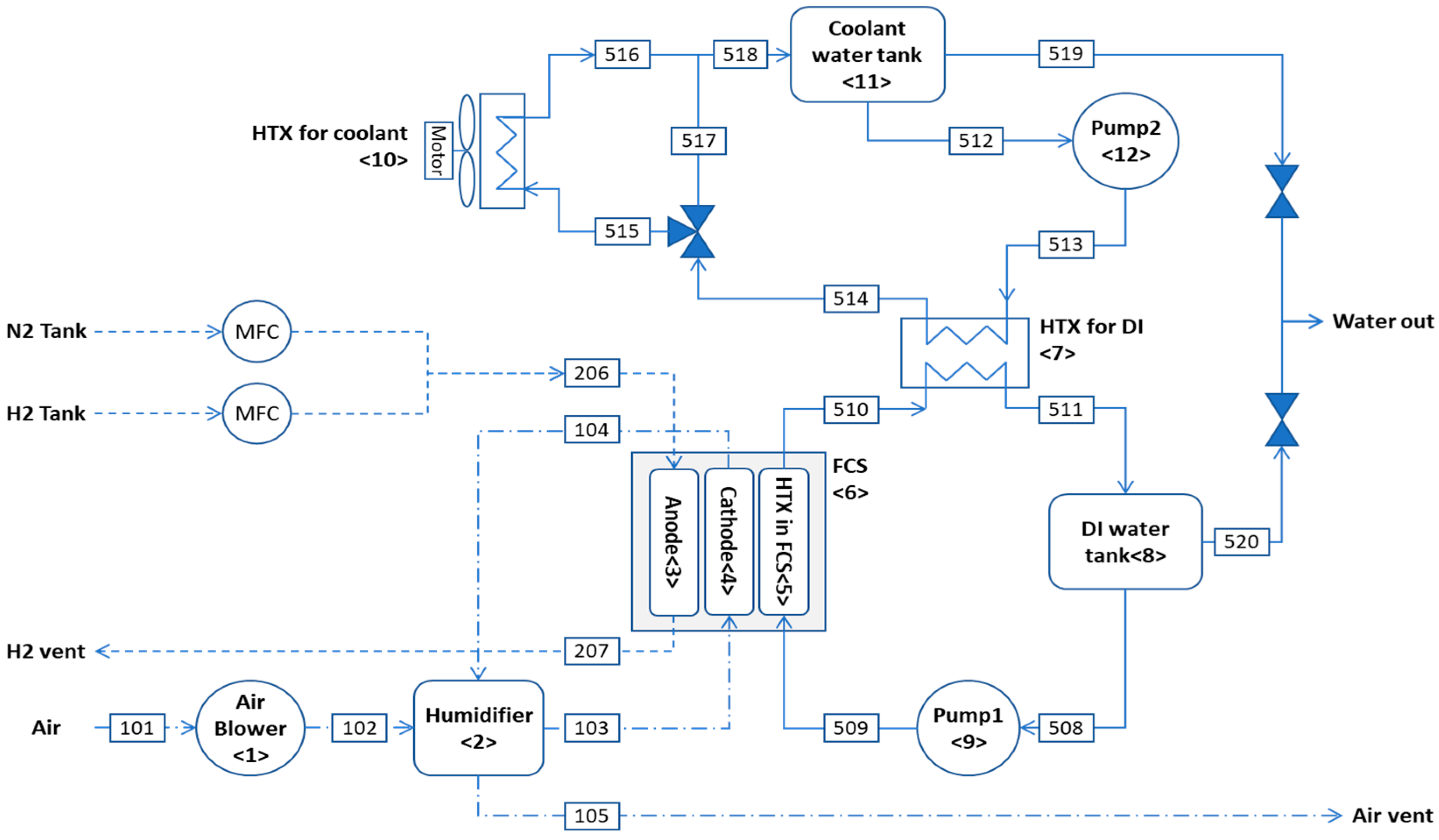
3. Hydrogen-Fueled 1-kW PEMFC System
3.1. Energy Conservation and Exergy Balance and Exergy Cost-Balance Equations for PEMFC System
- Air blowerwhere .
- Humidifier
- Anode
- Cathode
- HTX in the FCS
- FCS
- HTX for DI
- DI water tank
- Pump 1where .
- HTX for coolantwhere .
- Coolant water tank
- Pump 2where .
3.2. Energy Conservation and Exergy Balance of the FCS
3.3. Exergy Cost-Balance Equation for the Overall System
4. Calculation Results and Discussion
5. Conclusions
Author Contributions
Funding
Institutional Review Board Statement
Data Availability Statement
Conflicts of Interest
Nomenclature
| unit cost | |
| annualized cost | |
| initial investment cost | |
| unit cost of fuel | |
| exergy per unit mass | |
| exergy flow rate | |
| enthalpy per unit mass | |
| enthalpy flow rate | |
| latent heat of water | |
| electric current | |
| irreversibility rate | |
| mass flow rate | |
| mole flow rate | |
| number of stacks | |
| heat flow rate | |
| entropy per unit mass | |
| entropy flow rate | |
| entropy generation rate | |
| temperature | |
| ambient temperature | |
| workflow rate | |
| capital cost flow rate | |
| Greek letters | |
| annual operating hours | |
| maintenance cost factor | |
| Superscripts | |
| chemical | |
| fuel | |
| exergy destruction | |
| mechanical | |
| thermal | |
| work or electricity | |
| Subscripts | |
| chemical | |
| control volume | |
| reference point | |
| mechanical | |
| thermal reservoir | |
| entropy | |
| thermal | |
| work or electricity | |
Abbreviations
| CCHP | combined cooling, heating, and power |
| CHP | cooling, heating, and power |
| CRF | capital recovery factor |
| DI | deionized |
| F | Faraday constant |
| FCS | fuel cell stack |
| HHV | higher heating value |
| LHV | lower heating value |
| PEMFC | proton-exchange membrane fuel cell |
| HTX | heat exchanger |
| PWF | present worth factor |
| SV | salvage value |
Appendix A
References
- Gigliucci, G.; Petruzzi, L.; Cerelli, E.; Garzisi, A.; La Mendola, A. Demonstration of a residential CHP system based on PEM fuel cells. J. Power Sources 2004, 131, 62–68. [Google Scholar] [CrossRef]
- Chen, J.C.; Chen, X.H.; Chen, L.W.; Guo, J.C. An available method exploiting the waste heat in a proton exchange membrane fuel cell system. Int. J. Hydrogen Energy 2011, 36, 6099–6104. [Google Scholar] [CrossRef]
- Hwang, J.J.; Zou, M.L.; Chang, W.R.; Su, A.; Weng, F.B.; Wu, W. Implementation of a heat recovery unit in a proton exchange membrane fuel cell system. Int. J. Hydrogen Energy 2010, 35, 8644–8653. [Google Scholar] [CrossRef]
- Barelli, L.; Bidini, G.; Gallorini, F.; Ottaviano, A. An exergetic analysis of a residential CHP system based on PEM fuel cell. Appl. Energy 2011, 88, 4334–4342. [Google Scholar] [CrossRef]
- Chen, X.; Gong, G.; Wan, Z.; Luo, L.; Wan, J. Performance analysis of 5 kW PEMFC based residential micro-CCHP with absorption chiller. Int. J. Hydrogen Energy 2015, 40, 10647–10657. [Google Scholar] [CrossRef]
- Seo, S.-H.; Oh, S.-D.; Kwak, H. Thermodynamic, exergetic and thermoeconomic analyses of double-effect LiBr-water absorption refrigeration systems with a 5 kW high temperature PEMFC as heat source for data center applicaions. Energies 2022, 15, 3101. [Google Scholar] [CrossRef]
- Oh, S.D.; Kim, K.Y.; Oh, S.B.; Kwak, H. Optimal operation of a 1-kW PEMFC-based CHP system for residential applications. Appl. Energy 2012, 95, 93–101. [Google Scholar] [CrossRef]
- Uysal, C.; Kurt, H.; Kwak, H. Exergetic and thermoeconomic analyses of a coal-fired power plant. Int. J. Thermal Sci. 2017, 117, 106–120. [Google Scholar] [CrossRef]
- Valero, A.; Lerch, F.; Serra, L.; Royo, J. Structural theory and thermoeconomic diagnosis Part II: Application to an actual power plant. Energy Convers. Manag. 2002, 43, 1519–1535. [Google Scholar] [CrossRef]
- Wang, L.; Fu, P.; Wang, N.; Morosuk, T.; Yang, Y.; Tsatsaronis, G. Malfunction diagnosis of thermal power plants based on advanced exergy analysis: The case with multiple malfunctions occurring simultaneously. Energy Convers. Manag. 2017, 144, 1453–1467. [Google Scholar] [CrossRef]
- Oh, H.S.; Lee, Y.; Kwak, H. Diagnosis of combined cycle power plant based on thermoeconomic analysis: A computer simulation study. Entropy 2017, 19, 643. [Google Scholar] [CrossRef]
- Seo, S.H.; Oh, S.-D.; Oh, H.; Kim, M.; Lee, W.Y.; Kwak, H. Thermal management for a hydrogen-fueled 1-kW PEMFC based on thermoeconomic analysis. Int. J. Hydrogen Energy 2019, 44, 24934–24946. [Google Scholar] [CrossRef]
- Piacentino, A.; Talamo, M. Critical analysis of conventional thermoeconomic approaches to the diagnosis of multiple faults in air conditioning units: Capabilities, drawbacks and improvement directions. A case studu for an air-cooled system with 120 kW capacity. Int. J. Refrig. 2013, 36, 24–44. [Google Scholar] [CrossRef]
- Yoo, Y.; Oh, H.-S.; Uysal, C.; Kwak, H. Thermoeconomic diagnosis of an air-cooled air conditioning systems. Int. J. Exergy 2018, 26, 393–417. [Google Scholar] [CrossRef]
- Morosuk, T.; Tsatsaronis, G. A new approach to the exergy analysis of absorption refrigeration machines. Energy 2008, 33, 890–907. [Google Scholar] [CrossRef]
- Kwak, H.; Kim, D.J.; Jeon, J.S. Exergetic and thermoeconomic analyses of power plant. Energy 2003, 28, 343–360. [Google Scholar] [CrossRef]
- Kwak, H.; You, Y.; Oh, S.D.; Jang, H.N. Thermoeconomic analysis of ground-source heat pump systems. It. J. Energy Res. 2014, 38, 259–269. [Google Scholar] [CrossRef]
- Bejan, A. Advanced Engineering Thermodynamics, 2nd ed.; John Wiley and Sons: Hoboken, NJ, USA, 1997. [Google Scholar]
- Oh, S.; Pang, H.; Kim, S.; Kwak, H. Exergy analysis for a gas turbine cogeneration system. J. Eng. Gas. Turbine Power 1996, 118, 782–791. [Google Scholar] [CrossRef]
- Kotas, J. The Exergy Method of Thermal Plant Analysis; Krieger: Malabar, FL, USA, 1995. [Google Scholar]
- Moran, J. Availability Analysis: A Guide to Efficient Energy Use; Prentice Hall, Inc.: Englewood Cliffs, NJ, USA, 1982. [Google Scholar]
- Pei, P.; Meng, Y.; Chen, D.; Ren, P.; Wang, M.; Wang, X. Life time prediction method of proton exchange method fuel cells based on current degradation law. Energy 2023, 265, 126341. [Google Scholar] [CrossRef]
- Ye, L.; Du, Q.; Yin, Y. Exergy analysis of high-temperature proton exchange membrane fuel cell systems. Int. J. Green Energy 2015, 12, 917–929. [Google Scholar] [CrossRef]
- O’hayre, R.; Cha, S.W.; Colella, W.G.; Prinz, F.B. Fuel Cell Fundamentals, 3rd ed.; John Wiley & Sons: Hoboken, NJ, USA, 2016. [Google Scholar]
- Wei, M.; Lipman, T.; Mayyas, A.; Chan, S.H.; Gosselin, D.; Breunig, H.; McKone, T. A Total Cost of Ownership Model for High-Temperature PEM Fuel Cells in Combined Heat and Power Applications; Lawrence Berkeley National Laboratory: Berkeley, CA, USA, 2014.
- Kim, D.J.; Kim, J.H.; Barry, K.F.; Kwak, H. Thermoeconomic analysis of high-temperature gas-cooled reactors with steam methane reforming for hydrogen production. Nucl. Technol. 2011, 176, 337–351. [Google Scholar] [CrossRef]
- Olateju, B.; Kumer, A.; Secanell, M. A techno-economic assessment of large-scale wind-hydrogen production with energy storage in Western Canada. Int. J. Hydrogen Energy 2016, 41, 8755–8766. [Google Scholar] [CrossRef]
- Shaner, M.R.; Atwater, H.A.; Lewis, N.S.; McFarland, E.W. A comparative technoeconomic analysis of renewable hydrogen production using solar energy. Energy Environ. Sci. 2016, 9, 2354–2371. [Google Scholar] [CrossRef]


| States | (kmol/h) | (kPa) | (K) | (kJ/h) | (kJ/h/K) | (kJ/h) |
|---|---|---|---|---|---|---|
| 101 | 0.0846 | 100.90 | 299.40 | 3.0821 | 0.471 | −1.186 |
| 102 | 0.0846 | 113.36 | 305.99 | 19.340 | 0.443 | 23.461 |
| 103 | 0.0846 | 105.40 | 322.14 | 59.280 | 0.621 | 10.214 |
| 104 | 0.0748 | 102.28 | 332.99 | 76.067 | 0.540 | 35.345 |
| 105 | 0.0748 | 102.42 | 312.52 | 31.335 | 0.407 | 30.376 |
| 206 | 0.0275 | 103.98 | 299.97 | 1.443 | 0.005 | 0.0 |
| 207 | 0.0079 | 102.05 | 326.10 | 6.368 | 0.020 | 0.002 |
| 508 | 4.8295 | 99.80 | 325.69 | 19,136.736 | 64.053 | 435.754 |
| 509 | 4.8295 | 143.63 | 325.59 | 19,103.614 | 63.940 | 436.496 |
| 510 | 4.8295 | 122.48 | 333.13 | 21,846.193 | 72.273 | 694.585 |
| 511 | 4.8295 | 110.48 | 326.14 | 19,301.256 | 64.555 | 450.631 |
| 512 | 2.2926 | 102.35 | 303.10 | 5185.052 | 17.998 | 7.057 |
| 513 | 2.2926 | 114.85 | 303.03 | 5173.442 | 17.958 | 7.378 |
| 514 | 2.2926 | 105.72 | 331.47 | 10,082.861 | 33.445 | 299.545 |
| 515 | 2.2926 | 103.72 | 331.47 | 10,082.791 | 33.445 | 299.463 |
| 516 | 2.2926 | 101.75 | 303.05 | 5176.401 | 17.970 | 6.891 |
| 518 | 2.2926 | 100.75 | 302.05 | 5003.788 | 17.400 | 4.340 |
| Enthalpy Inflow | Enthalpy Outflow | Workflow | Heat Flow | Irreversibility Rate | ||
|---|---|---|---|---|---|---|
| Air blower | −3.082 | 19.340 | −16.258 | 0.0 | −8.389 | −8.389 |
| Anode | −1.443 | 6.368 | 0.0 | −4.925 | 4.648 | −0.277 |
| Cathode | −59.280 | 76.067 | 0.0 | −16.787 | −24.097 | −40.884 |
| Humidifier | −95.408 | 90.615 | 0.0 | 4.793 | 13.484 | 18.277 |
| HTX for the FCS | −19,103.614 | 21,486.193 | −2742.579 | 2484.490 | −258.089 | |
| HTXDI | −27,019.635 | 29,384.117 | 0.0 | −2364.482 | 2316.269 | −48.213 |
| DIWT | −19,301.256 | 19,136.736 | 164.521 | −149.644 | 14.877 | |
| Pump 1 | −19,136.736 | 19,103.614 | −5.503 | 38.625 | −33.864 | 4.762 |
| HTXWC | −10,082.791 | 5176.401 | −18.000 | 4924.390 | −4613.819 | 310.572 |
| Hot WT | −5003.788 | 5185.052 | 0.0 | −181.264 | 178.548 | −2.716 |
| Pump 2 | −5185.052 | 5173.442 | −0.645 | 12.255 | −11.931 | 0.324 |
| Component | Net Exergy Flow Rates (kJ/h) | Irreversibility | |||
|---|---|---|---|---|---|
| Rate (kJ/h) | |||||
| Air blower | −16.258 | 0.0 | 0.244 | 24.403 | −8.389 |
| Anode | 0.0 | 0.0 | 1.622 | −1.620 | −0.002 |
| Cathode | 0.0 | 0.0 | 31.651 | −6.521 | −25.131 |
| Humidifier | 0.0 | 0.0 | −1.381 | −16.834 | 18.215 |
| HTX in the FCS | 0.0 | 0.0 | 259.935 | −1.845 | −258.090 |
| FCS | 2923.596 | −5666.175 | (2642.475) | 0.0 | 100.104 |
| HTX DI | 49.638 | −1.425 | −48.213 | ||
| DIWT | 0.0 | 0.0 | −13.945 | −0.932 | 14.877 |
| Pump 1 | −5.503 | 0.0 | −3.083 | 3.824 | 4.762 |
| HTXWC | −18.0 | 0.0 | −292.490 | −0.082 | 310.572 |
| Hot WT | 2.650 | 0.066 | −2.716 | ||
| Pump 2 | −0.645 | −0.196 | 0.518 | 0.324 | |
| Total | 2883.19 | −5666.175 | (2677.12) | −0.448 | 106.313 |
| C1P | C2T | C3T | C4C | C5T | C6W | C7T |
| −0.8955 | −230.52 | 102.99 | −86,238.0 | −4.173 | 0.2703 | −3.9587 |
| C8T | C9P | C10T | C11T | C12P | CT | CP |
| 5.80 | 94.494 | −4.790 | 2.065 | 52.719 | 114.76 | 12.759 |
| CC | CW | CS | ||||
| −86,238.0 | 0.2703 | −4.483 |
| Component | Electricity Cost Flow | Thermal Exergy Cost Flow | Mechanical Exergy Cost Flow | Lost Cost Flow | Invest Cost Flow | Investment (USD) |
|---|---|---|---|---|---|---|
| Air blower | −0.004 | 0.028 | −0.022 | 0.038 | −0.039 | 1431.5 |
| Anode | 0.167 | −0.021 | −0.146 | 5332.4 | ||
| Cathode | −3.515 * | 3.632 | −0.083 | 0.113 | −0.146 | 5332.4 |
| Humidifier | 0.318 | −0.215 | −0.082 | −0.022 | 800.0 | |
| HTX in the FCS | −1.085 | −0.024 | 1.157 | −0.049 | 1775.3 | |
| FCS | 0.790 | −0.449 | −0.342 | 7856.6 | ||
| HTX DI | −0.197 | −0.018 | 0.216 | −0.001 | 52.2 | |
| DIWT | 0.081 | −0.012 | −0.067 | −0.002 | 84.2 | |
| Pump 1 | −0.001 | −0.354 | 0.361 | −0.001 | −0.005 | 168.4 |
| HTXWC | −0.005 | 1.401 | −0.001 | −1.392 | −0.003 | 111.1 |
| Pump 2 | −0.022 | 0.027 | −0.0 | −0.005 | 168.4 | |
| Hot WT | 0.005 | 0.001 | 0.012 | −0.018 | 673.7 | |
| Total | −2.735 (0.78+) | 3.974 | −0.007 | −0.455 | −0.778 | 23,786.2 |
Disclaimer/Publisher’s Note: The statements, opinions and data contained in all publications are solely those of the individual author(s) and contributor(s) and not of MDPI and/or the editor(s). MDPI and/or the editor(s) disclaim responsibility for any injury to people or property resulting from any ideas, methods, instructions or products referred to in the content. |
© 2024 by the authors. Licensee MDPI, Basel, Switzerland. This article is an open access article distributed under the terms and conditions of the Creative Commons Attribution (CC BY) license (https://creativecommons.org/licenses/by/4.0/).
Share and Cite
Yoo, Y.; Lee, S.-Y.; Seo, S.-H.; Oh, S.-D.; Kwak, H.-Y. Energy, Exergetic, and Thermoeconomic Analyses of Hydrogen-Fueled 1-kW Proton-Exchange Membrane Fuel Cell. Entropy 2024, 26, 566. https://doi.org/10.3390/e26070566
Yoo Y, Lee S-Y, Seo S-H, Oh S-D, Kwak H-Y. Energy, Exergetic, and Thermoeconomic Analyses of Hydrogen-Fueled 1-kW Proton-Exchange Membrane Fuel Cell. Entropy. 2024; 26(7):566. https://doi.org/10.3390/e26070566
Chicago/Turabian StyleYoo, Yungpil, Sang-Yup Lee, Seok-Ho Seo, Si-Doek Oh, and Ho-Young Kwak. 2024. "Energy, Exergetic, and Thermoeconomic Analyses of Hydrogen-Fueled 1-kW Proton-Exchange Membrane Fuel Cell" Entropy 26, no. 7: 566. https://doi.org/10.3390/e26070566
APA StyleYoo, Y., Lee, S.-Y., Seo, S.-H., Oh, S.-D., & Kwak, H.-Y. (2024). Energy, Exergetic, and Thermoeconomic Analyses of Hydrogen-Fueled 1-kW Proton-Exchange Membrane Fuel Cell. Entropy, 26(7), 566. https://doi.org/10.3390/e26070566

