Multi-Label Feature Selection Based on High-Order Label Correlation Assumption
Abstract
1. Introduction
1.1. The Background of Multi-Label Feature Selection
1.2. Information-Theoretical-Based Multi-Label Feature Selection Methods
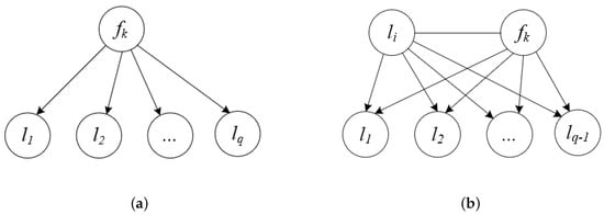
- Overestimating the significance of some features when these features have strong correlations with one semantic group containing many labels while being almost independent of the other labels, especially in data with a large collection of labels.
- Ignoring the key features that are highly correlated with the semantic groups containing less labels.
- Selecting more redundant features that are often associated with labels in the same semantic group.
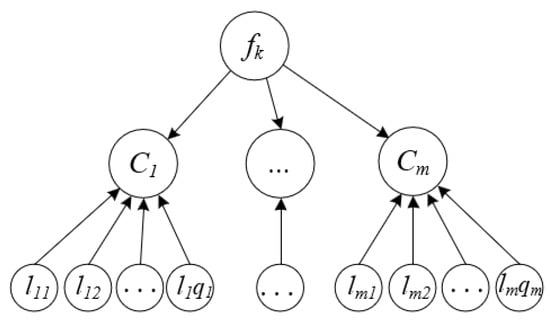
- A new term named Max-Correlation (MC) is designed based on the assumption that labels cluster into several groups, the labels in the same group possess the similar semantic meaning. The MC term employs the maximum operation to select the most informative feature. Additionally, the MC term is not limited to the number of labels in the semantic group, which can effectively address the above issues numbered as 1 and 2.
- We propose a novel feature selection method for multi-label learning based on the Max-Correlation named Multi-label Feature Selection considering the Max-Correlation (MCMFS), which not only maximizes the feature correlation between candidate features and the label set, but also minimizes the feature redundancy in the already-selected feature subset. As a result, our method intends to select the features that are from different semantic groups.
- The effectiveness of the proposed MCMFS method is validated on one artificial data set and twelve real-world multi-label data sets. The experimental results demonstrate that the proposed method can select compact feature subsets and to achieve better classification performance in terms of multiple evaluation criteria.
2. Preliminaries
2.1. The Basic Concepts of Information Theory
2.2. Multi-Label Evaluation Metrics
3. Related Work
4. MCMFS: Multi-Label Feature Selection Considering the Max-Correlation
4.1. Proposed Method
| Algorithm 1 MCMFS |
| Input: A training sample D with a full feature set and the label set ; The number of selected features b. Output: The already-selected feature subset S.
|
4.2. Complexity Analysis
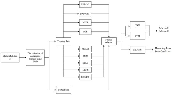
5. Experimental Results and Analysis
5.1. Experimental Setting
5.2. Experiment and Analysis on an Artificial Data Set
5.3. Experimental Results on the Real-Word Data Sets
6. Conclusions
Author Contributions
Funding
Conflicts of Interest
References
- Ueda, N.; Saito, K. Parametric Mixture Models for Multi-Labeled Text. In Proceedings of the International Conference on Neural Information Processing Systems, Vancouver, CO, Canada, 9–14 December 2002. [Google Scholar]
- Kazawa, H.; Izumitani, T.; Taira, H.; Maeda, E. Maximal margin labeling for multi-topic text categorization. In Proceedings of the Advances in Neural Information Processing Systems, Vancouver, BC, Canada, 13–18 December 2004; pp. 649–656. [Google Scholar]
- Gopal, S.; Yang, Y. Multilabel classification with meta-level features. In Proceedings of the 33rd International ACM SIGIR Conference on Research and Development in Information Retrieval, Geneva, Switzerland, 19 July 2010; pp. 315–322. [Google Scholar]
- Huang, S.J.; Zhou, Z.H. Multi-label learning by exploiting label correlations locally. In Proceedings of the Twenty-Sixth AAAI Conference on Artificial Intelligence, Toronto, ON, Canada, 22–26 July 2012. [Google Scholar]
- Zhang, M.L.; Zhou, Z.H. Multilabel neural networks with applications to functional genomics and text categorization. IEEE Trans. Knowl. Data Eng. 2006, 18, 1338–1351. [Google Scholar] [CrossRef]
- Elisseeff, A.; Weston, J. A kernel method for multi-labelled classification. In Proceedings of the International Conference on Neural Information Processing Systems: Natural and Synthetic, Cambridge, MA, USA, 3–8 December 2001; pp. 681–687. [Google Scholar]
- Zhang, M.L.; Zhou, Z.H. A Review on Multi-Label Learning Algorithms. IEEE Trans. Knowl. Data Eng. 2014, 26, 1819–1837. [Google Scholar] [CrossRef]
- Huang, J.; Li, G.; Huang, Q.; Wu, X. Learning label specific features for multi-label classification. In Proceedings of the 2015 IEEE International Conference on Data Mining, Atlantic City, NJ, USA, 14–17 November 2015; pp. 181–190. [Google Scholar]
- Huang, J.; Li, G.; Huang, Q.; Wu, X. Learning label-specific features and class-dependent labels for multi-label classification. IEEE Trans. Knowl. Data Eng. 2016, 28, 3309–3323. [Google Scholar] [CrossRef]
- Monard, M.C.; Tsoumakas, G.; Lee, H.D. A systematic review of multi-label feature selection and a new method based on label construction. Neurocomputing 2016, 180, 3–15. [Google Scholar]
- Gao, W.; Hu, L.; Zhang, P. Class-specific mutual information variation for feature selection. Pattern Recognit. 2018, 79, 328–339. [Google Scholar] [CrossRef]
- Lin, Y.; Hu, Q.; Liu, J.; Chen, J.; Duan, J. Multi-label feature selection based on neighborhood mutual information. Appl. Soft Comput. 2016, 38, 244–256. [Google Scholar] [CrossRef]
- Wang, J.J.Y.; Bensmail, H.; Gao, X. Feature selection and multi-kernel learning for sparse representation on a manifold. Neural Netw. 2014, 51, 9–16. [Google Scholar] [CrossRef]
- Lee, J.; Kim, D.W. Memetic feature selection algorithm for multi-label classification. Inf. Sci. 2015, 293, 80–96. [Google Scholar] [CrossRef]
- Kashef, S.; Nezamabadi-pour, H. A label-specific multi-label feature selection algorithm based on the Pareto dominance concept. Pattern Recognit. 2019, 88, 654–667. [Google Scholar] [CrossRef]
- Lin, Y.; Hu, Q.; Zhang, J.; Wu, X. Multi-label feature selection with streaming labels. Inf. Sci. 2016, 372, 256–275. [Google Scholar] [CrossRef]
- Lee, J.; Kim, D.W. Fast multi-label feature selection based on information-theoretic feature ranking. Pattern Recognit. 2015, 48, 2761–2771. [Google Scholar] [CrossRef]
- Yu, K.; Yu, S.; Tresp, V. Multi-label informed latent semantic indexing. In Proceedings of the 28th Annual International ACM SIGIR Conference on Research and Development in Information Retrieval, Salvador, Brazil, 15–19 August 2005; pp. 258–265. [Google Scholar]
- Zhu, R.; Dornaika, F.; Ruichek, Y. Learning a discriminant graph-based embedding with feature selection for image categorization. Neural Netw. 2019, 111, 35–46. [Google Scholar] [CrossRef] [PubMed]
- Zhang, M.L.; Peña, J.M.; Robles, V. Feature selection for multi-label naive Bayes classification. Inf. Sci. 2009, 179, 3218–3229. [Google Scholar] [CrossRef]
- Kong, X.; Yu, P.S. gMLC: A multi-label feature selection framework for graph classification. Knowl. Inf. Syst. 2012, 31, 281–305. [Google Scholar] [CrossRef]
- Zhang, Y.; Zhou, Z.H. Multilabel dimensionality reduction via dependence maximization. In Proceedings of the National Conference on Artificial Intelligence, Chicago, IL, USA, 13–17 July 2008. [Google Scholar]
- Gu, Q.; Li, Z.; Han, J. Correlated multi-label feature selection. In Proceedings of the 20th ACM International Conference on Information and Knowledge Management, Glasgow, Scotland, UK, 24–28 October 2011; pp. 1087–1096. [Google Scholar]
- Suping, X.U.; Yang, X.; Yunsong, Q.I. Multi-label learning with label-specific feature reduction. J. Comput. Appl. 2016, 104, 52–61. [Google Scholar]
- Li, F.; Miao, D.; Pedrycz, W. Granular multi-label feature selection based on mutual information. Pattern Recognit. 2017, 67, 410–423. [Google Scholar] [CrossRef]
- Sun, Z.; Zhang, J.; Dai, L.; Li, C.; Zhou, C.; Xin, J.; Li, S. Mutual information based multi-label feature selection via constrained convex optimization. Neurocomputing 2019, 329, 447–456. [Google Scholar] [CrossRef]
- Li, L.; Liu, H.; Ma, Z.; Mo, Y.; Duan, Z.; Zhou, J.; Zhao, J. Multi-label feature selection via information gain. In Proceedings of the International Conference on Advanced Data Mining and Applications, Guilin, China, 19–21 December 2014; pp. 345–355. [Google Scholar]
- Sechidis, K.; Spyromitros-Xioufis, E.; Vlahavas, I. Information Theoretic Multi-Target Feature Selection via Output Space Quantization. Entropy 2019, 21, 855. [Google Scholar] [CrossRef]
- Lee, J.; Kim, D.W. Mutual Information-based multi-label feature selection using interaction information. Expert Syst. Appl. 2015, 42, 2013–2025. [Google Scholar] [CrossRef]
- Lee, J.; Kim, D.W. SCLS: Multi-label feature selection based on scalable criterion for large label set. Pattern Recognit. 2017, 66, 342–352. [Google Scholar] [CrossRef]
- Lin, Y.; Hu, Q.; Liu, J.; Duan, J. Multi-label feature selection based on max-dependency and min-redundancy. Neurocomputing 2015, 168, 92–103. [Google Scholar] [CrossRef]
- Lee, J.; Kim, D.W. Feature selection for multi-label classification using multivariate mutual information. Pattern Recognit. Lett. 2013, 34, 349–357. [Google Scholar] [CrossRef]
- Zhang, P.; Liu, G.; Gao, W. Distinguishing two types of labels for multi-label feature selection. Pattern Recognit. 2019, 95, 72–82. [Google Scholar] [CrossRef]
- Shannon, C.E. A mathematical theory of communication. Bell Syst. Tech. J. 1948, 27, 379–423. [Google Scholar] [CrossRef]
- Cover, T.M.; Thomas, J.A. Elements of Information Theory; Tsinghua University Press: Beijing, China, 2003; pp. 13–55. [Google Scholar]
- Wu, X.Z.; Zhou, Z.H. A unified view of multi-label performance measures. In Proceedings of the 34th International Conference on Machine Learning-Volume 70, Sydney, Australia, 6–11 August 2017; pp. 3780–3788. [Google Scholar]
- Lee, J.; Kim, D.W. Efficient multi-label feature selection using entropy-based label selection. Entropy 2016, 18, 405. [Google Scholar] [CrossRef]
- Lim, H.; Lee, J.; Kim, D.W. Optimization approach for feature selection in multi-label classification. Pattern Recognit. Lett. 2017, 89, 25–30. [Google Scholar] [CrossRef]
- Boutell, M.R.; Luo, J.; Shen, X.; Brown, C.M. Learning multi-label scene classification. Pattern Recognit. 2004, 37, 1757–1771. [Google Scholar] [CrossRef]
- Trohidis, K.; Tsoumakas, G.; Kalliris, G.; Vlahavas, I. Multilabel classification of music into emotions. Blood 2008, 90, 3438–3443. [Google Scholar]
- Read, J. A pruned problem transformation method for multi-label classification. In Proceedings of the 2008 New Zealand Computer Science Research Student Conference, Christchurch, New Zealand, 14–18 April 2008; pp. 143–150. [Google Scholar]
- SpolaôR, N.; Cherman, E.A.; Monard, M.C.; Lee, H.D. A comparison of multi-label feature selection methods using the problem transformation approach. Electron. Notes Theor. Comput. Sci. 2013, 292, 135–151. [Google Scholar] [CrossRef]
- Robnik-Ikonja, M.; Kononenko, I. Theoretical and Empirical Analysis of ReliefF and RReliefF. Mach. Learn. 2003, 53, 23–69. [Google Scholar] [CrossRef]
- Lewis, D.D. Feature Selection and Feature Extraction for Text Categorization. In Proceedings of the Speech and Natural Language: Proceedings of a Workshop Held at Harriman, New York, NY, USA, 23–26 February 1992; pp. 212–217. [Google Scholar]
- Doquire, G.; Verleysen, M. Mutual information-based feature selection for multilabel classification. Neurocomputing 2013, 122, 148–155. [Google Scholar] [CrossRef]
- Jian, L.; Li, J.; Shu, K.; Liu, H. Multi-Label Informed Feature Selection. In Proceedings of the Twenty-Fifth International Joint Conference on Artificial Intelligence, New York, NY, USA, 9–15 July 2016; pp. 1627–1633. [Google Scholar]
- Kong, D.; Fujimaki, R.; Liu, J.; Nie, F.; Ding, C. Exclusive Feature Learning on Arbitrary Structures via ℓ1,2-norm. In Proceedings of the Advances in Neural Information Processing Systems, Montreal, QC, Canada, 8–13 December 2014; pp. 1655–1663. [Google Scholar]
- Peng, H.; Long, F.; Ding, C. Feature selection based on mutual information criteria of max-dependency, max-relevance, and min-redundancy. IEEE Trans. Pattern Anal. Mach. Intell. 2005, 27, 1226–1238. [Google Scholar] [CrossRef] [PubMed]
- Vinh, N.X.; Zhou, S.; Chan, J.; Bailey, J. Can high-order dependencies improve mutual information based feature selection? Pattern Recognit. 2016, 53, 46–58. [Google Scholar] [CrossRef]
- Bennasar, M.; Hicks, Y.; Setchi, R. Feature selection using Joint Mutual Information Maximisation. Expert Syst. Appl. 2015, 42, 8520–8532. [Google Scholar] [CrossRef]
- Hoque, N.; Bhattacharyya, D.K.; Kalita, J. MIFS-ND: A mutual information-based feature selection method. Expert Syst. Appl. 2014, 41, 6371–6385. [Google Scholar] [CrossRef]
- Che, J.; Yang, Y.; Li, L.; Bai, X.; Zhang, S.; Deng, C. Maximum relevance minimum common redundancy feature selection for nonlinear data. Inf. Sci. 2017, 409, 68–86. [Google Scholar] [CrossRef]
- Freeman, C.; Kulic, D.; Basir, O. An evaluation of classifier-specific filter measure performance for feature selection. Pattern Recognit. 2015, 48, 1812–1826. [Google Scholar] [CrossRef]
- Tsoumakas, G.; Spyromitros-Xioufis, E.; Vilcek, J.; Vlahavas, I. MULAN: A Java library for multi-label learning. J. Mach. Learn. Res. 2011, 12, 2411–2414. [Google Scholar]







| Methods | Time Complexity |
|---|---|
| MCMFS | |
| SCLS | |
| D2F | |
| MDMR | |
| PMU | |
| LRFS |
| O | |||||||||||||
|---|---|---|---|---|---|---|---|---|---|---|---|---|---|
| 0 | 1 | 0 | 0 | 0 | 1 | 0 | 0 | 1 | 1 | 1 | 0 | 0 | |
| 1 | 0 | 0 | 0 | 0 | 1 | 1 | 1 | 0 | 0 | 0 | 0 | 1 | |
| 1 | 0 | 1 | 1 | 0 | 1 | 1 | 0 | 0 | 0 | 0 | 1 | 0 | |
| 1 | 1 | 0 | 0 | 0 | 0 | 1 | 1 | 1 | 1 | 1 | 1 | 1 | |
| 0 | 0 | 1 | 0 | 1 | 0 | 1 | 0 | 0 | 0 | 0 | 1 | 0 | |
| 0 | 1 | 0 | 0 | 0 | 0 | 0 | 0 | 1 | 1 | 1 | 0 | 0 | |
| 0 | 0 | 0 | 0 | 0 | 0 | 1 | 0 | 0 | 0 | 0 | 0 | 1 | |
| 0 | 0 | 0 | 1 | 0 | 0 | 0 | 0 | 1 | 0 | 0 | 0 | 0 | |
| 1 | 0 | 0 | 0 | 0 | 1 | 0 | 0 | 0 | 1 | 0 | 0 | 0 | |
| 0 | 0 | 0 | 0 | 1 | 0 | 1 | 0 | 0 | 0 | 1 | 0 | 0 |
| Methods | Feature Ranking | HL↓ | ZOL↓ | Macro-F1 (SVM) ↑ | Micro-F1 (SVM) ↑ | Macro-F1 (3NN) ↑ | Micro-F1 (3NN) ↑ |
|---|---|---|---|---|---|---|---|
| MCMFS | 0.3075 | 0.8875 | 0.4017 | 0.4651 | 0.3783 | 0.4694 | |
| D2F | 0.3433 | 0.9583 | 0.3342 | 0.3985 | 0.2350 | 0.3148 | |
| LRFS | 0.3625 | 0.9292 | 0.3550 | 0.4191 | 0.2883 | 0.3829 | |
| MDMR | 0.3342 | 0.9333 | 0.3533 | 0.4261 | 0.3617 | 0.4646 | |
| PMU | 0.3758 | 0.9875 | 0.2733 | 0.3395 | 0.1917 | 0.2823 | |
| SCLS | 0.3408 | 0.9583 | 0.3517 | 0.4321 | 0.3375 | 0.4220 |
| No. | Data Set | #Instances | #Features | #Labels | #Training | #Test |
|---|---|---|---|---|---|---|
| 1 | medical | 978 | 1449 | 45 | 333 | 645 |
| 2 | scene | 2407 | 294 | 6 | 1211 | 1196 |
| 3 | Enron | 1702 | 1001 | 53 | 1123 | 579 |
| 4 | Arts | 5000 | 462 | 26 | 2000 | 3000 |
| 5 | Business | 5000 | 438 | 30 | 2000 | 3000 |
| 6 | Education | 5000 | 550 | 33 | 2000 | 3000 |
| 7 | Entertain | 5000 | 640 | 21 | 2000 | 3000 |
| 8 | Health | 5000 | 612 | 32 | 2000 | 3000 |
| 9 | Recreation | 5000 | 606 | 22 | 2000 | 3000 |
| 10 | Reference | 5000 | 793 | 33 | 2000 | 3000 |
| 11 | Science | 5000 | 743 | 40 | 2000 | 3000 |
| 12 | Social | 5000 | 1047 | 39 | 2000 | 3000 |
| Data set | MCMFS | PPT + MI | PPT + CHI | MIFS | D2F | MDMR | PMU | SCLS | LRFS |
|---|---|---|---|---|---|---|---|---|---|
| medical | 0.015 ± 0.001 | 0.018 ± 0.001 | 0.017 ± 0.002 | 0.017 ± 0.002 | 0.02 ± 0.001 | 0.018 ± 0.001 | 0.02 ± 0.001 | 0.023 ± 0 | 0.018 ± 0.001 |
| scene | 0.135 ± 0.011 | 0.167 ± 0.006 | 0.167 ± 0.007 | 0.17 ± 0.01 | 0.149 ± 0.006 | 0.145 ± 0.007 | 0.147 ± 0.007 | 0.173 ± 0.003 | 0.142 ± 0.01 |
| enron | 0.051 ± 0.002 | 0.053 ± 0.002 | 0.059 ± 0.001 | 0.057 ± 0.001 | 0.052 ± 0.001 | 0.053 ± 0.003 | 0.052 ± 0.001 | 0.053 ± 0.001 | 0.055 ± 0.003 |
| Arts | 0.060 ± 0.001 | 0.062 ± 0.001 | 0.062 ± 0.001 | 0.061 ± 0.001 | 0.064 ± 0.001 | 0.061 ± 0.001 | 0.064 ± 0.001 | 0.063 ± 0.001 | 0.061 ± 0.001 |
| Business | 0.029 ± 0.000 | 0.029 ± 0.001 | 0.029 ± 0.000 | 0.028 ± 0.000 | 0.029 ± 0.001 | 0.029 ± 0.001 | 0.029 ± 0.000 | 0.029 ± 0 | 0.029 ± 0.001 |
| Education | 0.042 ± 0.001 | 0.043 ± 0.001 | 0.043 ± 0.001 | 0.044 ± 0.001 | 0.044 ± 0.001 | 0.043 ± 0.001 | 0.045 ± 0.001 | 0.044 ± 0.001 | 0.043 ± 0.001 |
| Entertain | 0.061 ± 0.001 | 0.064 ± 0.001 | 0.065 ± 0.001 | 0.066 ± 0.001 | 0.066 ± 0.001 | 0.063 ± 0.002 | 0.067 ± 0.001 | 0.066 ± 0.001 | 0.063 ± 0.001 |
| Health | 0.044 ± 0.001 | 0.046 ± 0.001 | 0.045 ± 0.002 | 0.05 ± 0.001 | 0.048 ± 0.001 | 0.045 ± 0.001 | 0.049 ± 0.001 | 0.049 ± 0.001 | 0.045 ± 0.001 |
| Recreation | 0.061 ± 0.001 | 0.062 ± 0.001 | 0.062 ± 0.001 | 0.062 ± 0.001 | 0.062 ± 0.001 | 0.062 ± 0.001 | 0.065 ± 0.001 | 0.064 ± 0.001 | 0.061 ± 0.001 |
| Reference | 0.031 ± 0.001 | 0.032 ± 0.001 | 0.032 ± 0.001 | 0.031 ± 0.001 | 0.032 ± 0.001 | 0.031 ± 0.001 | 0.034 ± 0.001 | 0.033 ± 0 | 0.031 ± 0.001 |
| Science | 0.035 ± 0.001 | 0.036 ± 0.001 | 0.036 ± 0.000 | 0.036 ± 0.000 | 0.036 ± 0.000 | 0.035 ± 0.000 | 0.036 ± 0.000 | 0.036 ± 0.000 | 0.035 ± 0.001 |
| Social | 0.026 ± 0.001 | 0.028 ± 0.001 | 0.03 ± 0.001 | 0.032 ± 0.001 | 0.03 ± 0.001 | 0.028 ± 0.001 | 0.031 ± 0 | 0.029 ± 0.001 | 0.027 ± 0.001 |
| Average | 0.049 | 0.053 | 0.054 | 0.055 | 0.053 | 0.051 | 0.053 | 0.055 | 0.051 |
| Data set | MCMFS | PPT + MI | PPT + CHI | MIFS | D2F | MDMR | PMU | SCLS | LRFS |
|---|---|---|---|---|---|---|---|---|---|
| medical | 0.50 ± 0.05 | 0.59 ± 0.05 | 0.55 ± 0.06 | 0.55 ± 0.08 | 0.66 ± 0.04 | 0.58 ± 0.04 | 0.66 ± 0.04 | 0.83 ± 0.01 | 0.58 ± 0.04 |
| scene | 0.57 ± 0.08 | 0.78 ± 0.08 | 0.8 ± 0.09 | 0.83 ± 0.12 | 0.61 ± 0.06 | 0.61 ± 0.07 | 0.61 ± 0.07 | 0.74 ± 0.04 | 0.6 ± 0.08 |
| enron | 0.89 ± 0.02 | 0.9 ± 0.03 | 0.98 ± 0 | 0.98 ± 0.01 | 0.9 ± 0.02 | 0.91 ± 0.03 | 0.9 ± 0.03 | 0.94 ± 0.03 | 0.93 ± 0.04 |
| Arts | 0.90 ± 0.03 | 0.93 ± 0.03 | 0.95 ± 0.02 | 0.92 ± 0.03 | 0.95 ± 0.01 | 0.92 ± 0.03 | 0.97 ± 0.02 | 0.95 ± 0.01 | 0.92 ± 0.03 |
| Business | 0.47 ± 0.01 | 0.48 ± 0.01 | 0.47 ± 0.01 | 0.47 ± 0.01 | 0.48 ± 0.01 | 0.47 ± 0.01 | 0.48 ± 0.01 | 0.48 ± 0.01 | 0.47 ± 0.01 |
| Education | 0.88 ± 0.03 | 0.91 ± 0.02 | 0.94 ± 0.02 | 0.95 ± 0.03 | 0.95 ± 0.01 | 0.9 ± 0.02 | 0.95 ± 0.01 | 0.93 ± 0.01 | 0.9 ± 0.02 |
| Entertain | 0.82 ± 0.04 | 0.87 ± 0.04 | 0.9 ± 0.03 | 0.93 ± 0.03 | 0.91 ± 0.01 | 0.85 ± 0.03 | 0.94 ± 0.01 | 0.9 ± 0.01 | 0.86 ± 0.03 |
| Health | 0.66 ± 0.04 | 0.73 ± 0.06 | 0.67 ± 0.01 | 0.8 ± 0.09 | 0.77 ± 0.05 | 0.71 ± 0.05 | 0.77 ± 0.05 | 0.74 ± 0.04 | 0.71 ± 0.05 |
| Recreation | 0.86 ± 0.02 | 0.89 ± 0.02 | 0.89 ± 0.02 | 0.88 ± 0.03 | 0.92 ± 0.01 | 0.87 ± 0.02 | 0.97 ± 0.01 | 0.95 ± 0.01 | 0.88 ± 0.02 |
| Reference | 0.74 ± 0.08 | 0.74 ± 0.08 | 0.71 ± 0.13 | 0.78 ± 0.07 | 0.8 ± 0.04 | 0.76 ± 0.06 | 0.81 ± 0.05 | 0.83 ± 0.04 | 0.76 ± 0.06 |
| Science | 0.91 ± 0.02 | 0.94 ± 0.01 | 0.96 ± 0.01 | 0.93 ± 0.03 | 0.97 ± 0.01 | 0.94 ± 0.01 | 0.98 ± 0.01 | 0.95 ± 0.01 | 0.94 ± 0.01 |
| Social | 0.70 ± 0.05 | 0.72 ± 0.05 | 0.76 ± 0.13 | 0.88 ± 0.09 | 0.73 ± 0.09 | 0.72 ± 0.05 | 0.78 ± 0.07 | 0.74 ± 0.04 | 0.72 ± 0.05 |
| Average | 0.74 | 0.79 | 0.80 | 0.82 | 0.80 | 0.77 | 0.82 | 0.83 | 0.77 |
| Data set | MCMFS | PPT + MI | PPT + CHI | MIFS | D2F | MDMR | PMU | SCLS | LRFS |
|---|---|---|---|---|---|---|---|---|---|
| medical | 0.35 ± 0.06 | 0.25 ± 0.05 | 0.26 ± 0.04 | 0.22 ± 0.05 | 0.19 ± 0.05 | 0.32 ± 0.07 | 0.19 ± 0.06 | 0.08 ± 0.01 | 0.32 ± 0.07 |
| scene | 0.48 ± 0.09 | 0.22 ± 0.09 | 0.21 ± 0.1 | 0.21 ± 0.15 | 0.46 ± 0.08 | 0.43 ± 0.07 | 0.47 ± 0.09 | 0.26 ± 0.05 | 0.44 ± 0.08 |
| enron | 0.12 ± 0.03 | 0.1 ± 0.03 | 0.07 ± 0.02 | 0.07 ± 0.02 | 0.13 ± 0.04 | 0.11 ± 0.03 | 0.13 ± 0.05 | 0.12 ± 0.03 | 0.1 ± 0.03 |
| Arts | 0.09 ± 0.03 | 0.06 ± 0.02 | 0.07 ± 0.02 | 0.07 ± 0.02 | 0.03 ± 0.00 | 0.08 ± 0.03 | 0.01 ± 0.01 | 0.03 ± 0.00 | 0.07 ± 0.02 |
| Business | 0.05 ± 0.00 | 0.05 ± 0.00 | 0.05 ± 0.00 | 0.04 ± 0.00 | 0.05 ± 0.00 | 0.05 ± 0.00 | 0.03 ± 0.00 | 0.04 ± 0.00 | 0.05 ± 0.00 |
| Education | 0.07 ± 0.01 | 0.06 ± 0.01 | 0.05 ± 0.01 | 0.03 ± 0.02 | 0.05 ± 0.01 | 0.06 ± 0.01 | 0.03 ± 0.01 | 0.04 ± 0.01 | 0.06 ± 0.01 |
| Entertain | 0.13 ± 0.03 | 0.11 ± 0.03 | 0.09 ± 0.02 | 0.06 ± 0.02 | 0.08 ± 0.01 | 0.12 ± 0.02 | 0.05 ± 0.00 | 0.07 ± 0.01 | 0.12 ± 0.02 |
| Health | 0.15 ± 0.03 | 0.13 ± 0.03 | 0.14 ± 0.03 | 0.06 ± 0.03 | 0.09 ± 0.01 | 0.14 ± 0.03 | 0.08 ± 0.01 | 0.09 ± 0.01 | 0.14 ± 0.03 |
| Recreation | 0.11 ± 0.02 | 0.1 ± 0.02 | 0.1 ± 0.02 | 0.09 ± 0.03 | 0.08 ± 0.01 | 0.11 ± 0.02 | 0.03 ± 0.00 | 0.04 ± 0.00 | 0.11 ± 0.02 |
| Reference | 0.07 ± 0.01 | 0.07 ± 0.01 | 0.07 ± 0.02 | 0.06 ± 0.02 | 0.04 ± 0.00 | 0.07 ± 0.01 | 0.03 ± 0.01 | 0.02 ± 0.00 | 0.07 ± 0.01 |
| Science | 0.07 ± 0.02 | 0.05 ± 0.02 | 0.05 ± 0.01 | 0.04 ± 0.02 | 0.02 ± 0.00 | 0.05 ± 0.02 | 0.01 ± 0.01 | 0.02 ± 0.00 | 0.05 ± 0.02 |
| Social | 0.11 ± 0.03 | 0.09 ± 0.02 | 0.09 ± 0.02 | 0.05 ± 0.03 | 0.07 ± 0.01 | 0.1 ± 0.03 | 0.05 ± 0.01 | 0.05 ± 0.01 | 0.1 ± 0.03 |
| Average | 0.15 | 0.11 | 0.10 | 0.09 | 0.11 | 0.14 | 0.09 | 0.07 | 0.14 |
| Data set | MCMFS | PPT + MI | PPT + CHI | MIFS | D2F | MDMR | PMU | SCLS | LRFS |
|---|---|---|---|---|---|---|---|---|---|
| medical | 0.25 ± 0.04 | 0.16 ± 0.03 | 0.19 ± 0.02 | 0.16 ± 0.02 | 0.12 ± 0.02 | 0.19 ± 0.03 | 0.11 ± 0.02 | 0.06 ± 0.01 | 0.19 ± 0.03 |
| scene | 0.54 ± 0.07 | 0.37 ± 0.08 | 0.36 ± 0.08 | 0.29 ± 0.14 | 0.49 ± 0.05 | 0.51 ± 0.06 | 0.49 ± 0.07 | 0.37 ± 0.03 | 0.53 ± 0.07 |
| enron | 0.13 ± 0.02 | 0.12 ± 0.02 | 0.07 ± 0.01 | 0.09 ± 0.01 | 0.12 ± 0.01 | 0.12 ± 0.02 | 0.12 ± 0.02 | 0.11 ± 0.01 | 0.11 ± 0.02 |
| Arts | 0.11 ± 0.03 | 0.08 ± 0.02 | 0.1 ± 0.03 | 0.08 ± 0.03 | 0.06 ± 0.01 | 0.1 ± 0.02 | 0.06 ± 0.01 | 0.07 ± 0.02 | 0.1 ± 0.02 |
| Business | 0.1 ± 0.01 | 0.08 ± 0.01 | 0.09 ± 0.01 | 0.09 ± 0.02 | 0.07 ± 0.01 | 0.09 ± 0.01 | 0.05 ± 0.01 | 0.07 ± 0.01 | 0.08 ± 0.01 |
| Education | 0.09 ± 0.02 | 0.08 ± 0.02 | 0.08 ± 0.02 | 0.04 ± 0.02 | 0.06 ± 0.01 | 0.07 ± 0.01 | 0.06 ± 0.01 | 0.06 ± 0.01 | 0.07 ± 0.01 |
| Entertain | 0.14 ± 0.03 | 0.13 ± 0.02 | 0.11 ± 0.02 | 0.08 ± 0.02 | 0.11 ± 0.01 | 0.13 ± 0.02 | 0.08 ± 0.01 | 0.09 ± 0.01 | 0.14 ± 0.02 |
| Health | 0.14 ± 0.03 | 0.11 ± 0.02 | 0.12 ± 0.03 | 0.05 ± 0.03 | 0.09 ± 0.01 | 0.12 ± 0.02 | 0.09 ± 0.01 | 0.09 ± 0.01 | 0.12 ± 0.02 |
| Recreation | 0.13 ± 0.02 | 0.1 ± 0.01 | 0.11 ± 0.02 | 0.12 ± 0.03 | 0.08 ± 0.01 | 0.12 ± 0.02 | 0.05 ± 0.01 | 0.07 ± 0.01 | 0.12 ± 0.02 |
| Reference | 0.08 ± 0.01 | 0.07 ± 0.01 | 0.08 ± 0.02 | 0.07 ± 0.01 | 0.04 ± 0 | 0.07 ± 0.01 | 0.03 ± 0.01 | 0.04 ± 0.01 | 0.07 ± 0.01 |
| Science | 0.08 ± 0.02 | 0.05 ± 0.01 | 0.07 ± 0.01 | 0.06 ± 0.02 | 0.04 ± 0.01 | 0.07 ± 0.02 | 0.03 ± 0.01 | 0.03 ± 0 | 0.06 ± 0.01 |
| Social | 0.12 ± 0.02 | 0.08 ± 0.01 | 0.1 ± 0.01 | 0.07 ± 0.03 | 0.06 ± 0.01 | 0.09 ± 0.01 | 0.05 ± 0.01 | 0.05 ± 0 | 0.09 ± 0.01 |
| Average | 0.16 | 0.12 | 0.12 | 0.10 | 0.11 | 0.14 | 0.10 | 0.09 | 0.14 |
| Data set | MCMFS | PPT + MI | PPT + CHI | MIFS | D2F | MDMR | PMU | SCLS | LRFS |
|---|---|---|---|---|---|---|---|---|---|
| medical | 0.79 ± 0.05 | 0.73 ± 0.05 | 0.74 ± 0.07 | 0.71 ± 0.11 | 0.63 ± 0.07 | 0.76 ± 0.05 | 0.63 ± 0.08 | 0.37 ± 0.01 | 0.76 ± 0.05 |
| scene | 0.50 ± 0.08 | 0.25 ± 0.1 | 0.24 ± 0.11 | 0.24 ± 0.16 | 0.48 ± 0.07 | 0.46 ± 0.07 | 0.49 ± 0.08 | 0.3 ± 0.05 | 0.47 ± 0.07 |
| enron | 0.51 ± 0.03 | 0.47 ± 0.04 | 0.35 ± 0.02 | 0.37 ± 0.03 | 0.51 ± 0.03 | 0.47 ± 0.05 | 0.5 ± 0.04 | 0.49 ± 0.03 | 0.45 ± 0.06 |
| Arts | 0.18 ± 0.05 | 0.14 ± 0.05 | 0.12 ± 0.04 | 0.17 ± 0.05 | 0.08 ± 0.01 | 0.17 ± 0.05 | 0.03 ± 0.02 | 0.07 ± 0.02 | 0.16 ± 0.05 |
| Business | 0.68 ± 0.00 | 0.68 ± 0.00 | 0.68 ± 0.00 | 0.67 ± 0.00 | 0.67 ± 0.00 | 0.68 ± 0.00 | 0.67 ± 0.00 | 0.67 ± 0 | 0.68 ± 0.00 |
| Education | 0.23 ± 0.05 | 0.2 ± 0.04 | 0.13 ± 0.04 | 0.12 ± 0.06 | 0.12 ± 0.02 | 0.21 ± 0.05 | 0.08 ± 0.01 | 0.14 ± 0.02 | 0.21 ± 0.04 |
| Entertain | 0.27 ± 0.06 | 0.23 ± 0.06 | 0.17 ± 0.05 | 0.11 ± 0.05 | 0.16 ± 0.01 | 0.26 ± 0.06 | 0.1 ± 0.01 | 0.15 ± 0.02 | 0.25 ± 0.06 |
| Health | 0.50 ± 0.02 | 0.45 ± 0.07 | 0.47 ± 0.03 | 0.39 ± 0.05 | 0.42 ± 0.01 | 0.47 ± 0.04 | 0.39 ± 0.03 | 0.41 ± 0 | 0.48 ± 0.03 |
| Recreation | 0.20 ± 0.04 | 0.19 ± 0.03 | 0.17 ± 0.04 | 0.18 ± 0.05 | 0.14 ± 0.02 | 0.2 ± 0.04 | 0.04 ± 0 | 0.07 ± 0.01 | 0.2 ± 0.04 |
| Reference | 0.32 ± 0.04 | 0.35 ± 0.07 | 0.35 ± 0.14 | 0.33 ± 0.1 | 0.31 ± 0.04 | 0.34 ± 0.06 | 0.27 ± 0.05 | 0.26 ± 0.04 | 0.34 ± 0.06 |
| Science | 0.15 ± 0.04 | 0.12 ± 0.03 | 0.09 ± 0.03 | 0.11 ± 0.05 | 0.05 ± 0.01 | 0.13 ± 0.03 | 0.02 ± 0.02 | 0.06 ± 0.01 | 0.13 ± 0.03 |
| Social | 0.45 ± 0.08 | 0.42 ± 0.07 | 0.38 ± 0.14 | 0.2 ± 0.12 | 0.4 ± 0.07 | 0.43 ± 0.07 | 0.31 ± 0.07 | 0.38 ± 0.05 | 0.43 ± 0.07 |
| Average | 0.40 | 0.35 | 0.33 | 0.30 | 0.33 | 0.38 | 0.29 | 0.28 | 0.38 |
| Data set | MCMFS | PPT + MI | PPT + CHI | MIFS | D2F | MDMR | PMU | SCLS | LRFS |
|---|---|---|---|---|---|---|---|---|---|
| medical | 0.69 ± 0.04 | 0.62 ± 0.04 | 0.64 ± 0.06 | 0.61 ± 0.1 | 0.53 ± 0.04 | 0.64 ± 0.03 | 0.52 ± 0.04 | 0.35 ± 0.01 | 0.64 ± 0.03 |
| scene | 0.55 ± 0.06 | 0.39 ± 0.06 | 0.38 ± 0.06 | 0.34 ± 0.11 | 0.49 ± 0.04 | 0.52 ± 0.05 | 0.5 ± 0.05 | 0.38 ± 0.02 | 0.54 ± 0.05 |
| enron | 0.49 ± 0.02 | 0.45 ± 0.01 | 0.34 ± 0.03 | 0.41 ± 0.02 | 0.47 ± 0.03 | 0.44 ± 0.04 | 0.47 ± 0.02 | 0.44 ± 0.03 | 0.42 ± 0.05 |
| Arts | 0.26 ± 0.05 | 0.17 ± 0.05 | 0.24 ± 0.04 | 0.18 ± 0.05 | 0.15 ± 0.03 | 0.25 ± 0.04 | 0.14 ± 0.03 | 0.17 ± 0.03 | 0.25 ± 0.04 |
| Business | 0.67 ± 0.01 | 0.67 ± 0.00 | 0.66 ± 0.01 | 0.65 ± 0.08 | 0.66 ± 0.00 | 0.67 ± 0.01 | 0.65 ± 0.04 | 0.60 ± 0.12 | 0.67 ± 0.01 |
| Education | 0.26 ± 0.03 | 0.24 ± 0.04 | 0.28 ± 0.04 | 0.16 ± 0.06 | 0.19 ± 0.03 | 0.23 ± 0.03 | 0.18 ± 0.04 | 0.19 ± 0.03 | 0.23 ± 0.03 |
| Entertain | 0.27 ± 0.05 | 0.28 ± 0.05 | 0.21 ± 0.05 | 0.22 ± 0.08 | 0.24 ± 0.03 | 0.26 ± 0.04 | 0.22 ± 0.05 | 0.22 ± 0.03 | 0.27 ± 0.03 |
| Health | 0.37 ± 0.09 | 0.38 ± 0.07 | 0.37 ± 0.14 | 0.2 ± 0.07 | 0.37 ± 0.05 | 0.38 ± 0.06 | 0.36 ± 0.04 | 0.37 ± 0.06 | 0.38 ± 0.05 |
| Recreation | 0.25 ± 0.03 | 0.19 ± 0.02 | 0.21 ± 0.04 | 0.23 ± 0.05 | 0.16 ± 0.02 | 0.23 ± 0.04 | 0.09 ± 0.02 | 0.12 ± 0.02 | 0.23 ± 0.03 |
| Reference | 0.46 ± 0.04 | 0.41 ± 0.05 | 0.39 ± 0.13 | 0.35 ± 0.09 | 0.36 ± 0.05 | 0.43 ± 0.05 | 0.35 ± 0.04 | 0.29 ± 0.05 | 0.43 ± 0.04 |
| Science | 0.18 ± 0.04 | 0.17 ± 0.03 | 0.12 ± 0.03 | 0.17 ± 0.02 | 0.12 ± 0.02 | 0.16 ± 0.03 | 0.1 ± 0.02 | 0.15 ± 0.03 | 0.16 ± 0.03 |
| Social | 0.46 ± 0.05 | 0.4 ± 0.06 | 0.44 ± 0.1 | 0.39 ± 0.05 | 0.39 ± 0.05 | 0.42 ± 0.06 | 0.36 ± 0.05 | 0.37 ± 0.04 | 0.41 ± 0.05 |
| Average | 0.41 | 0.36 | 0.36 | 0.33 | 0.34 | 0.38 | 0.33 | 0.30 | 0.38 |
| Data Set | MCMFS | D2F | MDMR | PMU | SCLS | LRFS | PPT + MI | PPT + CHI | MIFS |
|---|---|---|---|---|---|---|---|---|---|
| medical | 142.2 | 10,698.5 | 9910.0 | 11521.6 | 38.2 | 6961.9 | 1.2 | 8.6 | 30.3 |
| scene | 23.5 | 244.1 | 246.1 | 257.0 | 5.5 | 147.0 | 0.4 | 1.8 | 47.4 |
| enron | 267.3 | 22,164.0 | 20,583.0 | 25749.6 | 93.6 | 16,631.9 | 0.8 | 6.4 | 41.2 |
| Arts | 111.9 | 4355.8 | 4185.4 | 5002.2 | 39.6 | 3421.2 | 1.0 | 4.1 | 35.5 |
| Business | 107.4 | 4536.1 | 4361.8 | 5354.0 | 41.5 | 4079.8 | 1.0 | 3.1 | 41.9 |
| Education | 161.2 | 8397.3 | 7700.0 | 9037.2 | 59.1 | 6323.1 | 1.2 | 4.3 | 99.3 |
| Entertain | 194.4 | 6809.9 | 6539.2 | 7386.6 | 54.3 | 4519.1 | 1.4 | 5.0 | 98.7 |
| Health | 195.1 | 9376.0 | 9086.8 | 10,797.1 | 68.4 | 7523.4 | 1.3 | 4.8 | 17.2 |
| Recreation | 183.4 | 6394.2 | 6127.6 | 7016.8 | 51.7 | 4369.0 | 1.3 | 4.6 | 39.5 |
| Reference | 313.5 | 16,269.8 | 15,637.3 | 18,483.6 | 96.2 | 11,685.1 | 1.8 | 5.7 | 57.5 |
| Science | 291.4 | 17,419.9 | 16,665.2 | 20,137.1 | 102.7 | 14,344.9 | 1.6 | 6.6 | 60.0 |
| Social | 553.8 | 34,108.8 | 33,195.6 | 37,246.0 | 156.1 | 23,754.5 | 2.8 | 9.0 | 43.4 |
© 2020 by the authors. Licensee MDPI, Basel, Switzerland. This article is an open access article distributed under the terms and conditions of the Creative Commons Attribution (CC BY) license (http://creativecommons.org/licenses/by/4.0/).
Share and Cite
Zhang, P.; Gao, W.; Hu, J.; Li, Y. Multi-Label Feature Selection Based on High-Order Label Correlation Assumption. Entropy 2020, 22, 797. https://doi.org/10.3390/e22070797
Zhang P, Gao W, Hu J, Li Y. Multi-Label Feature Selection Based on High-Order Label Correlation Assumption. Entropy. 2020; 22(7):797. https://doi.org/10.3390/e22070797
Chicago/Turabian StyleZhang, Ping, Wanfu Gao, Juncheng Hu, and Yonghao Li. 2020. "Multi-Label Feature Selection Based on High-Order Label Correlation Assumption" Entropy 22, no. 7: 797. https://doi.org/10.3390/e22070797
APA StyleZhang, P., Gao, W., Hu, J., & Li, Y. (2020). Multi-Label Feature Selection Based on High-Order Label Correlation Assumption. Entropy, 22(7), 797. https://doi.org/10.3390/e22070797
