A Comparison Study of High-Temperature Low-Cycle Fatigue Behaviour and Deformation Mechanisms Between Incoloy 800H and Its Weldments
Abstract
1. Introduction
2. Materials and Methods
3. Experiments
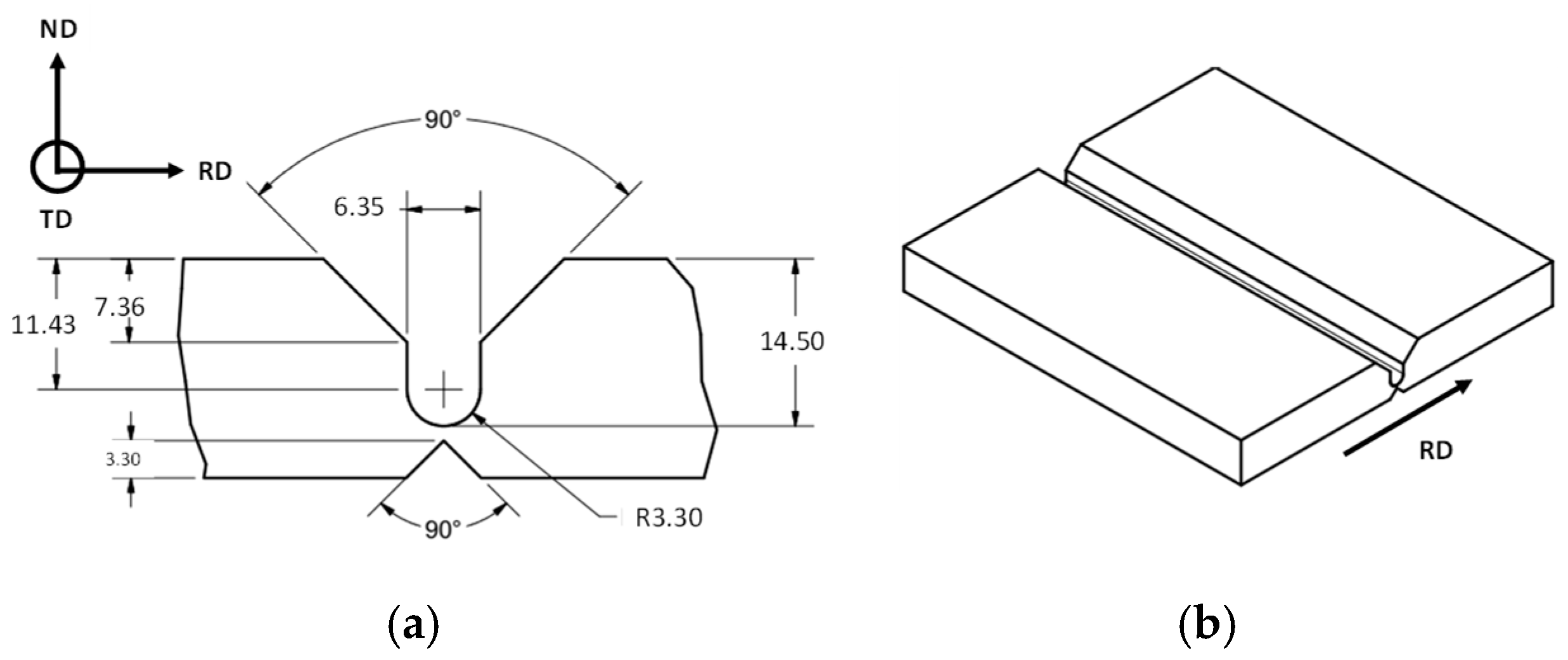
3.1. Welding Process and Specimen Fabrication
3.2. High-Temperature Tensile and Low-Cycle Fatigue Testing
3.3. Microstructure Examination
4. Results
4.1. High-Temperature Tensile Properties
4.2. Cyclic Deformation Behaviour
4.3. Low-Cycle Fatigue Lifetime
4.4. Fractography
4.5. Low-Cycle Fatigue Dislocation Substructure
5. Discussion
5.1. A Comparison of Fatigue Behaviour and Damage Mechanism Between the Incoloy 800H BM and Weldments Specimens
5.2. Deformation-Induced Precipitation Hardening Effect and Dynamic Strain Ageing
6. Conclusions
Author Contributions
Funding
Data Availability Statement
Conflicts of Interest
References
- IAEA. Climate Change and Nuclear Power 2020; IAEA (International Atomic Energy Agency): Vienna, Austria, 2020; Available online: https://www-pub.iaea.org/MTCD/Publications/PDF/PUB1911_web.pdf (accessed on 7 March 2022).
- High Temperature Gas Cooled Reactor Fuels and Materials (IAEA-TECDOC-1645). International Atomic Energy Agency: Vienna, Austria, 2010; Available online: https://www-pub.iaea.org/MTCD/Publications/PDF/tecodc1645.pdf (accessed on 7 March 2022).
- ASME Standard, an International Code: 2019 ASME Boiler and Pressure Vessel Code, Section III, Rules for Construction of Nuclear Facility Components, Division 5 High Temperature Reactors, 1 July 2019; ASME: New York, NY, USA, 2019.
- Kolluri, M.; Pierick, P.; Bakker, T. Characterization of High Temperature Tensile and Creep-Fatigue Properties of Incoloy 800H for Intermediate Heat Exchanger Components of (V)HTRs. Nucl. Eng. Des. 2015, 284, 38–49. [Google Scholar] [CrossRef]
- Dewa, R.T.; Kim, S.-J.; Kim, W.-G.; Kim, E.-S. Uniaxial Low-Cycle Fatigue Study of Incoloy 800 Weldments at 700 °C. Metals 2018, 8, 918. [Google Scholar] [CrossRef]
- Tawancy, H.M.; Klarstrom, D.L.; Rothman, M.F. Development of a New Nickel-Base Superalloy. JOM 1984, 36, 58–62. [Google Scholar] [CrossRef]
- HAYNES® 230® Alloy—Haynes International. Available online: https://haynesintl.com/datasheet/haynes-230-alloy (accessed on 24 July 2024).
- Li, W.; Xiao, L.; Walters, L.; Dong, Q.; Ienzi, M.; Sloan, R. High Temperature Creep and Microstructure Evolution of Alloy 800H Weldments with Inconel 625 and Haynes 230 Filler Materials. Appl. Sci. 2024, 14, 1347. [Google Scholar] [CrossRef]
- Kim, S.J.; Dewa, R.T.; Kim, W.G.; Kim, M.H. Cyclic Stress Response and Fracture Behaviors of Alloy 617 Base Metal and Weld Joints under LCF Loading. Adv. Mater. Sci. Eng. 2015, 2015, 207497. [Google Scholar] [CrossRef]
- Wright, J.K.; Carroll, L.J.; Cabet, C.; Lillo, T.M.; Benz, J.K.; Simpson, J.A.; Lloyd, W.R.; Chapman, J.A.; Wright, R.N. Characterization of Elevated Temperature Properties of Heat Exchanger and Steam Generator Alloys. Nucl. Eng. Des. 2012, 251, 252–260. [Google Scholar] [CrossRef]
- Coffin, L.F.; Travernelli, J.F. The Cyclic Straining and Fatigue of Metals. Trans.-TMS AIME 1959, 215, 794–806. [Google Scholar]
- Skelton, R.P.; Gandy, D. Creep-Fatigue Damage Accumulation and Interaction Diagram Based on Metallographic Interpretation of Mechanisms. Mater. High Temp. 2008, 25, 27–54. [Google Scholar] [CrossRef]
- Nilsson, J.O.; Sandström, R. Influence of Temperature and microstructure on creep-fatigue of Incoloy 800H. High Temp. Technol. 1988, 6, 181–186. [Google Scholar] [CrossRef]
- Hornbogen, E.; Zum Gahr, K.-H. Microstructure and Fatigue Crack Growth in a γ′-Fe-Ni-Al alloy. Acta Metall. 1976, 24, 581–592. [Google Scholar] [CrossRef]
- Armas, A.F.; Bettin, O.R.; Alvarez-Armas, I.; Rubiolo, G.H. Strain Aging Effects on the Cyclic Behavior of Austenitic Stainless Steels. J. Nucl. Mater. 1988, 155–157, 646–649. [Google Scholar] [CrossRef]
- Bagherpour, E.; Reihanian, M.; Ebrahimi, R.; Qods, F.; Miyamoto, H. Role of Strain Reversal in Microstructure and Texture of Pure Al during Non-Monotonic Simple Shearing Straining. Crystals 2020, 10, 926. [Google Scholar] [CrossRef]
- Prasad Reddy, G.V.; Sandhya, R.; Sankaran, S.; Mathew, M.D. Low Cycle Fatigue Behavior of 316LN Stainless Steel Alloyed with Varying Nitrogen Content. Part I: Cyclic Deformation Behavior. Metall. Mater. Trans. A 2014, 45, 5044–5056. [Google Scholar] [CrossRef]
- Prasad Reddy, G.V.; Sandhya, R.; Sankaran, S.; Mathew, M.D. Cycle Fatigue Behavior of 316LN Stainless Steel Alloyed with Varying Nitrogen Content. Part II: Fatigue Life and Fracture Behavior. Metall. Mater. Trans. A 2014, 45, 5057–5067. [Google Scholar] [CrossRef]
- Dejaeger, J.; Guns, L.; Korkhaus, J. Experiences with Incoloy 800H in Ammonia Plants, Technical Manual. Ammon. Plant Saf. Relat. Facil. 1995, 35, 134–144. [Google Scholar]
- Spiradek, K.; Degischer, H.P.; Lahodny, H. Correlation between Microstructure and the Creep Behaviour at High Temperature of Incoloy 800H. In Proceedings of the CONF-8806156: IAEA Specialists Meeting on High-temperature Metallic Materials for Gas-cooled Reactors, Cracow, Poland, 20–23 June 1988; Available online: https://inis.iaea.org/collection/NCLCollectionStore/_Public/21/068/21068264.pdf?r=1&r=1 (accessed on 24 July 2024).
- Rao, K.B.S. Influence of Metallurgical Variables on Low Cycle Fatigue Behaviour of Type 304 Stainless Steel. Doctoral Thesis, University of Madras, Madras, India, 1989. [Google Scholar]
- Rao, K.B.S.; Schuster, H.; Halford, G.R. On Massive Carbide Precipitation During High Temperature Low Cycle Fatigue in Incoloy 800H. Scr. Metall. Mater. 1994, 31, 381–386. [Google Scholar] [CrossRef]


















| Elements | Fe | Ni | Cr | Mo | Co | Mn | Al | Ti | Al + Ti | Cu | Si | S | C |
|---|---|---|---|---|---|---|---|---|---|---|---|---|---|
| Alloy 800H | 45.6 | 30.3 | 20.6 | 0.7 | 0.05 | 0.7 | 0.49 | 0.52 | 1.01 | 0.09 | 0.4 | <0.002 | 0.08 |
| Elements | Fe | Ni | Cr | Mo | Nb | Co | Mn | C | Al | Ti | Others |
|---|---|---|---|---|---|---|---|---|---|---|---|
| Haynes 230 | <3.0 | 57 | 22 | 2 | <0.5 | <5 | 0.5 | 0.1 | 0.3 | <0.1 | 14 W, 0.015 B, 0.02 La |
| Inconel 82 | 0.11 | 72.15 | 20.90 | / | 2.88 | 0.02 | 3.34 | 0.02 | / | 0.42 | 0.03Si, 0.03Cu |
| Materials | Coffin–Manson Equation | Fatigue Ductility (εf’) | Fatigue Ductility Exponent, c |
|---|---|---|---|
| Incoloy 800H BM | 2.14 | −1.01 | |
| Weldment with Haynes 230 filler metal | 0.26 | −0.79 | |
| Weldment with Inconel 82 filler metal | 2.40 | −1.07 |
Disclaimer/Publisher’s Note: The statements, opinions and data contained in all publications are solely those of the individual author(s) and contributor(s) and not of MDPI and/or the editor(s). MDPI and/or the editor(s) disclaim responsibility for any injury to people or property resulting from any ideas, methods, instructions or products referred to in the content. |
© 2024 by the authors. Licensee MDPI, Basel, Switzerland. This article is an open access article distributed under the terms and conditions of the Creative Commons Attribution (CC BY) license (https://creativecommons.org/licenses/by/4.0/).
Share and Cite
Li, W.; Xiao, L.; Walters, L.; Kasprick, G.; Sloan, R. A Comparison Study of High-Temperature Low-Cycle Fatigue Behaviour and Deformation Mechanisms Between Incoloy 800H and Its Weldments. J. Nucl. Eng. 2024, 5, 545-562. https://doi.org/10.3390/jne5040034
Li W, Xiao L, Walters L, Kasprick G, Sloan R. A Comparison Study of High-Temperature Low-Cycle Fatigue Behaviour and Deformation Mechanisms Between Incoloy 800H and Its Weldments. Journal of Nuclear Engineering. 2024; 5(4):545-562. https://doi.org/10.3390/jne5040034
Chicago/Turabian StyleLi, Wenjing, Lin Xiao, Lori Walters, Greg Kasprick, and Robyn Sloan. 2024. "A Comparison Study of High-Temperature Low-Cycle Fatigue Behaviour and Deformation Mechanisms Between Incoloy 800H and Its Weldments" Journal of Nuclear Engineering 5, no. 4: 545-562. https://doi.org/10.3390/jne5040034
APA StyleLi, W., Xiao, L., Walters, L., Kasprick, G., & Sloan, R. (2024). A Comparison Study of High-Temperature Low-Cycle Fatigue Behaviour and Deformation Mechanisms Between Incoloy 800H and Its Weldments. Journal of Nuclear Engineering, 5(4), 545-562. https://doi.org/10.3390/jne5040034

