Next Article in Journal
Robust-Adaptive Controllers Designed for Grid-Forming Converters Ensuring Various Low-Inertia Microgrid Conditions
Next Article in Special Issue
A Comparative Analysis of Multi-Label Deep Learning Classifiers for Real-Time Vehicle Detection to Support Intelligent Transportation Systems
Previous Article in Journal
Adaptive Smart eHealth Framework for Personalized Asthma Attack Prediction and Safe Route Recommendation
Previous Article in Special Issue
Converged Security and Information Management System as a Tool for Smart City Infrastructure Resilience Assessment
 
 
Font Type:
Arial Georgia Verdana
Font Size:
Aa Aa Aa
Line Spacing:
Column Width:
Background:
Article

Should Smart Cities Introduce a New Form of Public Transport Vehicles?

Faculty of Civil Engineering, Wrocław University of Science and Technology (Politechnika Wrocławska), Wybrzeze Wyspianskiego 27, 50-370 Wrocław, Poland
Smart Cities 2023, 6(5), 2932-2943; https://doi.org/10.3390/smartcities6050131
Submission received: 12 September 2023 / Revised: 8 October 2023 / Accepted: 16 October 2023 / Published: 20 October 2023
(This article belongs to the Special Issue Multidisciplinary Research on Smart Cities)

Abstract

:
This study shows the concept of an innovative road and rail vehicle as a new form of public transport. Our literature review shows that the idea of a “smart city” contains not only new tools but also vehicles or infrastructure. The new vehicle is proposed based on the observed development of urban public transport means and other novel solutions. A slight innovation proposed here could allow the use of typical and operated tram routes for modified buses. A new type of vehicle could use both the existing tram routes and newly constructed sections with no tracks. It is assumed that new vehicles would drive with trams on the same, shared tracks. All of the conditions should reduce the costs of developing public transport networks in many cities where tram networks already exist. This paper contains a description of the idea and a potential case study location. The implementation conditions are outlined in the Discussion section. The title’s question is also considered there: “Should smart cities introduce a new form of public transport vehicles?” In addition, the potential benefits as well as threats are presented. Conclusions define the next steps for the research. So, this paper is an introduction to the wider research. It will popularize the idea of a new vehicle and could motivate the industry to construct a prototype. At this stage, no models or detailed calculations were conducted.

1. Introduction

Public transport in cities and agglomerations is based on various means of transport, the forms and roles of which in the system change over time [1,2,3,4,5]. Numerous innovations of “traditional” means of transport (tram, trolleybus, and bus) are being introduced, including hybrid vehicles with various forms of traction, propulsion, or infrastructure. The dimensions of such vehicles are diversified with a preference for long vehicles for the main routes in the transport network.
Electric buses became very popular as part of the “electromobility” campaign [6,7,8,9,10]. The use of gas [11] or biofuels [12] in the form of low-emission drives has developed, too. Numerous studies concern autonomous vehicles [13,14,15,16,17,18,19,20]. All of the above innovations lead to the development of new vehicles (possibly engines), but the industry is good at efficient implementations. One of the reasons for the rapid introduction of the above innovations is the lack of the need to implement specific transport infrastructure (e.g., new roads). Thus, other innovative means of transport that require deeper interference with the infrastructure create greater challenges in their implementation and temporarily remain in the sphere of proposals [21,22]. On the other hand, means of transport known and used for decades are still being improved including “bigger ones” like BRT [23] or light rail [24] and “smaller ones” like shared bikes [25] or scooters [26]. Anyway, the role of shared vehicles is growing up [27].
From the point of view of the proposal formulated here, the concepts of modified trams are interesting [28,29]. An important trend is also the development of shared mobility [30], mobility on demand [31], and “ride-sourcing services” [32]. These are different solutions, but all can help to promote sustainable forms of travel. When introducing new solutions, the concepts that are most effective and fit into the current situation should be selected. In simplified terms, it is possible to adopt the postulate of the greatest possible use of the existing resources and the economical implementation of modifications. The goal of this research is to introduce the discussion about the possibility of constructing and using a new public transport vehicle in the context of the “Smart City” idea. The examples presented above show the stable trends of innovations, but the new solutions should be introduced carefully. Observation of similar solutions and evaluation of their introduction’s effectiveness will show the key aspects of the new mean. The basic research question is a search for the methodology to evaluate the effectiveness of the new, unconventional transport mean. The components of the new assessment method were outlined on the simple example, but the method should be developed, especially with the tests on the prototype.
This paper consists of six sections. Following an introduction characterizing the background of potential, implemented, and studied innovations, Section 2 describes the literature background in the context of new vehicles in the smart city. Section 3 shows similar innovations in public transport vehicles concentrating on unconventional trams and longer buses (including those using tram tracks). Section 4 is dedicated to the proposed innovation and contains the vehicle description (Section 4.1) and the considered implementation location (Section 4.2). A short introduction to the construction of the evaluation method is presented in Section 4.3. In Section 5, the implementation conditions were discussed, describing the potential benefits as well as threats. This section also contains an invitation for the discussion about a place for a new public transport vehicle in a smart city. The article is summarized in Section 6. It also defines the next steps for the research.

2. Literature Background in the Context of New Vehicles in the Smart City

The “smart city” is understood firstly as a technology-progressive structure that manages more effectively different elements of urban activities using new tools and technologies. Still, this idea has more connections with other disciplines and aspects of our lives [33,34]. Especially in aspects of transport and mobility, a “smart development” contains not only new tools to collect and manage the data but also vehicles, infrastructure, traffic management, etc. [35]. Human factors including perception and the comprehension of tools and decisions from a “smart city” perspective should also be considered: for example, a good idea like a “15-min city” should be understood and accepted [36]. Allam wrote in [37] about the problem between smart and safe cities (anti-privacy issue). The smarter infrastructure could be achieved using digitalization [38]. The role of travel in a virtual form of smart cities (Metaverse) was also highlighted [39].
The connections between smart city ideas and the methods, tools, and applications of this have been studied for years. Allan and Newman reported in [33] hundreds of publications dedicated to smart city problematics between 2004 and 2015. Different problems from broad disciplines are cited, for example, in [34]. In this paper, the problem of constructing smart cities from the aspect of infrastructure and human understanding was considered (inter alia). There are some similarities and also differences in the introduction and development of aspects of smart cities. Iqbal shows a survey of enabling technologies for smart communities—“Super Smart Society” = Society 5.0 in Japan [40]. A cross-reading approach to smart cities (a European perspective of Chinese findings) was presented in [41]. An interesting case study of the implementation of new ideas in smart city programs for a small and isolated country (Mauritius) is presented in [42]. The worthwhile findings came from the publication of Rehm et al. [43] where local innovations are important for developing the smart city idea.
Tools and methods used by the introduction of smart city ideas contain elements of congestion reduction [44] which helps improve the environment and mobility. The 15-Minute City (FMC) idea shows the importance of rapid and effective public transport systems (and corridors) to allow accessibility in greater areas and for greater populations [35,36]. But the concept of short trips is not always possible, especially in a specific destination (for example university, hospital, opera). Less conventional solutions, like shared mobility composed of public transport means, are important in rural areas, too [45].
The conventional method to plan public transport (network and service) allows one to make an offer according to modeled demand, but the alternative way creates an offer on a higher level to induce a wish to travel using public transport means [46]. It is important to increase passenger satisfaction. In such a context, the new transport solutions could invite people to leave their cars and use alternate forms.

3. Description of Similar Innovations in Public Transport Vehicles

The paper presents the concept of a new road–rail vehicle, which was created after reviewing the latest solutions and trends. One of them is the use of long buses that are four-axle, three-section, and bi-articulated. In 2013, the “Mettis” system based on semi-electric buses (with a hybrid engine) was launched in Metz (France). The length of the vehicle is 23.8 m, manufacturer: Van Hool, Belgium. One of the first long buses was Volvo’s “Phileas” vehicles (first in Eindhoven in the Netherlands, then in South Korea, Turkey, and Israel). Many leading bus manufacturers offer similarly large units (Mercedes, Scania, etc.).
Fully electric vehicles are another trend in the production of buses. For example, the articulated Volvo 7900 Electric is available in two lengths: 18 and 18.7 m. In the first case, it can accommodate 150 passengers (Figure 1). It is powered by two 200 kW electric motors produced by Volvo. Batteries with a capacity of almost 400 kWh were installed in it. Depending on the customer’s needs, the Swedish manufacturer may enable charging both via fast charging stations on the route (OppCharge) and via stationary chargers [47].
There are unconventional versions of trams (“rubber-tired tram”). A rubber-tired tram (also known as a tire tram) is a means of transport in which the vehicle is driven on a fixed rail in the road surface and draws electricity from overhead electrical wires (via a pantograph or trolleybus poles) [48]. Rubber tires are used to support the vehicle, and a single rail and metal wheels are used to guide the vehicle (also at switches). They are popular, especially in France, where they are called “tramway sur pneus” (one is the Translohr system developed by Lohr Industrie of France and currently owned by the Alstom Transport consortium with Fonds Stratégique d’Investissement as “newTL”; second is GLT = Guided Light Transit branded by Bombardier). In the case of Translohr, the rail is gripped by a pair of metal guide wheels positioned at 45° to the road and 90° to each other. In the GLT system, a single double-flange wheel placed between rubber tires follows the guide rail. Power is usually supplied by overhead lines, and batteries or internal combustion engines are used in places where there are no overhead lines.
The Translohr system is an autonomous vehicle, while the Bombardier system allows for independent driving. Therefore, Bombardier vehicles are considered buses. Translohr vehicles, however, operate like standard trams. The GLT system can be steered along a virtual track by the driver using a conventional steering wheel. The unconventional versions of trams are used in the neighborhood of Paris and Clermont-Ferrand (France), Medellín (Colombia), Tianjin and Shanghai (China), Venice-Mestre and Padua (Italy). Figure 2 shows the current status of tram routes in the Paris area. The map shows the year of opening a given section and the number of the line. The sections marked with a dashed line are under construction or are planned. The lines T5 and T6 function as described above. Figure 3 shows the T6 rubber-wheeled (Translohr) tram in Chatillon.
There is a question about providing power when resigning from the traction network (this is especially justified in the central, historic parts of cities). In Bordeaux, the tram in the city center does not use the overhead network. It is powered by the “ground” system (activated when the tram passes). This is an Alstom solution called APS. The same is true for Nice, Orléans, Reims, and Tours (France). On the other hand, in Zaragoza (Spain), part of the tram route without the overhead contact line is powered by batteries.
Castello (Spain) has the only trolleybus traction in this country (produced by Solaris). In the downtown section, it does not use the traction network (similar to the trams in Zaragoza). Trolleybuses can also be included in the group of “long vehicles”. For example, Limoges (France) uses 18.7 m long trolleybuses of Swiss production (Hess) called Swiss Trolley 4. Even longer trolleybuses called Light Tram are popular in Switzerland (Geneva, Lucerne, Zurich, St. Gallen).

4. Innovative Vehicle and Its Potential Use

4.1. Description of an Vehicle

The proposed vehicle has the working name “AtTraction” (AT). AT gives various connotations (“attractive”, “at-traction”). It would be a rubber-wheeled, electrically powered vehicle with the ability to draw electricity from the overhead network or use batteries. The novelty consists in enabling the consumption of energy from the traction typical for trams (single-cable), which requires the development of a method of transmitting current to the tram rail. It is not an unknown solution. For example, in the 1930s, trolleybuses in Poznań (Poland) used the tram network while moving around the common tram and trolleybus depot. The connection to the track as a return rail was made with a special shackle.
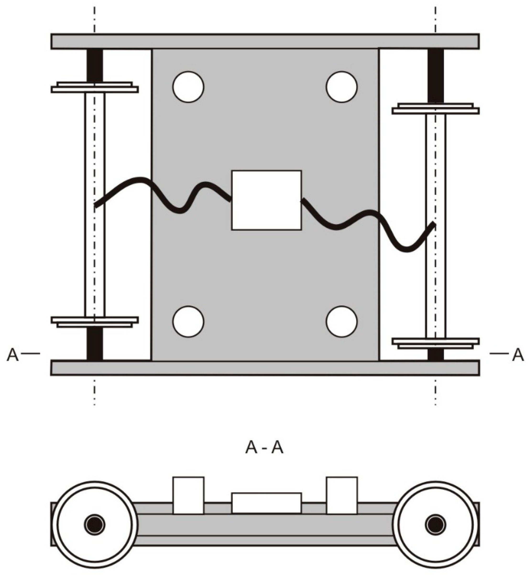
The concept of consumption and transmission of energy by the AT vehicle is shown in Figure 4 and Figure 5. Figure 4 shows the location of the drive unit (green rectangle). It is assumed to be an electric motor, but it could also be a hybrid unit. In the lower part of Figure 4, a specific trolley that allows “connection” to the track and a pantograph in the upper part of the AT vehicle have been added. In the condition shown here, the trolley is raised and the pantograph is lowered. The AT vehicle does not run on the track and does not draw electricity from the overhead network.
After entering the track (Figure 5), the trolley is lowered and the pantograph is raised. The electric circuit will close and the AT vehicle is driven using the current from the overhead network. The lower part of Figure 5 shows the direction of current flow assuming a positive voltage in the overhead network. It is also possible to change the poles to negative in the overhead network, which occurs in some locations.
The key element of the proposed solution is the trolley as a tool to allow electricity flow between traction and the tram track. Figure 4 and Figure 5 show the location of the trolley in the second joint of the vehicle. In this proposal, the construction of the trolley could be shaped as presented initially in Figure 6. This proposal allows using the tram track with a different track gauge. However, other solutions with different locations and shapes of trolleys are considered. This requires further steps of the research with the construction of a prototype and evaluation of it.
It has been proposed to use 18 m long vehicles (classic single-articulated vehicles as shown in Figure 4 and Figure 5). It is also possible to use the new idea in longer vehicles (24–25 m, three joints, four axles). Modification of the available vehicles in relation to the formulated requirements seems to be simple and able to be performed in a short time.
The main advantage of the proposed solution is the possibility of implementation in cities with extensive tram networks without any changes to the existing power supply systems. Network expansion in such cities can be realized in the form of AT as an ad hoc or target solution. The continuation of the AT line on a tram track can take place along an ordinary middle-class street on the basis of a bus.

4.2. Proposed Location of Case Study

The option of introducing AT vehicles and lines in Wrocław (Poland) is proposed here. Wrocław (the core of agglomeration) is the third largest city in Poland and has about 675 thousand citizens, including about 636 thousand people aged more than 6 years.
The introduction of AT is proposed here for selected routes of the potential extension of the tram network with a further implementation horizon. Figure 7 shows the most densely populated areas (brown and red areas) relative to sparsely populated areas (cream areas) and also the existing tram network (white lines). The sections currently under construction are marked with a dashed line. Densely populated areas without tramway routes should be the place of prime investigation. This applies to the northeastern part of the city and its southern outskirts especially.
It is proposed to create an AT route connecting these areas. A specific condition for the consideration of AT routing in the proposed places is the fact that the potential route intersects with railway lines and overcomes river obstacles. The need to build numerous engineering facilities affects the ability to build tram routes. Will the AT route be able to contribute to faster implementation of the proposed connections?
The AT routes (green) and the possible stages of implementation and further expansion of the system are shown in Figure 8 in a multi-variant approach. Tram routes (existing and under construction) are marked in red here. The tram development corridors provided for in the municipal mobility policy and the development study (yellow lines) are also shown. Triangles indicate interchange nodes.
The basic AT route option is highlighted with a solid line. In this route, the highest share of sections with the tram tracks is assumed. Alternate waveforms have fewer such sections. Rather, they do not fully fit the idea of the proposed solution but should be considered in the context of comparing costs and benefits.
Figure 8 also shows the considered depots for AT vehicles. Place z1 is located within the existing tram depot as a temporary facility. The z2 location is a new area that takes into account the development of public transport in the northeastern part of the city. This could be the target and basic base for AT vehicles, and there is also the option of using it as a tram depot.
The next element in Figure 8 is the bright green dashed lines that show the additional possibilities of implementing the AT system in the western part of the city. It has not been studied in more detail so far, but it shows the potential attractiveness of the proposed solutions in other parts of the agglomeration.

4.3. Evaluation of the Benefits and Costs

The main benefit of the presented idea is the creation of the possibility of a temporary or permanent resignation of enlargement of the existing tram network. AT vehicles can use the existing tram routes and continue using them with no need to use the tram tracks. So, the construction of a tram track on the selected route extensions is not necessary. Tram tracks are slightly costly investments. Exemplary costs of the new tram routes from five Polish cities are presented in Table 1 (transformed to Euros). Important components of the presented investments are also described in Table 1. In summary, the construction of 1 km of tram track costs approximately 10 million Euro in Polish conditions. So, the potential resignation from realizing the routes presented in the case study (Figure 8) gives savings of 150 mln. Euro in the first stage and another 120 mln. Euro in the second stage.
The costs of the proposed solution do not look high. It is proposed to use an existing electric bus (especially in the prototype) with the addition of the pantograph and the trolley. The mass production of future AT vehicles should not be more expensive than today’s constructed electric buses. In fact, the lack of the extension of tram networks allows resignation from the new trams. The new AT vehicles will be needed instead of the trams, but the costs of acquisition should be much lower.

5. Discussion

The implementation of the AT route (including sections of various types) will be more expensive than the dedicated bus route but cheaper than the tram route. It is important to be able to use and adapt existing sections. It should also be taken into account that the extension of the existing tram tracks may encounter specific barriers: steep driveways, crossings with railway tracks, and a lack of land reserve.
“Freeing” yourself from the track has significant operational advantages. In emergency situations or during repairs or modernization, it will be easy to change the route. The use of the tram catenary and autonomous batteries saves energy and minimizes the costs associated with the construction of a power station.
Flexibility in introducing AT is also important. It can be either a target solution or a temporary solution. In a given agglomeration, routes to both of the above stages of operation can be selected. The presented concept creates connections similar to “Transit Activated Corridors” studied in [51]. Shared use of the track by “conventional” trams and new AT vehicles increases the quality of public transport due to the enlargement of the number of courses and destinations. Different means and lines use one integrated route, so the accessibility of public transport is higher.
The title’s question (Should smart cities introduce a new form of public transport vehicles?) has no simple answer. Certainly, as was pointed out in Section 2 ([33,34,35,36]), the idea of a “smart city” includes a search for new vehicles creating additional elements in the public transport system. Enhanced systems as an alternative to over-using cars will be friendly for sustainable transformation and help with “smart decisions” in personal and total mobility. The cities develop and test new ways to improve mobility and transportation systems and search for an optimal solution. The basic decision problem is to use a conventional means or experiment with something new. The introduction of a new form makes risk connected with no experiences. The evaluation and choice of the option are difficult for the same reasons. One obvious aspect shows that small innovations have a bigger chance for success because of smaller costs and risks. So, the proposed AT vehicle with a precise testing area deserves attention and could be considered. Smart cities should develop not only management or communication but also be brave with “harder” innovation with infrastructure and vehicles. Public transport means, as a key element to introducing sustainable mobility and development, need new concepts and implementation.

6. Conclusions

The proposed solution is innovative but embedded in current trends and based on existing technologies. The use of the AT vehicle seems to be attractive in cities with extensive and expanding tram networks. The new means will not replace existing forms (especially trams) but supplement it, creating a better offer in the public transport system. However, it is necessary to compare various development options, taking into account, inter alia, the classic tram, classic trolleybus, electric bus (BRT), etc. The indication of the most advantageous option in a given time horizon is possible. It is recommended to perform a Cost–Benefit Analysis (CBA) or a Feasibility Study (FS). It is worth considering cooperation with leading rolling stock manufacturers by inviting them to develop a prototype for an experimental AT vehicle.
Thus, we propose the next research steps:
-
Solution of the system of supplying power from the traction to the track;
-
Development of the AT vehicle model;
-
A case study for a selected route in a selected agglomeration;
-
Selection of a variant, execution of route designs;
-
Obtaining financing for implementation;
-
Implementation and evaluation of implemented solutions;
-
Implementation concepts in other locations.
The city selected in this paper could be a representative example of potential implementation of the new vehicle but it is not only one possible “case study” area. Many cities, not only in Europe, have similar conditions (existing and developed tram networks, questions about directions and tempo of development), so they are appropriate for experiments with innovative solutions, particularly when they will realize concepts from “smart cities” ideas.

Funding

This research received no external funding.

Institutional Review Board Statement

Not applicable.

Informed Consent Statement

Not applicable.

Data Availability Statement

Not applicable.

Conflicts of Interest

The author declares no conflict of interest.

References

  1. Mitchell, D.; Claris, S.; Edge, D. Human-centered mobility: A new approach to designing and improving our urban transport infrastructure. Engineering 2016, 2, 33–36. [Google Scholar] [CrossRef]
  2. Paiva, S.; Ahad, M.A.; Tripathi, G.; Feroz, N.; Casalino, G. Enabling technologies for urban smart mobility: Recent trends, opportunities and challenges. Sensors 2021, 21, 2143. [Google Scholar] [CrossRef] [PubMed]
  3. Marques, D.L.; Coelho, M.C. A Literature Review of Emerging Research Needs for Micromobility—Integration through a Life Cycle Thinking Approach. Future Transp. 2022, 2, 135–164. [Google Scholar] [CrossRef]
  4. Bulteau, J.; Feuillet, T.; Le Boennec, R. Spatial Heterogeneity of Sustainable Transportation Offer Values: A Comparative Analysis of Nantes Urban and Periurban/Rural Areas (France). Urban Sci. 2018, 2, 14. [Google Scholar] [CrossRef]
  5. Hipogrosso, S.; Nesmachnow, S. Analysis of Sustainable Public Transportation and Mobility Recommendations for Montevideo and Parque Rodó Neighborhood. Smart Cities 2020, 3, 479–510. [Google Scholar] [CrossRef]
  6. Jacyna, M.; Żochowska, R.; Sobota, A.; Wasiak, M. Scenario Analyses of Exhaust Emissions Reduction through the Introduction of Electric Vehicles into the City. Energies 2021, 14, 2030. [Google Scholar] [CrossRef]
  7. Guzik, R.; Kołoś, A.; Taczanowski, J.; Fiedeń, Ł.; Gwosdz, K.; Hetmańczyk, K.; Łodziński, J. The Second Generation Electromobility in Polish Urban Public Transport: The Factors and Mechanisms of Spatial Development. Energies 2021, 14, 7751. [Google Scholar] [CrossRef]
  8. Ortega, A.; Gkoumas, K.; Tsakalidis, A.; Pekár, F. Low-Emission Alternative Energy for Transport in the EU: State of Play of Research and Innovation. Energies 2021, 14, 7764. [Google Scholar] [CrossRef]
  9. Ogunkunbi, G.A.; Al-Zibaree, H.K.Y.; Meszaros, F. Evidence-Based Market Overview of Incentives and Disincentives in Electric Mobility as a Key to the Sustainable Future. Future Transp. 2021, 1, 290–302. [Google Scholar] [CrossRef]
  10. Goli, P.; Jasthi, K.; Gampa, S.R.; Das, D.; Shireen, W.; Siano, P.; Guerrero, J.M. Electric Vehicle Charging Load Allocation at Residential Locations Utilizing the Energy Savings Gained by Optimal Network Reconductoring. Smart Cities 2022, 5, 177–205. [Google Scholar] [CrossRef]
  11. Dyr, T.; Misiurski, P.; Ziółkowska, K. Costs and benefits of using buses fuelled by natural gas in public transport. J. Clean. Prod. 2019, 225, 1134–1146. [Google Scholar] [CrossRef]
  12. Moriarty, P.; Yan, X.; Wang, S.J. Liquid biofuels: Not a long-term transport solution. Energy Procedia 2019, 158, 3265–3270. [Google Scholar] [CrossRef]
  13. Soteropoulos, A.; Pfaffenbichler, P.; Berger, M.; Emberger, G.; Stickler, A.; Dangschat, J.S. Scenarios of Automated Mobility in Austria: Implications for Future Transport Policy. Future Transp. 2021, 1, 747–764. [Google Scholar] [CrossRef]
  14. Walters, J.G.; Marsh, S.; Rodrigues, L. A Rural Transport Implementation Index for Connected, Autonomous and Electric Vehicles. Future Transp. 2022, 2, 753–773. [Google Scholar] [CrossRef]
  15. Montes, H.; Salinas, C.; Fernández, R.; Armada, M. An Experimental Platform for Autonomous Bus Development. Appl. Sci. 2017, 7, 1131. [Google Scholar] [CrossRef]
  16. Yu, L.; Kong, D.; Yan, X. A driving behavior planning and trajectory generation method for autonomous electric bus. Future Internet 2018, 10, 51. [Google Scholar] [CrossRef]
  17. Zhang, W.; Jenelius, E.; Badia, H. Efficiency of semi-autonomous and fully autonomous bus services in trunk-and-branches networks. J. Adv. Transp. 2019, 2019, 7648735. [Google Scholar] [CrossRef]
  18. Nguyen, T.; Xie, M.; Liu, X.; Arunachalam, N.; Rau, A.; Lechner, B.; Busch, F.; Wong, Y.D. Platooning of Autonomous Public Transport Vehicles: The Influence of Ride Comfort on Travel Delay. Sustainability 2019, 11, 5237. [Google Scholar] [CrossRef]
  19. Ahmed, H.U.; Huang, Y.; Lu, P.; Bridgelall, R. Technology Developments and Impacts of Connected and Autonomous Vehicles: An Overview. Smart Cities 2022, 5, 382–404. [Google Scholar] [CrossRef]
  20. Hao, M.; Li, Y.; Yamamoto, T. Public Preferences and Willingness to Pay for Shared Autonomous Vehicles Services in Nagoya, Japan. Smart Cities 2019, 2, 230–244. [Google Scholar] [CrossRef]
  21. Le-Anh, T.; De Koster, M.B.M. A review of design and control of automated guided vehicle systems. Eur. J. Oper. Res. 2006, 171, 1–23. [Google Scholar] [CrossRef]
  22. Fernández, C.; Domínguez, R.; Fernández-Llorca, D.; Alonso, J.; Sotelo, M.A. Autonomous navigation and obstacle avoidance of a micro-bus. Int. J. Adv. Robot. Syst. 2013, 10, 212. [Google Scholar] [CrossRef]
  23. Hidalgo, D.; Muñoz, J.C. A review of technological improvements in bus rapid transit (BRT) and buses with high level of service (BHLS). Public Transp. 2014, 6, 185–213. [Google Scholar] [CrossRef]
  24. Kołoś, A.; Taczanowski, J. The feasibility of introducing light rail systems in medium-sized towns in Central Europe. J. Transp. Geogr. 2016, 54, 400–413. [Google Scholar] [CrossRef]
  25. Narayanan, S.; Makarov, N.; Magkos, E.; Salanova Grau, J.M.; Aifadopoulou, G.; Antoniou, C. Can Bike-Sharing Reduce Car Use in Alexandroupolis? An Exploration through the Comparison of Discrete Choice and Machine Learning Models. Smart Cities 2023, 6, 1239–1253. [Google Scholar] [CrossRef]
  26. Kubik, A. Impact of the Use of Electric Scooters from Shared Mobility Systems on the Users. Smart Cities 2022, 5, 1079–1091. [Google Scholar] [CrossRef]
  27. Bakibillah, A.S.M.; Paw, Y.F.; Kamal, M.A.S.; Susilawati, S.; Tan, C.P. An Incentive Based Dynamic Ride-Sharing System for Smart Cities. Smart Cities 2021, 4, 532–547. [Google Scholar] [CrossRef]
  28. Bruno, D.M.; Musante, G.; Dacarro, F. Smart Trams: A Design Proposal for a City of Interrelation. Sustainability 2022, 14, 11471. [Google Scholar] [CrossRef]
  29. Newman, P.; Hargroves, K.; Davies-Slate, S.; Conley, D.; Verschuer, M.; Mouritz, M.; Yangka, D. The Trackless Tram: Is it the Transit and City Shaping Catalyst we have been waiting for? J. Transp. Technol. 2019, 9, 31–55. [Google Scholar] [CrossRef]
  30. Mouratidis, K. Bike-sharing, car-sharing, e-scooters, and Uber: Who are the shared mobility users and where do they live? Sustain. Cities Soc. 2022, 86, 104161. [Google Scholar] [CrossRef]
  31. Romano Alho, A.; Sakai, T.; Oh, S.; Cheng, C.; Seshadri, R.; Chong, W.H.; Hara, Y.; Caravias, J.; Cheah, L.; Ben-Akiva, M. A Simulation-Based Evaluation of a Cargo-Hitching Service for E-Commerce Using Mobility-on-Demand Vehicles. Future Transp. 2021, 1, 639–656. [Google Scholar] [CrossRef]
  32. Khavarian-Garmsir, A.R.; Sharifi, A.; Hajian Hossein Abadi, M. The Social, Economic, and Environmental Impacts of Ridesourcing Services: A Literature Review. Future Transp. 2021, 1, 268–289. [Google Scholar] [CrossRef]
  33. Allam, Z.; Newman, P. Redefining the Smart City: Culture, Metabolism and Governance. Smart Cities 2018, 1, 4–25. [Google Scholar] [CrossRef]
  34. Xu, H.; Geng, X. People-Centric Service Intelligence for Smart Cities. Smart Cities 2019, 2, 135–152. [Google Scholar] [CrossRef]
  35. Moreno, C.; Allam, Z.; Chabaud, D.; Gall, C.; Pratlong, F. Introducing the “15-Minute City”: Sustainability, Resilience and Place Identity in Future Post-Pandemic Cities. Smart Cities 2021, 4, 93–111. [Google Scholar] [CrossRef]
  36. Ferrer-Ortiz, C.; Marquet, O.; Mojica, L.; Vich, G. Barcelona under the 15-Minute City Lens: Mapping the Accessibility and Proximity Potential Based on Pedestrian Travel Times. Smart Cities 2022, 5, 146–161. [Google Scholar] [CrossRef]
  37. Allam, Z. The Emergence of Anti-Privacy and Control at the Nexus between the Concepts of Safe City and Smart City. Smart Cities 2019, 2, 96–105. [Google Scholar] [CrossRef]
  38. Serrano, W. Digital Systems in Smart City and Infrastructure: Digital as a Service. Smart Cities 2018, 1, 134–154. [Google Scholar] [CrossRef]
  39. Allam, Z.; Sharifi, A.; Bibri, S.E.; Jones, D.S.; Krogstie, J. The Metaverse as a Virtual Form of Smart Cities: Opportunities and Challenges for Environmental, Economic, and Social Sustainability in Urban Futures. Smart Cities 2022, 5, 771–801. [Google Scholar] [CrossRef]
  40. Iqbal, A.; Olariu, S. A Survey of Enabling Technologies for Smart Communities. Smart Cities 2021, 4, 54–77. [Google Scholar] [CrossRef]
  41. Riva Sanseverino, E.; Riva Sanseverino, R.; Anello, E. A Cross-Reading Approach to Smart City: A European Perspective of Chinese Smart Cities. Smart Cities 2018, 1, 26–52. [Google Scholar] [CrossRef]
  42. Allam, Z.; Dhunny, A.Z.; Siew, G.; Jones, D.S. Towards Smart Urban Regeneration: Findings of an Urban Footprint Survey in Port Louis, Mauritius. Smart Cities 2018, 1, 121–133. [Google Scholar] [CrossRef]
  43. Rehm, S.-V.; McLoughlin, S.; Maccani, G. Experimentation Platforms as Bridges to Urban Sustainability. Smart Cities 2021, 4, 569–587. [Google Scholar] [CrossRef]
  44. Olariu, S. Vehicular Crowdsourcing for Congestion Support in Smart Cities. Smart Cities 2021, 4, 662–685. [Google Scholar] [CrossRef]
  45. Schaefer, C.; Stelter, A.; Holl-Supra, S.; Weber, S.; Niehaves, B. The Acceptance and Use Behavior of Shared Mobility Services in a Rural Municipality. Smart Cities 2022, 5, 1229–1240. [Google Scholar] [CrossRef]
  46. Myronenko, S.; Oborskyi, H.; Dmytryshyn, D.; Shobik, V.; Lauwers, D.; Witlox, F. From Traffic Congestion to Sustainable Mobility: A Case Study of Public Transport in Odesa, Ukraine. Smart Cities 2023, 6, 1398–1415. [Google Scholar] [CrossRef]
  47. Available online: https://www.volvobuses.pl/pl-pl/our-offering/buses/volvo-7900-electric.html (accessed on 1 September 2022).
  48. Available online: https://en.wikipedia.org/wiki/Rubber-tyred_tram (accessed on 1 September 2022).
  49. Street View. Available online: https://www.google.pl/maps/ (accessed on 1 September 2022).
  50. Available online: https://www.geoportal.wroclaw.pl/ (accessed on 1 September 2022).
  51. Newman, P.; Davies-Slate, S.; Conley, D.; Hargroves, K.; Mouritz, M. From TOD to TAC: Why and How Transport and Urban Policy Needs to Shift to Regenerating Main Road Corridors with New Transit Systems. Urban Sci. 2021, 5, 52. [Google Scholar] [CrossRef]
Figure 1. Electric bus Volvo [47].
Figure 1. Electric bus Volvo [47].
Smartcities 06 00131 g001
Figure 2. Actual tram network in Paris and vicinity (inner ring).
Figure 2. Actual tram network in Paris and vicinity (inner ring).
Smartcities 06 00131 g002
Figure 3. The rubber-wheeled tram (Translohr) in Chatillon (France) [49].
Figure 3. The rubber-wheeled tram (Translohr) in Chatillon (France) [49].
Smartcities 06 00131 g003
Figure 4. Scheme of the proposed AT vehicle—ride without the use of tram traction.
Figure 4. Scheme of the proposed AT vehicle—ride without the use of tram traction.
Smartcities 06 00131 g004
Figure 5. Scheme of the proposed AT vehicle—ride with the use of tram traction.
Figure 5. Scheme of the proposed AT vehicle—ride with the use of tram traction.
Smartcities 06 00131 g005
Figure 6. Proposed shape of trolley for AT vehicle.
Figure 6. Proposed shape of trolley for AT vehicle.
Smartcities 06 00131 g006
Figure 7. Population density (braun and red represent highest density, yellow—lowest) and existing tram network (white lines) in Wrocław—potential case study area. Own drawing on map [50].
Figure 7. Population density (braun and red represent highest density, yellow—lowest) and existing tram network (white lines) in Wrocław—potential case study area. Own drawing on map [50].
Smartcities 06 00131 g007
Figure 8. Proposed AT routes in Wrocław as a part of the transportation system (symbols explained in the text below)—potential case study area. Own drawing on map [50].
Figure 8. Proposed AT routes in Wrocław as a part of the transportation system (symbols explained in the text below)—potential case study area. Own drawing on map [50].
Smartcities 06 00131 g008
Table 1. Exemplary investments in the enlargement of the tram network from the Polish cities were realized or under construction in the 2022 (with one exception).
Table 1. Exemplary investments in the enlargement of the tram network from the Polish cities were realized or under construction in the 2022 (with one exception).
Exemplary InvestmentCosts (mln. Euro)Description
Warsaw (Wilanów)1368 km tram route with numerous engineering objects (incl. tunnel)
Poznań (Naramowice)1043.3 km tram route plus 7.5 km roads
Wrocław (Nowy Dwór)747 km route incl. spectacular viaduct
Kraków (Trasa Łagiewnicka)362.3 km tram route plus 3.7 km road
Olsztyn (reactivation)769 km tram route (older investment, 2016)
Disclaimer/Publisher’s Note: The statements, opinions and data contained in all publications are solely those of the individual author(s) and contributor(s) and not of MDPI and/or the editor(s). MDPI and/or the editor(s) disclaim responsibility for any injury to people or property resulting from any ideas, methods, instructions or products referred to in the content.

Share and Cite

MDPI and ACS Style

Kruszyna, M. Should Smart Cities Introduce a New Form of Public Transport Vehicles? Smart Cities 2023, 6, 2932-2943. https://doi.org/10.3390/smartcities6050131

AMA Style

Kruszyna M. Should Smart Cities Introduce a New Form of Public Transport Vehicles? Smart Cities. 2023; 6(5):2932-2943. https://doi.org/10.3390/smartcities6050131

Chicago/Turabian Style

Kruszyna, Maciej. 2023. "Should Smart Cities Introduce a New Form of Public Transport Vehicles?" Smart Cities 6, no. 5: 2932-2943. https://doi.org/10.3390/smartcities6050131

APA Style

Kruszyna, M. (2023). Should Smart Cities Introduce a New Form of Public Transport Vehicles? Smart Cities, 6(5), 2932-2943. https://doi.org/10.3390/smartcities6050131

Article Metrics

Back to TopTop