Next Article in Journal
Multimodal Human–Robot Interaction Using Gestures and Speech: A Case Study for Printed Circuit Board Manufacturing
Previous Article in Journal
Concept for Predictive Quality in Carbon Fibre Manufacturing
 
 
Font Type:
Arial Georgia Verdana
Font Size:
Aa Aa Aa
Line Spacing:
Column Width:
Background:
Article

Impact of Uniaxial Pre-Strains on the Forming Limit Curve (FLC) of CuZn 70-30 Brass Sheets for Enhanced Formability in Production Applications Using the Nakajima Test

1
Production Engineering and Metallurgy Department, University of Technology, Baghdad, Iraq
2
Engineering Requirements Unit, College of Engineering UAE University, Al Ain, United Arab Emirates
*
Author to whom correspondence should be addressed.
J. Manuf. Mater. Process. 2024, 8(6), 273; https://doi.org/10.3390/jmmp8060273
Submission received: 9 October 2024 / Revised: 8 November 2024 / Accepted: 20 November 2024 / Published: 28 November 2024

Abstract

Brass sheets are extensively utilized in the automotive, electrical, and other industries, where an in-depth understanding of their formability is crucial for achieving optimal performance in production applications. This study investigates the influence of uniaxial pre-strains on the Forming Limit Curve (FLC) of CuZn 70-30 brass sheets, which aims to enhance their formability by identifying and optimizing key forming parameters. Adding a new variable, the impact of uniaxial pre-strain upon FLC, was our aim of this study and, consequently, the CuZn 70-30 brass sheet formability using punch-stretching tests with purpose-built tools, we experimentally obtained FLCs for brass sheets under varying levels of pre-strain (0.04, 0.06, and 0.08) applied through uniaxial tension by using Nakajima tests with purpose-built tools. The objective was to understand how specific factors such as punch parameters, punch corner radius, and strain rate impact the FLC and, consequently, the brass sheets formability. Results indicate a distinct trend of increasing pre-strain levels leading to a significant rise in minor strain capacity along the right portionof the FLC, with a comparatively insignificant effect on the left. This consistent elevation across strain paths suggests improved formability due to pre-straining, highlighting the potential for optimized manufacturing processes and enhanced product quality across industrial applications.

1. Introduction

Metal forming fundamentally involves the transformation of metal into desired shapes and structures through the application of force. This process utilizes specialized machinery and tools, including punches and dies, to achieve precise and intricate designs. This process induces deformation in the metal, categorically splitting it into two fundamental types: elastic and plastic deformation. Elastic deformation refers to temporary distortion where the metal can revert to its original shape upon removal of the applied force. Conversely, plastic deformation occurs when the metal or alloy starts conforming to the desired shape of the manufactured part, undergoing lasting changes in its structure [1]. Two general classifications of metal-forming processes are bulk deformation and sheet metal-forming. Bulk deformation processes entail the shaping of metals on a large scale such that their ratio of surface area to volume is low.
In contrast, the sheet metal forming processes are devoted to the thin sheets of metals characterized by a high ratio of surface area to volume. This fundamental difference points out that different scales and structural characteristics are associated with each type of metal-forming process [2]. The forming processes using sheet metals constitute more than half of the total net of all forming processes. The fact that it is so prevalent clearly shows how substantial and widespread sheet metal forming is in various industries, such as automotive, aerospace, electronics, and construction. The adaptability of sheet metals and their ability to be formed into complex shapes almost effortlessly makes them the most sought-after manufacturing materials for a wide variety of products, from simple household appliances to highly complex machinery components. Accordingly, whereas bulk deformation processes are of prime importance, the prevalence and versatility of sheet metal forming constitute its importance in modern manufacturing practices [3]. Therefore, the formability of metals during the forming process and the variables that affect the process have been of concern to many researchers [4,5,6].
Thus, producing quality products at an economical cost with minimum material loss or waste is crucial in sheet metal forming operations. In such a process, acceptable strain limits must be set before starting any operation. Usually, this is achieved by constructing a Forming Limit Diagram, graphically showing regions of allowable forming, regions critical to forming, and regions prone to failure. In fact, the FLD is a significant tool for forming. It helps producers make an outstanding balance between material deformation and structural integrity. By indicating the limits of safe deformation, it minimizes the risk of defects in the form of fractures, wrinkles, or tears that might compromise the integrity of the finished product. Therefore, engineers must carefully analyze and interpret the FLD to remain within the acceptable strain limit. This proactive approach can ensure high-quality products with a minimum amount of scrap and rework, improving efficiency and reducing production costs. The FLD works like a blueprint to ensure precision and efficiency in sheet metal forming, enabling the production of high-quality components with low material wastages. Warm forming is used to improve the formability of aluminum alloy sheets, with process variables like temperature, contact pressure, and drawing speed affecting friction at the tool blank interface [7]. Aluminum alloy sheets were examined using strip drawing tests to assess the friction coefficient in the warm forming temperatures range under lubricated conditions. Results show that simulations of warm deep drawing, incorporating varying friction coefficients, provide more accurate drawability and peak force predictions than a constant friction coefficient. High-strength steels are considered for reducing vehicle weight and fuel consumption, but formability challenges, particularly spring back, limit their industrial use [8]. This study investigated the effect of temperature on the forming limits of two sheets of steel, HSLA 350/440 and DP 350/600, using the Nakazima method and finite element models. It was shown that 400 °C negatively impacts forming limits due to alloying elements like silicon and manganese, with HSLA 350/440 steel’s forming limit strain decreasing at 600 °C and increasing at 800 °C.
The below diagram is called the Forming Limit Diagram in the field of sheet metal forming. It forms a detailed outline of the interrelationship of significant strain, ϵ₁ on the vertical axis, and minor strain, ϵ₂ on the horizontal axis. Thus, the diagram presents the concept of sheet metal deformation under different stress conditions, as conducted by the great scientist Keller. It classifies regions representing allowable deformation, critical limits, and areas prone to failure by plotting the major and minor strains for several forming operations. The plot will give the engineer and manufacturer valuable information regarding material response to the forming process, enabling them to adjust parameters toward better product quality and increased production efficiency. Thus, Keller’s original work on creating the FLD laid the foundation for the present practice of sheet metal forming and revolutionized the approach toward process design and optimization. Through proper research and new contributions, Keller supplied the industry with a seminal tool for the mitigation of defects, reduction in waste, and capability of superior results in sheet metal-forming endeavors. Hence, it is not only a test of Keller’s understanding of science but even a cornerstone of innovation in manufacturing [9,10]. In this respect, both halves of the FLD provide different insights into the behavior of sheet metal under forming conditions. The right-hand side of the FLD, correctly developed through collaborative work by scientists Keeler and Backofen, describes the permissible deformation limits and the critical thresholds of strain under various stress conditions. On this side, the engineer derives priceless guidance for optimizing forming processes to superior product quality and performance. Scientists, the pioneers of the negative side of the FLD, pursue the realm of negative strain and its meaning for sheet metal forming. This sector of the diagram describes the limits of deformation in scenarios where dominant forces are compressive and explains the behavior of materials under unique and often challenging conditions. Simultaneously, these two halves of the FLD provide the engineer or manufacturer with a detailed roadmap to understand the subtleties of deformation behavior at various stress states encountered during sheet metal forming. The collaborative work of Keeler, Backofen, and Goodwin had a direct influence on the form that the FLD would take and left indelible marks on the science of material science and manufacturing, driving innovation and excellence in forming processes [11], while the left negative side spanned from the uniaxial tension, where ( ϵ 1 = 2 ϵ 2 ) , to plane strain, where ( ϵ 2 = 0 ) , and the right positive side spanned from plane strain, where ( ϵ 2   = 0 ) , to equal biaxial tension, where ( ϵ 1 =   ϵ 2 ) [12,13], as illustrated in Figure 1.
The Forming Limit Diagram (FLD) is an essential tool in sheet metal forming, which helps to easily recognize the acceptable, critical, and failure regions in the forming process. Engineers often use the Forming Limit Curve (FLC) as an auxiliary tool to refine these demarcations. Precisely tracing the points bordering the failure zone, particularly areas liable to necking, this curve is located in the FLD area. Drawing the Forming Limit Curve calls for developing a strain path between the positive right segment and the negative left segment of the FLD. Engineers typically adopt the Hecker-proven method for calculating major and minor strains. Key to the process is that a die conforming to the formability test, as per Nakazima, a standard tool used in assessing sheet metal formability, needs to be adopted. Through applying the Hecker method and the Nakazima formability test, engineers can accurately plot the trajectory of the Forming Limit Curve, thereby accurately delineating limits in strains and critical thresholds.
The strategic approach adopted enhances the accuracy of formability assessments and equips the manufacturer to optimize the forming process toward better quality and product performance. The combined application of FLD, FLC, Hecker method, and the Nakazima formability test represents a profound approach in the field of formability analysis in sheet metal forming, locating the meeting point of precision, innovation, and excellence in modern manufacturing practices [14], based on changes in the width of the sample to obtain a different strain path. Many researchers have explored the Forming Limit Curve and how the changes in the strain paths affect it. Moreover, additional researchers [15,16] have investigated the effect of the change in the strain paths on the Forming Limit Curve with a hemispherical punch diameter of (90 mm) for low-carbon steel sheets and stainless steel. In more recent studies [17,18,19,20,21], the complicated relationship between the strain path changes and their effect on the Forming Limit Diagram, including low-carbon steel alloys, has been focused on. Among this vast research, brass alloys have captured the attention of researchers as they are widely used in everyday life. Known for their outstanding conductivity, brass alloys are significant in the electrical industry as they aid in complete electricity transmission. Aside from this, these alloys have applications in the electronics industry and form a large part of most electronic gadgets used today. Conventional forming operations struggle to meet the increasing demands for functionality and load-bearing capacity in components like synchronizer rings. Sheet-bulk metal forming (SBMF) combines the advantages of bulk and sheet metal forming to optimize part weight and load capacity. The study used a self-learning engineering workbench to analyze a novel component geometry with involute gearing manufactured through SBMF, combining deep drawing and upsetting, evaluating mechanical and geometrical properties, and comparing components’ fatigue strength [22]. Martensitic Stainless Steels (MSS) offer ultra-high strength and excellent corrosion resistance, enabling the production of complex lightweight components with extended lifespans. The study evaluated the hot formability of three MSS alloys under thermomechanical conditions, using uniaxial tensile tests and finite element simulations to assess strain and cooling rates during hot deep drawing. The results show that all three alloys demonstrate excellent formability and increased hardness at forming temperatures between 700 and 900 °C, although their performance is sensitive to factors like chemical composition, austenitization temperature, dwell time, and flange gap [23].
This present study is focused on the comprehensive analysis of the chemical composition and mechanical properties of CuZn 70-30 brass sheets, the assessment of formability by developing FLD, and the investigation of the effects of uniaxial pre-strain on them. Considering the aforementioned discussion, the Nakajima test has been conducted to study the strain paths, and it aims to find out how the FLC is affected by subjecting the samples to various levels of pre-strain. The work, therefore, attempts to improve manufacturing processes and product quality for different industrial applications by understanding the deformation behavior and optimizing the forming process parameters.

2. Experimental Procedure

The experimental procedure would go through four steps, each adding critical knowledge on the behavior and features of the Brass Alloy under discussion. A detailed chemical analysis of the brass alloy will be conducted to understand the exact composition of the alloying elements on the sheet. This step forms the backbone of further studies and gives invaluable data about the material’s elemental composition and possible deviations. After the chemical analysis, the focus will be on the mechanical properties of the brass alloy through a comprehensive tensile test. This test is vital in revealing the response of materials to deformation and providing insights into their tensile strengths, ductility, and other essential parameters. The application of controlled loading on a material enables engineers to deduce its mechanical behavior under the action of the load, hence determining the maximum load it can withstand without failure. Meanwhile, these preliminary steps are crucial in outlining the basis of the comprehensive understanding of the brass alloy composition and mechanical characteristics, creating the background for further experimentation and analysis in the following stages of the study.

2.1. Study Hypothesis and Conditions

We address the assumptions considered in the study as follows:
1. Consistent Conditions: All experiments were conducted under consistent laboratory conditions to ensure repeatability and reliability of results.
2. No Spring Back: Assumed no significant spring back effect during the deformation process, ensuring accurate measurement of strains.
3. No Annealing: The study focused on pre-straining without any heat treatment, such as annealing, to isolate the effects of mechanical pre-strain on formability.
4. Sample Sheet Production: Samples were produced from the same batch of brass sheet to maintain material consistency across all tests.
5. Constant Pressures: Both holding and forming pressures were kept constant during the experiments to ensure uniform application of force and avoid variability.
6. Pre-Strain Measurement: Pre-strain levels were measured directly on the deformed surface rather than on a flat surface to accurately reflect the actual conditions experienced during forming
Pre-strain in brass samples is applied in the third step, one of the crucial steps that give rise to controlled deformation in the material. This preparatory step will allow researchers to investigate the effects of pre-strain on the formability and structural integrity of the material. Measuring the Forming Limit Diagram before and after the pre-strain is the last step in defining the effects caused by these operations. Material deformation behavior changes and formability differences due to pre-strain are differentiated through this comparative analysis. This is carried out through the Nakajima die and Hecker’s method, through which a perfect framework is created for estimating and comparing the FLD with high accuracy under different conditions. Thus, through the precise execution of these steps and advanced methodologies, the opportunity is provided to gain insights into the effect of pre-strain on brass alloy properties and provide a guideline for making informed decisions in the manufacturing process and material design.

2.2. Chemical Analysis

A detailed chemical analysis was conducted to assess the characteristics of the brass alloy accurately. This analysis provides foundational information on the alloy composition, which is crucial for understanding its mechanical and formability properties. The critical phases of the study are outlined below:
The chemical composition of the 1 mm thick brass sheet was analyzed using the AMETEK Spectro MAXx LM-05, an optical emission spectrometer (OES) known for its precision in metallurgical analysis. This device operates by exciting atoms within the sample, causing them to emit light at characteristic wavelengths specific to each element. In fact, detecting and measuring these wavelengths, the Spectro MAXx provides highly accurate data on the elemental composition of metals, ensuring rigorous and valid results. This method allowed for precise quantification of copper, zinc, and trace elements in the alloy, forming a reliable basis for assessing the material’s mechanical properties.
The 1 mm thick brass sheet underwent a chemical analysis using an advanced spectrometer device at the Engineering Examination and Qualification Centre, operated under the Ministry of Industry and Minerals.
The chemical composition of the brass sheet was analyzed using optical emission spectroscopy (OES) at the Engineering Examination and Qualification Centre. This technique accurately identifies and quantifies metal elements by measuring the characteristic wavelengths emitted when atoms in the sample are excited, providing precise data on copper, zinc, and trace elements essential for this study.
This rigorous analysis was necessary to demonstrate the exact elemental makeup of the brass alloy, providing a base for further research on its mechanical and formability characteristics.
Details of the chemical analysis are well-documented and presented in Table 1.
The extensive data obtained offers valuable information on the content of the brass alloy in terms of copper, zinc, and other trace elements.
This information is detailed and serves as the bedrock for understanding the characteristics and behavior of the alloy.
Consequently, the results of the analysis will guide subsequent experiments and analyses within this phase of the study.
Table 1. Chemical composition of Brass (CuZn 70-30).
Table 1. Chemical composition of Brass (CuZn 70-30).
ElementsZnPSiSnSPbAlFeCu
Present %28.480.00190.00190.00270.00340.00830.01760.021471.5
Standard300.00.00.00.00.00.00.070

2.3. Tensile Test

The tensile test is a fundamental process in materials testing, providing essential insights into the mechanical properties and suitability of metals for various applications. Additionally, the tensile test indicates metal ductility and strength, two essential attributes that impact the final product formability and quality. Based on the test results, engineers can make informed decisions regarding process parameters and material selection to achieve high-quality, defect-free components by assessing the metal’s capacity to deform under stress and its resilience to fracture [24,25].
The thickness of the brass samples was 1 mm, and they were subjected to strict tensile testing, according to ASTM E-8 [26]. As shown in Figure 2, the samples were prepared quite carefully by removing them from the bulk material sheet with the aid of a water jet machine. Most importantly, the samples were removed in three different directions from the rolling direction: 0°, 45°, and 90°, as shown in Figure 3. This strategic approach enabled a comprehensive assessment of the mechanical features of the material over various grain orientations, contributing to our full knowledge of material behavior under tensile loading. The tensile test results are shown in Table 2 and give a detailed view of the performance of the brass alloy under controlled loading. The findings encapsulate critical parameters such as ultimate tensile strength, yield strength, and elongation, providing invaluable insights into the material’s mechanical behavior and suitability for diverse applications. Industry-wise, this could help make informed decisions regarding material selection, process optimization, and component design through meticulous analysis of these results, ultimately fostering the production of high-quality, reliable products.
Table 2 demonstrates the tested specimens machined at different angles before and after the tensile test. This addition represents the specimen’s conditions, enhancing the understanding of the testing process and the impact of different machining angles on the material behavior.
The tensile test was exceptionally executed at the University of Technology, specifically within the esteemed Department of Production Engineering & Metallurgy strength of material laboratory. Applying the cutting-edge capabilities of a WDE-200E tensile machine, engineers could conduct a comprehensive assessment of the Brass samples’ mechanical properties. This advanced equipment provided direct measurements of load-elongation and generated insightful load-elongation curves and engineering stress–strain curves. However, it is essential to note a crucial limitation inherent in the engineering stress–strain curve. This curve, while informative, may not accurately reflect the actual state of deformation due to its dependence on the original cross-sectional area of the specimens. This means that interpretations of material behavior may be biased toward the first area measurements, so the data needs to be handled carefully and interpreted accordingly. Figure 4 presents the true stress–strain curve, as required by the standard outlined in DIN ISO 12004-2:2008 [27]. According to this standard, the true stress–strain curve is essential for the Nakajima Test because it accurately represents material behavior under deformation. The true stress–strain curve accounts for changes in the cross-sectional area during testing, offering better accuracy for extracting material parameters, such as strain hardening. This approach ensures that the parameters derived from the curve align with the actual deformation mechanics of the material, leading to more precise formability assessments.
However, the data from the tensile test is still invaluable in understanding the material’s mechanical characteristics and guiding other analyses and design decisions. Consequently, we will transform the engineering stress–strain curve into a true stress–strain curve, which depends on the instantaneous area, by using Equations (1) and (2) below:
σ t r u = σ e n g · ( 1 + e )
ϵ t r u = l n ( 1 + e )
where σ t r u : is true stress, σ e n g : engineering stress, ϵ t r u : is true strain, e: engineering strain.
In adherence to the Nakajima testing requirements for non-ferrous metals and strictly in accordance with the instruction to align the sample parallel to the rolling direction [28], this work carefully derives mechanical properties only from tensile testing along the rolling direction (θ = 0). According to this procedure, one ensures consistency and comparability to the Nakajima testing procedure, and as a result, one can apply this work to the determination of material behavior. This gives an essential true stress–strain plot, as shown in Figure 4, which includes all the basic plastic-flow properties of the material. This plot, adequately called the flow curve, gives a complete picture of the behavior of a brass alloy under applied stress and allows for the definition of an important parameter: its yield strength, ultimate tensile strength, and elongation. By accurately plotting the material’s deformation to increase stress, the flow curve is a significant curve for the characterization of the material regarding its mechanical properties because of all subsequent analyses and considerations during design.
This curve is represented by Equation (3), the Ludwick–Holloman equation [29].
σ = K ϵ n
K is the strength coefficient, and n is the strain-hardening exponent.
According to results from the tensile test, the flow curve of the Brass sheet is represented by:
σ = 460.89   ϵ 0.3

2.4. Micro-Structure

The microstructure of CuZn 70-30 brass is a critical factor in understanding its mechanical behavior, particularly in industrial applications where formability, strength, and ductility are essential. This section focuses on the role of the material internal structure, including grains, phases, and crystal arrangements, in influencing its response to deformation. The following points detail the critical aspects of microstructure and its relevance to the study:
Microstructure refers to the intricate arrangement, distribution, and characteristics of the material microscopic constituents, including grains, phases, and crystal structures.
This internal architecture plays a crucial role in determining mechanical properties, such as strength, ductility, and formability, particularly in materials like CuZn 70-30 brass, which are widely used in industrial applications.
In brass alloys, the crystal structure, especially the face-centered cubic (F.C.C.) structure of CuZn 70-30 brass, predominantly influences deformation behavior.
CuZn 70-30 brass exhibits an F.C.C. crystal structure known for high ductility and excellent formability, making it suitable for various manufacturing processes such as deep drawing and stamping.
The F.C.C. arrangement allows for multiple slip systems, enabling the material to deform plastically without fracturing under stress.
This characteristic is particularly relevant in the context of the Nakajima test results discussed in the study, where pre-straining of the brass alloy led to enhanced formability due to strain hardening and changes in the microstructural arrangement.
This study focuses on the microstructure alignment with formability and mechanical behavior, highlighting the connection between the microstructure and the material response to deformation, with an integrated analysis of the Nakajima test and the impact of pre-straining.

Microstructure Test

The optical microscope used for the microstructure analysis is depicted in Figure 5, providing a detailed view of the internal structure of the brass alloy. The preparation of the samples for microstructural evaluation involved several critical steps: cutting, mounting, grinding, polishing, and finally, etching using appropriate chemical solutions. Each step plays a pivotal role in ensuring accurate and precise analysis of the material microstructure, which is essential for understanding the effects of pre-strain on the brass alloy, as discussed in the study. One of the processes is the cutting, which was performed carefully to minimize any deformation or damage to the brass samples, ensuring that the microstructure observed under the microscope represented the material’s actual internal structure. In addition, mounting the sample in a suitable medium provided subsequent grinding and polishing stability. At the same time, grinding was carried out using progressively finer abrasives to remove any surface irregularities and scratches that could obscure the underlying microstructure. One of the most critical processes is polishing, a crucial step in creating a smooth, reflective surface, allowing for precise microscopic observation of the grains and phases within the material. This step ensured that the boundaries between grains and phases could be distinctly observed and evaluated. The final etching stage involved applying an etchant solution to the polished surface to reveal the grain boundaries and phase distributions selectively. The etching solution used in this study consisted of a mixture of 5 mL hydrochloric acid (HCl), 2 g ferric chloride (FeCl3), and 98 mL methanol. This specific composition was chosen to effectively bring out the microstructural features of the CuZn 70-30 brass alloy, particularly the grain boundaries, phases, and any deformations induced by the pre-straining process. Through analyzing the etched surface under the microscope, researchers could assess the changes in grain structure and phase distribution caused by the different levels of uniaxial pre-strain. These observations provided valuable insights into the strain-hardening effects and microstructural evolution that directly influenced the material Forming Limit Curve (FLC) and overall formability. Understanding these microstructural changes was crucial for interpreting the material improved ability to undergo deformation without failure, as discussed in the study. The microstructural analysis thus complements the mechanical testing, offering a comprehensive understanding of how the brass alloy internal structure responds to various levels of pre-strain and how these changes enhance its suitability for industrial forming processes.
The forming process procedures significantly impact the microstructure of the processed material, directly influencing its mechanical properties and formability. The microstructure, composed of grains and grain boundaries, determines how the material behaves under deformation. Grains are regions where atoms are arranged in a crystalline structure, which enhances mechanical properties such as strength and ductility. Grain boundaries, on the other hand, are regions between adjacent grains where the crystal lattice is discontinuous. These boundaries influence dislocation movement and strain hardening, which are essential factors in determining the material ability to undergo further deformation. In the case of CuZn 70-30 brass, which has a face-centered cubic (F.C.C.) crystal structure [30], the grains can deform more quickly due to the availability of multiple slip systems, especially when subjected to pre-strain. This study uses Figure 6, Figure 7, Figure 8, Figure 9 and Figure 10 to illustrate the microstructure of the brass alloy, before and after forming, at a magnification of 250×. The images show how the grains elongate and reorient under the applied forming stresses while grain boundaries accumulate dislocations, contributing to strain hardening. These microstructural changes, which are directly linked to the mechanical behavior of the material, play a pivotal role in explaining the improvements in the Forming Limit Curve (FLC) observed in the pre-strained samples. The ability of the brass alloy to endure higher levels of deformation without failure is attributed to the microstructural evolution observed through optical microscopy, highlighting how the forming process enhances the material’s suitability for industrial applications that require high formability.
The microstructure of the undeformed sample, as shown in Figure 6a, reveals equiaxed grains, typical of a material that has not undergone significant deformation, with grains that are relatively uniform in size and shape, indicating minimal internal stress. In contrast, the deformed samples exhibit elongated grains oriented along the direction of the applied stress due to the predominant stretching and strain hardening during the forming process. This elongation reflects the material adaptation to plastic deformation, resulting in an enhanced microstructure that resists further deformation. As the material undergoes plastic deformation, the grain size increases, and the density of dislocations within the microstructure rises, strengthening the material by restricting further dislocation movement. Dislocations, which are linear defects in the crystal lattice, facilitate plastic deformation, and their accumulation leads to work hardening or strain hardening, explaining the increase in hardness observed after forming.
Additionally, the CuZn 70-30 brass alloy demonstrates twin deformation mechanisms, where mirror-like defects, known as twins, form within the crystal structure due to localized plastic deformation. These twin boundaries further hinder dislocation motion, increasing the number of barriers within the material and enhancing its strength and hardness. The combined effects of elongated grains, increased dislocation density, and twin structures significantly improve the material resistance to further deformation, as evidenced by the improvements in the pre-strained samples Forming Limit Curve (FLC). These microstructural changes illustrate plastic deformation’s crucial role in refining the material mechanical properties, optimizing its strength and formability for demanding industrial applications.
As shown in Figure 6a, the microstructure of the original brass specimen selected before the tensile test exhibits a binary equiaxial alpha and beta structure, typical for cartridge brass. The grain size was measured, as depicted in Figure 6b, and found to be 54 µm. Similarly, Figure 7a shows the microstructure of cartridge brass with comparable characteristics to the original sample in Figure 6a. However, when comparing the tensile strengths of these specimens, the brass sample in the paper exhibited a strength of 384 Mpa. The standard specimen in Figure 7a demonstrated a lower tensile strength of 296 Mpa. This difference can be attributed to variations in grain size and the effect of Hall-Petch strengthening, where smaller grains increase the material yield strength by obstructing dislocation motion. After conducting tensile tests on three specimens with different orientations (0°, 45°, and 90°), the results showed only a minor variation of about 1% in tensile strength between them, indicating that the brass exhibits isotropic mechanical properties. This minimal difference in results can be attributed to device error margins, as the consistency across orientations suggests uniform material behavior in all directions.
For microstructure analysis, the significant phases identified metallurgically in the brass alloy are alpha (α) and beta (β), as shown and indicated in Figure 6a, where the beta phase is represented by the darker grains. After the tensile test, the microstructure of the deformed specimens revealed two distinct regions: the matrix and floating particles, a result of the differing mechanical properties of each phase. This behavior is linked to the specific characteristics of the alpha and beta phases. The strength of the brass alloy is significantly influenced by the proportion and distribution of these phases, which are determined by the alloy composition and processing conditions. In brass, which typically consists of copper and zinc, the alpha phase (α-phase) is a solid solution where zinc atoms are dispersed within the copper lattice. This phase is generally more ductile and softer, offering less strength than the beta phase (β-phase). The beta phase, which forms at higher zinc concentrations, is a more complex intermetallic compound that is both harder and stronger than the alpha phase, though it tends to be less ductile. The microstructural differences between these phases directly impact the mechanical behavior of the alloy, with the alpha phase providing ductility and the beta phase contributing to increased hardness and strength. This phase-dependent property variation is crucial for understanding material performance during forming. It explains the differences in strength observed in the tensile tests, aligning with the study results.
Following the tensile test, the alpha phase exhibited significant deformation, resulting in a notable loss of structural integrity, while the beta phase, characterized by its higher hardness and reduced ductility, fragmented due to shear fractures, maintaining a degree of coherence in its discretely deformed shapes without significant loss of integrity within the matrix. This phenomenon is illustrated in Figure 8, Figure 9 and Figure 10, where the micro-structure reveals a coexistence of two distinct deformed structures: the severely deformed alpha phase interspersed with remnants of the beta phase and small islands of deformed beta. Notably, Figure 5 highlights that the most pronounced deformation aligns with a longitudinal and normal elongation of the material, whereas inclined forces introduced component stresses that exacerbated the fracturing of the hard alpha phase. It is important to emphasize that despite the complete annealing of the brass sheet, as depicted in Figure 6a, the microstructure exhibited a preferred orientation attributed to the subsequent cross reduction during rolling, followed by heat treatment, which influenced the overall deformation behavior observed in the material.

2.5. Nakajima Test

The Nakajima formability test is widely regarded as the benchmark method for characterizing sheet metal formability. The test was conducted to assess pre-strains impact on the Forming Limit Diagram (FLD) of brass and, consequently, on the material’s formability in uniaxial tension. Key phases of the Nakajima test are outlined below:
Brass sheet samples, each 1 mm thick, were subjected to the Nakajima formability test under two distinct conditions to observe differences in deformation behavior.
The first condition considered is that the formability of samples was initially evaluated without any pre-strain, with careful observation and documentation of all resultant deformation behaviors.
The second condition considered is that the test was repeated after applying a pre-strain to each sample, allowing for direct comparison with the initial, non-pre-strained condition.
The study offers a deeper understanding of how pre-strain influences brass sheet formability and impacts the Forming Limit Diagram (FLD) by comparing the results under these two test conditions.

2.5.1. Preparing Nakajima Die and Samples

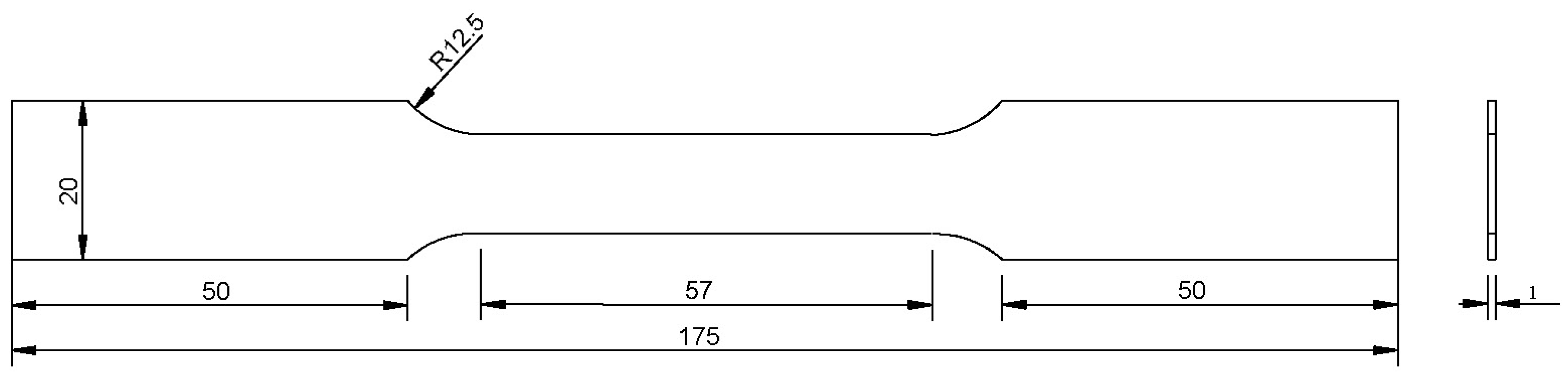
The Nakajima die was designed to follow standardized dimensions [27,28,31], in turn making the testing process more uniform and dependable. Additionally, the shape and dimensions of the samples were wholly and appropriately prepared according to the guidelines provided in ISO 12004-2-2006 [32]. Because of these provisions, the sample length was adjusted, with great accuracy, to 25% longer than the diameter of the punch used on the test rig, as shown in Figure 11. This meticulous attention to detail ensures that the samples conform precisely to established standards, optimizing the accuracy and repeatability of the Nakajima formability test.
The dimensions a, b, and c shown in Figure 11B and applied to the samples in the experiments are listed in Table 3.
The Nakajima test is designed with simplicity in both die shape and sample preparation, allowing for an efficient assessment of the Forming Limit Curve across a wide range of strain paths. This structured approach is essential for understanding the deformation behavior of materials under varying conditions. Critical aspects of the Nakajima die, and sample preparation are outlined below:
A defining feature of the Nakajima test is its simplicity in die shape and sample design, which facilitates efficient testing and reliable results.
The test method involves pulling or stretching rectangular samples of varying widths over a hemispherical punch within a circular die until the sample tears.
Samples of different widths yield a range of strain paths due to tearing, covering the positive right side, the negative left side, and the plane strain zone within the Forming Limit Curve.
Consequently, the Nakajima test provides crucial insights into the deformation behavior of materials across a wide range of conditions, making it an invaluable tool for studying material formability.
Initially, each specimen underwent meticulous preparation, with a 5 mm diameter circular grid drawn on its surface, as illustrated in Figure 12. Using SFX-50GS laser Engraver machine fiber laser with a re-position precision of 0.002 mm.
Subsequently, the specimens were subjected to deformation within a Nakajima die utilizing the WDW-200E tensile machine, as depicted in Figure 13. This process, executed under a load of 100 kN, was aimed at generating diverse strain paths during deformation.
After the Nakajima test, the specimens deformed, and the circular grids transformed into ellipses, particularly near the crack site, as illustrated in Figure 14. Each circular grid transforms into an ellipse due to the test’s applied stresses. The longer axis of the ellipse represents the major deformation (maximum strain direction), and the shorter axis reflects the minor deformation (perpendicular strain direction). The lengths of these axes are measured using precise measurement tools, such as an optical microscope or digital image analysis software. Strain values for each axis are then calculated by comparing the change in each axis length to the original circle diameter, providing accurate data on material deformation.
The major and minor deformations on the specimen, where the original circular grids convert to ellipses after deformation, are measured using image processing techniques implemented in MATLAB(R2019) with the Data Digitizer Graph 2.26 program. After the forming test, an image of the specimen is captured and first converted to a grayscale image. This grayscale image is then transformed into a binary image, allowing for precise detection of the ellipse boundaries. The software can accurately measure the lengths of each ellipse major and minor axes, corresponding to the major and minor deformations, by identifying the object boundary. This method ensures precise data on strain distribution across the specimen, facilitating a reliable analysis of formability based on deformation metrics [33,34].
Hecker’s method [31] was employed to quantify these deformations accurately. Through precisely determining these dimensions, the major and minor strains were estimated utilizing Equations (4) and (5) [32,35]. This thorough methodology ensures the accurate characterization of strain behavior, laying the foundation for the comprehensive analysis and interpretation of the material response to deformation.
Major   strain   ( ϵ 1 ) = ln m a j o r   a x e s   o f   e l l i p s e d i a m e t e r   o f   c i r c l e = ln L 1 d
Minor   strain   ( ϵ 2 ) = ln m i n o r   a x e s   o f   e l l i p s e d i a m e t e r   o f   c i r c l e = ln L 2 d
The Brass sheet’s Forming Limit Diagram (FLD) was measured before pre-strain, as shown in Figure 15.
Figure 15 depicts the Forming Limit Curve (FLC) results of tested brass sheets before applying pre-strain, revealing variations in major and minor strains, indicating different deformation states. Negative major strain values, such as −0.328, −0.198, and −0.148, paired with relatively high minor strains like 0.784, 0.599, and 0.519, suggest conditions where the material experiences compression along one axis and elongation along the other. This is typically seen in deep drawing operations. The zero major strain paired with a minor strain of 0.290 indicates a neutral biaxial stretching condition with minimal risk of failure. As the major strain shifts to positive values, moving up to 0.600 with corresponding minor strains increasing to 0.602, the material shows balanced biaxial stretching, indicating good formability under these conditions. Generally, the Forming Limit Curve provides a threshold, showing the deformation limits before the risk of necking or fracturing increases. Applying pre-strain to brass sheets often alters these limits by increasing the material strength, potentially shifting the FLC upwards and allowing for more significant deformations without failure. This ability to endure higher strains without failing can significantly enhance the material’s formability, making pre-strain a valuable technique in optimizing forming processes to exploit the capabilities of the material fully.

2.5.2. Apply the Test Using Pre-Strain in Uniaxial Tension on Samples

The experimentation continues with a new set of tests involving samples undergoing pre-straining in uniaxial tension. Three sheets of brass metal measuring 160 × 730 mm2 were subjected to varying levels of significant strain (0.04, 0.06, 0.08) using the WDW-200E machine(Jinan City, Shandong Province, China). Observed pre-straining procedures were carefully conducted to ensure that necking did not occur before the desired strain levels were reached, as illustrated in Figure 16. We aim to explore the influence of pre-strain on the material deformation behavior and formability characteristics by systematically varying the primary strain levels, providing valuable insights for optimizing manufacturing processes and enhancing product quality. The research initially involved manufacturing Nakajima test specimens by cutting them from a brass plate that had not undergone any pre-straining, ensuring close alignment with standard Nakajima testing requirements. In order to facilitate secure handling during tensile testing and to incorporate the pre-strain effect, the specimens were modified by adding extended ends. These extensions allowed effective gripping by the tensile testing machine jaws, after which the specimens were subjected to pre-strain individually. However, this approach proved to be both confusing and time intensive. For addressing these challenges, the procedure was revised to apply pre-strain directly to the entire brass sheet before cutting the specimens. This modification, illustrated in Figure 16, simplified the process, ensuring uniform pre-straining across all samples while significantly reducing preparation time.
Next, the sheet undergoes precision cutting to match the dimensions specified in Table 3, achieved through the precision capabilities of a water jet machine. Subsequently, the Nakajima test is conducted on the pre-strained samples, with meticulous attention to detail to construct the Forming Limit Curve (FLC). The value of the strain path is discerned from the deformed printed circle, as illustrated in Figure 17. The adopted systematic approach allows us to comprehensively assess the effects of pre-strain on the material formability, facilitating the generation of valuable data for optimizing manufacturing processes and ensuring the production of high-quality components.

3. Results and Discussion

Following the completion of the forming process, the Forming Limit Curve (FLC) was thoroughly constructed utilizing Hecker’s method. As illustrated in Figure 15, the FLC delineates various strain paths, ranging from uniaxial tension on the left side of the Forming Limit Diagram (FLD) to equal biaxial stretching on the right side, as observed for the sheet under examination. This graphical representation vividly portrays the diverse array of strain values resulting from the forming process, underscoring the nuanced nature of material deformation. It is beneficial to give essential information about the material formability characteristics and their response to different stress states through the FLC analysis, thus laying the foundation for making some informed decisions in subsequent manufacturing work. In addition, we have incorporated image processing techniques to enhance the accuracy of our measurements. Specifically, we utilized the MATLAB program to capture images of the deformed specimens. These images were first converted to grayscale and then to binary images, allowing for precise object boundary detection. This method facilitated accurate measurement of the major and minor axes of the ellipses formed on the specimen surfaces. Additionally, we employed the Get Data Digitizer Graph 2.26 program to refine the ellipse axes measurements further. This software allowed us to digitize the data points accurately and ensure that the measurements were consistent and reliable. So, we achieved high accuracy in evaluating the Nakajima test results by combining these advanced image processing techniques with our reference to Hecker’s method. This approach aligns with the principles of the ISO 12004 standard [28], leveraging digital tools to provide robust and precise data. We appreciate your attention to this detail and believe that our methodological approach effectively integrates both traditional and contemporary techniques to enhance the reliability of our findings.
By looking closely at the Forming Limit Curve (FLC), we can observe some critical trends in the distribution of principal strain values for varying strain paths. The highest principal strain values are observed in the uniaxial tension path, which depicts the material’s susceptibility to deformation in that orientation. The lowest principal strain values are depicted along the plane strain path, indicating a lack of susceptibility to deformation when a deformation mode is applied to the material consisting of a constant strain and zero strain in the third principal strain axis. This divergence is a key feature of the uniaxial tension path used as the limit for determining formability, as the uniaxial tension path has a better representation of all the ranges of strain values compared to other paths. There is a different trend in terms of the distribution of minor strain. Here, the highest values of minor strains are observed along the biaxial stretching path, emphasizing the material tendency for localized stretching when it is subjected to multi-axial forces. The lowest values of minor strains, on the other hand, occur along the uniaxial tension path, which signifies a reduced lateral deformation tendency in this direction. Such a fine interplay among the distributions of the principal and minor strains gives much insight into the material deformation behavior and flags the formability assessment as a very interdisciplinary field.
After applying the levels of pre-strain at different levels (0.04, 0.06, 0.08) on the metal sheets, the Forming Limit Curves were plotted with great care, as demonstrated in Figure 18, Figure 19 and Figure 20. These three figures give the best qualitative view of the influence of pre-strain on the material formability characteristics over a wide range of strain levels. Suppose these Forming Limit Curves are analyzed systematically. In that case, the effect of pre-strain will become apparent on the deformation behavior of the material, and valuable insights for improving the process and achieving better product quality may be obtained.
Conducting a comparative analysis of Figure 18 for brass sheets illuminates the effects of pre-strain on the Forming Limit Curve (FLC) and material formability. The data reveals that major strains in both tables are closely aligned, with a minimal decrease in the maximum positive major strain from 0.600 to 0.599, indicating a negligible reduction in the material elongation capacity under tensile stress, about 0.17%. Meanwhile, the minor strains demonstrate a noticeable increase from a range of 0.290 to 0.784 in Table 1 to 0.391 to 0.811 in Table 2. This represents approximately a 34.83% increase at the lower end and a 3.44% increase at the upper end. This suggests that pre-straining enhances the brass sheet’s ability to undergo lateral deformation without failing. Such changes are indicative of strain hardening effects due to pre-strain, which improves the yield strength and, consequently, the material ductility in lateral directions. This upward adjustment of the minor strains at similar levels of major strains suggests that the safe forming zone within the FLC has expanded, allowing the material to be worked more extensively before reaching failure thresholds. This enhancement in formability is particularly beneficial for manufacturing processes that demand high degrees of deformation, like deep drawing or complex stamping operations, where maintaining structural integrity under stress is crucial. Therefore, in the practical forming process, we may need to adjust the forming tools and processes to accommodate the improved material characteristics due to pre-straining, optimizing the production to exploit the enhanced properties fully.
The investigated sheets reveal a consistent pattern of major strain values, which remain stable across both tables, ranging from about −0.327 to 0.600. This stability in major strains across varying pre-strain levels indicates that the longitudinal stretchability of the material is robust against the modifications induced by pre-straining. However, the minor strain values demonstrate significant growth as pre-strain increases, with the minimum minor strain rising from 0.290 to 0.431 (approximately 48.62%) and the maximum from 0.784 to 0.817 (about 4.21%). This enhancement in minor strain values under higher pre-strain conditions suggests improved lateral ductility, essential for manufacturing operations that require intricate, three-dimensional shaping. Such changes are attributed to strain hardening, a phenomenon where dislocations multiply within the metal crystal structure, thereby increasing the yield strength and enhancing the material’s ability to withstand further deformation without failure [36]. Consequently, the Forming Limit Curve (FLC) shifts upwards, particularly along the minor strain axis, expanding the safe deformation zone and allowing the material to undergo more significant deformation before the onset of failure mechanisms like necking. This adjustment implies that manufacturing processes can be optimized to leverage this increased formability, potentially leading to more efficient material use and reduced incidence of defects such as tears or wrinkles, ultimately enhancing production efficiency and lowering manufacturing costs.
From Figure 20, the comparison illustrates that while the major strains remain stable across both conditions, ranging approximately from -0.330 to 0.600, the minor strains significantly increase from a range of 0.290 to 0.784 in zero pre-strain to 0.451 to 0.821 in 8% pre-strain. This indicates that pre-straining leads to strain hardening, where the density of dislocations within the material crystal structure increases, thus enhancing the yield strength and allowing the material to tolerate more significant deformations, particularly in minor strain directions [37]. This strain-hardening effect broadens the safe deformation zone in the Forming Limit Curve (FLC), thereby enhancing the material lateral ductility essential for processes involving substantial bending and stretching. Consequently, this could indicate the need to recalibrate forming tools and processes to fully leverage the improved formability of pre-strained brass sheets, optimizing the manufacturing process for better quality and efficiency. This recalibration could include modifying die designs, adjusting processing speeds, and optimizing temperature controls, potentially reducing production costs due to lower scrap rates.
As a summary, the test results presented in Figure 18, Figure 19 and Figure 20 for pre-strain levels of 0.04, 0.06, and 0.08 unveil critical insights into the material behavior under varying degrees of deformation. Through meticulous analysis, the following observations were made:
  • Across all these tests, a consistent pattern emerged: the highest values of the major strain (ϵ1) were consistently observed along the uniaxial tensile path ( ϵ 1   = 2 ϵ 2 ) , while the lowest values were found along the plain strain path (ϵ2 = 0). This delineates the critical path within the Forming Limit Curve, where material failure is most likely to occur. Conversely, the values averaged along the biaxial stretching path (ϵ1 = ϵ2). An opposing tendency was found for the minor strain (ϵ2) results. The maximum values were consistently along the biaxial stretching path (ϵ1 = ϵ2), and the minimum values were along the uniaxial tensile path (ϵ1 = −2ϵ2). The symmetrical yet contrasting behavior accentuates the complex interplay of different strain paths and their effect on material deformation during forming.
  • The introduction of pre-strain effectively shifts the material behavior to the left side of the diagram, influencing the behavior, especially regarding the plain strain path (ϵ2 = 0). Such a shift means an increase in the strain path toward transverse uniaxial tension, which represents the pre-strain action applied to the samples. Such observation further indicates the transformational effect associated with pre-strain on the deformation behavior of the material, which critically influences the path of strain and, therefore, formability features during manufacturing processes.
  • The application of pre-strain through uniaxial tension extends the Forming Limit Curve’s boundaries significantly, particularly in the biaxial stretching region (ϵ1 = ϵ2) located to the right of the diagram and along the plain strain path (ϵ2 = 0). Conversely, the impact of this strain is comparatively minimal along the uniaxial tension path (ϵ₁ = −2ϵ2) on the left side of the diagram, as depicted in Figure 18, Figure 19 and Figure 20. This disparity is attributed to the significant enhancement in strengths, including yield strength (σy) and ultimate tensile strength (σult), observed in pre-strained specimens. The pre-strained specimens exhibit heightened work hardening, a phenomenon attributed to the increased density of dislocations within the material. This enhanced work hardening contributes to the material’s improved formability and ability to withstand higher levels of deformation without failure. Consequently, pre-straining is pivotal in optimizing the material mechanical properties and enhancing the material’s suitability for various manufacturing applications.
  • Increasing pre-strain levels are observed to shift the Forming Limit Curves (FLCs) upward systematically and toward the left side, as illustrated in Figure 21. This perceptible change reveals a palpable enhancement in formability due to pre-strain. There is the most noticeable increase in formability when the formability of material in its initial condition and after pre-strain is compared, especially in terms of the material forming a continuous strain path direction.
Eventually, it is worth mentioning that the pre-strain of 0.04, 0.06, and 0.08 were selected based on a combination of literature review, material characteristics, and the need to explore a range of pre-strain levels that could reveal significant changes in formability. Preliminary tests were conducted to determine the appropriate limits for strain rates. These tests aimed to identify strain rates that would induce measurable changes in the Forming Limit Curves (FLCs) while avoiding premature failure or excessive deformation. The chosen pre-strain of 0.04, 0.06, and 0.08 were found to be optimal for capturing the material’s response under controlled conditions.
Eventually, the novelty of this study lies in its focus on brass, a material less frequently tested for formability compared to steel and aluminum alloys, and the unique examination of pre-strain effects on its Forming Limit Diagram (FLD). Brass is particularly suitable for applications requiring high corrosion resistance and thermal conductivity, such as heat exchangers, condensers, and pressure vessels. This research addresses a significant gap in formability studies, which often overlook brass in favor of more commonly tested materials by integrating pre-strain conditions.

4. Conclusions

This research introduces a novel approach by examining the effects of controlled uniaxial pre-strains on the Forming Limit Curve (FLC) of CuZn 70-30 brass sheets, providing new insights into enhancing material formability for industrial applications. Unlike traditional FLC studies that assess formability without pre-conditioning, this study uniquely investigates how different levels of pre-strain influence the strain paths and deformation limits, thereby expanding the safe working range for brass under various loading conditions. This novel study focuses on pre-strain application offers a practical method for optimizing manufacturing processes, as it highlights a pathway to achieving higher formability and improved component quality in industries utilizing brass alloys.
The Forming Limit Curve is significant, showing the relationship between major and minor strains. It defines the safe zone for any forming operation, thus simplifying the job for production engineers. Now, suppose a production engineer follows this curve. In that case, they can enhance the process of manufacturing in a way that the best quality parts can be achieved with the least amount of waste of materials and energy combined with reduced production cost. As we found in our research:
  • The strain path, which maps the path of deformation that a material takes during forming, profoundly impacts the Forming Limit Curves (FLCs) characteristics. Such drastic changes are likely to occur in the FLCs with a change in the state of stress or loading conditions, representing a change in strain path. These are not apparent changes; instead, they would represent a change in the fundamental behavior of the material and its inherent capacity to deform without failure. It is an additional advantage in the optimization process.
  • Thus, uniaxial tension pre-straining becomes a critical parameter affecting the Forming Limit Curve (FLC) and plays a significant and dominant role in metals formability. The nature of the FLC is thus modified, and all paths of the FLC have witnessed a shift upwards. Therefore, the enlarged FLCs depict an enlarged safe-forming area, which indicates increased formability. Such improvements in formability offer an increase in flexibility and efficiency in metal forming operations and the potential for manufacturing high-quality components with a lower threat of failure or defects. Understanding and utilizing the influence of pre-strain on FLC would be beneficial for formulating manufacturing with the lowest cost, producing cost-effective and sustainable products in various industrial applications.
  • Different pre-strain levels lead to the characteristic strain paths. Each one of the pre-strain levels introduces specific mechanical stresses and strains on the material; hence, it defines the deformation behavior of the respective material. Hence, the material response to forming depends on the level of pre-strain.
  • Pre-strain significantly influences the strain path of the Forming Limit Curve; the pre-strain-induced effect is particularly pronounced on the right side, corresponding to the biaxial stretching path. On this path, pre-strain is transforming, significantly enlarging the limits of the curve and strengthening formability noticeably. By expanding the safe-forming area, pre-strain enhances the possibility of engineers going beyond the general technological limits of metal-forming processes to produce detailed components with greater ease and efficiency.
  • The novelty of this research lies in its focus on examining the formability of brass, a material commonly used in applications requiring high corrosion resistance and excellent thermal conductivity (e.g., heat exchangers, condensers, and pressure vessels), which has been less explored in formability studies compared to steel and aluminum alloys. Unlike most published studies, which primarily rely on the Forming Limit Diagram (FLD) for these common alloys, this study uniquely investigates the effects of pre-strain on the formability of brass. By integrating pre-strain conditions into the analysis, this research provides new insights into optimizing brass for complex forming applications, addressing a significant gap in the literature and advancing the understanding of brass’s deformation behavior under varied stress conditions.
  • Eventually, further studies would be necessary to thoroughly verify its effectiveness as a preliminary operation for deep drawing. Specifically, future research should focus on optimization to identify the optimal pre-straining levels and conditions for different types of brass sheets and specific deep drawing applications. Moreover, the long-term effects of pre-straining on the mechanical properties and durability of the final products should be investigated, as well as the impact of pre-straining and heat treatment, such as annealing, on the formability of brass sheets.

Author Contributions

Conceptualization, A.H.A. and R.R.S.; methodology, A.H.A., R.R.S., A.A.A., B.S.M. and W.A.; software, A.H.A., R.R.S. and A.A.A.; validation A.H.A. and R.R.S.; methodology, A.H.A., R.R.S., A.A.A. and B.S.M.; formal analysis, A.H.A. and R.R.S.; methodology, A.H.A., R.R.S., B.S.M. and W.A.; investigation, A.H.A., R.R.S. and B.S.M.; resources, A.H.A., R.R.S. and B.S.M.; data curation A.H.A., R.R.S., A.A.A., B.S.M. and W.A.; writing—original draft preparation, A.H.A., R.R.S. and W.A.; writing—review and editing, A.H.A., R.R.S., A.A.A., B.S.M. and W.A.; visualization, A.H.A., R.R.S. and W.A.; supervision, A.H.A. and R.R.S.; project administration, A.H.A., R.R.S. and W.A.; funding acquisition, A.H.A., R.R.S., A.A.A. and W.A. All authors have read and agreed to the published version of the manuscript.

Funding

This research received no external funding.

Data Availability Statement

Data available upon request.

Conflicts of Interest

The authors declare no conflict of interest.

References

  1. Kalpakjian, S.; Schmid, S. Manufacturing Engineering and Technology, 7th ed.; Illinois Institute of Technology: Chicago, IL, USA, 2014. [Google Scholar]
  2. Groover, M.P. Fundamentals of Modern Manufacturing: Materials, Processes, and Systems, 4th ed.; John Wiley & Sons, Inc.: Hoboken, NJ, USA, 2010. [Google Scholar]
  3. Campos, H.B.; Butuc, M.C.; Grácio, J.J.; Rocha, J.E.; Duarte, J.M.F. Theoretical and experimental determination of the forming limit diagram for the AISI 304 stainless steel. J. Mater. Process. Technol. 2006, 179, 56–60. [Google Scholar] [CrossRef]
  4. Banabic, D.; Kami, A.; Comsa, D.S.; Eyckens, P. Developments of the Marciniak-Kuczynski model for sheet metal formability: A review. J. Mater. Process. Technol. 2021, 287, 116446. [Google Scholar] [CrossRef]
  5. Shrivastava, A.; Digavalli, R.K. Effect of Process Variables on Interface Friction Characteristics in Strip Drawing of AA 5182 Alloy and Its Formability in Warm Deep Drawing. J. Manuf. Mater. Process. 2023, 7, 175. [Google Scholar] [CrossRef]
  6. Ayachi, N.; Guermazi, N.; Pham, C.H.; Manach, P.Y. Development of a Nakajima test suitable for determining the formability of ultra-thin copper sheets. Metals 2020, 10, 1163. [Google Scholar] [CrossRef]
  7. Jang, D.H.; Kim, W.J. Warm Temperature Deformation Behavior and Processing Maps of 5182 and 7075 Aluminum Alloy Sheets with Fine Grains. Met. Mater. Int. 2018, 24, 455–463. [Google Scholar] [CrossRef]
  8. Woellner, N.; Gipiela, M.L.; Lajarin, S.F.; Rebeyka, C.J.; Nikhare, C.P.; Marcondes, P.V.P. Influence of Temperature on the Forming Limits of High-Strength Low Alloy, and Dual-Phase Steels. J. Manuf. Mater. Process. 2023, 7, 211. [Google Scholar] [CrossRef]
  9. Stoughton, T.B. A general forming limit criterion for sheet metal forming. Int. J. Mech. Sci. 2000, 42, 1–27. [Google Scholar] [CrossRef]
  10. Sheng, Z.Q.; Mallick, P.K. A ductile failure criterion for predicting sheet metal forming limit. Int. J. Mech. Eng. 2017, 128–129, 345–360. [Google Scholar] [CrossRef]
  11. Wang, Y.; Zhang, C.; Yang, Y.; Fan, S.; Wang, G.; Zhao, G.; Chen, L. The integration of through-thickness normal stress and friction stress in the M-K model to improve the accuracy of predicated FLCs. Int. J. Plast. 2019, 120, 147–163. [Google Scholar] [CrossRef]
  12. Paul, S.K. Controlling factors of forming limit curve: A review. Adv. Ind. Manuf. Eng. 2021, 2, 100033. [Google Scholar] [CrossRef]
  13. Hecker, S.S. Simple Technique for Determining Forming Limit Curves; Sheet Metal Industries Ltd.: Warwick, UK, 1975; Volume 52, pp. 671–676. [Google Scholar]
  14. Paul, S.K. Theoretical analysis of strain- and stress-based forming limit diagrams. J. Strain Anal. Eng. Des. 2013, 48, 177–188. [Google Scholar] [CrossRef]
  15. Magrinho, J.P.; Silva, M.B.; Reis, L.; Martins, P.A.F. Formability limits, fractography and fracture toughness in sheet metal forming. Materials 2019, 12, 1493. [Google Scholar] [CrossRef]
  16. Klawonn, A.; Lanser, M.; Rheinbach, O.; Uran, M. Fully-coupled micro–macro finite element simulations of the Nakajima test using parallel computational homogenization. Comput. Mech. 2021, 8, 1153–1178. [Google Scholar] [CrossRef]
  17. Sudarsan, C.; Panda, S.K. Evaluation of Coefficient of Friction and Investigation into the Effect of Friction and Lubrication on Formability of Ultra-thin Sheets. J. Mater. Eng. Perform. 2022, 32, 7737–7755. [Google Scholar] [CrossRef]
  18. Khafri, M.A.; Mahmudi, R. The effect of preheating on the formability of an Al–Fe–Si alloy sheet. J. Mater. Process. Technol. 2005, 169, 38–43. [Google Scholar] [CrossRef]
  19. Lumelskyy, D.; Lazarescu, L.; Banabic, D.; Rojek, J. Experimental and numerical investigations on determination of strain localization in sheet forming. J. Phys. Conf. Ser. 2018, 1063, 012060. [Google Scholar] [CrossRef]
  20. Paul, S.K.; Kumar, A. Micromechanics based modeling to predict flow behavior and plastic strain localization of dual phase steels. Comput. Mater. Sci. 2012, 63, 66–74. [Google Scholar] [CrossRef]
  21. Nurcheshmeh, M.; Green, D.E. Prediction of sheet forming limits with Marciniak and Kuczynski Analysis using combined isotropic–nonlinear kinematic hardening. Int. J. Mech. Sci. 2011, 53, 145–153. [Google Scholar] [CrossRef]
  22. Hetzel, A.; Schulte, R.; Vogel, M.; Lechner, M.; Besserer, H.-B.; Maier, H.J.; Sauer, C.; Schleich, B.; Wartzack, S.; Merklein, M. Functional Analysis of Components Manufactured by a Sheet-Bulk Metal Forming Process. J. Manuf. Mater. Process. 2021, 5, 49. [Google Scholar] [CrossRef]
  23. Birnbaum, P.; Meza-García, E.; Landgraf, P.; Grund, T.; Lampke, T.; Kräusel, V. Experimental and Numerical Assessment of the Hot Sheet Formability of Martensitic Stainless Steels. J. Manuf. Mater. Process. 2020, 4, 122. [Google Scholar] [CrossRef]
  24. Rubešová, K.; Rund, M.; Rzepa, S.; Jirková, H.; Jenicek, Š.; Urbánek, M.; Kučerová, L.; Konopik, P. Determining Forming Limit Diagrams Using Sub-Sized Specimen Geometry and Comparing FLD Evaluation Methods. Metals 2021, 11, 484. [Google Scholar] [CrossRef]
  25. Ali, M. Science of Metals and Their Alloys; Arab Center for Arabization, Translation, Authorship and Publishing: Damascus, Syria, 2018. [Google Scholar]
  26. Standard Designation: E8/E8M-09; American Society for Testing Materials: West Conshohocken, PA, USA, 2009.
  27. DIN ISO 12004-2:2008; Metallic Materials—Sheet and Strip—Determination of Forming Limit Curves—Part 2: Determination of Forming Limit Curve in the Laboratory. ISO: Geneva, Switzerland, 2008.
  28. ISO 12004-2:2021; Metallic Materials—Sheet and Strip—Determination of Forming-Limit Curves-Part 2: Determination of Forming-Limit Curves in the Laboratory. ISO: Geneva, Switzerland, 2021.
  29. Zhang, L.; Min, J.; Carsley, J.E.; Stoughton, T.; Lin, J. Experimental and theoretical investigation on the role of friction in Nakazima testing. Int. J. Mech. Sci. 2017, 133, 217–226. [Google Scholar] [CrossRef]
  30. Dieter, G.E.; Bacon, D. Mechanical Metallurgy; McGrawhill: New York, NY, USA, 1976; Volume 3. [Google Scholar]
  31. ASME Metals Handbook Volume 9 Figure 30; ASME: New York, NY, USA, 1861; 31p.
  32. Nakazima, K.; Kikuma, T. Forming limits under balanced biaxial stretching of steel sheets. Tetsu Hagane 1967, 53, 455–458. [Google Scholar]
  33. Khudhir, W.S.; Abbood, M.Q.; Shukur, J.J. Multi-Criteria Decision Making of Abrasive Water Jet Machining Process for 2024-T3 Alloy Using Hybrid Approach. Adv. Sci. Technol. Res. J. 2022, 16, 155–162. [Google Scholar] [CrossRef] [PubMed]
  34. Jawad, S.K.; Khleif, A.A.; Abbood, M.Q. Plane Flow Analysis for a Profile Extrusion Die Using Digital Image Processing Technique. Eng. Tech. J. 2012, 30, 1562–1581. [Google Scholar] [CrossRef]
  35. Kannadasan, S.; Kumar, A.S.; Pandivelan, C.; Narayanan, C.S. Modelling the forming limit diagram for aluminum alloy sheets using ANN and ANFIS. Appl. Math. Inf. Sci. Int. J. 2017, 11, 1435–1442. [Google Scholar] [CrossRef]
  36. Banabic, D. Sheet Metal Forming Processes: Constitutive Modelling and Numerical Simulation. In Springer eBooks; Springer: Berlin/Heidelberg, Germany, 2010. [Google Scholar] [CrossRef]
  37. Weber, R. Fundamentals of Metal-Forming. In Trailer/Body Builders; Penton Media, Inc.: Cleveland, OH, USA, 2014; Volume 55. [Google Scholar]
Figure 1. Forming Limit Diagram.
Figure 1. Forming Limit Diagram.
Jmmp 08 00273 g001
Figure 2. Dimensions of the tensile test samples according to ASTM E-8 standard.
Figure 2. Dimensions of the tensile test samples according to ASTM E-8 standard.
Jmmp 08 00273 g002
Figure 3. Machining process to produce tensile test specimens.
Figure 3. Machining process to produce tensile test specimens.
Jmmp 08 00273 g003
Figure 4. The true stress–strain curve of the brass sheet is parallel to the rolling direction (0°).
Figure 4. The true stress–strain curve of the brass sheet is parallel to the rolling direction (0°).
Jmmp 08 00273 g004
Figure 5. Optical microscope.
Figure 5. Optical microscope.
Jmmp 08 00273 g005
Figure 6. Undeformed sample, (a)—alpha and beta phases for undeformed brass sheet. (b)—grain size calculation.
Figure 6. Undeformed sample, (a)—alpha and beta phases for undeformed brass sheet. (b)—grain size calculation.
Jmmp 08 00273 g006
Figure 7. (a)—Alloy C26000 (cartridge brass), hot rolled to 10 mm thick, annealed to a grain size of 15 μm, cold rolled to 40% to 6 mm thick, and annealed to a grain size of 120 μm. Diagram in the lower left corner of the micrograph indicates the view relative to the rolling plane of the sheet [31]. Nominal tensile strength of 296 MPa. Etchant 1, Table 2. 75×. (b)—Alloy C26000 (cartridge brass), hot rolled to 10 mm thick, annealed to a grain size of 15 μm, cold rolled to 40% to 6.1 mm thick, and annealed to a grain size of 120 μm. Further reduced to 37% by cold rolling from 6.1 to 3.8 mm thick, hard temper, nominal tensile strength of 524 Mpa. The diagram in the lower left corner of the micrograph indicates the view relative to the rolling plane of the sheet [31]. Etchant 1, Table 2. 75×.
Figure 7. (a)—Alloy C26000 (cartridge brass), hot rolled to 10 mm thick, annealed to a grain size of 15 μm, cold rolled to 40% to 6 mm thick, and annealed to a grain size of 120 μm. Diagram in the lower left corner of the micrograph indicates the view relative to the rolling plane of the sheet [31]. Nominal tensile strength of 296 MPa. Etchant 1, Table 2. 75×. (b)—Alloy C26000 (cartridge brass), hot rolled to 10 mm thick, annealed to a grain size of 15 μm, cold rolled to 40% to 6.1 mm thick, and annealed to a grain size of 120 μm. Further reduced to 37% by cold rolling from 6.1 to 3.8 mm thick, hard temper, nominal tensile strength of 524 Mpa. The diagram in the lower left corner of the micrograph indicates the view relative to the rolling plane of the sheet [31]. Etchant 1, Table 2. 75×.
Jmmp 08 00273 g007
Figure 8. Microstructure of tensile specimen parallel to sheet length.
Figure 8. Microstructure of tensile specimen parallel to sheet length.
Jmmp 08 00273 g008
Figure 9. Microstructure of tensile specimen at 45° according to sheet length.
Figure 9. Microstructure of tensile specimen at 45° according to sheet length.
Jmmp 08 00273 g009
Figure 10. Microstructure of tensile specimen at 90° according to sheet length.
Figure 10. Microstructure of tensile specimen at 90° according to sheet length.
Jmmp 08 00273 g010
Figure 11. The schematic of the Nakajima dies with standard dimensions and the specimen used. (all dimensions in mm).
Figure 11. The schematic of the Nakajima dies with standard dimensions and the specimen used. (all dimensions in mm).
Jmmp 08 00273 g011
Figure 12. Blank sheet engraving by laser.
Figure 12. Blank sheet engraving by laser.
Jmmp 08 00273 g012
Figure 13. Nakajima die during deformation in the WD-200E machine.
Figure 13. Nakajima die during deformation in the WD-200E machine.
Jmmp 08 00273 g013
Figure 14. Hecker’s method to determine the strain limit.
Figure 14. Hecker’s method to determine the strain limit.
Jmmp 08 00273 g014
Figure 15. FLC of Brass sheet before conducting pre-strain on samples.
Figure 15. FLC of Brass sheet before conducting pre-strain on samples.
Jmmp 08 00273 g015
Figure 16. Schematic representation of pre-strained brass sheet and fabrication of samples in tensile and rolling directions.
Figure 16. Schematic representation of pre-strained brass sheet and fabrication of samples in tensile and rolling directions.
Jmmp 08 00273 g016
Figure 17. Specimen after deformation using a hemispherical punch.
Figure 17. Specimen after deformation using a hemispherical punch.
Jmmp 08 00273 g017
Figure 18. Compared between FLCs of Brass before conducting pre-strain and with (0.04) pre-strain.
Figure 18. Compared between FLCs of Brass before conducting pre-strain and with (0.04) pre-strain.
Jmmp 08 00273 g018
Figure 19. Compared between FLCs of Brass before conducting pre-strain and with (0.06) pre-strain.
Figure 19. Compared between FLCs of Brass before conducting pre-strain and with (0.06) pre-strain.
Jmmp 08 00273 g019
Figure 20. Compared between FLCs of Brass before conducting pre-strain and with (0.08) pre-strain.
Figure 20. Compared between FLCs of Brass before conducting pre-strain and with (0.08) pre-strain.
Jmmp 08 00273 g020
Figure 21. Comparison between FLCs at different pre-strain%.
Figure 21. Comparison between FLCs at different pre-strain%.
Jmmp 08 00273 g021
Table 2. A. Mechanical properties of the Brass samples. B. The tested specimens were machined at different angles before and after the tensile test.
Table 2. A. Mechanical properties of the Brass samples. B. The tested specimens were machined at different angles before and after the tensile test.
Orientation to the Rolling Direction σ u t s
MPa
σ y
Mpa
Modulus of Elasticity
Gpa
Strength Coefficient
K
Mpa
Strain Hardening Exponent
n
Jmmp 08 00273 i001384.815098460.890.3
Jmmp 08 00273 i00245°382.4148.9984710.6
Jmmp 08 00273 i00390°38014596.54740.33
Jmmp 08 00273 i004
Table 3. Dimensions of Nakajima test samples (mm).
Table 3. Dimensions of Nakajima test samples (mm).
Sample NumberSp. 1Sp. 2Sp. 3Sp. 4Sp. 5Sp. 6Sp. 7
DimensionsJmmp 08 00273 i005Jmmp 08 00273 i006Jmmp 08 00273 i007Jmmp 08 00273 i008Jmmp 08 00273 i009Jmmp 08 00273 i010Jmmp 08 00273 i011
a20406080100120156
b3050100120120150156
c1008070503000
Disclaimer/Publisher’s Note: The statements, opinions and data contained in all publications are solely those of the individual author(s) and contributor(s) and not of MDPI and/or the editor(s). MDPI and/or the editor(s) disclaim responsibility for any injury to people or property resulting from any ideas, methods, instructions or products referred to in the content.

Share and Cite

MDPI and ACS Style

Abed, A.H.; Shwaish, R.R.; Abbas, A.A.; Mahdi, B.S.; Ahmed, W. Impact of Uniaxial Pre-Strains on the Forming Limit Curve (FLC) of CuZn 70-30 Brass Sheets for Enhanced Formability in Production Applications Using the Nakajima Test. J. Manuf. Mater. Process. 2024, 8, 273. https://doi.org/10.3390/jmmp8060273

AMA Style

Abed AH, Shwaish RR, Abbas AA, Mahdi BS, Ahmed W. Impact of Uniaxial Pre-Strains on the Forming Limit Curve (FLC) of CuZn 70-30 Brass Sheets for Enhanced Formability in Production Applications Using the Nakajima Test. Journal of Manufacturing and Materials Processing. 2024; 8(6):273. https://doi.org/10.3390/jmmp8060273

Chicago/Turabian Style

Abed, Aseel Hamad, Raed R. Shwaish, Asaad Ali Abbas, Baha S. Mahdi, and Waleed Ahmed. 2024. "Impact of Uniaxial Pre-Strains on the Forming Limit Curve (FLC) of CuZn 70-30 Brass Sheets for Enhanced Formability in Production Applications Using the Nakajima Test" Journal of Manufacturing and Materials Processing 8, no. 6: 273. https://doi.org/10.3390/jmmp8060273

APA Style

Abed, A. H., Shwaish, R. R., Abbas, A. A., Mahdi, B. S., & Ahmed, W. (2024). Impact of Uniaxial Pre-Strains on the Forming Limit Curve (FLC) of CuZn 70-30 Brass Sheets for Enhanced Formability in Production Applications Using the Nakajima Test. Journal of Manufacturing and Materials Processing, 8(6), 273. https://doi.org/10.3390/jmmp8060273

Article Metrics

Back to TopTop