Next Article in Journal
A Review of Magnetic Abrasive Finishing for the Internal Surfaces of Metal Additive Manufactured Parts
Previous Article in Journal
Stainless Steel 316L Fabricated by Fused Deposition Modeling Process: Microstructure, Geometrical and Mechanical Properties
 
 
Font Type:
Arial Georgia Verdana
Font Size:
Aa Aa Aa
Line Spacing:
Column Width:
Background:
Article

A Comparison of the Microstructure and Mechanical Properties of RSW and RFSSW Joints in AA6061-T4 for Automotive Applications

1
Department of Manufacturing Engineering, Ira A Fulton College of Engineering, Brigham Young University, CTB 265, Provo, UT 84604, USA
2
Toyota Motor North America, 151 Engineering Wy, Georgetown, KY 40324, USA
*
Author to whom correspondence should be addressed.
J. Manuf. Mater. Process. 2024, 8(6), 260; https://doi.org/10.3390/jmmp8060260
Submission received: 10 September 2024 / Revised: 29 October 2024 / Accepted: 5 November 2024 / Published: 14 November 2024

Abstract

To reduce vehicle weight and improve energy efficiency, automotive manufacturers are increasingly using aluminum body panels. However, the traditional joining method, Resistance Spot Welding (RSW), presents challenges like weld porosity and electrode degradation when used with aluminum. These issues have driven the industry to explore alternative, more effective methods for joining aluminum in vehicle manufacturing such as Refill Friction Stir Spot Welding (RFSSW). This research reports on a comparison of the microstructure and mechanical properties of welds made with RSW and RFSSW in AA6061-T4 automotive sheets. This comparison includes CT scanning, optical and SEM imaging, statistical microscopy, hardness testing, tensile testing, and fatigue testing. The results showed that RFSSW produced fully consolidated welds with a refined, equiaxed grain structure that outperformed RSW’s dendritic grain structure by as much as 73% in tensile testing and 2600% in fatigue testing. These results suggest that future designs utilizing RFSSW could incorporate fewer joints, reducing processing time, energy consumption, and tool wear. Cost studies also found that RFSSW consumes 2.5% of the energy that RSW does per joint, demonstrating that RFSSW is positioned as the preferred method for joining aluminum automotive sheets.

1. Introduction

As automotive manufacturers strive to create more energy-efficient vehicles, reducing vehicle weight has emerged as a key strategy. A leading method for lightweighting vehicles is the substitution of aluminum body panels in place of traditional steel panels. This switch alone can result in as much as a 50% reduction in the weight of the panels [1,2]. However, the switch from steel to aluminum body panels is not a trivial task as joining aluminum can be challenging. Resistance Spot Welding (RSW) is used to join steel body panels. RSW, shown in Figure 1, works by clamping the part with two copper electrodes while simultaneously applying a current. The current generates resistance at the interface of the two sheets, producing enough heat to melt the material. The current is then removed, and the material solidifies to form a weld nugget. While RSW has proved to be a reliable and cost-effective way to join steel, there are challenges when applied to joining aluminum. Specifically, RSW of aluminum alloys tends to produce porous welds that are prone to cracking [3,4]. RSW of aluminum also leads to accelerated degradation of the electrode due to the formation of inter-metallic compounds (IMCs). The formation of IMCs consumes the electrode and creates an insulating layer, resulting in the energy of the current being drawn away from the formation of a weld nugget and leading to poor weld quality [5]. The issues with weld porosity and electrode degradation during RSW of aluminum have been mitigated by the industry. However, the solutions employed add additional cost and time to the joining technology. As a result, automotive manufacturers are researching alternative methods for joining aluminum body panels.
Self-Piercing Rivets (SPRs) have become a popular alternative for joining aluminum body panels as it has proven to be reliable. Research comparing SPRs and RSW shows that while both joints have comparable static strengths, SPRs demonstrate greater fatigue life [6,7,8]. Despite these results, the cost and additional weight of having a rivet at each joint makes the process less attractive from a manufacturing perspective [6,7].
Friction Stir Spot Welding (FSSW), a predecessor to Refill Friction Stir Spot Welding (RFSSW), has been used previously in automotive joining of aluminum body panels. The most notable cases are in the Mazda RX-8 and the Toyota Prius [9,10]. FSSW is a solid-state joining process, using pressure, temperature, and strain to the material to create a diffusion bond [11,12]. FSSW does this by plunging a rotating pin tool into a lap joint configuration, utilizing frictional heat to soften the material which allows the pin to stir the material together.
Several studies have been performed comparing FSSW and RSW. Research by Mustafa et al., Karthikeyan et al., and Bozkurt et al. found that they were able to produce joints with higher tensile strength than RSW in a variety of aluminum alloys [13,14,15]. This research shows that FSSW has matured and is a capable joining process for aluminum alloys. However, slow cycle times (multiple seconds) and the presence of an exit hole has limited the adoption of FSSW in mass production.
In contrast, research in RFSSW, undertaken by Al-Zubaidy, Larsen et al., and Hovanski et al., has shown that sound RFSSW joints can be created with sub-one second cycle times, making the process very competitive with RSW from a manufacturing perspective [16,17,18]. Short cycle times combined with improved mechanical properties from a solid-state joining process, positions RFSSW to potentially replace RSW as the leading technology for joining aluminum body panels. RFSSW can be broken down into four stages: clamping, plunging, refilling, and lifting (Figure 2). RFSSW tooling consists of three pieces: the clamp, the shoulder, and the probe. During clamping, all three pieces move down together onto the work piece, ending with the clamp applying pressure onto the work piece to hold it in place. Next, during plunging, the rotating shoulder plunges into the work piece. Simultaneously, the rotating probe moves up and away from the work piece, creating a cavity that is filled by material that has been displaced by the shoulder. In the refilling stage, the shoulder and the probe move back to their original positions, refilling the joint with material. Finally, in lifting, all three pieces lift off the work piece, leaving a fully consolidated weld with a smooth flat top.
Because RFSSW is a solid-state process, the resulting RFSSW joint is believed to be stronger and more ductile than comparative RSW joints. It is also believed that RFSSW joints can be made with less energy consumption. However, little research has been conducted to compare both joining methods.
Direct comparisons of RFSSW and RSW have been conducted by both Dudek et al. and Schmal et al. [19,20]. Dudek et al. investigated the effects of corrosion protection methods on each joint type, while Schmal et al. investigated how each joining method combined with adhesives. In both studies, a base tensile strength of each joining method was reported before corrosion protection or adhesives were applied. Dudek et al. reported that the RSW joint was 11% stronger, while Schmal et al. reported that the RFSSW joint was 50% stronger. These contradictory results make it difficult to compare RFSSW and RSW as joining methods for aluminum sheets.
The goal of this study is to better quantify how RFSSW compares to RSW by providing detailed data on both technologies, making the comparison of the two technologies easier. This study presents a comprehensive comparison of the microstructure and the mechanical performance of both RFSSW joints and RSW joints. A plethora of material tests were used to quantify each joint type, including surface topography, cross-sectioning, CT scanning, statistical microscopy, microhardness testing, static tensile testing, and fatigue cycle testing.
In partnership with Toyota Motor North America, a door welding cell was selected as a case study. The cell utilized in this research uses nine industrial robots, creating eight unique RSW joints, and a total of 85 aluminum joints on every door. A previous study by the authors focused on evaluating the viability of using RFSSW in place of RSW in this welding cell [21]. The study utilized a digital twin to simulate both the current RSW process and a future RFSSW version of the process, considering cycle times, maintenance times, and tooling life. The study concluded that RFSSW is currently capable of producing the same quantity of doors as RSW currently does. These results incite a need to characterize the microstructure and mechanical performance of each technology side by side.

2. Materials and Methods

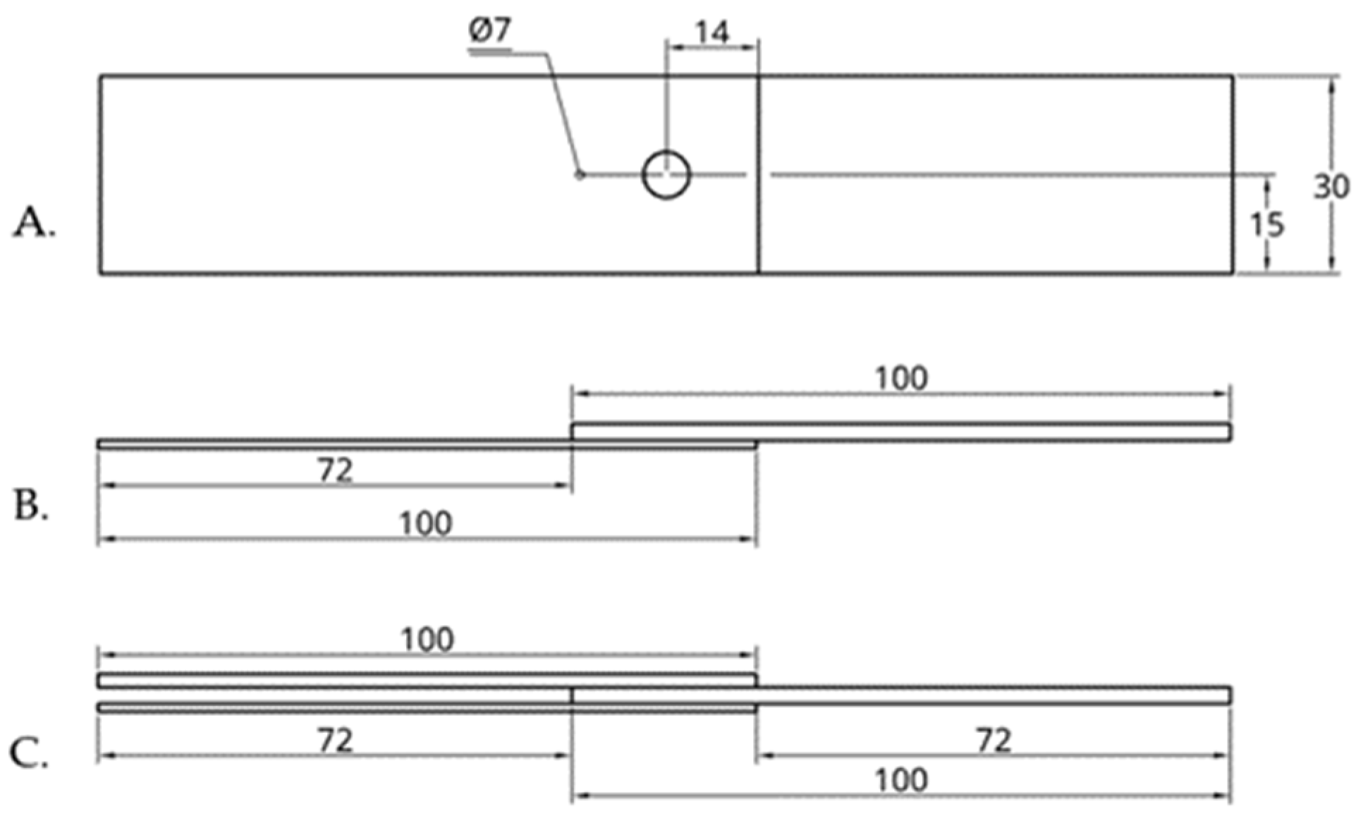
For this study, three unique stack-ups were chosen from the cell to represent a thin, median, and thick joint, shown in Table 1. All the joints in the cell are made from AA6061-T4 sheets, whose example composition and tested mechanical performance can be found in Table 2 and Table 3, respectively. It should be noted that the material was older than the manufacturer’s recommended 90-day shelf life and had thus naturally aged out of a true T4 state. Sample coupons were 100 mm × 30 mm and welded in a lap joint configuration with a 28 mm overlap, as shown in Figure 3. All material was welded in the condition it was received in, which best replicates the Toyota case study.
All RSW was performed by Toyota, utilizing an Obara servo driven weld gun, and applying Toyota-developed welding parameters. Details on RSW weld schedules and cycle times can be found in Table 4. All RFSSW was performed at Brigham Young University (BYU) in their Friction Stir Research lab, utilizing a Bond Technologies RFSSW end effector. The probe and shoulder were made of W360 tool steel with a diamond-like-carbon (DLC) coating. The clamp was made of H13 Tool Steel with a Ti-Carbide Di-Sulfide coating. Coatings were applied to the tools to increase the life of the tools, as demonstrated by Lauterbach et al. [24,25]. RFSSW parameters and cycle times, shown in Table 5, were optimized to achieve good surface finish and nugget pullout fractures. Nugget pullout fractures are a preferable failure method in automotive sheet welding as they are a more ductile fracture mode, making them more reliable and more energy absorbent than interfacial fractures.
Surface Topography images and cross-sectioned images were captured using a Keyence VHX-7000 digital microscope. Surface Topography testing allows for quantification of the surface finish of each technology, which is important when considering where welded joints can be located and what post-processing may be required to achieve acceptable product surface finishes. Cross-section samples were polished to 1 μm, then etched using Keller’s reagent (Table 6), and imaged on the Keyence at 100× magnification.
CT scans of the welds were captured with a Rigaku CT Lab GX scanner using 90 kV of voltage, 88 μA of current, and a voxel size of 72 μm. CT scanning allows for non-destructive and full-thickness verification of weld consolidation. Scans were taken through the entirety of the weld, moving perpendicular to the top of the weld. Three replicates of each joint were scanned; still shots of the scans are provided in this report.
Statistical microscopy was completed using a ThermoFisher Scientific Apreo C scanning electron microscope equipped with a TSL EBSD detector. Statistical microscopy allows for detailed and quantified analysis of the resulting microstructure of each technology, allowing for an improved insight into why each technology performed as it did. Samples were polished to 0.05 μm aluminum silica before scanning. Scans were taken with 20 kV, at 3.2 nA, and the resulting data were processed with OIM Analysis 8.
Microhardness testing was completed on a Suntec CM-402AT Vickers Micro Hardness indenter. Microhardness testing allows for quantification of the width of severity of the HAZ. Hardness points were measured every 0.25 mm in both the X and Y direction. A load of 300 g, held for 10 s, was used to create the indents.
Quasi-static tensile testing was completed on an Instron 4204 Tensile Tester. Samples were pulled at a rate of 10 mm/min, where the ultimate tensile strength (UTS) and the resulting force over displacement data were recorded. Tensile testing provides a quantitative comparison of the ultimate strength of each joint as well as the method of failure, which can indicate how much energy the joint can withstand before fracture. A spacer was placed on the thinner sheet to center the weld in the tester. For the three-sheet stack-up, an additional spacer was added between the outer sheets. Twelve replicates were pulled for each joint to ensure low sampling error.
Fatigue testing was completed on an MTS Series 809 Axial/Torsional test system. Fatigue testing provides a quantified measure for how the joint will perform across the life of the product. A tension–tension fatigue test was conducted using forces set at 80%, 60%, and 30% UTS of the weaker weld technology, with an R value of 0.1. Three replicates were run for all 80% and 60% tests to reduce sampling error. Only one sample was run at 30% because of time restraints. An additional set of fatigue testing was performed at 80%, 60%, and 30% UTS of the stronger weld, again with an R value of 0.1. Run out was defined as 1 million cycles.

3. Results and Discussion

3.1. Weld Surface

Figure 4 shows the surface profiles of each joint in this study. The two joining processes each create a unique surface finish; specifically, RSW creates a crater-like surface indentation, whereas RFSSW results in a smoother, step-down feature. The nominal range of depth for each of the welds is reported in Table 7. The RSW surface finish remained very consistent in both shape and depth across the three-weld stack-ups. It should be noted that, while one profile is shown, the profile is imprinted onto both sides of the coupon. The same clamping pressure was also used across all the RSW joints. In contrast, the RFSSW feature depth continued to increase as the weld stack-up became thicker. This is because, as the material stack-up increases in thickness, the RFSSW tool set must heat and plunge through more material, requiring more force. The increased force required for deeper welds inherently leaves a deeper imprint on the surface. Increased force can also induce flash forming around the edge of the weld. This is caused by a combination of high forces extruding material into the gap between the shoulder and the clamp, as well as that gap increasing as the outer diameter of the shoulder wears through normal use.
For both technologies, the surface indentation is considered minimal by automotive standards and can easily be smoothed over with current paint techniques. This allows both joining methods to be in areas of the vehicle that are visible to the consumer. However, the difference in surface indentation results in the RSW joint being as much as 400% thinner than the RFSSW joint, remembering that the RSW indentation is on both sides of the part. The thinning of the joint will have a negative impact on the mechanical performance of the joint.

3.2. Weld Consolidation

CT scanning is an effective, nondestructive evaluation method for void detection. Scans of the RFSSW joints showed that all the welds were fully consolidated. In contrast, scans of RSW joints only showed full consolidation in both the 0.8 mm/1.2 mm and the 2.5 mm/1.2 mm stack-ups, and notable void formation in the center of the 2.0 mm/2.5 mm/1.2 mm weld nugget. Void formation in RSW occurs due to aluminum’s changing solubility for hydrogen during phase changes. More specifically, molten aluminum has a high solubility for hydrogen from the surrounding atmosphere, creating a solution of aluminum and hydrogen. During solidification, aluminum’s solubility of hydrogen reduces, and the excess hydrogen escapes and forms bubbles within the weld, resulting in void formation in the weld nugget. The appearance of voids in the thickest stack-up is likely due to there being excessive heat and liquid material without an adequate amount of time before solidification for the hydrogen to escape. Increasing the slope down time would likely mitigate this issue. As RFSSW is a solid-state process, this problem is avoided. A comparison of CT scans from a RFSSW joint and a RSW joint is shown in Figure 5.

3.3. Microstructure

3.3.1. Statistical Microstructure

EBSD scans were performed on the nugget center and the nugget edge into the heat affected zone (HAZ) of both the RFSSW and RSW 0.8 mm/1.2 mm joints (Figure 6A). The scans showed that RFSSW produced a refined equiaxed grain structure while RSW produced a dendritic grain structure (Figure 6B). The equiaxed grain structure in RFSSW should result in a more ductile joint as this grain structure resists crack initialization and instead can evenly distribute stress across the entire joint. In contrast, RSW’s dendritic grain structure, which resembles a jagged tree-like structure, is prone to forming stress concentrations that result in crack initialization in the weld nugget, resulting in a more brittle joint [26,27]. The average in-nugget grain sizes of RFSSW and RSW are 2.58 μm and 64.83 μm, respectively. The distribution on grain sizes is given in Figure 6C.
While the heat affected zone (HAZ) does not go through any significant grain restructuring, the heat from the weld does cause grain growth in this region. As defined by the Hall–Petch relationship, this grain growth results in the material becoming softer in this region than the surrounding base material. Figure 6B shows the HAZ of both RFSSW and RSW in the 0.8 mm/1.2 mm stack-up. The EBSD scan of the RFSSW weld shows a minimal HAZ without a clear interface between the weld nugget and the HAZ. The high speed of this weld (250 ms cycle time) resulted in little heat input and resulted in an extremely small HAZ. Previous research has demonstrated that slower cycle times, similar to the other two stack-ups, do produce a HAZ [28,29]. The interface between the weld nugget and the HAZ of the RSW is clear, as the grain size and structure are notably different. In RSW, the grains in the HAZ are smaller than those in the weld nugget and are oriented and elongated in the rolling direction of the sheet.

3.3.2. Hardness Testing

In both welding technologies, the generated heat has a negative impact on the hardness and strength of the weld. Figure 7 shows that in RFSSW, the heat is generated in a column known as the stir zone and dissipates outward, while in RSW, the heat is generated at the material interface, forms a weld nugget, and dissipates out radially. Testing showed that the stir zone of the RFSSW is between 5 and 10 Vickers harder than that of the weld nugget in RSW. In RSW, the HAZ remains similar in size across all the weld stack-ups as the energy input into each weld is similar. In contrast, the RFSSW HAZ increases as the stack-up thickness increases. This correlation exists because, as the weld stack-up becomes thicker, RFSSW parameters are changed to increase the energy input, resulting in a larger and more severe HAZ. It can also be observed that after RFSSW in the thicker stack-ups, the top sheet is notably softer than the bottom sheet(s). This is because the tool enters and extracts from the top, exposing it to the most friction and, therefore, the most heat.

3.4. Mechanucal Properties

3.4.1. Static Tensile Testing

The average tensile strength of each weld is reported in Table 8. All RFSSW joints experienced nugget pullout as their fracture mode, while only the 0.8 mm/1.2 mm RSW joint experienced nugget pullout. The remaining two RSW joints experienced an interfacial fracture across the weld nugget. Each of these fractures’ modes is pictured in Figure 8A. A notable trend is the increasing difference in UTS between RSW and RFSSW as the total sheet thickness increases (Figure 8B). The strength of joints created with RFSSW are correlated with the overall sheet thickness. This is because these joints fail in the HAZ and, as the base material gets thicker, more force is required to fracture them. In contrast, the RSW weld nugget, which is a comparably smaller amount of material than the surrounding HAZ, governs the strength of the joint, resulting in the joint strength being reliant on the size of the weld nugget generated.
Elongation at UTS for each weld stack-up is given in Table 9. Like the tensile strengths, similar elongation was achieved by RFSSW and RSW in the 0.8 mm/1.2 mm stack-up, but an increasing difference in elongation appears between RFSSW and RSW as the joint thickness increases (Figure 9A). This gap can be attributed to the different grain structures and resulting fracture mechanics that each welding technology produces. Figure 9B shows SEM imaging of the fracture surfaces for both RFSSW’s nugget pullout, featuring ductile dimple rupture, and RSW’s interfacial fracture, featuring brittle fracture for the 2.5 mm/1.2 mm stack-up. Ductile dimple rupture is characterized by soft rolling peaks (dimples) prevailing across the surface of the fracture. In contrast, brittle fracture is characterized by flat surfaces with sharp, cliff-like edges.
In an automotive application, increased joint strength and elastic failure results in a joint that will be considered more robust, as it should be able to take shock loads better. This means that the RFSSW joint can absorb more energy in the event of a crash. This advantage in strength and energy absorption is emphasized in the 2.0 mm/2.5 mm/1.2 mm stack-up, which is a high load area of the door.

3.4.2. Fatigue Testing

Fatigue testing loads were conducted at 80%, 60%, and 30% of the UTS of the RSW joints for each stack-up, as RSW had the lower tensile strength in each case (Table 10). The results for the fatigue testing of each stack-up, 0.8 mm/1.2 mm, 2.5 mm/1.2 mm, and 2.0 mm/2.5 mm/1.2 mm, are reported in Table 11, Table 12, and Table 13, respectively. These results show that the RFSSW joints have both higher and more consistent fatigue strength than their RSW counterparts. Even in the case of the 2.0 mm/2.5 mm/1.2 mm stack-up, where the RFSSW fatigue life standard deviation is higher, the overall higher fatigue life still makes this joint more reliable. Further development of that weld could also reduce that standard deviation. All RFSSW fatigue fractures were nugget pullouts, as seen in the tensile test. All RSW fatigue fractures were interfacial fractures of the weld nugget. This can be attributed to the different grain structures produced by the welding technologies. RSW’s dendritic grain structure results in irregularly-shaped grains that are prone to forming stress concentration, resulting in fatigue crack initialization in the weld nugget. In contrast, RFSSW’s refined equiaxed grain structures resist crack initiation, leading to increased fatigue strength in the weld and the resulting nugget pullout fracture. Like the tensile and elongation results, the difference in fatigue strength between RFSSW and RSW increases as the joint thickness increases (Figure 10).
In application, fatigue strength establishes how robust and reliable the joints are. The increased fatigue strength and reduced standard deviation of the RFSSW joints allows engineers to design higher loads on the joints. This can result in future designs utilizing RFSSW to have fewer joints, reducing the overall processing time.
Additional fatigue testing of the RFSSW joints was completed with RFSSW-based loading conditions for better quantification of its fatigue performance. The loading conditions for these tests (Table 14) were 80%, 60%, and 30% UTS of the RFSSW joint. The resulting loading forces were notably higher than the RSW loading conditions used above. The results of the fatigue testing (Table 15) showed that RFSSW has a very consistent fatigue performance across two-sheet stack-ups, in both high and medium loading conditions, and improved fatigue performance in the three-sheet stack-ups. In all cases, the RFSSW experienced nugget pullout as its fracture mode.

4. Environmental Considerations

Other factors outside of microstructure and mechanical performance are critical in manufacturing, and should be considered when selecting a joining technology. One example is Toyota’s 2050 challenge, which is Toyota’s commitment to reduce their carbon footprint and overall energy consumption. So, to quantify the energy consumption of each technology, power draw was measured on both the BOND RFSSW end effector and the Obara servo driven RSW gun. Power was measured between the power source and the machine while a single spot weld was made, resulting in the power consumed by each machine per spot weld. Each machine was evaluated on the 2.5 mm/1.2 mm stack-up presented in this paper. In the case of the BOND RFSSW end effector, current was measured, and a constant voltage was assumed. Measurements of the Obara servo driven RSW gun measured both the current and voltage going into the machine. The results (Table 16) showed that the RFSSW end effector consumed 1 watt hour per spot, while the RSW end effector consumed 40 watt hours per spot. This drastic difference in energy consumption can be attributed to the different heating methods of each technology. The RFSSW end effector consumes energy to power servo-driven tools which creates frictional heat, while RSW must pass energy through invertors, transformers, and then into the work piece to create heat from electrical resistance. While the efficiencies of the subsystems and heating methods for each technology are outside the scope of this work, it is evident that RFSSW is a more energy-efficient method. With the average vehicle having 5000 spot welds, the difference between RFSSW and RSW could be as much as 195 kilowatt hours of energy per vehicle, potentially having a significant impact on both the economic and environmental cost of making a vehicle.
Another factor to consider is the cost of the wear items. In RSW of aluminum, the main wear item is the electrodes. A private, independent quote for 1000 RSW electrode sets was acquired, reporting the cost of an RSW electrode set to be USD 1.96. With an average RSW electrode set lasting for 2500 spots in the Toyota weld cell, the cost per spot of RSW tooling works out to be USD 0.0008. In RFSSW, the tool set is the main wear item. A private, independent quote for 1000 coated RFSSW tool sets was acquired, reporting the cost of a RFSSW tool set at USD 385. An internal study at BYU showed that a coated W360 steel tool set, the same used in this research, could produce 5000 spots in AA6061-T4 without a notable drop off in weld quality. As such, this calculation will make a conservative assumption that an RFSSW tool can create 5000 spots, leading to a tooling cost of USD 0.08 per spot, resulting in RFSSW consumables costing two orders of magnitude more than RSW’s.
However, ongoing research is working to bring down that cost by increasing the life of RFSSW tools. Research conducted by Belnap et al. has begun characterizing the effects of more suitable tool materials such as tungsten carbide (WC) on RFSSW weld quality, while work conducted by Masahiro et al. recently reported a RFSSW tool life of over 200,000 spot welds by utilizing a combination of WC tools and a novel tool cleaning solution [30,31,32]. These results could bring the cost of RFSSW tooling to below USD 0.01 per spot. Another RFSSW tool cost reduction method would be to only replace the shoulder while retaining the clamp and the probe for longer periods. It is well documented that the shoulder wears much faster than both the clamp and the probe [11,24,25]. Adding this method with Masahiro et al.’s method could result in tooling costs that are equal to, or less than, that of RSW.

5. Conclusions

This research presented a comprehensive comparison of the microstructure and mechanical performance of RFSSW and RSW joints in AA6061-T4. The data showed that the two technologies created quite different surface topographies and microstructures. RFSSW consistently produced a step-down feature on the top surface, while RSW created a crater-like feature on both surfaces. RFSSW welds were shown to be completely consolidated in all three stack-ups, while only the two thinnest RSW stack-ups were fully consolidated, with void formation taking place in the thickest stack-up. RFSSW created a refined equiaxed grain structure while RSW created a dendritic grain structure. These different grain structures lead to notable differences in the mechanical performance of each technology. In mechanical performance testing, RFSSW joints consistently outperformed RSW joints in both tensile and fatigue strength. RFSSW joints always experienced nugget pullout fracture, correlating the strength of the joint with the thickness of the stack-up. In contrast, as RSW stack-ups became thicker, the fracture mode switched from nugget pullout to interfacial fracture. This leads to the conclusion that the RSW joint strength was tied to the size and strength of the weld nugget, which was consistently weaker than the surrounding HAZ.
RFSSW has a large advantage over RSW in energy conservation, consuming 2.5% of the energy for a given spot weld. Future work could be conducted to better quantify that difference across a wider variety of stack-ups and materials, as well as the overall environmental impact of each technology. RSW has a notably cheaper consumable cost per spot compared to RFSSW. However, future research should be conducted to assess the life span and welding quality of WC tooling, which will help reduce the tooling cost of RFSSW to be closer to that of RSW.
The superior mechanical performance of RFSSW compared to RSW could allow future designs to require fewer welded joints. Not only would this result in less overall processing time, but it would also further reduce the energy consumption of the process and the wear rate on the tooling. A full quantification of this effect would require design work that is outside of the scope of this paper. However, with RFSSW’s tensile and fatigue life being magnitudes stronger than that of RSW’s, a design change would result in a significant processing advantage.
RFSSW has clearly shown to be a competitive joining method in AA6061-T4 automotive sheets, often outperforming RSW in mechanical performance. RFSSW will likely show similar advantages across other 5xxx and 6xxx series aluminum alloys and across a myriad of industries. RFSSW’s ability to weld historically unwelded alloys such as 2xxx and 7xxx series, as well as dissimilar materials, are also advantages that a myriad of industries could exploit. With continued advances in cycle time reduction and tool life expansion, RFSSW is positioned to become the preferred method for joining thin sheet aluminum.
  • RSW’s average surface feature depth is 270 μm while RFSSW’s average surface feature depth is 183 μm.
  • RSW was able to create fully consolidated, void-free welds in 0.8 mm/1.2 mm and 2.5 mm/1.2 mm stack-ups, but created voids in the 2.0 mm/2.5 mm/1.2 mm stack-up, while RFSSW was able to create consolidated welds in all three stack-ups.
  • RSW created dendritic grains with an average grain size of 64.83 μm, while RFSSW created refined equiaxed grains with an average grain size of 2.58 μm.
  • RFSSW weld nuggets were consistently 5–10 Vickers harder than RSW weld nuggets.
  • RFSSW outperformed RSW in quasi-static tensile strength, with RFSSW joints being between 16 and 73% stronger than RSW joints.
  • RFSSW outperformed RSW in quasi-static elongation, with RFSSW joints having as much as 53% more elongation at UTS.
  • RFSSW outperformed RSW in fatigue strength, with RFSSW joints achieving as much as 2600% more cycles before fracture.
  • RFSSW used 2.5% the energy that RSW used to create a single spot weld.
  • RFSSW tooling costs approximately USD 0.08 per spot while RSW tooling costs approximately USD 0.0008 per spot.

Author Contributions

Conceptualization, D.G. and Y.H.; methodology, D.G., Y.H., T.S., K.N. and J.C.; software, Y.H. and T.S.; validation, D.G. and T.S.; formal analysis, D.G.; investigation, D.G. and T.S.; data curation, D.G and Y.H.; writing—original draft preparation, D.G.; writing—review and editing, D.G., K.N. and Y.H.; visualization, D.G.; supervision, Y.H.; project administration, Y.H.; funding acquisition, Y.H. All authors have read and agreed to the published version of the manuscript.

Funding

This research was funded by the NSF IUCRC—Center for Friction Stir Processing under account #R0602623 through Brigham Young University Friction Stir Research Lab.

Data Availability Statement

Data are contained within the article.

Acknowledgments

We acknowledge the BYU Electron Microscopy Facility for providing access to the equipment and expertise that aided in this research.

Conflicts of Interest

Authors Kate Namola and Jeremy Coyne were employed by Toyota Motor North America company. The remaining authors declare that the research was conducted without any commercial or financial relationships that could be construed as a potential conflict of interest.

References

  1. Tisza, M.; Czinege, I. Comparative study of the application of steels and aluminium in lightweight production of automotive parts. Int. J. Lightweight Mater. Manuf. 2018, 1, 229–238. [Google Scholar] [CrossRef]
  2. Ungureanu, C.; Das, S.; Jawahir, I. Life-cycle cost analysis: Aluminum versus steel in passenger cars. TMS (Miner. Met. Mater. Soc.) 2007, 1, 11–24. [Google Scholar]
  3. Kimchi, M.; Phillips, D.H. Resistance Spot Welding Fundamentals and Applications for the Automotive Industry; Springer Nature: Berlin, Germany, 2018. [Google Scholar]
  4. Ambroziak, A.; Korzeniowski, M. Using resistance spot welding for joining aluminium elements in automotive industry. Arch. Civ. Mech. Eng. 2010, 10, 5–13. [Google Scholar] [CrossRef]
  5. Boomer, D.R.; Hunter, J.A.; Castle, D.R. A new approach for robust high-productivity resistance spot welding of aluminium. J. Mater. Manuf. 2003, 112, 280–292. [Google Scholar]
  6. Li, D.; Chrysanthou, A.; Patel, I.; Williams, G. Self-piercing riveting-a review. Int. J. Adv. Manuf. Technol. 2017, 92, 1777–1824. [Google Scholar] [CrossRef]
  7. Briskham, P.; Blundell, N.; Han, L.; Hewitt, R.; Young, K.; Boomer, D. Comparison of self-pierce riveting, resistance spot welding and spot friction joining for aluminium automotive sheet. SAE Int. J. Mater. Manuf. 2006, 2034. [Google Scholar] [CrossRef]
  8. Khanna, S.; Long, X.; Krishnamoorthy, S.; Agrawal, H. Fatigue properties and failure characterisation of self-piercing riveted 6111 aluminium sheet joints. Sci. Technol. Weld. Join. 2006, 11, 544–549. [Google Scholar] [CrossRef]
  9. Mazda develops world’s first aluminum joining technology using friction heat. Mazda Media Release. Available online: https://newsroom.mazda.com/en/publicity/release/2003/200302/0227e.html (accessed on 15 July 2024).
  10. Yamaguchi, J. Toyota Prius: AEI best engineered vehicle 2004. Automot. Eng. Int. 2004, 42, 58–76. [Google Scholar]
  11. De Castro, C.C.; Shen, J.; Plaine, A.H.; Suhuddin, U.F.H.; De Alcântara, N.G.; Dos Santos, J.F.; Klusemann, B. Tool wear mechanisms and effects on refill friction stir spot welding of AA2198-T8 sheets. J. Mater. Res. Technol. 2022, 20, 857–866. [Google Scholar] [CrossRef]
  12. Li, Z.; Ji, S.; Ma, Y.; Chai, P.; Yue, Y.; Gao, S. Fracture mechanism of refill friction stir spot-welded 2024-T4 aluminum alloy. Int. J. Adv. Manuf. Technol. 2016, 86, 1925–1932. [Google Scholar] [CrossRef]
  13. Kulekci, M.K.; Esme, U.; Er, O. Experimental comparison of resistance spot welding and friction-stir spot welding processes for the en aw 5005 aluminum alloy. Mater. Tehnol. 2011, 45, 395–399. [Google Scholar]
  14. Karthikeyan, R.; Balasubramaian, V. Optimization of electrical resistance spot welding and comparison with friction stir spot welding of AA2024-T3 aluminum alloy joints. Mater. Today Proc. 2017, 4, 1762–1771. [Google Scholar] [CrossRef]
  15. Bozkurt, Y.; Turker, A.; Soytemeiz, G.; Salman, S. The Investigation and Comparison of Friction Stir Spot Welding and Electrical Resistance Spot Welding of AA2024 Aluminium Alloy Joints. Eur. J. Eng. Nat. Sci. 2019, 3, 52–58. Available online: https://dergipark.org.tr/en/pub/ejens/issue/46392/487418 (accessed on 26 August 2024).
  16. Al-Zubaidy, B.M.M. Material Interactions in a Novel Refill Friction Stir Spot Welding Approach to Joining Al-Al and Al-Mg Automotive Sheets. Ph.D. Thesis, The University of Manchester, Manchester, UK, 2017. [Google Scholar]
  17. Larsen, B.; Hovanski, Y. Reducing Cycle Times of Refill Friction Stir Spot Welding in Automotive Aluminum Alloys; SAE: Warrendale, PA, USA, 2020. [Google Scholar]
  18. Hovanski, Y.; Curtis, A.; Michaelis, S.; Blackhurst, P.; Larsen, B. Advances in Refill Spot Welding Productivity; The Minerals, Metals & Materials Series; Springer International Publishing: Cham, Switzerland, 2021; pp. 189–197. [Google Scholar]
  19. Dudek, A.; Andres, J.; Wronska, A.; Login, W. Effect of Corrosion Protection Method on Properties of RSW and RFSSW Lap Joints Applied in Production of Thin-Walled Aerostructures. Materials 2020, 13, 1841. [Google Scholar] [CrossRef]
  20. Schmal, C.; Meschut, G. Refill friction stir spot and resistance spot welding of aluminium joints with large total sheet thicknesses (III-1965-19). Weld. World 2020, 64, 1471–1480. [Google Scholar] [CrossRef]
  21. Gale, D.; Hovanski, Y.; Coyne, J.; Namola, K. A Manufacturing Performance Comparison of RSW and RFSSW Using a Digital Twin; SAE: Warrendale, PA, USA, 2024. [Google Scholar]
  22. Aluminum Alloy 6061 General Description. Available online: https://unitedaluminum.com/6061-aluminum-alloy/ (accessed on 25 July 2024).
  23. ASTM E8/E8m-22; Standard Test Methods for Tension Testing of Metallic Materials. ASTM International: West Conshohocken, PA, USA, 2022. [CrossRef]
  24. Lauterbach, D.; Keil, D.; Harms, A.; Leupold, C.; Dilger, K. Tool wear behaviour and the influence of wear-resistant coatings during refill friction stir spot welding of aluminium alloys. Weld. World 2021, 65, 243–250. [Google Scholar] [CrossRef]
  25. Lauterbach, D.; Keil, D.; Harms, A.; Schulze, M.; Dilger, K. Influence of Tool Wear on Weld Quality in Refill Friction Stir Spot Welding of Aluminium. In Proceedings of the 2nd International Conference on Advanced Joining Processes (AJP 2021), Sintra, Portugal, 21–22 October 2021; Springer International Publishing: Cham, Switzerland, 2022; pp. 57–69. [Google Scholar]
  26. Jian, H.; Wang, Y.; Yang, X.; Xiao, K. Microstructure and fatigue crack growth behavior in welding joint of Al-Mg alloy. Eng. Fail. Anal. 2021, 120, 105034. [Google Scholar] [CrossRef]
  27. Zhang, Y.; Li, H.; Li, Z.; Mariusz, B.; Senkara, J. Quantitative analysis of the solute redistribution and precipitate of Al–Mg–Si series alloys resistance spot welds after post-weld heat treatment. J. Mater. Res. Technol. 2021, 15, 5906–5919. [Google Scholar] [CrossRef]
  28. Cao, J.Y.; Wang, M.; Kong, L.; Zhao, H.X.; Chai, P. Microstructure, texture and mechanical properties during refill friction stir spot welding of 6061-T6 alloy. Mater. Charact. 2017, 128, 54–62. [Google Scholar] [CrossRef]
  29. Liu, Y.; Bi, J.; Yang, D. Microstructure and Mechanical Properties of Refill Friction Stir Spot Welded 6005 Al Alloy Butt Joints. JOM 2022, 74, 2838–2845. [Google Scholar] [CrossRef]
  30. Belnap, R.; Smith, T.; Blackhurst, P.; Cobb, J.; Misak, H.; Bosker, J.; Hovanski, Y. Evaluating the Influence of Tool Material on the Performance of Refill Friction Stir Spot Welds in AA2029. J. Manuf. Mater. Process. 2024, 8, 88. [Google Scholar] [CrossRef]
  31. Belnap, R.; Smith, T.; Wright, A.; Hovanski, Y. Considerations for Tungsten Carbide as Tooling in RFSSW. Materials 2024, 17, 3799. [Google Scholar] [CrossRef] [PubMed]
  32. Miyake, M.; Yoshikawa, S.; Takeoka, N.; Ohashi, R.; Edagawa, T. Development of robot system for Refill Friction Stir Spot Welding. In Proceedings of the International Symposium on Friction Stir Welding, Kyoto, Japan, 23 May 2024. [Google Scholar]
Figure 1. The RSW process.
Figure 1. The RSW process.
Jmmp 08 00260 g001
Figure 2. The four stages of RFSSW: (A) clamping, (B) plunging, (C) refilling, and (D) lifting.
Figure 2. The four stages of RFSSW: (A) clamping, (B) plunging, (C) refilling, and (D) lifting.
Jmmp 08 00260 g002
Figure 3. (A) Drawing of the test coupon’s width, height, and weld placement in (B) 2 sheet stack-ups and (C) 3 sheet stack-ups.
Figure 3. (A) Drawing of the test coupon’s width, height, and weld placement in (B) 2 sheet stack-ups and (C) 3 sheet stack-ups.
Jmmp 08 00260 g003
Figure 4. Surface profiles of RFSSW and RSW.
Figure 4. Surface profiles of RFSSW and RSW.
Jmmp 08 00260 g004
Figure 5. CT Scan images of 2.0 mm/2.5 mm/1.2 mm stack-up utilizing: (A) RFSSW, (B) RSW.
Figure 5. CT Scan images of 2.0 mm/2.5 mm/1.2 mm stack-up utilizing: (A) RFSSW, (B) RSW.
Jmmp 08 00260 g005
Figure 6. (A) Locations of EBSD scans for RFSSW (Top) and RSW (Bottom); (B) Grain maps of RFSSW (Left) and RSW (Right) at 1000× magnification; (C) Grain size distribution of RFSSW (I. nugget center and II. Nugget edge) and RSW (III. Nugget center and IV. Nugget edge).
Figure 6. (A) Locations of EBSD scans for RFSSW (Top) and RSW (Bottom); (B) Grain maps of RFSSW (Left) and RSW (Right) at 1000× magnification; (C) Grain size distribution of RFSSW (I. nugget center and II. Nugget edge) and RSW (III. Nugget center and IV. Nugget edge).
Jmmp 08 00260 g006
Figure 7. Microhardness heat maps of RFFSW and RSW welds (Vickers).
Figure 7. Microhardness heat maps of RFFSW and RSW welds (Vickers).
Jmmp 08 00260 g007
Figure 8. (A) Fracture modes (nugget pullout and interfacial fracture); (B) Difference in tensile strength between RFSSW and RSW.
Figure 8. (A) Fracture modes (nugget pullout and interfacial fracture); (B) Difference in tensile strength between RFSSW and RSW.
Jmmp 08 00260 g008
Figure 9. (A) Elongation at UTS for RFSSW and RSW; (B) SEM images at 2500× magnification of the fracture surfaces, RFSSW (ductile dimple) and RSW (brittle fraction).
Figure 9. (A) Elongation at UTS for RFSSW and RSW; (B) SEM images at 2500× magnification of the fracture surfaces, RFSSW (ductile dimple) and RSW (brittle fraction).
Jmmp 08 00260 g009
Figure 10. Fatigue life curves of RFSSW and RSW.
Figure 10. Fatigue life curves of RFSSW and RSW.
Jmmp 08 00260 g010
Table 1. Three joint stack-ups tested.
Table 1. Three joint stack-ups tested.
Joint
Stack-Ups:
0.8 mm/1.2 mm2.5 mm/1.2 mm2.0 mm/2.5 mm/1.2 mm
Table 2. Chemical composition of AA6061-T4 [22].
Table 2. Chemical composition of AA6061-T4 [22].
AlMgSiFeCuCrZnMnTi
Bal.0.8–1.20.4–0.80.70.15–0.40.04–0.350.250.150.15
Table 3. Tested material properties of each sheet. Testing was completed in accordance with ASTM E8/E8m-22 [23].
Table 3. Tested material properties of each sheet. Testing was completed in accordance with ASTM E8/E8m-22 [23].
Sheet
Thickness
Yield Strength
(0.2% Strain)
Tensile StrengthElongation %
0.8 mm100 MPa279 MPa23.4%
1.2 mm94 MPa271 MPa25.8%
2.0 mm102 MPa256 MPa29.2%
2.5 mm109 MPa251 MPa29.5%
Table 4. RSW welding schedule.
Table 4. RSW welding schedule.
CurrentPressureTime
Pre-Weld12 kA (2 Sheet Stack-Ups)
20 kA (3 Sheet Stack-Ups)
5 kN162 ms
Weld35 kA5 kN292 ms
TotalNaNA454 ms
Table 5. RFSSW welding parameters.
Table 5. RFSSW welding parameters.
Spindle RPMShoulder PlungeTime
0.8 mm/1.2 mm2200 RPM1.2 mm250 ms
2.5 mm/1.2 mm2500 RPM3.0 mm1000 ms
2.0 mm/2.5 mm/1.2 mm2500 RPM5.0 mm1750 ms
Table 6. Composition of Keller’s reagent used for etching.
Table 6. Composition of Keller’s reagent used for etching.
Distilled WaterNitric AcidHydrochloric AcidHydrofluoric Acid
Balance15%10%5%
Table 7. Nominal depth of RFSSW and RSW joints.
Table 7. Nominal depth of RFSSW and RSW joints.
0.8 mm/1.2 mm2.5 mm/1.2 mm2.0 mm/2.5 mm/1.2 mm
RSW Depth280 μm240 μm290 μm
RFSSW Depth140 μm160 μm250 μm
Table 8. UTS and standard deviation for each weld.
Table 8. UTS and standard deviation for each weld.
0.8 mm/1.2 mm2.5 mm/1.2 mm2.0 mm/2.5 mm/1.2 mm
RSW UTS2481 N3662 N7102 N
RSW STD129 N92 N405 N
RFSSW UTS2878 N5308 N12297 N
RFSSW STD169 N34 N429 N
Table 9. Elongation and standard deviation at UTS.
Table 9. Elongation and standard deviation at UTS.
0.8 mm/1.2 mm2.5 mm/1.2 mm2.0 mm/2.5 mm/1.2 mm
RSW Elongation1.22 mm1.38 mm1.93 mm
RSW STD0.06 mm0.10 mm0.17 mm
RFSSW Elongation1.27 mm2.94 mm3.59 mm
RFSSW STD0.14 mm0.14 mm0.57 mm
Table 10. Fatigue test forces at RSW loads with an R value of 0.1.
Table 10. Fatigue test forces at RSW loads with an R value of 0.1.
0.8 mm/1.2 mm2.5 mm/1.2 mm2.0 mm/2.5 mm/1.2 mm
80% UTS1985 N–248 N2930 N–366 N5681 N–710 N
60% UTS1489 N–248 N2197 N–366 N4261 N–710 N
30% UTS744 N–248 N1099 N–366 N2130 N–710 N
Table 11. Reported average cycles to fracture and standard deviation of fatigue testing for 0.8 mm/1.2 mm.
Table 11. Reported average cycles to fracture and standard deviation of fatigue testing for 0.8 mm/1.2 mm.
0.8 mm/1.2 mm80% UTS60% UTS30% UTS
RSW Average Cycles32548381,000,000
RSW STD2893717NA
RFSSW Average Cycles371659201,000,000
RFSSW STD166309NA
Table 12. Reported average cycles to fracture and standard deviation of fatigue testing for 2.5 mm/1.2 mm.
Table 12. Reported average cycles to fracture and standard deviation of fatigue testing for 2.5 mm/1.2 mm.
2.5 mm/1.2 mm80% UTS60% UTS30% UTS
RSW Average Cycles111189181,000,000
RSW STD1222783NA
RFSSW Average Cycles603093,4631,000,000
RFSSW STD1197319NA
Table 13. Reported average cycles to fracture and standard deviation of fatigue testing for 2.0 mm 2.5 mm/1.2 mm.
Table 13. Reported average cycles to fracture and standard deviation of fatigue testing for 2.0 mm 2.5 mm/1.2 mm.
2.0 mm/2.5 mm/1.2 mm80% UTS60% UTS30% UTS
RSW Average Cycles3586140,3031,000,000
RSW STD350114,118NA
RFSSW Average Cycles99,202324,9111,000,000
RFSSW STD21,19098,688NA
Table 14. Fatigue test loads for RFSSW stack-ups.
Table 14. Fatigue test loads for RFSSW stack-ups.
0.8 mm/1.2 mm2.5 mm/1.2 mm2.0 mm/2.5 mm/1.2 mm
80% UTS2302 N–288 N4240 N–530 N9837 N–1230 N
60% UTS1727 N–288 N3180 N–530 N7378 N–1230 N
30% UTS863 N–288 N1590 N–530 N3689 N–1230 N
Table 15. Reported average cycles to fracture and standard deviation of fatigue testing of RFSSW stack-ups.
Table 15. Reported average cycles to fracture and standard deviation of fatigue testing of RFSSW stack-ups.
RFSSW80% UTS60% UTS30% UTS
0.8 mm/1.2 mm Average5782560463,565
0.8 mm/1.2 mm STD147738NA
2.5 mm/1.2 mm Average6202586829,266
2.5 mm/1.2 mm STD122352NA
2.0 mm/2.5 mm/1.2 mm Average282130,2541,000,000
2.0 mm/2.5 mm/1.2 mm STD3777979NA
Table 16. Energy consumption of RFSSW and RSW.
Table 16. Energy consumption of RFSSW and RSW.
RSWRFSSW
Energy per Spot40 watt hours1 watt hours
Energy per Vehicle
(5000 Spots)
200 Kilowatt hours5 Kilowatt hours
Disclaimer/Publisher’s Note: The statements, opinions and data contained in all publications are solely those of the individual author(s) and contributor(s) and not of MDPI and/or the editor(s). MDPI and/or the editor(s) disclaim responsibility for any injury to people or property resulting from any ideas, methods, instructions or products referred to in the content.

Share and Cite

MDPI and ACS Style

Gale, D.; Smith, T.; Hovanski, Y.; Namola, K.; Coyne, J. A Comparison of the Microstructure and Mechanical Properties of RSW and RFSSW Joints in AA6061-T4 for Automotive Applications. J. Manuf. Mater. Process. 2024, 8, 260. https://doi.org/10.3390/jmmp8060260

AMA Style

Gale D, Smith T, Hovanski Y, Namola K, Coyne J. A Comparison of the Microstructure and Mechanical Properties of RSW and RFSSW Joints in AA6061-T4 for Automotive Applications. Journal of Manufacturing and Materials Processing. 2024; 8(6):260. https://doi.org/10.3390/jmmp8060260

Chicago/Turabian Style

Gale, Damon, Taylor Smith, Yuri Hovanski, Kate Namola, and Jeremy Coyne. 2024. "A Comparison of the Microstructure and Mechanical Properties of RSW and RFSSW Joints in AA6061-T4 for Automotive Applications" Journal of Manufacturing and Materials Processing 8, no. 6: 260. https://doi.org/10.3390/jmmp8060260

APA Style

Gale, D., Smith, T., Hovanski, Y., Namola, K., & Coyne, J. (2024). A Comparison of the Microstructure and Mechanical Properties of RSW and RFSSW Joints in AA6061-T4 for Automotive Applications. Journal of Manufacturing and Materials Processing, 8(6), 260. https://doi.org/10.3390/jmmp8060260

Article Metrics

Back to TopTop