Next Article in Journal
Determination of the Cutting-Edge Microgeometry Based on Process Forces during Peripheral Milling of Ti-6Al-4V Using Machine Learning
Previous Article in Journal
Process Window and Repeatability of Thermomechanical Tangential Ring Rolling
 
 
Font Type:
Arial Georgia Verdana
Font Size:
Aa Aa Aa
Line Spacing:
Column Width:
Background:
Article

Reduction in Total Production Cycle Time by the Tool Holder for the Automated Cutting Insert Quick Exchange and by the Double Cutting Tool Holder

Faculty of Manufacturing Technologies with a Seat in Prešov, Technical University of Košice, Bayerova 1, 080 01 Prešov, Slovakia
*
Author to whom correspondence should be addressed.
J. Manuf. Mater. Process. 2023, 7(3), 99; https://doi.org/10.3390/jmmp7030099
Submission received: 9 April 2023 / Revised: 11 May 2023 / Accepted: 12 May 2023 / Published: 16 May 2023

Abstract

The time taken to exchange a cutting tool and the actual machining time are the components in a total production cycle time for a part, that affects productivity. Automated plate exchange systems strive for the simplest possible principles to achieve the shortest possible tool exchange time with sufficient accuracy. The tool holder in the presented article is based on the principle of a combination of translational, rotational movement, and stop surfaces by using a single pull–push rod for simple control. The article provides alternative tool holder designs and turning results of such holders using Rz-f dependence. The results of the time reduction are satisfactory and give a prerequisite for using a tool holder for the automated exchange of triangular cutting inserts. Moreover, the article provides the approach to reduce the mentioned total production cycle time by a reduction in the actual machining time for a part by use of tooltip radii, not by increasing the cutting speed. The triangular cutting insert can have three tooltips of three different tooltip radii for roughing and finishing. In addition, for reduction of the actual machining time, the double cutting tool with both the small tooltip radius for rouging and the large tooltip radius for finishing is presented. The double tool holders showed a 2.4-times reduction in the actual machining time for a part with Rz = 20 µm.

1. Introduction

In the field of manufacturing processes, it is observed that the trend is to produce more and more fast, efficient parts with high complexity, which involves using a high number of tools in the machining process [1]. One of the main solutions for high-speed and efficient manufacturing is based on the full automation of the entire manufacturing process [1]. Moreover, the tool condition monitoring is relevant in machine process condition monitoring based on wireless sensor networks was made as a plan to adopt and adapt IR 4.0 in the manufacturing industry [2].
An automatic tool changer (ATC) is a device that can automatically perform tool changes between the spindle and the tool magazine according to the commands given by the machine control unit. When an ATC with a magazine is equipped in a machining center, the noncutting time and production costs can obviously be reduced so that productivity can be increased greatly [1,3]. However, when the ATC fails, massive losses will be experienced by the users. Of the total failures of a machining center, failures of an ATC account for about 12%. Thus, the reliability of ATCs plays an important role in machining centers [3,4], and many researchers have explored the reliability and availability of ATCs [5].
In general, productivity in machining, p, is defined as the number of products produced within a defined period:
p = t shift t c
where tshift is the working shift time, and tc is the total production cycle time for a single part. The efforts of producers are aimed at reducing the machining time. The total production cycle time tc for one part consists of the following components (according to [6,7]):
t c = t h + t m + t t N
where th is the work handling time per part needed to load and unload the part in and out of the machine and time of interruption of work, tm is the actual machining time per part, tt is the tool exchange time per part, and N is the number of pieces machined during the one tool life.
Actual machining time tm depends on the cutting conditions, as follows:
t m = l n f
where l is the length of the tool’s trajectory, f is the feed, and n is the rotational speed. Moreover, the number of pieces machined during the life of one tool, N, depends on tool life, T, as follows:
N = T t m
It is a well-known fact that reducing the actual machining time tc can be achieved by intensifying the cutting conditions. Moreover, it can still be stated that the machining time value tc is directly proportional to the tool exchange time. Quick tool exchange makes sense, especially for the numeric control of machine tools. The article does not use the different, currently available systems related to the active control of tool wear [2,8] to obtain a signal for tool exchange. It presents and discusses the technical possibilities for improving the systems of automatic tool exchange by focusing on cutting inserts. Automated tool exchange can shorten or eliminate the time needed for tool exchange. When increasing the level of automation within tool exchanges, several principles have been developed for replacing worn cutting inserts.
The automatic tool-changing device is convenient and simple, and the tool can be installed on the spindle of the machine tool accurately and quickly [9]. Preferably, automatic tool exchanger devices perform the whole exchange of the tool’s magazine according to commands of a machine control unit ([10,11,12], among others). However, we designed a tool holder for the automatic exchange of a cutting insert in a turning tool, with the tool holder staying in the original position while the fresh cutting edge of a cutting insert is changed.
Devices for automatic plate exchange require special cutting inserts with specially created clamping and handling surfaces. Some designs are focused on the use of commercial cutting inserts. Since these commercial inserts do not have special clamping surfaces, a complex kinematic mechanism is necessary. A tool holder eliminates the mentioned shortcomings with an automatic exchange for mainly commercial triangular cutting inserts.
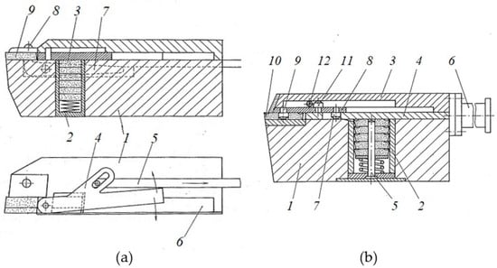
In Figure 1a, a cutting tool holder for the automated exchange of special cutting inserts that was developed in [13] can be seen. The cutting tool is provided with a magazine to hold a supply of cutting inserts and as a means for rejecting a worn insert (more details can be found in [13]). The magazine is located in a relatively massive holder. A hydraulic–pneumatic control system enables the worn cutting insert to be ejected from the holder and replaced with a fresh one. In the tool holder body (1), a groove for the magazine (2) has been designed for special plates (3). The tool exchange mechanism is based on the movement of the movable arm (4) that is controlled by the pull–push rod (5). When the pull–push rod (5) moves in the indicated direction, the movable arm (4) tilts and, thus, is released from contact with the surface of the body (1). During the next movement, the arm (4) slides into the groove (6) in the body (1), and its front part in the back position captures the fresh insert from the magazine (2). At the same time, the inclined surface of the pull–push rod (5) releases the movable arm (7), which is pivotable around a pin, and the front arm which is firmly connected to the clamp plate (8). When the pull–push rod (5) and movable arm (4) are moved forward, its front part squeezes the fresh insert into the working position, and the worn insert falls into the chips. In the last phase of the movement, the inclined surface of the pull–push rod (5) flips the handle (7) again and clamps the new cutting insert. The arm (4) returns to its original position by flipping in the indicated direction and is fixed on the inclined surface of the body (1). This solution requires cutting inserts of a special shape that are adjusted to the conditions of the lamping movement in the magazine and holder.
A similar design was presented in [14], which presented a design using commercial cutting inserts (Figure 1b). The transport of inserts from the magazine is achieved by rotating the arm (8) by 180° around the pin (7). An alternative design in Figure 1b has the vertically placed magazine in the holder’s body.
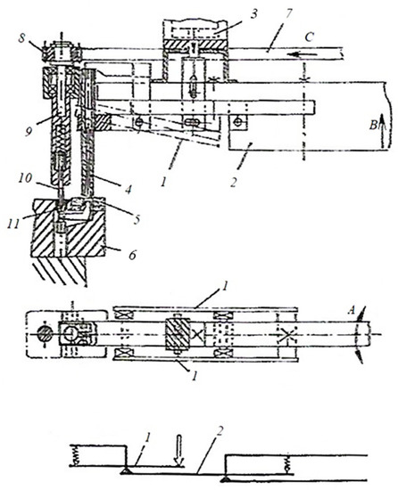
Some designs ensure the exchange of cutting inserts in current holders. The mechanical principle is shown in Figure 2 (according to [15]). The manipulator consists of a set of levers (1 and 2). At a specified moment, lever (1) enables the insert of the flexible mandrel (4) into the clamping hole in the cutting insert and pulls out the unfastened cutting insert from the tool holder (6). The movement of this lever is controlled by the piston (3) located in the cylinder in the upper part of the manipulator. The second lever mechanism makes it possible to flip the entire system into the position shown in Figure 2. The hexagonal rod (10) is inserted into the hole of the clamping screw (11). The hexagonal rod (10) is spring-loaded in the rolling bearings of the spindle (9). The pinion (8) is controlled by a toothed rod (7) and ensures the tightening and loosening of the clamping screw. After the ejection of the cutting insert, the whole system turns to the magazine of the cutting inserts in direction A to obtain a new insert. The disadvantage is that the system’s failure can occur when chips or dirt enter the hole of the clamping screw during machining. The time required for replacement is longer than in previous solutions. Since a certain amount of space is required to place the manipulator, the system can only be used when machining with one tool or with several tools of the same type that are located in parallel.
The mentioned designs of tool holders for quick exchange of cutting inserts allow reducing the total production cycle time for one part tc through the reduction of the tool exchange time. There are approaches to reduce the total production cycle time tc through the actual machining time tm. Generally, the actual machining time is reduced by increasing the cutting speed. However, that approach introduces the issues of extremely short tool life [16]. To achieve the required machine surface roughness, the tooltip radius is another parameter allowing the reduction in actual machining time. Moreover, there are concepts of either a double-tool [17,18,19] or multi-tool turning [20]. The concept of multi-tool turning is to use two single-point cutting tools rather than one for turning the same shaft [20]. The second tool should be mounted on the additional tool post. Compared to the single-tool turning process, the double-tool turning produces a much better surface finish [21].

2. Conditions of Experiments

The measurement was aimed at evaluating the accuracy of the tooltip position when automated changing the cutting insert of the designed tool holder. Moreover, we evaluated the maximum height of the machined surface roughness Rz considering the ways to shorten the machining time tm by using the tooltip radius rε as a parameter with respect to the feed rate f. For the experiments, a conventional TOS SU 50A lathe was used. The workpiece material was steel C45, a medium carbon steel, e.g., mechanical engineering and automotive components, and 100Cr6 a high-carbon, chromium-containing low alloy steel that is through hardening and noted in particular for use as bearings. The cutting inserts were made of cemented carbide (P20) coated with titanium nitride (TiN). Cutting conditions and measurement devices were the following:
  • Cutting speed vc = 86; 140 m.min−1
  • Depth of cut ap = 0.5 mm;
  • Feed rates f = 0.05; 0.1; 0.15; 0.2; 0.25; 0.3; 0.4; 0.6; 0.7; 1 mm
  • Tooltip radii rε = 0.2; 1; 2; 3; 5 mm
  • Roughness tester ISR-C300 (http://www.insize.com/page-169-265.html; accessed on 3 April 2023).

3. Developed Design for Automatic Exchange of Cutting Insert

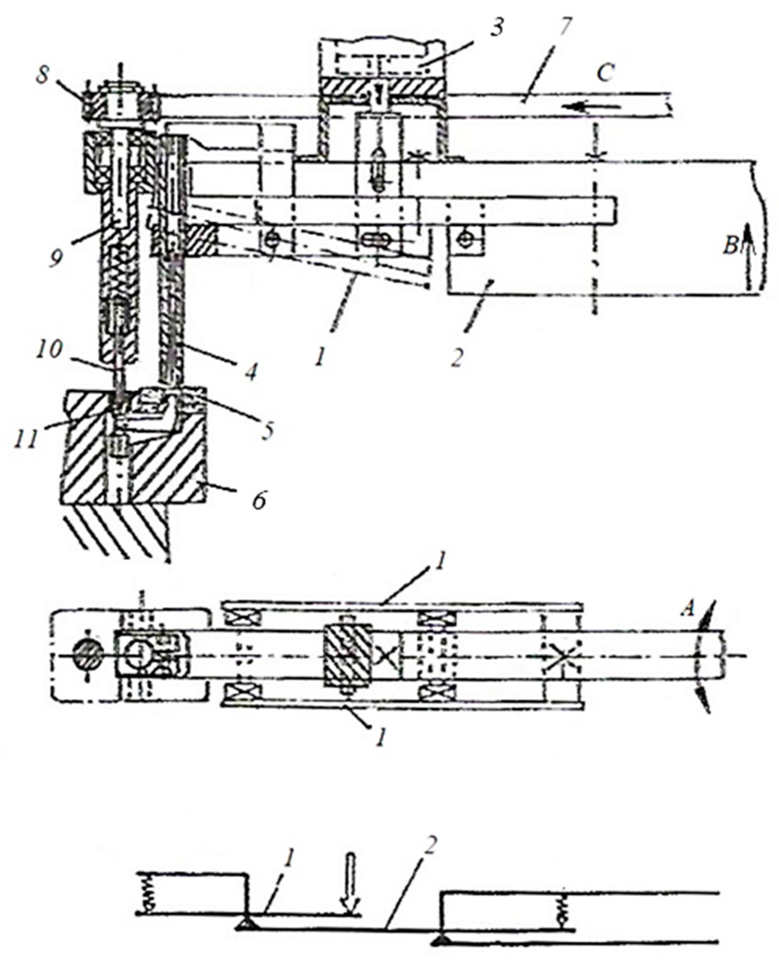
The design was focused on creating a system aimed primarily at translational and rotational movement regarding a blunt triangular cutting insert being moved into the working position and replaced by a new cutting edge. The basic principle is shown in Figure 3 [22].
The cutting insert (1) is placed on the base and is moved to the working position by the pull–push rod (3). The insert is clamped by the clamp (4), which is controlled by the pull–push rod (5). In the tool holder body (6), a shaped hole (7) is created, through which the worn cutting insert falls out. In the back part of the tool holder, the magazine (8) with a triangular hole is situated. The shape of the magazine’s triangular hole is rotated by 180° in relation to the triangular ejection hole. This ensures that the new cutting insert does not fall into the ejection hole during its transport from the magazine. The protrusion (9) makes the cutting insert rotate into the appropriate position, which is ensured by the stop surfaces.
The cutting insert exchange cycle is shown in Figure 4. To be able to watch the individual phases of the cycle clearer, the black dot is at one corner of the cutting insert triangle in Figure 4. The system works in the following phases:
Phase A is the position change from the magazine to the working position (Figure 4a). Pushing the rod, the cutting insert is moved by a length of l from the magazine to the working position while rotating by 60° due to contact with the protrusion and then rotating by 30° due to contact with stop surfaces. The first unworn cutting edge of the triangular insert is prepared to cut.
Phase B exchanges the worn cutting edge with the unworn cutting edge of the same insert (Figure 4b). Pulling the rod, the first worn cutting edge is taken from the working position by a distance of l1. The insert stops at protrusion while rotating by 90°. Then, by pushing the rod, the cutting insert is moved to the working position while rotating by 30°. Thus, the second unworn cutting edge of the triangular insert is prepared for cutting. Phase B can be repeated when the second cutting edge is worn, and the third unworn cutting edge is moved to the working position.
Phase C (Figure 4c) is the worn cutting insert rejection. Pulling the rod by a distance of l2, the worn cutting insert drops out through the ejection hole. Pulling the rod again, the rod moves to the starting position of the described cycle and the new, unworn cutting insert from a magazine can be moved to the working position (phase A).

3.1. Alternative Designs

The principle of the translational and rotational movement of a triangular cutting insert is used for other alternative designs of the tool holder. The design of the above-mentioned tool exchange mechanism can only be used for triangular cutting inserts with one cutting edge that is used, and then the worn cutting insert is rejected. The following alternative designs are intended for use with a single triangular cutting insert with three cutting edges that are all used before it is exchanged.

3.1.1. Alternative Design 1

Figure 5 presents the individual positions of the cutting insert while replacing the worn cutting edge with a new one via the rotational and translational movement of the cutting insert. Figure 5a shows the cutting insert with a worn cutting edge in a working position. When pulling the rod with the cutting insert on it towards the back (left in image), the cutting insert hits the middle stop surface and turns by 30° counterclockwise (Figure 5b), and then it turns by another 30° counterclockwise by the backstop surface (Figure 5c). When pushing the rod with the cutting insert, the insert hits the front stop surface (Figure 5d) and turns 60° counterclockwise. Thus, the cutting insert is in a new working position (Figure 5e) with an unworn cutting edge.

3.1.2. Alternative Design 2

The alternative design 2 in Figure 6 was developed for a single-cutting insert with three tooltip radii, rε, with modified stop surface shapes in order to test the roughness when turning. We intended that, with the introduction of a reliable system for automatic cutting insert exchange, it might be possible to turn the cutting insert with the tooltip radius rε1 for roughing and with a larger tooltip radii rε2 and rε3 for finishing while using the unchanged feed rate.
For the experiment, the following radii of the tooltips of the triangular cutting insert were used: rε1 = 1 mm, rε2 = 2 mm, and rε3 = 3 mm, and the tool holder design is shown in Figure 6a. The obtained dependences of influencing the maximum height of the machined surface roughness Rz on the feed f are in Figure 6b.

4. Tooltip Radius rε and the Actual Machining Time for a Part

Tooltip radius rε influences the machined surface roughness parameter Rz inversely proportional according to Formula (5). To determine parameter Rz theoretically, the following well-known theoretical formula is applied [7,23,24]:
R z = f 2 8 r ε
where f is the feed rate and rε is the tooltip radius. The experimental dependencies Rzexp-f for the tools with different tooltip radii are shown in Figure 6b (continuous red, blue, black curves). We can state that the experimental curves do not correspond with the theoretical ones. The difference is mainly in the area of low and large feed rates. The experimental curves do not start at zero value as according to theoretical Formula (5). The expectation of the high machined surface quality due to low feed rate is just theoretical. In fact, the roughness parameter Rz increases with feeds less than 0.1 mm.
Moreover, the actual machining time for a part tm in Formula (2) becomes longer with small values of feed rate. The reason for worsening the machine surface quality with small feed rates is a phenomenon described as the minimum chip problem. The radius of the cutting edge rounding rn is very close to the size of the uncut chip thickness. If the uncut chip thickness is about the size of the cutting-edge radius rn, the workpiece cut material comes under the cutting tool wedge. It is followed by intensive plastic deformation of the machined surface and internal material friction and thus the worsening of the machined surface microgeometry occurs. A numerical analysis of the minimum chip problem was made in [25], where it is stated that when the depth of cut is 0.16 times the tool edge radius, the chips begin to produce, in the case of micromachining of pure iron.
The theoretical formula for the roughness parameter Rz can be replaced with a practical Formula (6). Using the mathematical analysis of the experimental curves in Figure 6b, we can derive the following Brammetz’s dependency [26]:
R z = f 2 8 r ε + h min 2 1 + r ε h min f 2
where hmin is the minimal uncut chip thickness when the material is plastically pressed under the rounded cutting tool edge. A continuous blue curve in Figure 7 is the visual display of a Formula (6) for rε = 0.8 mm and hmin = 0.01 mm.
The tool holders in Figure 5 and Figure 6 contribute to reducing the actual machining time for a part tm. Moreover, if we analyze the relationship of tooltip radius rε, feed rate f, and roughness parameter Rz, it is possible to reduce the time tm by adjustment of the geometry of the cutting wedge without increasing the cutting velocity vc. Such an approach is so-called high-feed turning. It is possible to consider cases when the tooltip is not rounded, i.e., rε = 0. That limiting case corresponds to the roughing with large feed rates and means that the roughness of the surface is created by the main and secondary cutting edges. If the dimension of the tooltip radius is smaller but similar to the feed rate, then the roughness of the surface is created by the rounded tooltip and sections of the main and secondary cutting edges. In these cases, the tooltip radius minimally influences machine surface quality.
The tool holders can combine two cutting tools arranged next to each other and each cutting tool is of individual tooltip radius rε. The tool holder in Figure 8a contains a classical roughing cutting tool with rε = 0.2 mm, which cuts with a depth of cut ap1. The second one is a finishing cutting tool with a large tooltip radius rε = 5 mm which takes the minimum cut thickness ap2 of a slightly larger value than Rz after roughing. Figure 9 shows the experimental dependence of the roughness parameter Rz on the feed rate obtained during turning with the double-cutting tool in Figure 8a. If the required value of Rz is 20 µm, it can be seen in Figure 9 that when using a classical cutting tool, a feed rate lower than 0.1 mm (f ≤ 0.1 mm) is required. However, the double-cutting tool reaches an Rz value of 20 µm at a feed of 0.6 mm, which is a significant increase in feed rate and thus a significant reduction in machining time.
To achieve a high surface quality, i.e., a low value of roughness parameter Rz, the tooltip radius must be greater than the feed rate (rεf). According to Formulas (5) and (6), the radius of the tooltip can be increased practically without limit, i.e., up to rε = ∞, which corresponds to a linear cutting edge. It means that the finishing tool has a linear cutting edge to achieve a high surface quality at a high feed rate, inclined to the workpiece axis by the cutting-edge inclination angle λs as shown in Figure 8b. Roughing and finishing take place in one tool holder with the same feed rate, similarly as in Figure 8a.
According to the above, the actual machining time tm can be reduced by increasing the feed rate, which, compared to the parameters to increase the cutting speeds, is given less attention. As the feed increases, the quality of the machined surface worsens sharply, and it improves as the tooltip rε increases. The relation (3) can be modified by substituting for n and using the theoretical relation (5). Thus, the actual machining time for a part tm is as follows:
t m = l π D 1000 v c f = l π D 1000 v c 8 r ε R z
where D is the workpiece diameter, and vc is the cutting speed. This relationship indicates the dependence of the actual machine time on the tooltip radius and the dimensions of the workpiece, the cutting speed, and the maximum height of the machined surface roughness Rz.

5. Conclusions

Eliminating the human factor from the operation of machine tools calls for addressing the technological prerequisites for automation in technological processes. The automated cutting insert exchange can reduce or completely eliminate tool change time. The rotation that exchanges the cutting edge of the cutting insert can occur in real time when the tool is taken out of engagement. The presented tool holder designs can also be applied to non-automated production conditions, with manual control over the pull–push rod to exchange the insert cutting edge. The advantage of the tool holders in the article is that they can be operated with a single pull–push rod; therefore, complex coordinated movements are not required to operate the mechanism.
The tooltip radius allows the usage of the high-feed turning and the actual machining time for a part is shortened without increasing the cutting velocity vc. The presented experiment showed a 2.4 times reduction in the actual machining part with Rz = 20 µm using the tool holder with double tooltip radii that allow the roughing and finishing in one tool move.
Combining the principles of the presented automated cutting insert exchanger and a machine control program would maximally shorten the tool exchange time, especially when using a sensor to detect the predetermined wear of a cutting insert according to an invention in [27].

Author Contributions

Conceptualization, K.V. and Z.M.; methodology, K.V.; validation, K.V.; formal analysis, K.V. and Z.M.; investigation, K.V.; resources, K.V. and Z.M.; data curation, K.V.; writing—original draft preparation, K.V. and Z.M.; writing—review and editing, Z.M.; visualization, K.V. and Z.M.; project administration, Z.M.; funding acquisition, Z.M. All authors have read and agreed to the published version of the manuscript.

Funding

The authors wish to thank the Slovak Research and Development Agency for supporting this research through grant no. APVV-18-0316. The APC was funded by APVV-18-0316.

Data Availability Statement

Not applicable.

Conflicts of Interest

The authors declare no conflict of interest.

References

  1. Obreja, C.; Stan, G.; Andrioaia, D.; Funaru, M. Design of an automatic tool changer system for milling machining centers. Appl. Mech. Mater. 2013, 371, 69–73. [Google Scholar] [CrossRef]
  2. Iliyas Ahmad, M.; Yusof, Y.; Daud, M.E.; Latiff, K.; Abdul Kadir, A.Z.; Saif, Y. Machine monitoring system: A decade in review. Int. J. Adv. Manuf. Technol. 2020, 108, 3645–3659. [Google Scholar] [CrossRef]
  3. Tian, H.; Yang, Z.; Li, G.; Chen, C. Study on failure warning of tool magazine and automatic tool changer based on tool-pulling force. J. Mech. Sci. Technol. 2019, 33, 4371–4381. [Google Scholar] [CrossRef]
  4. Li, J.; Tao, W.; Feng, H. Development status and key technologies of automatic tool changer. Mach. Tool Hydraul. 2013, 41, 160–174. [Google Scholar]
  5. Kim, J.H.; Choi, J.Y.; Lee, C.M. A study on the development and performance evaluation of an ATC test bench. J. Korean Soc. Precis. Eng. 2012, 29, 489–493. [Google Scholar] [CrossRef]
  6. Groover, M.P. Fundamentals of Modern Manufacturing: Materials, Processes, and Systems; John Wiley & Sons: Hoboken, NJ, USA, 2020. [Google Scholar]
  7. Vasilko, K. Teória trieskového obrábania (Theory of Cutting). Faculty of Manufacturing Technologies, Technical University of Košice, Prešov. 2009. Available online: https://karolvasilko.com/download/Teoria%20a%20prax%20trieskoveho%20obrabania%202009.pdf (accessed on 28 February 2023).
  8. Teti, R.; Jemielniak, K.; O’Donnell, G.; Dornfeld, D. Advanced monitoring of machining operations. CIRP Ann. 2010, 59, 717–739. [Google Scholar] [CrossRef]
  9. Yinsheng, W. Influence of CNC Tools on CNC Machining Technology. IOP Conf. Ser. Mater. Sci. Eng. 2019, 569, 032043. [Google Scholar] [CrossRef]
  10. Kasahara, T. Tool Changing Method and Tool Changer. U.S. Patent No. 10,391,596, 27 August 2019. [Google Scholar]
  11. Bancon, G.R. Tool-Holder for Industrial Robot. U.S. Patent No. 4,636,135, 13 January 1987. [Google Scholar]
  12. Gökler, M.I.; Koc, M.B. Design of an automatic tool changer with disc magazine for a CNC horizontal machining center. Int. J. Mach. Tools Manuf. 1997, 37, 277–286. [Google Scholar] [CrossRef]
  13. Wirfelt, S. Cutting Tool. U.S. Patent No. 3,838,500, 1 October 1974. [Google Scholar]
  14. Pavlensky, J.D. Ustrojstvo za avtomatično zavrtane i smenjane na režeśči plastiny (Device for automatic drilling and changing of cutting plates). In Expres Informácie z Patentových spisov (Express Information from Patent Files); Výskumný ústav náradia VUNAR (Research Institute of Tools): Nové Zámky, Slovakia, 1986; Volume 5, pp. 23–24. [Google Scholar]
  15. Dormehl, E. Tool Changer. U.S. Patent No. 4,713,875, 22 December 1987. [Google Scholar]
  16. Vasilko, K.; Murčinková, Z. Modification of Tool-Workpiece Interaction Principles in the Cutting Process; RAM-Verlag: Lüdenscheid, Germany, 2021. [Google Scholar]
  17. Kalidasan, R.; Senthilvelan, S.; Dixit, U.S.; Vaibhav, J. Double tool turning: Machining accuracy, cutting tool wear and chip-morphology. Int. J. Precis. Technol. 2016, 6, 142–158. [Google Scholar] [CrossRef]
  18. Abebe, A.D.; Jiru, M.G.; Kabeta, G. Comparative Study on Dry and Wet Machining During Double Tool Turning of AISI 1045 Steel. Int. J. Innov. Sci. Eng. Technol. 2021, 8, 71–101. [Google Scholar]
  19. Khalimonenko, A.D.; Timofeev, D.Y.; Golikov, T.S. Cutting tool for turning large workpieces. J. Phys. Conf. Ser. 2019, 1399, 044082. [Google Scholar] [CrossRef]
  20. Trikal, S.P.; Patokar, P.; Patil, C. Evaluation of Surface Roughness of Mild Steel Component Turned using Multi Tool Turning Method. Int. J. Sci. Technol. Eng. 2016, 2, 46–51. [Google Scholar]
  21. Kalidasan, R.; Senthilvelan, S.; Dixit, U.S. An experimental study of surface roughness in double tool turning process. Int. J. Addit. Subtractive Mater. Manuf. 2017, 1, 310–327. [Google Scholar] [CrossRef]
  22. Vasilko, K.; Chládecký, F. Zariadenie na Automatickú Výmenu Opotrebenej Reznej Platničky. (Device for Automatic Replacement of a Worn Cutting Insert). C.S. Patent No. 224050, 15 April 1986. [Google Scholar]
  23. Buda, J.; Békés, J. Teoretické základy Obrábania Kovov (Theoretical Basics of Metalworking); ALFA: Bratislava, Slovakia, 1967. [Google Scholar]
  24. Trendt, E.M.; Wright, P.K. Metal Cutting; Butterworth-Heinemann: Oxford, UK, 2000. [Google Scholar]
  25. Guo, X.; Li, Y.; Cai, L.; Guo, J.; Kang, R.; Jin, Z.; Guo, D. Effects of tool edge radius on chip formation during the micromachining of pure iron. Int. J. Adv. Manuf. Technol. 2020, 108, 2121–2130. [Google Scholar] [CrossRef]
  26. Brammertz, P.H. Die Enstehung der Oberflächenrauheit beim Feindrehen. Ind. Anz. 1961, 2, 5–32. [Google Scholar]
  27. Kalhori, V.; Bjormander, C.; Lundgren, C. Cutting Insert for Cutting, Milling or Drilling of Metal, a Tool Holder and a Tool Provided Therewith. U.S. Patent No. 10,598,579, 24 March 2020. [Google Scholar]
Figure 1. (a) Cutting tool holder with an internal magazine of cutting inserts: 1 is the tool holder body, 2 is the magazine, 3 is the fresh cutting inserts, 4 is the movable arm, 5 is the pull–push rod to control, 6 is the groove, 7 is the movable arm pivotable around a pin, 8 is the clamping plate, and 9 is the cutting insert in the working position; (b) Pavlensky’s design: 1 is the holder body, 2 is the body of the magazine, 3 is the clamp, 4 is the pull bar, 5 is the stick, 6 is the pneumatic cylinder, 7,9 are the pins, 8 is the revolving arm, 10 is the cutting plate, and 11 and 12 are the stoppers.
Figure 1. (a) Cutting tool holder with an internal magazine of cutting inserts: 1 is the tool holder body, 2 is the magazine, 3 is the fresh cutting inserts, 4 is the movable arm, 5 is the pull–push rod to control, 6 is the groove, 7 is the movable arm pivotable around a pin, 8 is the clamping plate, and 9 is the cutting insert in the working position; (b) Pavlensky’s design: 1 is the holder body, 2 is the body of the magazine, 3 is the clamp, 4 is the pull bar, 5 is the stick, 6 is the pneumatic cylinder, 7,9 are the pins, 8 is the revolving arm, 10 is the cutting plate, and 11 and 12 are the stoppers.
Jmmp 07 00099 g001
Figure 2. Manipulator for cutting tool insert exchange: 1 is the tilting lever, 2 is the manipulator second lever, 3 is the cylinder with piston, 4 is the flexible mandrel, 5 is the cutting plate in the working position, 6 is the tool holder, 7 is the teethed rod, 8 is the pinion, 9 is the spindle, 10 is the hexagonal rod, and 11 is the clamping screw.
Figure 2. Manipulator for cutting tool insert exchange: 1 is the tilting lever, 2 is the manipulator second lever, 3 is the cylinder with piston, 4 is the flexible mandrel, 5 is the cutting plate in the working position, 6 is the tool holder, 7 is the teethed rod, 8 is the pinion, 9 is the spindle, 10 is the hexagonal rod, and 11 is the clamping screw.
Jmmp 07 00099 g002
Figure 3. Cross section of a developed tool holder; 1 is the cutting insert, 2 is the base, 3 is the pull–push rod, 4 is the clamp, 5 is the pull–push rod, 6 is the tool holder, 7 is the triangular ejection hole, 8 is the magazine, 9 is the protrusion, and 10 is the stop surface.
Figure 3. Cross section of a developed tool holder; 1 is the cutting insert, 2 is the base, 3 is the pull–push rod, 4 is the clamp, 5 is the pull–push rod, 6 is the tool holder, 7 is the triangular ejection hole, 8 is the magazine, 9 is the protrusion, and 10 is the stop surface.
Jmmp 07 00099 g003
Figure 4. The cutting insert exchange cycle and positions of the cutting insert in individual phases (the black dot at one corner of the cutting insert triangle helps to watch position changes) (a) phase A: from the magazine to the working position, (b) phase B: exchange of the worn cutting edge, (c) phase C: from working position to the rejection of worn cutting insert.
Figure 4. The cutting insert exchange cycle and positions of the cutting insert in individual phases (the black dot at one corner of the cutting insert triangle helps to watch position changes) (a) phase A: from the magazine to the working position, (b) phase B: exchange of the worn cutting edge, (c) phase C: from working position to the rejection of worn cutting insert.
Jmmp 07 00099 g004
Figure 5. Individual phases (ae) of exchanging the worn cutting edge by unworn one of the same cutting inserts (the dot at one corner of the cutting insert triangle helps to watch position changes).
Figure 5. Individual phases (ae) of exchanging the worn cutting edge by unworn one of the same cutting inserts (the dot at one corner of the cutting insert triangle helps to watch position changes).
Jmmp 07 00099 g005
Figure 6. (a) Alternative design for turning with a triangular cutting insert with three different tooltip radii rε1 = 1 mm, rε2 = 2 mm, and rε3 = 3 mm: 1 is the tool holder, 2 is the cutting insert, and 3 is the pull–push rod; (b) Experimental dependences (Rzexp-f), continuous red, blue, black curves, vc = 140 m.min−1, cutting tool cemented carbide (P20) coated with titanium nitride (TiN), workpiece C45, ap = 0.5 mm theoretical dependence (Rztheor-f) according to Formula (5) for rε = 1 mm, dashed red curve.
Figure 6. (a) Alternative design for turning with a triangular cutting insert with three different tooltip radii rε1 = 1 mm, rε2 = 2 mm, and rε3 = 3 mm: 1 is the tool holder, 2 is the cutting insert, and 3 is the pull–push rod; (b) Experimental dependences (Rzexp-f), continuous red, blue, black curves, vc = 140 m.min−1, cutting tool cemented carbide (P20) coated with titanium nitride (TiN), workpiece C45, ap = 0.5 mm theoretical dependence (Rztheor-f) according to Formula (5) for rε = 1 mm, dashed red curve.
Jmmp 07 00099 g006
Figure 7. Dependence curve Rz-f, obtained from the Formulas (5) and (6), rε = 0.8 mm and hmin = 0.01 mm.
Figure 7. Dependence curve Rz-f, obtained from the Formulas (5) and (6), rε = 0.8 mm and hmin = 0.01 mm.
Jmmp 07 00099 g007
Figure 8. Double-cutting tool holders for roughing and finishing at once (a) with two different tooltip radii rε of cutting tools for roughing and finishing (b) with cutting tool for roughing and cutting tool with linear cutting edge (rε = ∞) for finishing.
Figure 8. Double-cutting tool holders for roughing and finishing at once (a) with two different tooltip radii rε of cutting tools for roughing and finishing (b) with cutting tool for roughing and cutting tool with linear cutting edge (rε = ∞) for finishing.
Jmmp 07 00099 g008
Figure 9. Experimental dependence of Rz on feed rate obtained when turning with the tool from Figure 8a, vc = 86 m.min−1, cutting tool cemented carbide (P20) coated with titanium nitride (TiN), workpiece 100Cr6.
Figure 9. Experimental dependence of Rz on feed rate obtained when turning with the tool from Figure 8a, vc = 86 m.min−1, cutting tool cemented carbide (P20) coated with titanium nitride (TiN), workpiece 100Cr6.
Jmmp 07 00099 g009
Disclaimer/Publisher’s Note: The statements, opinions and data contained in all publications are solely those of the individual author(s) and contributor(s) and not of MDPI and/or the editor(s). MDPI and/or the editor(s) disclaim responsibility for any injury to people or property resulting from any ideas, methods, instructions or products referred to in the content.

Share and Cite

MDPI and ACS Style

Vasilko, K.; Murčinková, Z. Reduction in Total Production Cycle Time by the Tool Holder for the Automated Cutting Insert Quick Exchange and by the Double Cutting Tool Holder. J. Manuf. Mater. Process. 2023, 7, 99. https://doi.org/10.3390/jmmp7030099

AMA Style

Vasilko K, Murčinková Z. Reduction in Total Production Cycle Time by the Tool Holder for the Automated Cutting Insert Quick Exchange and by the Double Cutting Tool Holder. Journal of Manufacturing and Materials Processing. 2023; 7(3):99. https://doi.org/10.3390/jmmp7030099

Chicago/Turabian Style

Vasilko, Karol, and Zuzana Murčinková. 2023. "Reduction in Total Production Cycle Time by the Tool Holder for the Automated Cutting Insert Quick Exchange and by the Double Cutting Tool Holder" Journal of Manufacturing and Materials Processing 7, no. 3: 99. https://doi.org/10.3390/jmmp7030099

APA Style

Vasilko, K., & Murčinková, Z. (2023). Reduction in Total Production Cycle Time by the Tool Holder for the Automated Cutting Insert Quick Exchange and by the Double Cutting Tool Holder. Journal of Manufacturing and Materials Processing, 7(3), 99. https://doi.org/10.3390/jmmp7030099

Article Metrics

Back to TopTop