Harvester of Energy on Pb(Zr, Ti)O3 Thin Films †
Abstract
:1. Introduction
2. Materials and Methods
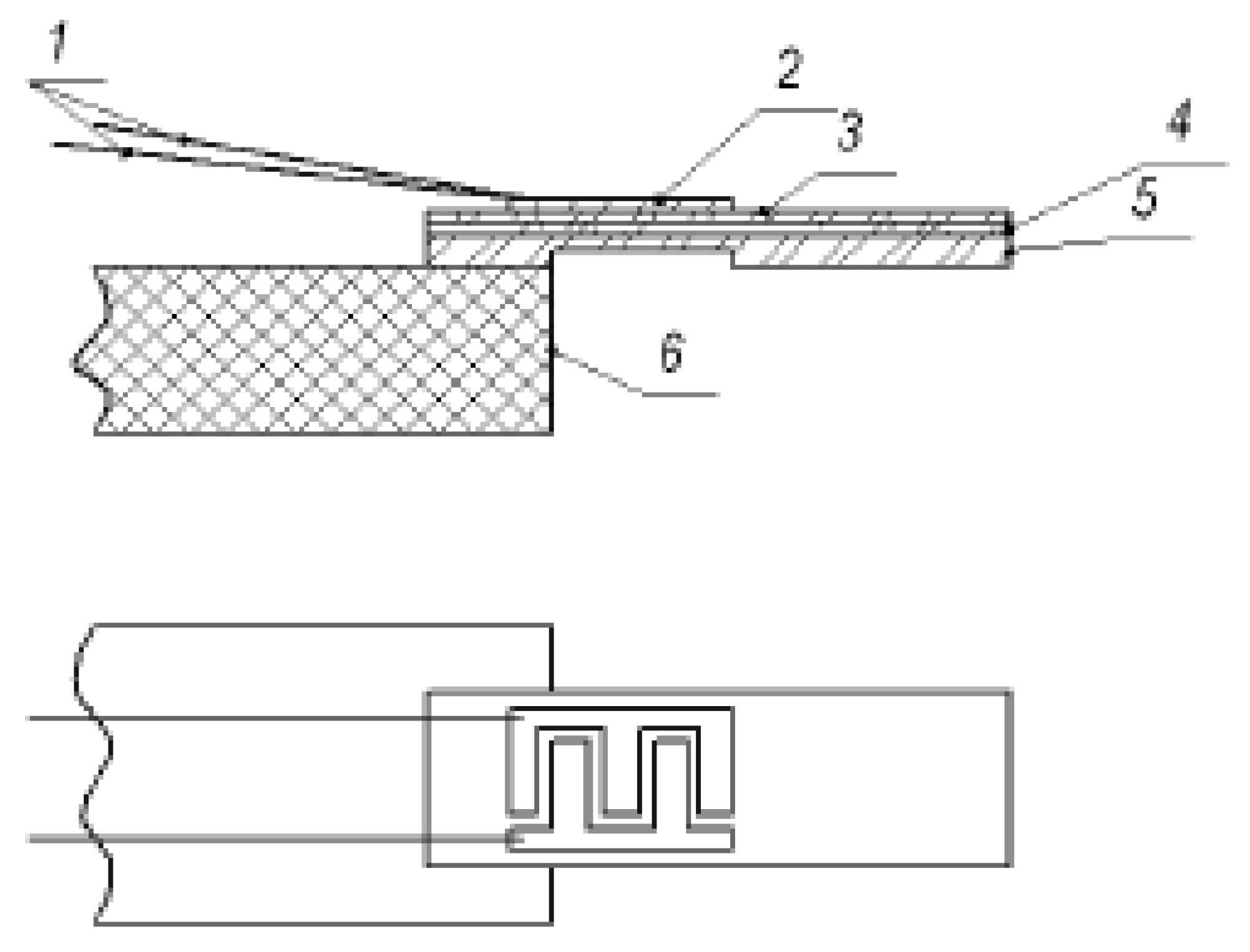
3. Results
Funding
Conflicts of Interest
References
- Radousky, H.B.; Liang, H. Energy harvesting: An integrated view of materials, devices and applications. Nanotechnology 2012, 23, 1–35. [Google Scholar] [CrossRef] [PubMed]
- Khan, A.; Abas, Z.; Kim, H.S.; Oh, I.-K. Piezoelectric thin films: An integrated review of transducers and energy harvesting. Smart Mater. Struct. 2016, 25, 1–16. [Google Scholar] [CrossRef]
- Bowen, C.R.; Kim, H.A.; Weaver, P.M.; Dunn, S. Piezoelectric and ferroelectric materials and structures for energy harvesting applications. Energy Environ. Sci. 2014, 7, 25–44. [Google Scholar] [CrossRef]
- Li, H.; Tian, C.; Deng, Z.D. Energy harvesting from low frequency applications using piezoelectric materials. Appl. Phys. Rev. 2014, 1, 1–20. [Google Scholar] [CrossRef]
- Izyumskaya, N.; Alivov, Y.-I.; Cho, S.-J.; Morkocet, H. Processing, Structure, Properties, and Applications of PZT Thin Films. Crit. Rev. Solid State Mater. Sci. 2007, 32, 111–202. [Google Scholar] [CrossRef]
- Kim, M.; Hwang, B.; Jeong, J.; Min, N.K.; Kwon, K.H. Micromachining of a bimorph Pb(Zr,Ti)O3 (PZT) cantilever using a micro-electromechanical systems (MEMS) process for energy harvesting application. J. Nanosci. Nanotechnol. 2012, 12, 6011–6015. [Google Scholar] [CrossRef] [PubMed]
- Kang, M.-G.; Jung, W.-S.; Kang, C.-Y.; Yoon, S.-J. Recent Progress on PZT Based Piezoelectric EnergyHarvesting Technologies. Actuators 2016, 5, 1–17. [Google Scholar] [CrossRef]
- Kovalenko, D.A.; Petrov, V.V. Researches of the Internal Mechanical Stresses Arising in Si-SiO2-PZT Structures. J. Nano-And Electron. Phys. 2015, 7, 1–5. [Google Scholar]
- Xiong, S.; Kawada, H.; Yamanaka, H.; Matsushima, T. Piezoelectric properties of PZT films prepared by the sol–gel method and their application in MEMS. Thin Solid Films 2008, 516, 5309–5312. [Google Scholar] [CrossRef]
- Gatabi, J.R.; Rahmana, S.; Amaro, A.; Nash, T.; Rojas-Ramirez, J.; Pandey, R.K.; Droopad, R. Tuning electrical properties of PZT film deposited by Pulsed Laser Deposition. Ceram. Int. 2017, 43, 6008–6012. [Google Scholar] [CrossRef]
- Kim, M.; Hwang, B.; Min, N.K.; Jeong, J.; Kwon, K.H.; Park, K.B. Design and fabrication of a PZT cantileverfor low frequency vibration energy harvesting. J. Nanosci. Nanotechnol. 2011, 11, 6510–6513. [Google Scholar] [CrossRef]
- Liu, H.C.; Tay, C.J.; Quan, C.G.; Kobayashi, T.; Lee, C. Piezoelectric MEMS energy harvester for low-frequency vibrations with wideband operation range and steadily increased output power. J. Microelectromech. Syst. 2011, 20, 1131–1142. [Google Scholar] [CrossRef]
- Kovalenko, D.A.; Petrov, V.V.; Klindukhov, V.G. Research of influence of technological parameters of formation of thin films of zirconate-titanate of lead on their structural and electrophysical properties. Izvestiya SFedU Eng. Sci. 2014, 9, 124–132. [Google Scholar]
- Petrov, V.V.; Kemencev, А.S.; Cherepakhin, I.I.; Kovalenko, D.A. Investigation of the characteristics of a vibration sensor based on ferroelectric films of lead zirconate titanate. Izvestiya SFedU Eng. Sci. 2016, 10, 12–19. [Google Scholar]


© 2018 by the author. Licensee MDPI, Basel, Switzerland. This article is an open access article distributed under the terms and conditions of the Creative Commons Attribution (CC BY) license (http://creativecommons.org/licenses/by/4.0/).
Share and Cite
Petrov, V. Harvester of Energy on Pb(Zr, Ti)O3 Thin Films. Proceedings 2019, 4, 40. https://doi.org/10.3390/ecsa-5-05870
Petrov V. Harvester of Energy on Pb(Zr, Ti)O3 Thin Films. Proceedings. 2019; 4(1):40. https://doi.org/10.3390/ecsa-5-05870
Chicago/Turabian StylePetrov, Victor. 2019. "Harvester of Energy on Pb(Zr, Ti)O3 Thin Films" Proceedings 4, no. 1: 40. https://doi.org/10.3390/ecsa-5-05870
APA StylePetrov, V. (2019). Harvester of Energy on Pb(Zr, Ti)O3 Thin Films. Proceedings, 4(1), 40. https://doi.org/10.3390/ecsa-5-05870
