Next Article in Journal
Railroad Cybersecurity: A Systematic Bibliometric Review
Previous Article in Journal
Design and Performance Evaluation of Batch Reactor for Biomass Valorization: LHW Valorization of Coffee and Peapod Waste
 
 
Font Type:
Arial Georgia Verdana
Font Size:
Aa Aa Aa
Line Spacing:
Column Width:
Background:
Article

Optimized Energy Management and Storage Sizing in Smart Homes with Renewable Energy Sources Under Safe Operating Conditions

Graduate School of Advanced Science and Technology, Japan Advanced Institute of Science and Technology (JAIST), 1-1 Asahidai, Nomi 923-1292, Ishikawa, Japan
*
Author to whom correspondence should be addressed.
Designs 2025, 9(1), 22; https://doi.org/10.3390/designs9010022
Submission received: 3 January 2025 / Revised: 5 February 2025 / Accepted: 8 February 2025 / Published: 17 February 2025
(This article belongs to the Section Energy System Design)

Abstract

Integrating renewable energy sources (RESs) such as solar and wind generation systems introduces challenges in ensuring a safe and stable power supply to the power system due to their inherent output variability. Addressing this issue requires the development of advanced technologies and methodologies to mitigate power variability while enabling the integration of high levels of renewable energy into the existing power system. One practical approach to managing the variability of RESs is incorporating an energy storage system (ESS), which enhances the reliability and stability of the power supply from RESs. This study focuses on optimized energy management and storage capacity sizing while ensuring safe operation amid output variability to maximize the benefits of combining RESs and two ESSs (i.e., primary and secondary) for a smart home energy management system. To achieve this, a linear programming (LP) model is employed to investigate the relationship between RESs, ESSs, and energy loads to determine the storage capacity under safety conditions. Here, safety refers to preserving the capacity limitations of each ESS in the power system against fluctuations. The optimization problem is mathematically formulated, and a feasible solution is found using the LP Solver in MATLAB. To validate the proposed optimal sizing of ESS and energy balancing against fluctuations, power generation, and consumption data from apartment facility, iHouse smart apartment facilities are employed during all seasons, i.e., spring, summer, winter, and autumn. Additionally, several case studies are analyzed, representing a distinct physical arrangement of connectivity between power devices, from the most densely connected to the least connected. The results indicate that the strategic power distribution significantly reduces the total ESS size, including the primary and secondary storage systems, for each season. The optimal secondary ESS size decreased to 25.7 % for the spring season, 17.29% for the summer season, 6.79 % for the winter season, and 7.01 % for the autumn season from the least connectivity from power devices to dense connectivity. The findings highlight the seasonal variations of generation and consumption and their impact on ESS sizing while preserving the limitations and ensuring the safety of the power system. Hence, it is a novel methodology for seasonal storage sizing and strategic energy management, guaranteeing stable and resilient power system operation.

1. Introduction

The worldwide development of renewable energy, such as wind and solar energy, is rapidly progressing due to the escalating environmental pressures caused by fossil fuels. In response, numerous countries have actively promoted the engagement of various economic entities in establishing new energy power generation. This initiative has contributed to a notable surge in the proportion of renewable energy sources (RESs). The power systems are witnessing a shift towards constructing wind and solar plants, reflecting the prevailing trend in sustainable energy development [1,2,3].
Integrating RESs into conventional power grids has significantly altered their physical structure, leading to new challenges related to the uncertainty and variability of power generation caused by weather conditions. However, the output power from RESs is inherently fluctuating and uncontrollable [4]. To address this, a continuous monitoring system is necessary for photovoltaic (PV) generation systems to track power output and store data for further analysis [5].
The Internet of Things (IoT) plays a vital role in addressing the complex challenges of modern smart grids, particularly those involving RESs like solar and wind power generation systems, which are critical for achieving a low-carbon energy environment. Technological advancements have also introduced smart appliances with sensors and controllers on the consumption side [6]. However, these advancements have created new challenges for the grid, such as power fluctuations due to dynamic demand patterns. Seasonal variations further influence power consumption patterns, and studies indicate that smart appliances with sensing and control capabilities tend to consume more energy [7]. Consequently, additional conventional power generation is often required to handle these demand variations.
Energy storage systems (ESSs) have appeared as a promising solution to manage power fluctuations resulting from RESs and varying load demands. ESSs with fluctuating generators introduce a controllable component to the power system; otherwise, facing uncontrollable supply and demand variations is impossible. ESSs enhance system flexibility by mitigating risks such as excessive power generation during low-demand periods and power shortages during peak demand [8]. ESSs address the variability of renewable generation and load demands by storing surplus energy and supplying power during deficits. However, due to their capacity constraints, fully utilizing ESSs remains challenging [9,10,11].
Some existing research works [6,7] rely on synthetic power consumption profiles, which cannot show the real-time operational challenges of daily consumption. However, the proposed research in this paper uses real-world datasets from iHouse to validate the proposed approach of storage sizing and ensure practical feasibility. A complete review examines techniques for the optimal planning of microgrids, focusing on integrating RESs and managing uncertainties through heuristic and mathematical methods. However, the proposed research in this paper integrates fluctuation-aware control while keeping storage limitations explicitly. Keeping the SOC limitations of energy storage systems is crucial, not only for storage itself, but also to guarantee the safe operation of the overall power system against fluctuations. Many methods, such as energy storage systems (ESSs), can improve the flexibility of a power system with fluctuating generators and loads. These storage systems are expected to become much more common in upcoming decades. Energy storage is widely acknowledged as an effective solution for addressing the uncertainty and intermittence inherent in wind and photovoltaic plants [12]. Researchers have delved into studying energy storage operation strategies to stabilize the output fluctuations of these renewable energy sources. To analyze the effects of energy storage on ensuring a stable energy supply, this paper analyzes the fluctuation in demand and seasonal characteristics since power consumption patterns are sensitive to seasonal effects. As for the mismatch between generation and demand, the effects of energy storage on improving the stable power supply and helping renewable energy sources to participate in power balance are considered.
Studies [13,14] on optimal PV and storage system usage consider degradation costs and propose iterative correction-based approaches for effective SOC management. A study suggests an optimal storage sizing approach for networked microgrids, concentrating on dependability and resilience enhancement through a bi-level optimization problem formulation [15]. Another study presents a procedure for the optimal sizing of storage systems in remote microgrids to guarantee a predefined duration of safe operation, handling the intermittency of RESs [16]. However, the proposed research emphasized the resilience-oriented sizing of energy storage to guarantee demand satisfaction with different arrangements of connections between power devices while keeping the physical and safety constraints of power devices. This research promotes the self-sufficiency of a power system and robustness against fluctuations. The growing demand for ESSs highlights the importance of determining their optimal size.
Existing research has explored various aspects of ESS integration, including storage sizing, cost optimization, and energy balancing. For instance, the study in [17,18] focuses on storage design and management but does not examine the safety aspects of the power system and storage sizing, which is the primary motivation of this paper. Similarly, ref. [19] addresses energy balancing but does not explicitly address the seasonal variations for determining storage sizing for smart homes, considering the safety aspect. Improper ESS sizing can lead to undesired costs, such as those associated with fluctuation management and peak demand handling [20,21]. Therefore, achieving optimal ESS capacity is essential to integrating RESs and dynamic demands while respecting capacity limitations.
This study introduces a linear programming LP-based optimization problem to determine the optimal ESS size, ensuring the safe operation of power systems. The primary objective is to achieve safety-based optimal storage capacity sizing for systems with RESs, considering the sensitivity of power consumption patterns to seasonal effects. Optimal storage sizing is crucial for systems with fluctuating generation and demand, particularly when maintaining the state of charge (SOC) within defined bounds. In essence, optimal storage sizing is fundamental to the economic, environmental, and operational performance of power systems with fluctuating generation and demand. It ensures a reliable and efficient balance between energy supply and consumption while safeguarding the storage health and functionality.
This paper is organized as follows: Section 2 shows the research gap between existing studies and the proposed study and the research contributions of this proposed research. Section 3 provides an overview of the target power system considered for this paper and the research problem addressed in this study. Section 4 outlines the research problem and its motivation. Section 5 shows the optimization problem and its mathematical formulation of the optimization problem for ESS sizing, incorporating safety constraints, and presents the solution approach in Section 6 using an LP model. Section 7 discusses the effectiveness of the proposed model through simulation results. Section 8 outlines the analysis of ESS capacity sizing. Finally, Section 9 concludes with the findings of this research.

2. Research Gap and Contribution

Despite the growing focus on RESs in power systems, critical challenges remain in assuring efficient energy management, energy balancing, optimal ESS sizing, and robust system operation against fluctuations. Existing studies repeatedly concentrate on specific aspects, such as maximizing utilization of RESs or minimizing dependency on the grid, storage management strategies, etc. However, they explicitly fail to manage the following critical research gaps:
1.
Storage sizing and operational bounds: Integrating RESs such as photovoltaic and wind generation systems introduces power fluctuations due to their nature, weather conditions, and inherent variability. ESSs are pivotal in managing the supply–demand mismatch caused by fluctuating generation and dynamic demands. It maintains the stability and reliability of power supply to loads by buffering supply-demand mismatches, i.e., supplying power to loads when generation is insufficient to satisfy demand or absorbing power when generation exceeds load demand. In such situations, improper storage sizing can lead to inefficiencies such as high costs, over/under-provisioning, higher risks of demand dissatisfaction, power supply wastage, and power system instability. To prevent the overcharging and over-discharging of ESSs, keeping storage within minimum and maximum operational bounds is crucial, which can degrade the ESS lifespan. This paper emphasizes the importance of determining the optimal storage sizing of ESS while keeping the operational bounds of storage to balance operational reliability and system longevity.
2.
User satisfaction under fluctuating conditions: Existing works in the literature cannot ensure user demand satisfaction by using renewable sources first and then storage systems before relying on the power grid to satisfy user-requested demand. The interplay between supply priority and user demand satisfaction while preserving the operational bounds and energy balancing against fluctuations remains unexplored.
3.
Energy balancing and connectivity between power devices: Energy supply and demand balancing among numerous energy sources, ESSs, and energy loads with different connectivity arrangements (i.e., incomplete connections or complete connections) from least to dense connectivity between devices is not adequately addressed, especially in scenarios involving fluctuating RESs and varying demands.
4.
Cost optimization: Undersized storage may lead to wasted renewable energy (curtailment) or reliance on expensive backup generators. Oversized storage increases initial investment costs unnecessarily. An optimally sized system balances these factors, minimizing capital and operational expenses.
5.
Facilitating grid independence: Optimal storage sizing ensures self-sufficiency for off-grid or partially grid-connected systems. It provides enough capacity to meet demand even during prolonged periods of low renewable generation, reducing dependency on external power sources.
6.
Reducing carbon footprint: Efficient storage sizing minimizes reliance on fossil fuel-based backup systems by efficiently storing renewable energy, lowering greenhouse gas emissions.
7.
Supporting control algorithms: Keeping SOC within bounds is often a prerequisite for advanced control algorithms prioritizing loads, equalizing storage systems, and ensuring efficient operation.
8.
Maximizing self-consumption: The properly sized ESS permits households to maximize their use of generated power and reduce their reliance on power from the grid. By storing excess generation and using it during peak demand hours, we can avoid purchases from the grid. It is beneficial to ensure economic efficiency and self-sufficiency. Proper sizing ensures these algorithms operate effectively without constraints due to insufficient or excessive storage capacity.
The proposed research in this paper addresses these research gaps by developing a framework that integrates optimal storage sizing, connectivity, and energy management strategies for each connectivity arrangement and energy balancing for supply–demand mismatch at each time instance to ensure reliable, safe, and efficient system operation.

3. Power System Overview

The system model considered in this paper focuses on an isolated system(i.e., disconnected from the power grid) is designed for energy balance and resilience. The system model in Figure 1 shows the household environment with generators, loads, and storage devices. For this given power system, an optimization framework that ensures the important property of a power system called robustness against fluctuation (RAF)is ensured while maintaining a normal, safe operation of the power system against fluctuations. The key features of the given power system in this paper are mentioned below:
  • Isolated microgrid structure: The power system given in this paper can operate independently from the power grid support. Local power generators and storage systems manage the total energy supply for power loads.
  • Optimization and resilience consideration: The operation of the power system is optimized under fluctuating generation and demand. The RAF property of the power systems ensures resilient and stable operation while minimizing storage sizing.
This research does not consider power from the utility grid, which shows the ability of the proposed power system to ensure self-sufficiency, robustness, and local energy source utilization within an isolating environment.
This system model incorporates power storage (PSs), power generators (PGs), power loads (PLs), and connections between them. Power generators can provide energy to satisfy the demanded power by power loads and store energy in power storage devices. In this paper, (PV) photovoltaic generation systems and (FC) fuel cell technologies are the two power generators for this foundational analysis. Power loads receive energy from PGs and PSs to satisfy the demand. To examine the impact of storage capacity sizing while maintaining the state of charge (SOC) constraints for storage devices, two PLs are used as (VF) air conditioning (AC), and a ventilation fan (VF) are used as (AC) air conditioning unit for cooling and heating. Energy storage devices can be charged using energy supplied by PGs and discharge energy to power the PLs.
The power system model of the household environment with the physical connections can be transformed into a graph model with logical connections, as shown in Figure 2. Graph model representation helps to formulate the power system mathematically, and mathematical solutions such as minimization of cost, maximizing benefits, optimal storage sizing, etc., can be applied. In this representation, the nodes can be represented by the power devices of the power system, and edges can be represented as connections between power devices.

4. Problem Description

Integrating an ESS offers a viable approach to managing power fluctuations caused by RESs and the varying demands of loads in a power system. Pairing an ESS with fluctuating generators can introduce a controllable element into a system where power supply and demand are inherently unpredictable.
For instance, excess renewable energy generation can be stored in the ESS when the supply exceeds demand, while stored energy can be utilized to satisfy demand in insufficient renewable generation.
However, the capacity of the ESS plays a critical role in ensuring the system’s stable operation amidst power fluctuations caused by variable power devices. Insufficient storage capacity may lead to instability when managing these fluctuations. Safe operation is characterized by maintaining system stability even during abrupt charging and discharging events, as illustrated in Figure 3, compared to the instability scenarios depicted in Figure 4.
This study introduces an optimization problem to determine the ideal storage capacity for safety. Furthermore, since seasonal variations influence power consumption patterns, the research also examines how these environmental factors affect the sizing of the energy storage capacity while maintaining reliable performance against power fluctuations.

5. Optimization Problem Formulation for Energy Storage Sizing

The energy storage sizing problem determines the optimal storage size to ensure a cost-effective and reliable power supply. If the storage is undersized, it cannot handle power fluctuation when generation exceeds demand power. If the storage is oversized, additional operational and capital costs will be added without benefit. This sizing problem is very important for power systems with renewable sources, as an ESS is essential in accommodating power fluctuations. The ultimate objective of this problem in this section is to optimize the storage capacity of the ESS minimum while satisfying the energy balance and power and energy constraints. It accounts for variations in generation and consumption, e.g., seasonal variations (summer, autumn, winter, and spring), and ensures safe operating conditions for energy storage for seasonal requirements.
For a power system with multiple distributed power generators, ESSs, and loads, the total power supply from all power generators together with the initially stored energy of ESSs must be balanced with the total energy demand and the stored energy of the ESSs. However, fluctuating power generation and demand make balancing energy challenging while maintaining physical power, energy, and capacity constraints for generators, loads, and ESSs, respectively.
This section formulates the objective function as a minimization problem, focusing on reducing the storage capacity of ESSs. Several power/energy generation, consumption, and storage capacity constraints are introduced subject to the objective function to refine the optimization problem definition.
The proposed safety conditions are additional constraints subject to the objective function of ensuring safe operation while keeping supplying energies and demanded energies within the bounds of storage devices, i.e., SOC (state-of-charge) bounds. Hence, the optimization problem deals with the physical constraints of individual devices and safety constraints to preserve SOC limitations against power fluctuations. These safety conditions are formulated using discrete time intervals suitable for optimizing linear programming (LP).

5.1. Minimization Problem Objective Function

As outlined below, the energy storage capacity minimization problem is formulated as a linear programming (LP) problem.
M i n i m i z e h = 1 H E S S h
where E S S is the capacity for each storage system. The storage system indexing is P S h , 1 h H .

5.1.1. Constraints of Power Generation

The generated power of RESs is denoted as fluctuating power generators, and non-RESs are denoted as controllable power generators. The power generation must be limited between maximum and minimum generation limitations as
p g i c . m i n p g i c ( t ) p g i c . m a x
p g j f . m i n p g j f ( t ) p g j f . m a x
In the above constraints, p g i c . m i n and p g j f . m i n are the minimum generations of controllable and fluctuating generators. Similarly, p g i c . m a x , and p g j f . m a x are the maximum generation limitations.

5.1.2. Constraints of Power Demand

The power demand constraints similar to generation power constraints, must be bounded between maximum and minimum limitations (for both types of loads) as given below:
p k c . m i n p k c ( t ) p k c . m a x
p f . m i n p f ( t ) p f . m a x
In these constraints, p k c . m i n , and p f . m i n are minimum demand limitations and p f . m a x , and p k c . m a x are denoting maximum demand limitations.
The computation of energy from power both for generation and consumption are calculated from time 0 to time t as integral of power given below
E p g m ( t ) = 0 t p g m ( τ ) d τ
E p n ( t ) = 0 t p n ( τ ) d τ
In the above energy computations, E p n ( t ) shows energy consumption, and E p g m ( t ) denotes energy generation.

5.1.3. Capacity Constraints of Energy Storage System

The SOC of ESS can be computed from the given equation as,
S O C h ( t ) = S O C h i n i t + η c E S S ( h ) · 0 t p s h i n ( τ ) d τ η d E S S ( h ) · 0 t p s h o u t ( τ ) d τ
This equation represents storage efficiency for charging and discharging as η c and η d , respectively. Additionally, the storage capacity can be shown as, E S S ( h ) , and S O C h i n i t denoted the initial SOC of ESS. The SOC maximum and SOC minimum limitations of each ESS can be represented as
S O C h m i n S O C h ( t ) S O C h m a x
The charging power into ESS is represented with p s h i n ( t ) , and discharging power from ESS is denoted with p s h o u t ( t ) . Both incoming power to and outgoing power from each ESS is bounded between maximum and minimum limitations as given below
p s h i n . m i n p s h i n ( t ) p s h i n . m a x
p s h o u t . m i n p s h o u t ( t ) p s h o u t . m a x

5.1.4. Safety Constraints of Energy Storage System

For the safety concerns of a power system, each storage system should keep its SOC maximum and minimum limitations. This means that SOC limitations must bound energy generation and consumption. Two safety constraints are given; the first constraint prevents energy generation and consumption from exceeding or violating the SOC maximum limitation to avoid overcharging ESS, the second safety constraint prevents energy generation and consumption from violating SOC minimum limitations. Both safety conditions preserve the SOC maximum and SOC minimum limitation of ESS. To guarantee the safe operation, the two safety constraints must be satisfied.   
Safety constraint 1: S PG
P G j f S E p g j f ( t ) P L f N F L ( S ) N F L ( N S ( S ) ) E p f ( t ) + P S h N S ( S ) S O C h m a x S O C h ( 0 ) · E s s h η
Safety constraint 2: T PL
P G j f N F G ( T ) N F G ( N S ( T ) ) E p g j f ( t ) P L f T E p f ( t ) + P S h N S ( T ) S O C h m i n S O C h ( 0 ) · E s s h η
For a connection or power flow between power devices denoted as ( P A , P B ) . Here, the mathematical representation N ( P A ) shows the group of power devices attached or connected to P A . In the above constraints, some mathematical notations, such as N F L ( S ) , N S ( S ) , and N F G ( T ) , represent the group of fluctuating power loads, storage systems, and generators, respectively. The details of mathematical notations, arrangement of connections, and groups of power devices are given in [17,22]. Please refer to these references.

6. Solution Method

To solve the storage sizing problem optimally, a linear programming model is formulated using the objective function defined in (1) and the constraints specified in (2) to (10). The linear programming model is solved using a MATLAB solver called linprog, which is employed to determine the optimal energy storage sizing. This solver efficiently calculates the optimal solution based on seasonal power supply and demand data, identifying feasible solutions for each season.
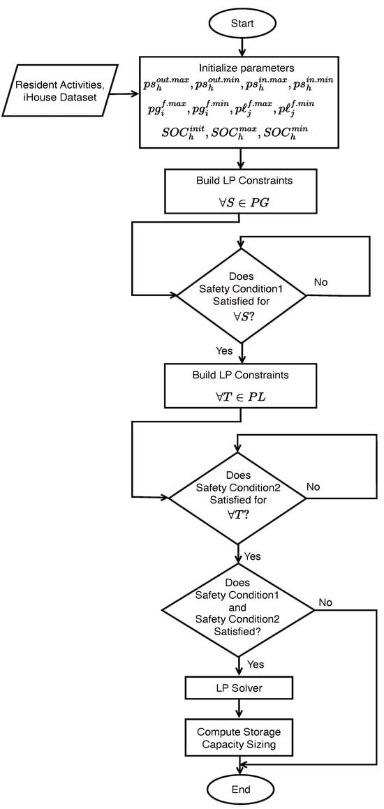
Algorithm 1 outlines the process of constructing a linear programming model to compute the optimal storage capacity sizing. The LP solver determines the optimal capacity sizing when the safety conditions are met for all the arrangements of power devices and the connections between them.
Algorithm 1 Optimal ESS sizing based on safety constraints
1:
Start
2:
Initialize parameters:
3:
p s h o u t . m a x , p s h o u t . m i n , p s h i n . m a x , p s h i n . m i n ,
4:
p g i f . m a x , p g i f . m i n , p j f . m a x , p j f . m i n ,
5:
S O C h i n i t , S O C h m a x , S O C h m i n
6:
Build LP constraints S P G
7:
repeat
8:
    Check if safety constraint 1 is satisfied S
9:
    if Safety Constraint 1 is not satisfied then
10:
        Build LP constraints S P G
11:
    end if
12:
    Check if safety constraint 2 is satisfied T
13:
    if Safety condition 2 is not satisfied then
14:
        Build LP constraints T P L
15:
    end if
16:
    Check if both safety constraint 1 and safety constraint 2 are satisfied
17:
    if Both conditions are satisfied then
18:
        Proceed to LP solver
19:
    else
20:
        Re-evaluate safety constraints
21:
    end if
22:
until Both safety constraints are satisfied
23:
Use LP solver
24:
Determine Optimal ESS capacity sizing
25:
End
The flowchart for this algorithm provides a visual representation of the steps involved in constructing and solving the linear programming model, as shown in Figure 5. It outlines the sequence of operations, starting with the initialization of the input parameters and constraints and ending with the objective function. The flowchart also illustrates the process of checking safety conditions for power generators, loads, and ESSs, leading to the execution of the LP solver to compute the optimal ESS capacity. This visual aid helps in understanding the logical flow and decision-making steps within the algorithm.

7. Simulation Results and LP Model Testing

This section presents the simulation results and the linear programming (LP) model testing outcomes for the proposed optimization problem. The results demonstrate the validity and efficiency of the mathematical formulations and algorithms in ensuring the robustness of the power system against fluctuations. The simulations were carried out using real-world datasets and different scenarios as to validate the theoretical contributions of this study.

7.1. iHouse Data Set

This paper utilizes power data from a smart house facility known as iHouse [23] at our university to test the linear programming (LP) model. The iHouse stands for Ishikawa, internetted, inspiring, and intelligent house is a smart and advanced house in Japan designed for experiments with a real-time energy management system. The outside view of this research facility is represented in Figure 6. It has a solar generation (PV) with 400V DC power supply, a fuel cell (FC), various intelligent home appliances, energy storage systems, IoT-based smart home technologies, and more than 350 sensors to support real-time sensing for various applications.
The optimal seasonal storage capacity is determined through computer simulations using real-world power generation and consumption data from the iHouse. The simulation incorporates generators for power supply, a photovoltaic (PV) power generation system, and a fuel cell power generator (FC), along with power consumption profiles of power loads such as VF (ventilation fan) and AC (air conditioning) unit. Additionally, two storage systems, primary (PS1) and secondary (PS2) storage, are used for simulations.
The operating times for power generators (PV and FC) and consumption appliances (AC and VF) are defined as given in [24], which shows the daily power usage activities for a household environment with four family members. The fuel cell power generation model, derived from ECOFARM, ref. [25] operates from 00:00 to 06:00 and resumes from 14:00 to 23:59. The PV system power generation is modeled according to the weather conditions of the day, using the data collected from the iHouse.
For the experiment in this paper, four seasons are analyzed: summer, winter, autumn, and spring. The power consumption data of power loads (VF and AC) for each season were obtained in summer (14th June), winter (11th January), spring (23rd April), and autumn (17th October) to accommodate the temperature in a household environment in four seasons. The AC operates from 00:00 to 04:00 and again from 06:00 to 23:59, while the VF is scheduled to run between 05:00 and 06:00, 12:00 and 13:00, and finally from 17:00 to 18:00 for all four seasons.
The primary and secondary storage systems are initialized with a state of charge (SOC) of 0.21 kWh (21%) of SOC, with maximum and minimum SOC values set at 0.94 kWh (94%) of SOC and 0.20 kWh (20%) of SOC, respectively. The storage systems operate with a charge and discharge efficiency of 0.92 kWh (92%) of SOC. The power consumption for each power device with operating modes for each season is given in [26,27] and listed in Table 1.

7.2. Application Scenarios

This paper targets a household environment with generators (controllable and fluctuating), loads (controllable and fluctuating), energy storage systems (ESSs), and connections between power devices. The logical arrangement of power devices and their connections are shown in Figure 7 and Figure 8.
According to the arrangement analyzed, four cases are designed for logical connections to show different connectivity arrangements between power devices and energy management strategies:
  • Case 1: This case shows a simple, isolated power system simulating its essential operation under controlled supply conditions. It helps to analyze storage efficiency and performance when ESS is the intermediate device between generation and consumption. This case provides insights into how individual system components perform under limited connectivity. This setup is applicable for predictable loads, such as a single appliance setup ideal for user-specific energy management plans.
  • Case 2: This connection arrangement between power devices introduces parallel connections, simulating a more realistic power system where generation simultaneously supports direct connection to power loads and ESS. It emphasizes the role of user activity schedules in identifying energy allocation priorities and allows for the evaluation of how ESSs handle charging and discharging simultaneously. This setup is applicable for smart homes with renewable energy sources (RESs) and dynamic user behavior. It is helpful for energy-sharing strategies between real-time power usage and energy saving for later use.
  • Case 3: This case shows the increase in complexity caused by increasing multiple loads, simulating more real-world scenarios. This connection arrangement emphasizes how generated power is distributed between immediate use and storage, considering load prioritization and energy surplus. The system performance evaluation is visible under distribution conditions. This setup is applicable to a power system with crucial multi-appliances and diverse consumption patterns by providing insights into load balancing and energy allocation strategies.
  • Case 4: This case represents a fully connected system, allowing all generators, loads, or ESSs to interact dynamically. It further allows the power system to be as flexible as possible, simulating optimal storage sharing and load management. This setup is applicable to a microgrid with optimized energy flows, which is ideal for evaluating system-wide resilience against fluctuations and disruptions.
By examining these cases, the effect of different configurations on energy efficiency, reliability, and user satisfaction can be investigated to develop more innovative power systems. The cases above move from basic (Case 1) to complex (Case 4), allowing the gradual performance analysis of system dynamics. These cases help identify connectivity trade-offs, system flexibility for demand satisfaction, and storage sharing and allocation.

7.3. Simulation Results for Safety Analysis

This section examines the power system for safety constraints/conditions using generation and consumption patterns for each hour of the day, i.e., 24 h. Safety in this context is defined as maintaining the SOC limitations of ESS (both maximum and minimum) despite power fluctuations. Both proposed safety conditions are tested and verified for each season by analyzing the situation before and after the application of safety conditions for each season: spring, summer, winter, and autumn.
Figure 9a,b illustrate the scenarios without and with the application of safety conditions for Case 1, where loads are powered solely through ESSs. In Figure 9a, the violations of the SOC limitations occur due to power fluctuations. Conversely, Figure 9b demonstrates that the proposed safety conditions successfully preserve SOC limitations, ensuring that both generated and consumed energy remain within the storage capacity boundaries.
In Case 2, where one load is connected to each power generator, Figure 9c highlights the violations of safety conditions due to insufficient capacity to handle energy fluctuations. However, as shown in Figure 9d, expanding the ESS capacity under the proposed safety conditions resolves these violations, allowing the system to accommodate both generation and consumption within safe limits.
The results for Case 3 and Case 4 are depicted in Figure 9e–h. In Case 3, additional connections are introduced, while Case 4 considers the complete integration between power generators, loads, and ESSs. The figures clearly show capacity violations in all four cases, such as over-charging and over-discharging. However, applying the proposed safety conditions consistently ensures the safe operation of the power system across all scenarios (i.e., Figure 7 and Figure 8).
Next, the safety conditions are applied to summer season power generation and consumption data for all cases. From Figure 10a,c,e,g, it is noticed that the capacity limitations are violated. After the application of proposed safety conditions, as shown in Figure 10b,d,f,h, it is verified that SOC maximum and minimum bounds shown in red are kept even in a fluctuating environment.
After the spring and summer seasons, with and without the application of safety conditions, the safety conditions are applied to autumn season power generation and consumption data for all cases. From Figure 11a,c,e,g, it was observed that the limitations of ESS were violated without the application of safety conditions. However, after implementing the proposed safety conditions, as illustrated in Figure 11b,d,f,h, the supplying and consuming energies are kept within SOC bounds. The safety conditions were first evaluated for the spring, summer, and autumn seasons, both with and without their application.
In all cases, the safety conditions were applied to the power generation and consumption data of the winter season. From Figure 12a,c,e,g, it is analyzed that the ESS capacity limitations are violated. After applying the proposed safety conditions, as shown in Figure 12b,d,f,h, it is shown that the SOC bounds are successfully preserved.

8. Optimal ESS Capacity Sizing

The optimal ESS sizing is essential in a household environment for each season due to fluctuating generation and demand.
From the generation perspective, optimal sizing is vital because solar generation varies significantly with seasons. For example, the PV generation in summer is higher than in winter due to longer daylight hours. Without the optimal sizing of ESS, the surplus energy from PV is wasted in high production seasons, such as summer, and a shortage of energy from PV may be experienced due to low production periods, such as winter, which leads to dependence on the grid. From the consumption perspective, the power demand is high due to cooling and heating (air-conditioning) in a household environment in extreme peak seasons such as summer and winter. Although the power demand may be lower in the spring and autumn seasons, the generation patterns of PV are still varying. In this situation, the optimal sizing of ESS can guarantee that energy is stored during high and low-demand situations and supplied to loads during generation and high-demand shortages.
This section addresses power fluctuations from generators and loads to determine the optimal capacities of primary and secondary energy storage systems. The analysis of optimal storage capacities for these ESSs for all four seasons is discussed in this section.
Figure 13 shows the optimal capacity for the spring season considering all cases (i.e., Case 1, Case 2, Case 3, and Case 4). In application scenario Case 1, the primary storage system requires the most significant capacity of 69.93 kWh because it supplies power to both loads (i.e., AC and VF) in conjunction with the secondary storage system with an optimal size of 3.78 kWh. In Case 2, the optimal capacity of the primary storage decreases slightly as 59.93 kWh and secondary storage to 3.7 kWh due to the direct connection between the power generator and one of the loads, reducing reliance on ESS. Case 3 analyzes the optimal storage capacities for primary and secondary storage systems as 1.75 kWh and 2.82 kWh, respectively. In Case 4, as additional direct connections are established, the optimal storage capacity for primary and secondary storage devices is significantly reduced to 0 kWh and 2.8123 kWh, respectively. These connections allow generators to meet power demands directly, minimizing the need for ESS. In summary, in Case 4, the primary storage capacity is reduced to the minimum necessary level. In this case, a single ESS can manage power generation and demand fluctuations.
Figure 14 shows the optimal ESS capacity for the summer season considering all cases. In Case 1, the optimal capacity of the primary storage system is the highest at 145.37 kWh, and the secondary storage capacity is analyzed as 2.27 kWh, as power is routed to both loads exclusively through the storage systems. In Case 2, the optimal primary storage capacity decreased slightly to 72.69 kWh for primary storage and 2.27 kWh, and remained the same for secondary storage due to the direct connection between the power generator and one of the loads. In Case 3, primary storage is recorded as 122.11 kWh and 1.08 kWh for secondary storage. In Case 4, a significant reduction in optimal storage capacity is observed because increased connections allow power to be supplied directly from generators to loads, bypassing the storage systems. In this case, primary and secondary storage systems are 0 kWh and 122.11 kWh, respectively. For Case 4, the primary storage capacity is minimized. A single storage system can effectively manage the fluctuating generation and demand in this configuration.
Figure 15 shows the optimal capacity for the winter season as 81.89 kWh for primary ESS and 3.0003 kWh for secondary ESS for Case 1, precisely the exact sizes as both ESSs for Case 2, namely 79.13 kWh for primary ESS and 0.9313 kWh for secondary ESS for Case 3, 0 kWh for primary ESS and 79.13 kWh for secondary ESS for Case 4. Figure 16 shows the optimal capacity for the autumn season as 69.93 kWh for primary ESS and 2.31 kWh for secondary ESS for Case 1, precisely the exact sizes as both ESSs for Case 2, namely 67.18 kWh for primary ESS and 1.17 kWh for secondary ESS for Case 3, 0 kWh for primary ESS and 67.18 kWh for secondary ESS for Case 4. Both seasons show a slight decrease in the optimal capacity of ESSs from Case 1 to Case 4. This indicates the availability of connections between power devices and ESSs.
The results demonstrate that strategic power distribution dramatically reduces the required size of the ESS. In spring, the optimal primary ESS capacity is decreased from 69.93 kWh (Case 1) to 0 kWh (Case 4), a 100% reduction, while the secondary ESS reduces from 3.78 kWh to 2.81 kWh (a 25.7% reduction) due to load balancing. In summer, the primary ESS capacity reduces from 145.37 kWh (Case 1) to 0 kWh (Case 4), a 100% reduction, while the secondary ESS increases to 122.11 kWh in Case 4 due to direct connections between power devices. For winter, the primary ESS is reduced from 81.89 kWh (Case 1) to 0 kWh (Case 4), a 100% reduction, while the secondary ESS fluctuates from 3.0003 kWh to 79.13 kWh, reflecting seasonal power variations. Similarly, in autumn, the primary ESS capacity decreases from 69.93 kWh (Case 1) to 0 kWh (Case 4), a 100% reduction, while the secondary ESS shifts from 2.31 kWh to 67.18 kWh due to connectivity between power devices.

9. Conclusions

This paper introduces an optimal storage capacity sizing problem to leverage the combined benefits of renewable energy sources and energy storage systems. It focuses on maintaining safe operation despite power output variability. Based on linear programming (LP), the proposed optimization model is developed and validated using real power data from iHouse smart apartment facility. The approach seeks to minimize seasonal storage capacity while respecting upper and lower capacity limits to ensure safety. Comprehensive testing confirms that system requirements are satisfied across different seasons and scenarios. The proposed method introduces a seasonal storage sizing that dynamically changes energy storage system (ESS) capacity based on power fluctuations and seasonal variations in demand. Unlike existing approaches, which usually depend on static storage sizing without considering seasonal variations, the proposed approach optimally minimizes storage capacity while ensuring system resilience. Furthermore, the power management strategically combines power devices to reduce reliance on ESS, achieving up to a 100% reduction in primary ESS capacity in certain cases. The simulation results highlight the effective capacity minimization tailored to seasonal power demand. However, further investigation is needed to incorporate additional constraints, such as charging and discharging rates and limitations on power connections, as a key direction for future research.

Author Contributions

Conceptualization, S.J. and Y.L.; methodology, S.J. and Y.L.; validation, S.J., Y.L. and Y.T.; writing—original draft preparation, S.J.; writing—review and editing, S.J.; supervision, S.J., Y.L. and Y.T. All authors have read and agreed to the published version of the manuscript.

Funding

This research received no external funding.

Data Availability Statement

All data have been gathered from references from the twenty-third to the twenty-seventh.

Conflicts of Interest

The authors declare no conflict of interest.

Nomenclature

p g f ( t ) Power generation of a fluctuating generator as a function of time t
p g f . m a x ( t ) Maximum bound on generation of fluctuating generator as function of time t
p g f . m i n ( t ) Minimum bound on generation of fluctuating generator as function of time t
p g c ( t ) Power generation of a controllable generator as a function of time t
p g c . m a x Maximum generation of a controllable generator
p g c . m i n Minimum generation of a controllable generator
p f ( t ) Power consumption of a fluctuating load as a function of time t
p f . m a x ( t ) Maximum bound on consumption of fluctuating load as function of time t
p f . m i n ( t ) Minimum bound on consumption of fluctuating load as function of time t
p c ( t ) Power consumption of a controllable load as a function of time t
p c . m a x Maximum consumption of a controllable load
p c . m i n Minimum consumption of a controllable load
E p g ( t ) Energy generation computation of a generator from time 0 to t
E p ( t ) Energy consumption computation of a load from time 0 to t
E S S Energy storage capacity of a storage device
p s i n ( t ) Incoming power to a storage device as a function of time t
S O C ( t ) State of charge of a storage device as a function of time t
S O C m a x Maximum state of charge of a storage device
S O C m i n Minimum state of charge of a storage device
S O C i n i t Initial state of charge of a storage device

References

  1. Bhaskarjyoti, D.; AshwaniIoannou, K. Optimal Sizing and Selection of Energy Storage System Considering Load Uncertainty. In Proceedings of the 2nd International Conference on Power, Energy and Environment: Towards Smart Technology (ICEPE), Shillong, India, 1–2 June 2018; pp. 1–9. [Google Scholar]
  2. Imane, B.; Ghassane, A.; Maaroufi, M. Impact of load and renewable energy uncertainties on single and multiple energy storage systems sizing. In Proceedings of the IEEE Power & Energy Society Innovative Smart Grid Technologies Conference (ISGT), Washington, DC, USA, 23–26 April 2017; pp. 1–5. [Google Scholar]
  3. Harper, R. Inside the smart home: Ideas, possibilities and methods. In Inside the Smart Home; Springer: Berlin/Heidelberg, Germany, 2003; pp. 1–13. [Google Scholar]
  4. Moghaddam; Naziri, I.; Badrul, C. Optimal sizing of Hybrid Energy Storage Systems to mitigate wind power fluctuations. In Proceedings of the IEEE Power and Energy Society General Meeting (PESGM), Boston, MA, USA, 17–21 July 2016; pp. 1–5. [Google Scholar]
  5. Noorzad, N.; Tascıkaraoglu, A.; Catalao, J.P.S. Optimal Sizing of a Community Energy Storage in a Multi-Energy System. In Proceedings of the International Conference on Smart Energy Systems and Technologies (SEST), Torino, Italy, 10–12 September 2024; pp. 1–6. [Google Scholar]
  6. Starke, M.; Sawyer, N.; Dean, B.; Smith, M.; Liu, G.; Spiers, D.; Schultz, B.; Harman, H. Development and analysis of an energy storage sizing tool for residential deployment. In Proceedings of the IEEE Power & Energy Society General Meeting, Chicago, IL, USA, 16–20 July 2017; pp. 1–5. [Google Scholar]
  7. Bayram.; Islam, S. Energy Storage Sizing and Photovoltaic Self-Consumption in Selected Households in Qatar. In Proceedings of the 8th International Conference on Power and Energy Systems (ICPES), Colombo, Sri Lanka, 21–22 December 2018; pp. 229–233. [Google Scholar]
  8. IEA. Global Energy & CO2 Status Report; International Energy Agency: Paris, France, 2018. [Google Scholar]
  9. IRENA. Electricity Storage and Renewables: Costs and Markets to 2030; International Renewable Energy Agency: Abu Dhabi, United Arab Emirates, 2017; Volume 164. [Google Scholar]
  10. Li, X.; Hui, D.; Lai, X. Battery energy storage station (BESS)-based smoothing control of photovoltaic (PV) and wind power generation fluctuations. IEEE Trans. Sustain. Energy 2013, 4, 464–473. [Google Scholar] [CrossRef]
  11. Chen, Z.; Shu, X.; Sun, M.; Shen, J.; Xiao, R. Charging strategy design of lithium-ion batteries for energy loss minimization based on minimum principle. In Proceedings of the 2017 IEEE Transportation Electrification Conference and Expo, Asia-Pacific (ITEC Asia-Pacific), Harbin, China, 7–10 August 2017; pp. 1–6. [Google Scholar]
  12. Hung, D.Q.; Mithulananthan, N. Multiple distributed generator placement in primary distribution networks for loss reduction. IEEE Trans. Ind. Electron. 2011, 60, 1700–1708. [Google Scholar] [CrossRef]
  13. Schimpe, M.; Piesch, C.; Hesse, H.C.; Paß, J.; Ritter, S.; Jossen, A. Power flow distribution strategy for improved power electronics energy efficiency in battery storage systems: Development and implementation in a utility-scale system. Energies 2018, 11, 533. [Google Scholar] [CrossRef]
  14. Nanewortor, X.; Janik, P.; Waclawek, Z.; Leonowicz, Z. Optimal sizing of renewable energy plant-storage system for network support. In Proceedings of the IEEE 16th International Conference on Environment and Electrical Engineering (EEEIC), Florence, Italy, 7–10 June 2016; pp. 1–6. [Google Scholar]
  15. Fortenbacher, P.; Mathieu, J.L.; Andersson, G. Modeling and optimal operation of distributed battery storage in low voltage grids. IEEE Trans. Power Syst. 2017, 32, 4340–4350. [Google Scholar] [CrossRef]
  16. Kularatna, N.; Gunawardane, K. Energy Storage Devices for Renewable Energy-Based Systems: Rechargeable Batteries and Supercapacitors; Academic Press: Cambridge, MA, USA, 2021. [Google Scholar]
  17. Javaid, S.; Kaneko, M.; Tan, Y. Safe operation conditions of electrical power system considering power balanceability among power generators, loads, and storage devices. Energies 2021, 14, 4460. [Google Scholar] [CrossRef]
  18. Ben, E.; Seifeddine.; Outbib, R.; Benbouzid, M. Selecting and optimal sizing of hybridized energy storage systems for tidal energy integration into power grid. J. Mod. Power Syst. Clean Energy 2019, 7, 113–122. [Google Scholar]
  19. Javadi, M.; Nezhad, A.E.; Firouzi, K.; Besanjideh, F.; Gough, M.; Lotfi, M.; Anvari-Moghadam, A.; Catalão, J.P. Optimal operation of home energy management systems in the presence of the inverter-based heating, ventilation and air conditioning system. In Proceedings of the 2020 IEEE International Conference on Environment and Electrical Engineering and 2020 IEEE Industrial and Commercial Power Systems Europe (EEEIC/I&CPS Europe), Madrid, Spain, 9–12 June 2020; pp. 1–6. [Google Scholar]
  20. Jannesar, M.R.; Sedighi, A.; Savaghebi, M.; Guerrero, J.M. Optimal placement, sizing, and daily charge/discharge of battery energy storage in low voltage distribution network with high photovoltaic penetration. Appl. Energy 2018, 226, 957–966. [Google Scholar] [CrossRef]
  21. Sun, Y.K.; Ding, Q.; Xing, H.; Zeng, P.P.; Sun, F.F. Optimal Placement and Sizing of Grid-scale Energy Storage in Distribution Networks with Security Constrains. In Proceedings of the International Conference on Power System Technology (POWERCON), Guangzhou, China, 6–8 November 2018; pp. 1477–1482. [Google Scholar]
  22. Javaid, S.; Kaneko, M.; Tan, Y. System condition for power balancing between fluctuating and controllable devices and optimizing storage sizes. Energies 2022, 15, 1055. [Google Scholar] [CrossRef]
  23. Lim, Y.; Tang, N.T.; Makino, Y.; Teo, T.K.; Tan, Y. Simulation of Solar Photovoltaic and Fuel Cell Energy System for Smart Community Simulator; The Institute of Electronics, Information and Communication Engineers (IEICE): Tokyo, Japan, 2017; Volume 117, pp. 1–6. [Google Scholar]
  24. NHK Broadcasting Culture Research Institute. Time Habits of Japanese in 2005: A NHK Survey Regarding the Use of Time in the Daily Life of Japanese Citizens; Japan Broadcasting Publishers Association: Tokyo, Japan, 2006. [Google Scholar]
  25. TOSHIBA Household Fuel Cell System: ECOFARM. Available online: https://www.toshiba.co.jp/product/fc/products/pdf/TENA-chofu16-7.pdf (accessed on 19 September 2022).
  26. Lim, Y.; Takano, S.; Javaid, S.; Tan, Y. Admission control scheme with balancing power negotiation algorithm for home energy management and control system. In Proceedings of the 2021 IEEE International Conference on Consumer Electronics-Taiwan (ICCE-TW), Penghu, Taiwan, 15–17 September 2021; pp. 1–2. [Google Scholar]
  27. Lim, Y.; Javaid, S.; Khwanrit, R.; Tan, Y. Seasonal storage capacity design for distributed power flow system with safe operation conditions. In Proceedings of the 2022 IEEE International Conference on Consumer Electronics-Taiwan, Taipei, Taiwan, 6–8 July 2022; pp. 577–578. [Google Scholar]
Figure 1. A power system representing the household environment with physical connections.
Figure 1. A power system representing the household environment with physical connections.
Designs 09 00022 g001
Figure 2. Representation of a graph model to transform physical connections into logical connections.
Figure 2. Representation of a graph model to transform physical connections into logical connections.
Designs 09 00022 g002
Figure 3. S O C limitations are guaranteed for an ESS (i.e., preserving the safe operation of a power system).
Figure 3. S O C limitations are guaranteed for an ESS (i.e., preserving the safe operation of a power system).
Designs 09 00022 g003
Figure 4. S O C limitations violation for an ESS (energy storage system).
Figure 4. S O C limitations violation for an ESS (energy storage system).
Designs 09 00022 g004
Figure 5. Flowchart using LP solver considering safety conditions.
Figure 5. Flowchart using LP solver considering safety conditions.
Designs 09 00022 g005
Figure 6. Outside view of experiment house- iHouse.
Figure 6. Outside view of experiment house- iHouse.
Designs 09 00022 g006
Figure 7. Application scenarios for Case 1 and Case 2.
Figure 7. Application scenarios for Case 1 and Case 2.
Designs 09 00022 g007
Figure 8. Application scenarios for Case 3 and Case 4.
Figure 8. Application scenarios for Case 3 and Case 4.
Designs 09 00022 g008
Figure 9. Violation (i.e., before safety conditions) and preservation (i.e., after safety conditions) of S O C limitations for spring season.
Figure 9. Violation (i.e., before safety conditions) and preservation (i.e., after safety conditions) of S O C limitations for spring season.
Designs 09 00022 g009
Figure 10. Violation (i.e., before safety conditions) and preservation (i.e., after safety conditions) of S O C limitations for the summer season.
Figure 10. Violation (i.e., before safety conditions) and preservation (i.e., after safety conditions) of S O C limitations for the summer season.
Designs 09 00022 g010
Figure 11. Violation (i.e., before safety conditions) and preservation (i.e., after safety conditions) of S O C limitations for the autumn season.
Figure 11. Violation (i.e., before safety conditions) and preservation (i.e., after safety conditions) of S O C limitations for the autumn season.
Designs 09 00022 g011
Figure 12. Violation (i.e., before safety conditions) and preservation (i.e., after safety conditions) of S O C limitations for the winter season.
Figure 12. Violation (i.e., before safety conditions) and preservation (i.e., after safety conditions) of S O C limitations for the winter season.
Designs 09 00022 g012
Figure 13. Optimal ESS capacity sizing for the spring season.
Figure 13. Optimal ESS capacity sizing for the spring season.
Designs 09 00022 g013
Figure 14. Optimal ESS capacity sizing for the summer season.
Figure 14. Optimal ESS capacity sizing for the summer season.
Designs 09 00022 g014
Figure 15. Optimal ESS capacity sizing for the winter season.
Figure 15. Optimal ESS capacity sizing for the winter season.
Designs 09 00022 g015
Figure 16. Optimal ESS capacity sizing for the autumn season.
Figure 16. Optimal ESS capacity sizing for the autumn season.
Designs 09 00022 g016
Table 1. Power consumption profiles of power loads for each season.
Table 1. Power consumption profiles of power loads for each season.
SeasonAir-Conditioner (Wh)Ventilation Fan (Wh)
Autumn38027.8
Spring38016.5
Winter89016.5
Summer79027.8
Disclaimer/Publisher’s Note: The statements, opinions and data contained in all publications are solely those of the individual author(s) and contributor(s) and not of MDPI and/or the editor(s). MDPI and/or the editor(s) disclaim responsibility for any injury to people or property resulting from any ideas, methods, instructions or products referred to in the content.

Share and Cite

MDPI and ACS Style

Javaid, S.; Lim, Y.; Tan, Y. Optimized Energy Management and Storage Sizing in Smart Homes with Renewable Energy Sources Under Safe Operating Conditions. Designs 2025, 9, 22. https://doi.org/10.3390/designs9010022

AMA Style

Javaid S, Lim Y, Tan Y. Optimized Energy Management and Storage Sizing in Smart Homes with Renewable Energy Sources Under Safe Operating Conditions. Designs. 2025; 9(1):22. https://doi.org/10.3390/designs9010022

Chicago/Turabian Style

Javaid, Saher, Yuto Lim, and Yasuo Tan. 2025. "Optimized Energy Management and Storage Sizing in Smart Homes with Renewable Energy Sources Under Safe Operating Conditions" Designs 9, no. 1: 22. https://doi.org/10.3390/designs9010022

APA Style

Javaid, S., Lim, Y., & Tan, Y. (2025). Optimized Energy Management and Storage Sizing in Smart Homes with Renewable Energy Sources Under Safe Operating Conditions. Designs, 9(1), 22. https://doi.org/10.3390/designs9010022

Article Metrics

Back to TopTop