Abstract
With the emergence of Industry 4.0 in intralogistics, the need for flexible material handling solutions is increasing. While conventional conveyor systems are often too inflexible to meet changing requirements. Automated guided vehicles offer an answer, additional solutions are required for companies relying on already busy and crowded shop floors. This paper presents a concept for a periphery-free electrified monorail system (PEMS) that enables flexible material transport with minimal floor requirements. The PEMS is based on classic electrified monorail technology, and requires no additional peripheral devices within the rail system. Installation and maintenance costs are kept to a minimum through simplified branching elements and a battery-powered energy supply for the vehicles. The modular design of the rail elements further allows transport on standardized Euro-pallets. Moreover, a taxonomy for evaluating the passivity of branching elements of electrified monorail systems is introduced. The functionality of the PEMS was validated by conducting real experiments using a prototype, The results show that the PEMS provides high flexibility in terms of layout design and usage, allowing for fast adaption to the changing requirements of intralogistics.
1. Introduction
As Industry 4.0 takes hold in intralogistics, flexibility concerning constantly changing requirements for transported goods and material flows is more important than ever. This flexibility can no longer be solely provided by static conveyor systems such as belt and roller conveyors. Automated guided vehicle systems (AGVS) provide one possible way to increase the flexibility of floor-based material transport. They can easily be adjusted to changes in their environment, and system throughput can be maximized by increasing the size of the fleet.
For companies that require flexible material transport but for whom the shop floor offers little to no additional room for material handling solutions, other approaches are required. This paper presents a concept for a periphery-free electric monorail system (PEMS) that can handle material transport with a minimum of floor space. The concept is based on the technology of a classic electric monorail system in which the vehicle moves on a rail running along the hall ceiling. It should be emphasized that the concept presented here additionally eliminates the need for any peripherals within the track layout. This includes the simplification of turnout elements, which no longer require sensors, actuators, and control devices. Furthermore, continuous energy transmission is replaced by battery operation, which makes it possible to eliminate the layout-wide energy supply system. The PEMS aims to reduce installation and maintenance costs compared to conventional monorail systems while maximizing flexibility for changing operation conditions and layout design.
At the beginning of this paper, related work and inventions are described. Subsequently, a taxonomy is presented by which electric monorail systems (EMS) can be evaluated concerning the passivity of their branching elements. The third section introduces the PEMS concept, including the technical details of the invention as well as the intended and potential fields of application. A first validation of the concept through real experiments on a prototype is presented. Finally, the concept is summarized and open development steps are described.
2. Materials and Methods
This section describes work and inventions from the fields of public transportation and intralogistics that are related to the concept presented in this paper. The term ‘trolley’ is used as a synonym for a vehicle, whereby a driven trolley is defined as a ‘drive-trolley’ and a non-driven trolley as an ‘idle-trolley’, according to VDI4441 [1].
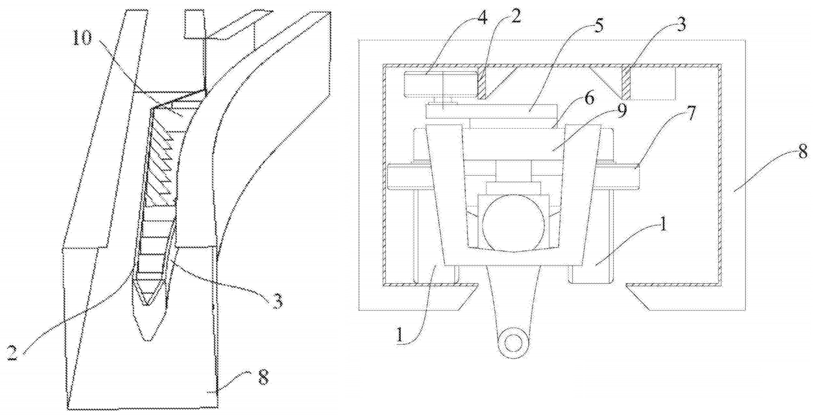
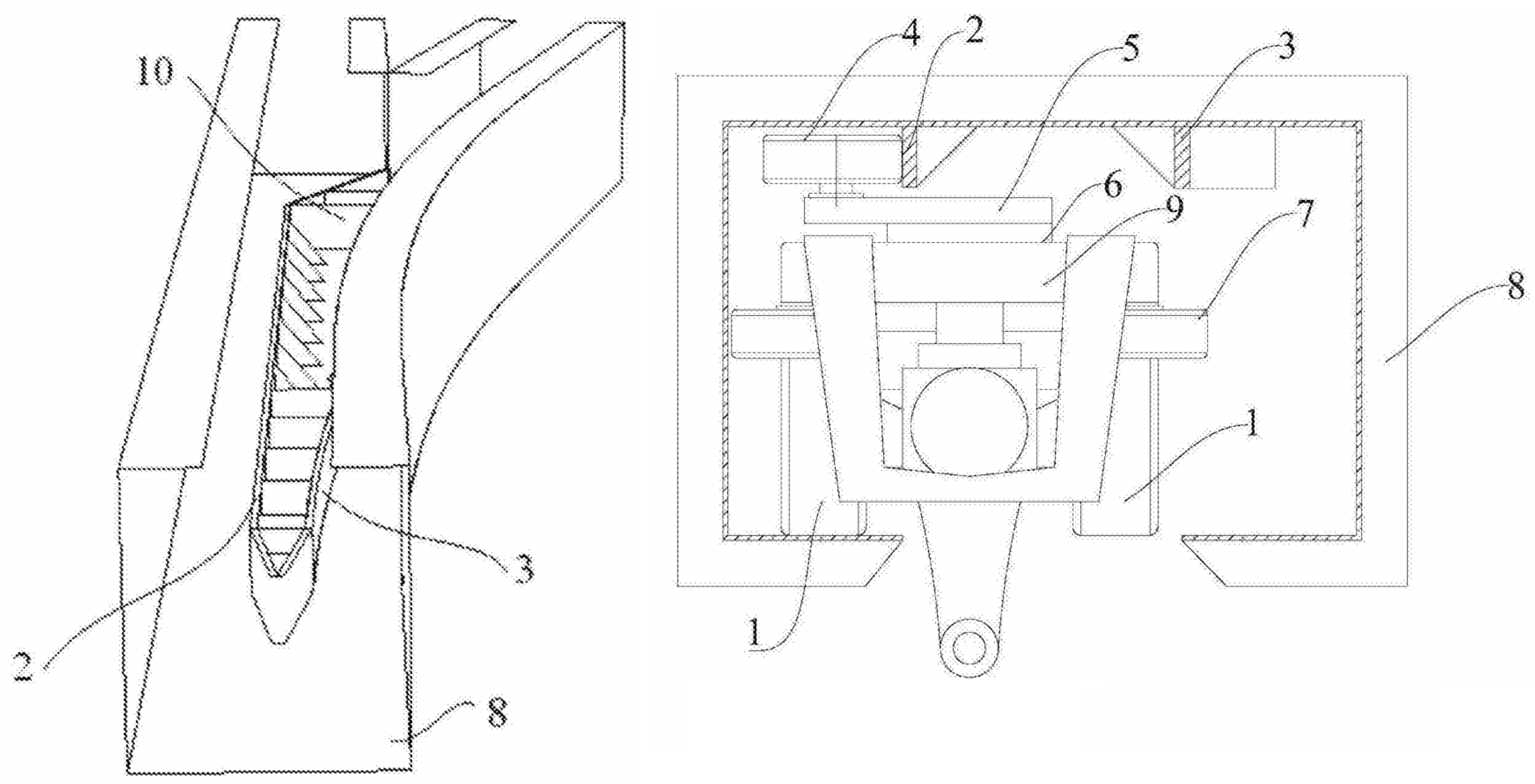
In [2], the authors described an invention with a drive-trolley and a passive track system designed as a rectangular profile (8), with welded flanks for branching (2–3).
The drive-trolley consists of four track support wheels (7), two additional support wheels for turnout functionality, each with an electric drive (4–6), and four load-bearing wheels (1). Figure 1 shows the track system on the left and the trolley on the right. The trolley hanger is suspended through the gap on the underside of the track.
Figure 1.
Invention of an overhead monorail active guider and bogie with active guider [2].
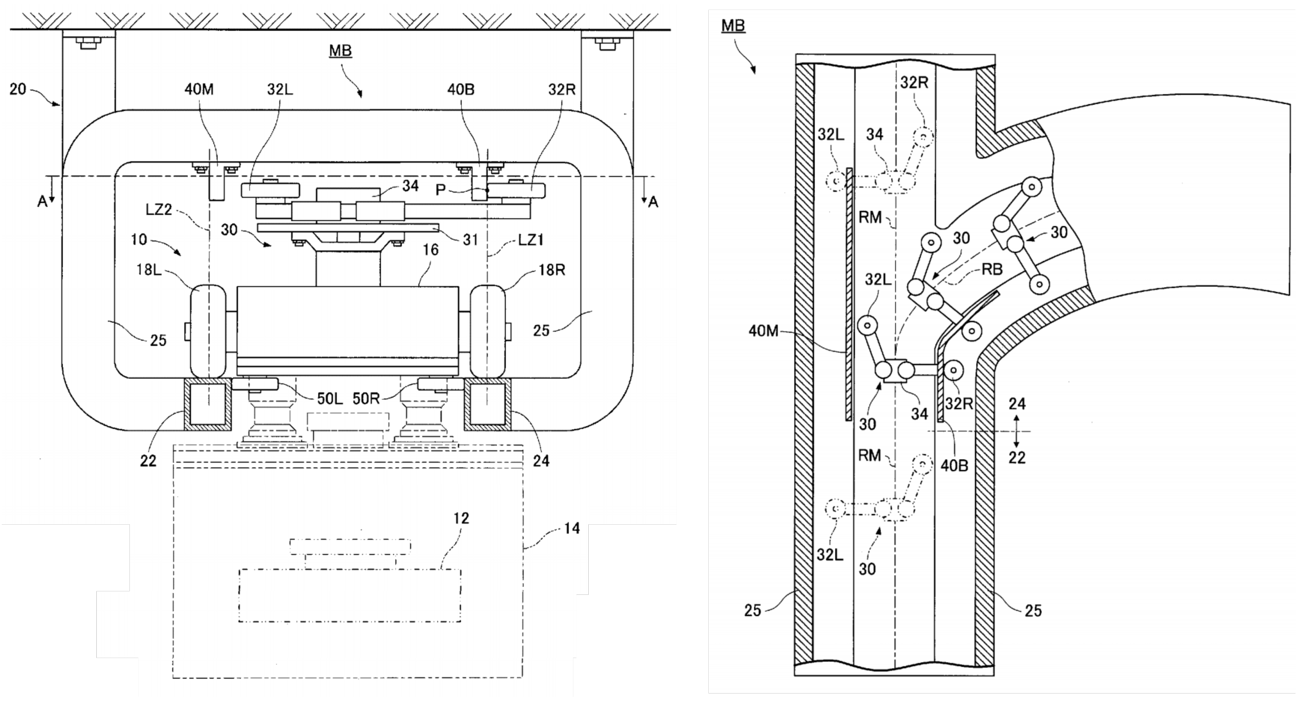
A similar invention was described in [3] and shown in Figure 2. In the invention, each trolley (10) comprises at least two driven trolley units (30, 31). Each drive-trolley unit consists of four track support wheels (50L, 50R), two additional support wheels for turnout functionality () with one electric drive each (34), and two load-bearing wheels (18L, 18R). As in the previous invention, the track system is designed as a rectangular profile (25) with welded-on flanks for steering the trolley at turnouts (40M, 40B).
Figure 2.
Invention of an overhead conveyor trolley using a plurality of main and branch rails [3].
The inventions in [4,5,6,7,8,9,10,11] are similar, with [11] already being invented in 1969. The technical characteristics of all previously mentioned inventions can be found in the following Table 1.
Regarding scientific publications, ref. [12,13] showed two further ultralight EMS concepts for the transport of goods up to over long distances. The system described in [13] includes a battery-powered trolley (cf. Figure 3) for bridging long transport distances in intralogistics environments or for placing sensors in hard-to-reach areas. The trolley runs on various support structures, such as rectangular profiles, flat profiles, and steel cables. Semi-passive turnout elements without actuators, sensors, or controllers are used. Figure 4 shows the battery-powered trolley with a load of on a rectangular profile rail. Figure 3 shows that gradients of can be implemented.
Figure 3.
Battery-powered test trolley with single load-bearing wheel and support wheel for turnout functionality on the top [14].
Figure 4.
Test trolley with load on rectangular profile track [14].
The concept in [13] is based on [12,15], in which the EMS trolley moves on either steel wire ropes or round profiles. Turnout functionality is achieved through laterally and linearly extendable actuators, which steer the trolley in the corresponding direction of movement.
With a focus on the expensive infrastructure required for continuous energy supply, ref. [16] described a battery-powered EMS, which is shown in Figure 5. Instead of continuous power rails, the system features mobile energy storage systems that can be recharged at charging stations.
Figure 5.
Battery-powered EMS from Pentanova GmbH [17].
Table 1 compares the characteristics of the previously-mentioned preliminary works. The characteristics include classification of the trolleys, the tracks, and the overall aspects of the system. Battery-powered systems that do not require a continuous energy supply through the track system are indicated with (•). A (•) in the Weld-Free column indicates that the track construction does not require any welding for installation, instead relying on screw connections or standardized milled or cut parts. The Two-Way and Three-Way Turnout characteristics indicate whether the respective type of turnout is technically feasible or foreseen. Finally, if the system can be operated bidirectionally, it is marked with (•).
The adjacent quantitative characteristics compare the different trolley concepts in terms of the number of wheels for track support, track support during turnouts, and load-bearing, and number of drive units for lane changing with activation of the track support wheels for turnouts. Concepts that foresee the use or technical feasibility of ramp elements are indicated with (•).
The level of turnout passivity is used to classify the EMS concepts in terms of their branching type according to the taxonomy described in Table 2, with P standing for passive, S for semi-passive, and A for active branching elements.
Table 2.
Taxonomy of the level of passivity of turnout tracks. Illustration sources from top to bottom: [1,19], own illustration.
Table 1.
Patent and literature review of electric monorail systems with passive turnout tracks or power systems.
Table 1.
Patent and literature review of electric monorail systems with passive turnout tracks or power systems.
| Literature | Battery-Powered | Track Support Wheels | Support Wheels for Turnout | Load-Bearing Wheels | Drives for Lane Change | Two-Way Turnout | Three-Way Turnout | Ramps | Weld-Free | Bidirectional Operation | Level of Passitivity |
|---|---|---|---|---|---|---|---|---|---|---|---|
| [2] | N/A | 4 | 2 | 4 | 2 | • | - | N/A | - | N/A | P |
| [3] | N/A | 8 | 4 | 4 | 4 | • | - | N/A | - | - | P |
| [18] | N/A | N/A | 0 | 16 | 8 | - | - | - | - | • | - |
| [4] | N/A | 8 | 4 | 2 | • | - | N/A | - | N/A | P | |
| [5] | N/A | 4 | 8 | 4 | 2 | - | - | N/A | - | N/A | P |
| [6] | N/A | 4 | 4 | 2 | • | - | N/A | - | N/A | P | |
| [7] | N/A | 4 | 2 | 4 | 1 | • | - | N/A | - | N/A | P |
| [8] | N/A | 8 | 4 | 4 | 4 | • | - | N/A | - | N/A | P |
| [9] | N/A | 10 | 1 | 4 | 1 | • | - | • | - | • | P |
| [10] | N/A | 8 | 2 | 4 | 1 | N/A | N/A | N/A | N/A | N/A | N/A |
| [11] | - | 6 | 8 | 2 | • | - | N/A | - | • | P | |
| [13] | • | 2 | 1 | 1 | 1 | • | - | • | - | N/A | S |
| [12] | • | 1 | 0 | 1 | 1 | • | - | • | - | N/A | P |
| PEMS | • | 2 | 8 | • | • | • | • | • | P |
As shown, only two out of the thirteen concepts have a battery-powered energy system, and none of the track concepts can be assembled or installed without welding. It is also notable that none of the concepts allow for three-way turnouts. In most cases, the number of load-bearing wheels is four, which enables stable driving behavior of the trolley. Each trolley requires at least one drive for lane changing. The last row in Table 1 classifies the PEMS concept concerning the same above-mentioned characteristics. It meets all of the defined characteristics for a periphery-free EMS with low installation effort.
3. Methodology
This section describes typical applications of the PEMS as well as the technical implementation of the rails and details of the trolley.
3.1. Application Concepts
The PEMS allows for a flexible layout by shifting the material transport to the hall ceiling. The PEMS can handle material flow in both production and logistics environments without requiring additional floor space. The passivity of the turnout elements eliminates the need for track maintenance almost entirely. The trolleys can be easily added to or removed from the system for fleet extension or trolley maintenance. The installation of sensors and actuators for turnout elements is no longer necessary compared to active systems with active turnout elements from the state of the art. The decentralized operation of the trolleys eliminates the need for sensors and actuators on the entire track system, which also eliminates the need for contact-based communication systems. All necessary communication can be replaced with wireless systems such as those in use for AGVs. The decentralized operation ensures the scalability of the layout and the entire system, which makes it possible to extend the system at any point in time.
In addition to transporting materials and goods, the system can be equipped with electric chain hoists to serve as a flexible lifting system in the production environment. In the distribution environment, it is possible to equip the PEMS with sensors or light laser systems for use as an automated inventory checking system or as an assisting system for the manual picking process. For this purpose, the trolley of the PEMS can drive autonomously through the aisles of the warehouse racks in which stock inspection should be performed. By installing a visual projector on the trolley, the PEMS effectively functions as a movable pick-by-light system.
Finally, [20] described the use of ultralight overhead conveyor systems for the rapid transport of goods for cross-docking and trans-shipment applications, which can also be implemented with the PEMS.
3.2. Track and Turnout Construction
The track elements consist of two parallel running rails with a gap in between. The space between the tracks serves to centrally guide both the trolley and the hanger for the load-handling equipment. The two tracks are supported by C-shaped profiles and can be mounted on hall ceilings, pillars, or walls.
For turnout functionality, grooves in the outer running rails within the turnout track element are required. Figure 6 shows a turnout element with a branch to the right and the two grooves. However, tests have shown that a branching groove is only necessary for the branches deviating from straight-ahead movement (cf. Section 4). It can seen that the grooves for directional guidance are designed much more narrowly than the gap in the center of the rail.
Figure 6.
Two-way turnout with branching grooves inside the rail.
The modular rail elements can be screwed together, reducing the amount of effort required during installation. To simplify the transport of the track elements prior to installation, a modular concept is opted for. The idea for an easily transportable modular track system is based on the approaches presented in [21,22]. The two modular concepts for segmented bridge cranes allow for a simplified transport, as no component exceeds the maximum dimensions of a Euro-pallet according to DIN EN 13698-1 [23] of . Table 3 shows the elements of the modular track system.
Table 3.
Elements of the modular track system. Grid resolution: .
It can be seen that all possible track elements, namely, the turnouts, curves, straight tracks, and crossings, are defined as standard parts. Curves and straight tracks can be further varied in length and curvature radius in order to adapt the system to specific layout conditions. The choice of material for the running rails is mainly influenced by the load requirements posed by the specific application. Steel, for example offers good material properties for the given requirements. The material thickness and width of the running rails must be scaled to support the given transport load. A definition of the load dimensioning for small load applications is provided in VDI 4441 Part 1 [1] with .
3.3. Trolley Construction
Centrally mounted track support wheels are located on the bottom of the trolley at both ends to enable bidirectional movement. When the direction of movement is changed, the roller in the current rear of the trolley is extended, whereas the roller in the front is retracted. This is necessary to prevent the trolley from jamming when driving tight curves. For changing the current branch at the turnout elements, rocker systems on both ends of the trolley are used. When not passing a turnout element, both rockers are in the neutral (horizontal) position. In the event that a lane change at a turnout element is desired, the front rocker of the trolley tilts in the desired direction before reaching the start of the guide groove of the respective direction. This causes the corresponding support wheel on the rocker to slide into the guide groove. The resulting contact steers the trolley in the desired direction.
A stepper motor moves the rocker into the corresponding position of the desired turnout direction, whereby three positions are possible:
- The left support wheel for turnout slips in the left guide groove for left turnout;
- The right support wheel for turnout slips in the right guide groove for right turnout;
- The neutral position, where neither support wheel is active, allowing for straight passing.
Alternatively, the functionality of the rocker can be achieved through vertically extendable support wheels on all four corners of the trolley. Regarding the dimensioning and determination of the necessary number of load-bearing wheels, it must be kept in mind that not all of the wheels remain in steady contact with the rail during changes of direction, resulting in changing load distributions.
3.4. System Control
An EMS with complex layouts, bidirectional operation, and high transport flexibility requires intelligent control approaches, such as those found in AGVs. A distinction must be made between centralized and decentralized order allocation. In a centralized system, a computing unit is in charge of distributing orders and managing traffic, whereas in a decentralized system the trolleys communicate among themselves. For the PEMS, a decentralized approach is suggested in order to maintain easy scalability of the fleet size by decreasing setup effort, minimizing central periphery, and facilitating real-time adaptation to local conditions. Other aspects, such as navigation, localization, and positioning can also be adopted from AGVs; for example, this includes navigation with the aid of a laser scanner for environment mapping as well as for monitoring routes to avoid collisions.
3.5. Energy Supply
To make the rail system as maintenance-free and low-installation as possible, there are no centrally powered active conductor rails. Instead, battery operation is opted for. This reduces the probability of system downtime, as no layout-wide power supply is required. Mobile energy storage systems in the form of electrochemical or electrical energy storage systems are suitable with the provision of compact and rechargeable energy sources. This type of energy supply is widely used in AGVs as well [24]. For the recharging process, both contact-based and inductive charging stations are viable [16]. Similar to autonomous mobile robots, energy storage systems for battery-powered monorail systems require high energy densities to guarantee high vehicle availability. According to [25], lithium-ion or lead–acid batteries are suitable for this purpose.
3.6. Direct Comparison of the PEMS and Traditional EMS
To summarize the presented concept, Table 4 highlights the five most important aspects addressed above. Both the PEMS and traditional EMS are compared regarding these aspects.
Table 4.
Qualitative comparison between traditional monorail systems and the PEMS concept.
4. Results and Discussion
A prototype (cf. Figure 7) was set up at the Institute for Material Handling and Logistics at the Karlsruhe Institute of Technology in order to validate the basic functionality of the concept. The prototype consists of a suspended track construction with a single turnout element and a test trolley. For the rail construction, thick steel was chosen, as it is a suitable material in terms of its load-bearing and machinability properties. The exact dimensions of the test track construction can be found in Figure A1. Industrial aluminum profiles with external dimensions of were used for the framework. Standardized industrial aluminum profiles provide easy screw mounting and are scalable in terms of their load-bearing capacity. The design of the test track is shown in Figure 6.
Figure 7.
Prototype used to validate the functionality of the overall PEMS concept.
The test trolley (cf. Figure 8) was built with Lego® Technic and consists of two motors for bidirectional movement and two further motors that act as the actuators for the support wheels for turnout functionality. For the experimental setup, a color sensor was used to detect the end of each of the lanes (cf. Positions (A), (B), and (C) in Figure 9). The motors and the color sensor were controlled using a Lego® Technic EV3 and powered by the integrated battery. The state machine used to control the trolley and carry out the experiments was programmed in Python.
Figure 8.
Battery-powered test trolley with eight load-bearing wheels and two support wheels for turnout functionality on the bottom.
Figure 9.
Schematic representation of the experimental track setup.
A test cycle was defined to validate the functionality. Starting at position (A), a forward movement to (B) was carried out, followed by a reverse movement back to (A). A branching movement to (C) was then carried out, then the trolley was again reversed back to (A). This test cycle was repeated a total of 500 times at a maximum speed of .
Observations during testing showed that a directional groove is not necessary when driving straight forward. It was also observed that the prototype trolley did not require a second track support wheel underneath the trolley to enable stable bidirectional movement. As shown in Figure A1, the directional groove begins after the start of the rail element. The turnout begins at a total of from the start of the track. This means that the turnout support wheel must be activated within the available distance of . With a trolley speed of , a maximum system response time of is required, which increases proportionally if the directional groove is shortened or the vehicle speed is increased according to . With this system response time requirement, no faults or issues were detected in any of the 500 test runs. The tests demonstrated the bidirectionality of the PEMS concept trolley. Furthermore, the passive branching functionality was successfully validated. The Video S1 available in the Supplementary Materials shows this functionality.
As already described in Section 3.3, the directional rocker can assume three different states (left, right, neutral). The finding that no additional guide groove is required in the track to maintain straight forward movement allows the rocker to be used to switch between a left and a right guide groove, which enables three-way turnout functionality. A schematic representation of a three-way turnout element with two directional guide grooves is shown in Table 3.
5. Conclusions
This paper presents an innovative concept for a periphery-free electrified monorail system. Based on traditional electrified monorail technology, where trolleys move along a track system mounted on the ceiling, the need for active peripherals within the track layout is eliminated. This is achieved through simple, passive branching elements, which require no additional sensors, actuators, or control technologies. Additionally, the traditional continuous energy transmission is replaced by battery operation, removing the need for a layout-wide energy supply system. The peripheral-free electrified monorail system aims to reduce installation and maintenance efforts compared to traditional systems while maximizing flexibility in layout generation.
The PEMS concept addresses the challenges of limited floor space and the need for flexibility in intralogistics. The use of standardized track elements ensures shorter manufacturing times and facilitates transport on standard Euro-pallets. The key aspect in regard to reducing installation effort is the use of assembly methods that do not require welding. Simplifying the installation and maintenance processes allows for a fast and cost-effective setup and flexible layout adaptations. The inherent flexibility of the PEMS concept facilitates further applications, such as use as a moving pick-by-light system or as a lifting assistance system.
The concept was validated through real-world experiments on a prototype. The validation determined the basic functionality of the concept and revealed the potential for the realization of a three-way branch element. Moving forward, several aspects require further investigation and exploration. These include validating the functionality of the three-way branch and further specifying the modular design of the system through a larger test setup. In addition, the applicability of the VDA5050 communication standard for automated guided vehicles could be investigated to facilitate the integration of PEMS vehicles into a holistic control system for mobile transport units.
Supplementary Materials
The following supporting information can be downloaded at: https://www.mdpi.com/article/10.3390/inventions9030052/s1, Video S1: Video showing the prototype of the PEMS concept in operation.
Author Contributions
Conceptualization, M.S. and T.K.; methodology, M.S. and T.K.; software, T.K.; validation, T.K.; formal analysis, T.K.; investigation, M.S., T.K. and P.S.; data curation, T.K.; writing—original draft preparation, M.S., T.K. and P.S.; writing—review and editing, M.S., T.K. and P.S.; visualization, M.S., T.K. and P.S.; supervision, M.S.; project administration, M.S. All authors have read and agreed to the published version of the manuscript.
Funding
This research received no external funding.
Institutional Review Board Statement
Not applicable.
Informed Consent Statement
Not applicable.
Data Availability Statement
Data are contained within the article.
Acknowledgments
We acknowledge support from the KIT-Publication Fund of the Karlsruhe Institute of Technology. Thanks to student Lisa-Marie Raichle for their contributions.
Conflicts of Interest
The authors declare no conflicts of interest.
Appendix A
Figure A1.
Technical drawing of the test track, dimensions in .
Figure A1.
Technical drawing of the test track, dimensions in .

References
- VDI. VDI 4441 Part 1: Overhead Conveyor-Electrified Monorail Systems (EMS)-Features and Applications; Verein Deutscher Ingenieure: Düsseldorf, Germany, 2012. [Google Scholar]
- Xu, Y.; Li, Z.; Lin, H.; Yan, H.; Yang, J.; Yu, H.; Hu, L.; Cai, W.; Xu, H.; Dai, F.; et al. Overhead Monorail Active Guider and Bogie with Active Guider. China CN108297882A, 30 March 2018. [Google Scholar]
- Suzuki, M.; Yo, O.; Igawa, C. Overhead Conveyor Vehicle in Which Positional Relationship between Rails Is Easily Adjusted and the Risk of Wear of a Guide Roller and a Guide Rail Is Reduced. Taiwan TW202031571A, 16 December 2019. [Google Scholar]
- Zhang, L. Public Transportation System with Suspension-Type Monorail Vehicle. WIPO (PCT) WO2012167594A1, 12 January 2012. [Google Scholar]
- Nagamine, S.; Hirata, M. Tracked Cart System. Japan JP5310784B2, 16 May 2011. [Google Scholar]
- Li, G. Reversing System for Trolley at Turnout Junction of Suspension Rail. China CN203558061U, 3 December 2013. [Google Scholar]
- Li, G. A Kind of Track Switch Exchange System of Suspending Rail-Car. China CN203996231U, 19 June 2014. [Google Scholar]
- Cao, K.; Zheng, K.; Wang, B.; Zhu, J.; Lu, H. The Steering That Suspended Vehicle Passes through Track Switch. China CN108099922A, 29 January 2018. [Google Scholar]
- Junnian, Z.; Yehong, Y.; Liang, C.; Shengquan, W.; Gang, R.; Xiaojun, Z.; Guangming, W.; Minggao, L.; Xiaofeng, S.; Rujia, J. Mini-Rail Traffic System. WIPO (PCT) WO2019056652A1, 29 December 2017. [Google Scholar]
- Huaming, L.; Jiaying, Q.; Qunwei, D.; Zheng, L.; Keyu, C.; Dongxing, W.; Lei, C.; Li, S.; Rayon, F.P.; Hongtu, W. Micro-Rail Vehicle and Running Gear Thereof. China CN111347870A, 20 December 2018. [Google Scholar]
- Holt, W.J. Vehicle Switching Apparatus. U.S. Patent US3628462A, 16 July 1969. [Google Scholar]
- Aylak, B.L.; Noche, B. Konzept eines ultraleichten Elektrohängebahnsystems für innerbetriebliche Beförderung. Logist. J. 2014, 2014, 1–8. [Google Scholar] [CrossRef]
- Belsky, M.; Wissuwa, M.; Koc, E.; Künne, B.; Noche, B.; Belsky, D. The ultralight electro monorail system (uEMS) as the solution for transfer of light-weighing loads in large industrial areas. Logist. J. Proc. 2019. [Google Scholar] [CrossRef]
- Elektrohängebahn. Available online: https://me.mb.tu-dortmund.de/forschung/projekte/automatische-park-und-lagersysteme/ (accessed on 11 March 2024).
- Aylak, B.L.; Noche, B. Two Scenarios for Ultra-Light Overhead Conveyor System in Logistics Applications; World Academy of Science, Engineering and Technology: New York, NY, USA, 2013; Volume 7. [Google Scholar] [CrossRef]
- Renz, K. Innovative Transport System without Expensive Infrastructure-the Battery-Powered Electrified Monorail System from PENTANOVA. Available online: https://pentanova.com/wp-content/uploads/2023/05/202305_PR_BatteryEMS_PENTANOVA.pdf (accessed on 11 March 2024).
- Product News-Battery-Powered Electrified Monorail System. Available online: https://pentanova.com/en/produktneuheiten/ (accessed on 11 March 2024).
- Benedict, C.E. Overhead Guide Track Systems for Automated Material Handling and Storage and Parking Facilities. U.S. Patent US10023384B2, 24 August 2015. [Google Scholar]
- Künne, B.; Noche, B. Untersuchung der Umsetzbarkeit in Bezug auf Flexibilität, Anpassungsfähigkeit und Wirtschaftlichkeit von ultraleichten Hängebahnen. Available online: https://www.bvl.de/files/1951/2125/2131/2133/Sachbericht_uEHB_korrigiert.pdf (accessed on 11 March 2024).
- Aylak, B.L. Applications of ultralight overhead conveyor systems in the logistics sector. In International Studies in Engineering; Serüven Publishing: Ankara, Turkey, 2023; p. 33. [Google Scholar]
- Bolender, S.; Oellerich, J.; Braun, M.; Golder, M. Skalierbarer modularer Brückenkranträger in Segmentbauweise. Logist. J. Proc. 2017, 2017, 1–8. [Google Scholar] [CrossRef]
- Oellerich, J.; Büscher, K.J. Application of Segmented and Prestressed Supporting Structures in Bridge Crane Systems: Potentials and Challenges. Appl. Syst. Innov. 2023, 6, 105. [Google Scholar] [CrossRef]
- VDI. VDI 3655: Requirements on Flat Pallets for the Use in Mechanised and Automated Conveying and Storage Systems; Verein Deutscher Ingenieure: Düsseldorf, Germany, 2008. [Google Scholar]
- Sperling, M.; Kivelä, T. Concept of a Dual Energy Storage System for Sustainable Energy Supply of Automated Guided Vehicles. Energies 2022, 15, 479. [Google Scholar] [CrossRef]
- VDI. VDI 2510 Sheet 4: Automated Guided Vehicle Systems (AGVS)-Power Supply and Charging Technology; 2022; Available online: https://www.vdi.de/en/home/vdi-standards/details/vdi-2510-blatt-4-automated-guided-vehicle-systems-agvs-power-supply-and-charging-technology (accessed on 11 March 2024).
Disclaimer/Publisher’s Note: The statements, opinions and data contained in all publications are solely those of the individual author(s) and contributor(s) and not of MDPI and/or the editor(s). MDPI and/or the editor(s) disclaim responsibility for any injury to people or property resulting from any ideas, methods, instructions or products referred to in the content. |
© 2024 by the authors. Licensee MDPI, Basel, Switzerland. This article is an open access article distributed under the terms and conditions of the Creative Commons Attribution (CC BY) license (https://creativecommons.org/licenses/by/4.0/).






















