A Review of Modelling, State of Charge Estimation and Management Methods of EV Lithium-Ion Batteries
Abstract
1. Introduction
2. Li-Ion Battery Parameters
2.1. Capacity (C)
2.2. Internal Resistance (Ri)
2.3. Energy Efficiency
2.4. State of Health (SoH)
2.5. Self-Discharge
3. SoC Estimation
3.1. Coulomb Counting
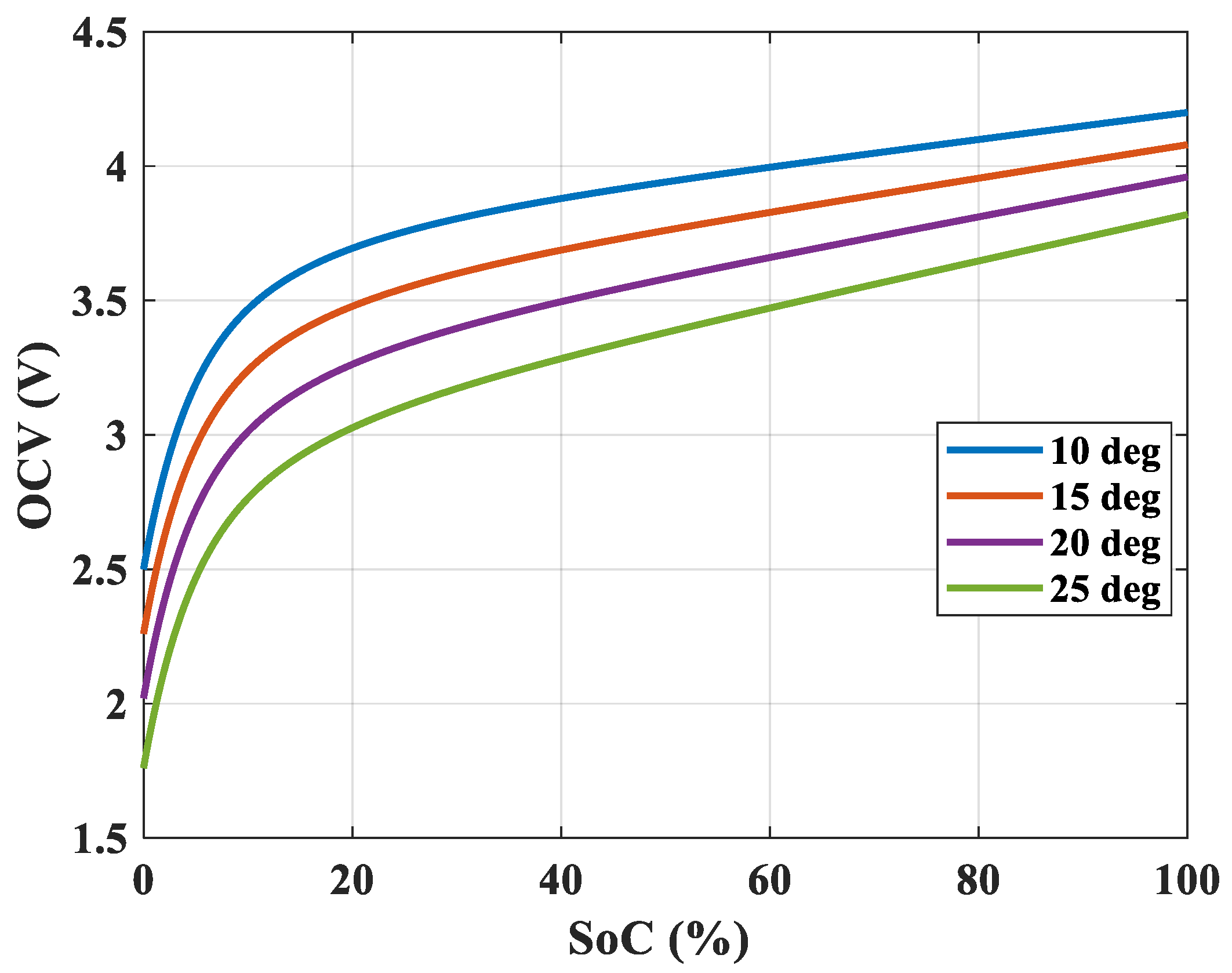
3.2. Coulomb Counting with Open-Circuit Voltage Loop-Up Table
3.3. Model-Based Estimation Methods
3.4. Data-Driven SoC Estimation Methods
3.5. Comparative Evaluation of SoC Estimation Methods
3.5.1. Accuracy
3.5.2. Computation Cost
3.5.3. Robustness
3.5.4. Suitability for EV Applications
3.5.5. Examples for EV SoC Estimators
4. Energy Management Systems
4.1. Centralised BMS
4.2. Modular BMS
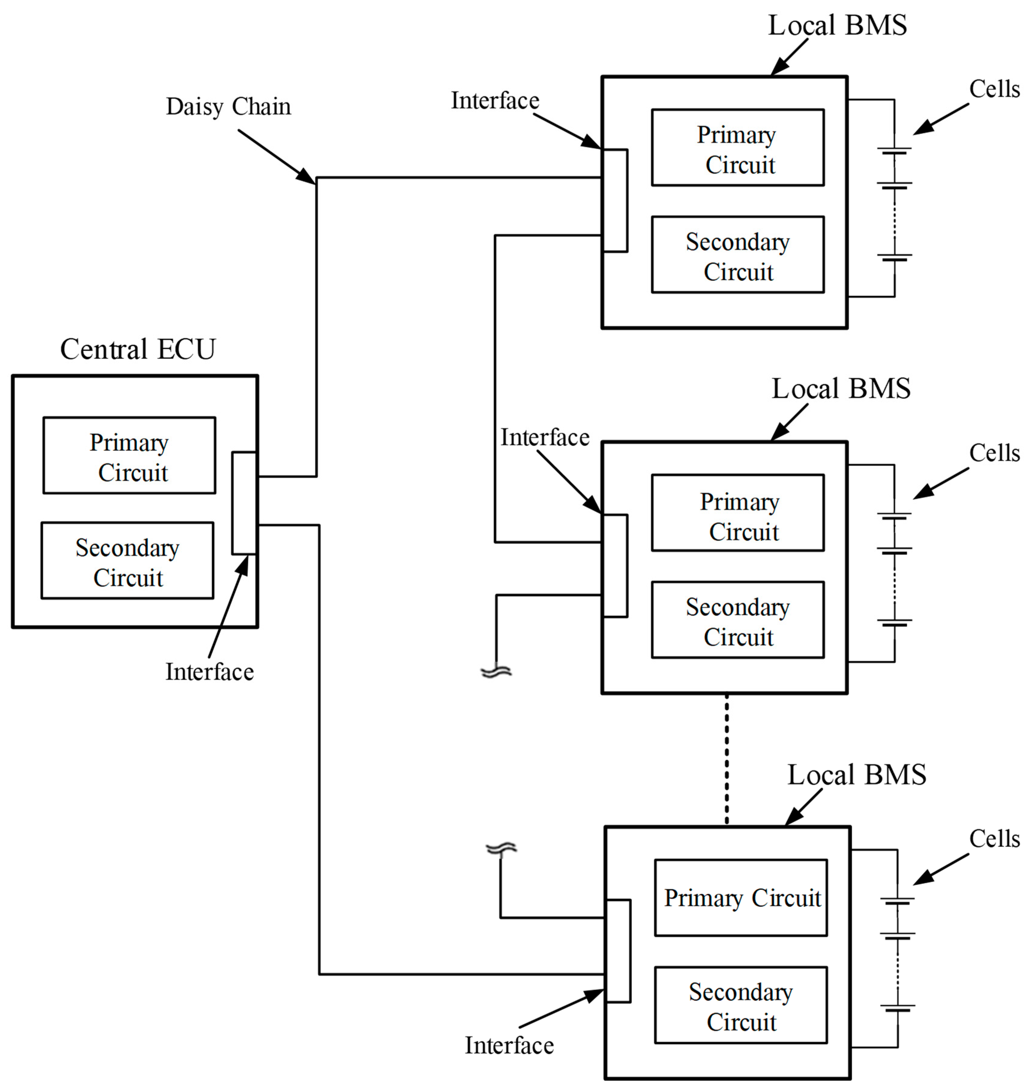
4.3. Decentralised BMS
4.4. Comparative Evaluation of EV BMS Architectures
5. Conclusions
Author Contributions
Funding
Data Availability Statement
Conflicts of Interest
References
- Li, J.; Zhang, X.; Guo, L.; Zhong, J.; Wang, D.; Wu, C.; Jiang, L. If Some Critical Regions Achieve Carbon Neutrality, How Will the Global Atmospheric CO2 Concentration Change? Remote Sens. 2024, 16, 1486. [Google Scholar] [CrossRef]
- Alawi, A.; Saeed, A.; Sharqawy, M.H.; Al Janaideh, M. A comprehensive review of thermal management challenges and safety considerations in lithium-ion batteries for electric vehicles. Batteries 2025, 11, 275. [Google Scholar] [CrossRef]
- Nasr Esfahani, F.; Darwish, A.; Massoud, A. PV/Battery Grid Integration Using a Modular Multilevel Isolated SEPIC-Based Converter. Energies 2022, 15, 5462. [Google Scholar] [CrossRef]
- Cavus, M.; Bell, M. Enabling Smart Grid Resilience with Deep Learning-Based Battery Health Prediction in EV Fleets. Batteries 2025, 11, 283. [Google Scholar] [CrossRef]
- Ghandi, A.; Paltsev, S. Global CO2 impacts of light-duty electric vehicles. Transp. Res. Part D Transp. Environ. 2020, 87, 102524. [Google Scholar] [CrossRef]
- Benitto, A.; Rajendran, G.; Sathyabalu, H.V.; Balamurugan, S. Real-Time Implementation of Battery Management System in Electric Vehicles. In 2021 Innovations in Power and Advanced Computing Technologies (i-PACT); IEEE: New York, NY, USA, 2021; pp. 1–6. [Google Scholar]
- Twidale, S. Renewables Provided Record 32% of Global Electricity in 2024, Ember Says. Reuters. 8 April 2025. Available online: https://www.reuters.com/sustainability/climate-energy/renewables-provided-record-32-global-electricity-2024-ember-says-2025-04-07/ (accessed on 1 March 2026).
- Novak, M.; Chysky, J.; Novak, L. Data from long time testing of 18650 lithium polymer batteries. Data Brief 2020, 29, 105137. [Google Scholar] [CrossRef]
- Shi, D.; Cui, Y.; Shen, X.; Gao, Z.; Ma, X.; Li, X.; Fang, Y.; Wang, S.; Fang, S. A review of the combined effects of environmental and operational factors on lithium-ion battery performance: Temperature, vibration, and charging/discharging cycles. RSC Adv. 2025, 15, 13272–13283. [Google Scholar] [CrossRef]
- Hooper, M.; Williams, D.; Roberts-Bee, K.; McGordon, A.; Whiffin, P.; Marco, J. Defining a vibration test profile for assessing the durability of electric motorcycle battery assemblies. J. Power Sources 2023, 557, 232541. [Google Scholar] [CrossRef]
- Hadj Abdallah, S.; Almousa, M.T.; Ben Salem, F.; Tounsi, S. Systemic Optimization of Electric Vehicles Power System. World Electr. Veh. J. 2025, 16, 207. [Google Scholar] [CrossRef]
- Darwish, A.; Elgenedy, M.A.; Williams, B.W. A Review of Modular Electrical Sub-Systems of Electric Vehicles. Energies 2024, 17, 3474. [Google Scholar] [CrossRef]
- Darwish, A. A Modular Step-Up DC/DC Converter for Electric Vehicles. Energies 2024, 17, 6305. [Google Scholar] [CrossRef]
- Abolghasemi, M.; Soltani, I.; Shivaie, M.; Vahedi, H. Recent advances of step-up multi-stage DC-DC converters: A review on classifications, structures and grid applications. Energy Rep. 2025, 13, 3050–3081. [Google Scholar] [CrossRef]
- Nasr Esfahani, F.; Suri, N.; Ma, X. Machine Learning Forecasting and GAN-Based Scenario Control for EV Charging and PV Integration. In Proceedings of the IECON 2025—51st Annual Conference of the IEEE Industrial Electronics Society, Madrid, Spain, 14–17 October 2025. [Google Scholar]
- Fesli, U.; Özdemir, M.B. Electric Vehicles: A Comprehensive Review of Technologies, Integration, Adoption, and Optimization. IEEE Access 2024, 12, 140908–140931. [Google Scholar] [CrossRef]
- Chen, C.; Xiong, R.; Shen, W. A lithium-ion battery-in-the-loop approach to test and validate multiscale dual H infinity filters for state-of-charge and capacity estimation. IEEE Trans. Power Electron. 2017, 33, 332–342. [Google Scholar] [CrossRef]
- Dini, P.; Colicelli, A.; Saponara, S. Review on modeling and soc/soh estimation of batteries for automotive applications. Batteries 2024, 10, 34. [Google Scholar] [CrossRef]
- Xiong, R.; Cao, J.; Yu, Q.; He, H.; Sun, F. Critical review on the battery state of charge estimation methods for electric vehicles. IEEE Access 2017, 6, 1832–1843. [Google Scholar] [CrossRef]
- Hassan, F.; El-Bably, M.; Mubarak, R.I. State of Charge (SoC) Accurate Estimation Using Different Models of LSTM. World Electr. Veh. J. 2025, 16, 572. [Google Scholar] [CrossRef]
- Karmakar, S.; Bohre, A.K.; Bera, T.K. Recent Advancements in Cell Balancing Techniques of BMS for EVs: A Critical Review. IEEE Trans. Ind. Appl. 2025, 61, 3468–3484. [Google Scholar] [CrossRef]
- Link, S.; Neef, C.; Wicke, T. Trends in automotive battery cell design: A statistical analysis of empirical data. Batteries 2023, 9, 261. [Google Scholar] [CrossRef]
- Liu, K.; Zou, C.; Li, K.; Wik, T. Charging pattern optimization for lithium-ion batteries with an electrothermal-aging model. IEEE Trans. Ind. Inform. 2018, 14, 5463–5474. [Google Scholar] [CrossRef]
- Meng, J.; Luo, G.; Ricco, M.; Swierczynski, M.; Stroe, D.-I.; Teodorescu, R. Overview of lithium-ion battery modeling methods for state-of-charge estimation in electrical vehicles. Appl. Sci. 2018, 8, 659. [Google Scholar] [CrossRef]
- Pinto, C.; Barreras, J.V.; Schaltz, E.; Araujo, R.E. Evaluation of advanced control for Li-ion battery balancing systems using convex optimization. IEEE Trans. Sustain. Energy 2016, 7, 1703–1717. [Google Scholar] [CrossRef]
- Divakaran, A.M.; Minakshi, M.; Arabzadeh Bahri, P.; Paul, S.; Kumari, P.; Divakaran, A.M.; Manjunatha, K.N. Rational design on materials for developing next generation lithium-ion secondary battery. Prog. Solid State Chem. 2021, 62, 100298. [Google Scholar] [CrossRef]
- Vaideeswaran, V.; Bhuvanesh, S.; Devasena, M. Battery management systems for electric vehicles using lithium ion batteries. In 2019 Innovations in Power and Advanced Computing Technologies (i-PACT); IEEE: New York, NY, USA, 2019; Volume 1, pp. 1–9. [Google Scholar]
- Shirguppikar, S.; Gavali, P.; Ganachari, V.; Jadhav, P.; Zubairuddin, M.; Khot, S.; Mulla, J.; Todkar, A.S.; Prabhakar, S. Characterization of Li-ion battery and state of charge Estimation methods for diverse battery chemistries: A review. Discov. Appl. Sci. 2025, 7, 1443. [Google Scholar] [CrossRef]
- Shu, X.; Chen, Z.; Shen, J.; Guo, F.; Zhang, Y.; Liu, Y. State of charge estimation for lithium-ion battery based on hybrid compensation modeling and adaptive H-infinity filter. IEEE Trans. Transp. Electrif. 2022, 9, 945–957. [Google Scholar] [CrossRef]
- Pisani Orta, M.A.; García Elvira, D.; Valderrama Blaví, H. Review of State-of-Charge Estimation Methods for Electric Vehicle Applications. World Electr. Veh. J. 2025, 16, 87. [Google Scholar] [CrossRef]
- Sun, P.; Bisschop, R.; Niu, H.; Huang, X. A review of battery fires in electric vehicles. Fire Technol. 2020, 56, 1361–1410. [Google Scholar] [CrossRef]
- Allianz UK. Allianz UK Warns Motor Traders of High Risks and Costs of EV Battery Fires, Allianz UK News & Insight. 28 January 2025. Available online: https://www.allianz.co.uk/news-and-insight/news/allianz-uk-warns-motor-traders-of-high-risks-and-costs-of-ev-battery-fires.html (accessed on 10 February 2026).
- Wang, Q. Study on Fire and Fire Spread Characteristics of Lithium-Ion Batteries. In Proceedings of the 2018 China National Symposium on Combustion, Harbin, China, 13–16 September 2018. [Google Scholar]
- Office for Product Safety and Standards. PLEV Battery Safety Research: Executive Summary and Conclusions; GOV.UK: London, UK, 2025. Available online: https://www.gov.uk/government/publications/personal-light-electric-vehicle-plev-battery-safety-research/plev-battery-safety-research-executive-summary-and-conclusions (accessed on 10 February 2026).
- Hu, X.; Wang, Y.; Feng, X.; Wang, L.; Ouyang, M.; Zhang, Q. Thermal stability of ionic liquids for lithium-ion batteries: A review. Renew. Sustain. Energy Rev. 2025, 207, 114949. [Google Scholar] [CrossRef]
- Divakaran, A.M.; Hamilton, D.; Manjunatha, K.N.; Minakshi, M. Design, Development and Thermal Analysis of Reusable Li-Ion Battery Module for Future Mobile and Stationary Applications. Energies 2020, 13, 1477. [Google Scholar] [CrossRef]
- Xu, D.; Wang, L.; Yang, J. Research on li-ion battery management system. In 2010 International Conference on Electrical and Control Engineering; IEEE: New York, NY, USA, 2010; pp. 4106–4109. [Google Scholar]
- Saw, L.; Tay, A.; Zhang, L.W. Thermal management of lithium-ion battery pack with liquid cooling. In 2015 31st Thermal Measurement, Modeling & Management Symposium (SEMI-THERM); IEEE: New York, NY, USA, 2015; pp. 298–302. [Google Scholar]
- Reddy, P.; Soni, B.P.; Singh, S. SOC Estimation-Based Battery Management System for Electric Bicycles: Design and Implementation. Eng. Proc. 2025, 118, 76. [Google Scholar] [CrossRef]
- Zhou, W.; Zheng, Y.; Pan, Z.; Lu, Q. Review on the battery model and SOC estimation method. Processes 2021, 9, 1685. [Google Scholar] [CrossRef]
- Parasumanna, A.B.K.; Karle, U.S.; Saraf, M.R. Material characterization and analysis on the effect of vibration and nail penetration on lithium-ion battery. World Electr. Veh. J. 2019, 10, 69. [Google Scholar] [CrossRef]
- Jia, Z.; Jin, K.; Mei, W.; Peng, Q.; Sun, J.; Wang, Q. Advances and perspectives in fire safety of lithium-ion battery energy storage systems. eTransportation 2025, 24, 100390. [Google Scholar] [CrossRef]
- Bruen, T.; Hooper, J.M.; Marco, J.; Gama, M.; Chouchelamane, G.H. Analysis of a battery management system (BMS) control strategy for vibration-aged nickel manganese cobalt oxide (NMC) lithium-ion 18650 battery cells. Energies 2016, 9, 255. [Google Scholar] [CrossRef]
- Reindl, A.; Meier, H.; Niemetz, M. Scalable, decentralized battery management system based on self-organizing nodes. In Proceedings of the Architecture of Computing Systems—ARCS 2020, Innsbruck, Austria, 12 June 2020; Springer: Cham, Switzerland, 2020; pp. 171–184. [Google Scholar] [PubMed Central]
- Javor, D.; Krstić, D.; Raičević, N.; Petrović, N.; Suljović, S.; Procopio, R. Analysis of the Causes and Environmental Consequences of Electric Vehicle Fires. In Proceedings of the 3rd International EUROSA Conference, Vrnjačka Banja, Serbia, 14–17 May 2025. [Google Scholar]
- Di Liberto, E.; Borchiellini, R.; Fruhwirt, D.; Papurello, D. A Review of Safety Measures in Battery Electric Buses. Fire 2025, 8, 159. [Google Scholar] [CrossRef]
- Lindhout, P.; Reniers, G. A Thorough Investigation into the Current State of the Art in Safety Management on Battery Fire and Explosion Risks. Sustainability 2025, 17, 10578. [Google Scholar] [CrossRef]
- Wang, Y.F.; Wang, Y.; Li, X.; Qiao, J.; Wang, Y.; Zhang, H.; Liu, J. Review of Lithium Battery Thermal Runaway Fault Diagnosis Methods and Fire Detection Applications in Electric Vehicles. SSRN 2025, 48. [Google Scholar] [CrossRef]
- Bindal, R.; Nigam, A. Study of Battery Management System (BMS) on Fire Mitigation Techniques of Electric Vehicles. In Innovations in Non-Conventional Energy Sources, 1st ed.; CRC Press: Boca Raton, FL, USA, 2025; pp. 15–32. [Google Scholar] [CrossRef]
- Wang, T.; Liu, H.; Wang, W.; Jiang, W.; Xu, Y.; Zhu, S.; Sheng, Q. Advances in Thermal Management of Lithium-Ion Batteries: Causes of Thermal Runaway and Mitigation Strategies. Processes 2025, 13, 2499. [Google Scholar] [CrossRef]
- Deng, J.; Hu, Z.; Chen, J.; Zhao, J.; Bai, Z. Safety Methods for Mitigating Thermal Runaway of Lithium-Ion Batteries—A Review. Fire 2025, 8, 223. [Google Scholar] [CrossRef]
- Sorensen, A.; Utgikar, V.; Belt, J. A Study of Thermal Runaway Mechanisms in Lithium-Ion Batteries and Predictive Numerical Modeling Techniques. Batteries 2024, 10, 116. [Google Scholar] [CrossRef]
- Yao, Y.; Peng, X.; Gao, L.; Xing, H.; Xu, X.; Gu, J.; Liu, L.; Yue, S.; Qiu, Y.; Wang, Y.; et al. Experimental and Simulation-Based Study on Thermal Runaway Characteristics of 18650 Lithium-Ion Batteries and Thermal Propagation Patterns in Battery Packs. Batteries 2025, 11, 202. [Google Scholar] [CrossRef]
- Yao, Y.; Liu, L.; Gu, J.; Xing, H.; Liu, H.; Cheng, Y.; Wang, Y.; Yue, S.; Qiu, Y.; Zhang, Z. Characteristic Differences of Thermal Runaway Triggered by Overheating and Overcharging in Lithium-Ion Batteries and Multi-Dimensional Safety Protection Strategies. Batteries 2025, 11, 242. [Google Scholar] [CrossRef]
- Elsner, F.; Gerhards, P.; Berrier, G.; Vincent, R.; Dubourg, S.; Pischinger, S. Detailed Characterization of Thermal Runaway Particle Emissions from a Prismatic NMC622 Lithium-Ion Battery. Batteries 2025, 11, 225. [Google Scholar] [CrossRef]
- Sallard, S.; Nolte, O.; von Roemer, L.; Soltani, B.; Fandakov, A.; Mueller, K.; Kalogirou, M.; Sens, M. Exploring Thermal Runaway: Role of Battery Chemistry and Testing Methodology. World Electr. Veh. J. 2025, 16, 153. [Google Scholar] [CrossRef]
- Zhang, Q.; Shang, Y.; Li, Y.; Zhu, R. A Concise Review of Power Batteries and Battery Management Systems for Electric and Hybrid Vehicles. Energies 2025, 18, 3750. [Google Scholar] [CrossRef]
- Kertész, N.; Szabó, L. Advances and Future Trends in Battery Management Systems. Eng. Proc. 2024, 79, 66. [Google Scholar] [CrossRef]
- Balasingam, B.; Ahmed, M.; Pattipati, K. Battery Management Systems—Challenges and Some Solutions. Energies 2020, 13, 2825. [Google Scholar] [CrossRef]
- Khawaja, Y.; Shankar, N.; Qiqieh, I.; Alzubi, J.; Alzubi, O.; Nallakaruppan, M.K.; Padmanaban, S. Battery Management Solutions for Li-ion Batteries Based on Artificial Intelligence. Ain Shams Eng. J. 2023, 14, 102213. [Google Scholar] [CrossRef]
- Kurkin, A.; Chivenkov, A.; Aleshin, D.; Trofimov, I.; Shalukho, A.; Vilkov, D. Battery Management System for Electric Vehicles: Comprehensive Review of Circuitry Configuration and Algorithms. World Electr. Veh. J. 2025, 16, 451. [Google Scholar] [CrossRef]
- Demirci, O.; Taskin, S.; Schaltz, E.; Demirci, B.A. Review of Battery State Estimation Methods for Electric Vehicles—Part I: SOC Estimation. J. Energy Storage 2024, 87, 111435. [Google Scholar] [CrossRef]
- Nasr Esfahani, F.; Darwish, A.; Massoud, A.M. Loop-Shaping Control Design for a New Modular Integrated On-Board EV Charger with RHP Zero Compensation. IET Power Electron. 2025, 18, e70061. [Google Scholar] [CrossRef]
- Cavus, M.; Bell, M. A Health-Aware Hybrid Reinforcement–Predictive Control Framework for Sustainable Energy Management in Photovoltaic–Electric Vehicle Microgrids. Batteries 2026, 12, 5. [Google Scholar] [CrossRef]
- Abbas, S.M.; Gstrein, G.; Golubkov, A.W.; Korak, O.; Erker, S.; Ellersdorfer, C. Influence of Lithium Plating on the Thermal Properties of Automotive High Energy Pouch Batteries. Batteries 2025, 11, 338. [Google Scholar] [CrossRef]
- Gao, Z.-W.; Lan, T.; Yin, H.; Liu, Y. Development and Commercial Application of Lithium-Ion Batteries in Electric Vehicles: A Review. Processes 2025, 13, 756. [Google Scholar] [CrossRef]
- Parvizi, P.; Jalilian, M.; Amidi, A.M.; Zangeneh, M.R.; Riba, J.-R. From Present Innovations to Future Potential: The Promising Journey of Lithium-Ion Batteries. Micromachines 2025, 16, 194. [Google Scholar] [CrossRef]
- Pesaran, A.A. Lithium-Ion Battery Technologies for Electric Vehicles: Progress and Challenges. IEEE Electrif. Mag. 2023, 11, 35–43. [Google Scholar] [CrossRef]
- Tang, K.; Luo, B.; Chen, D.; Wang, C.; Chen, L.; Li, F.; Cao, Y.; Wang, C. The State of Health Estimation of Lithium-Ion Batteries: A Review of Health Indicators, Estimation Methods, Development Trends and Challenges. World Electr. Veh. J. 2025, 16, 429. [Google Scholar] [CrossRef]
- Lin, X.; Khosravinia, K.; Hu, X.; Li, J.; Lu, W. Lithium plating mechanism, detection, and mitigation in lithium-ion batteries. Prog. Energy Combust. Sci. 2021, 87, 100953. [Google Scholar] [CrossRef]
- Wassiliadis, N.; Schneider, J.; Frank, A.; Wildfeuer, L.; Lin, X.; Jossen, A.; Lienkamp, M. Review of fast charging strategies for lithium-ion battery systems and their applicability for battery electric vehicles. J. Energy Storage 2021, 44, 103306. [Google Scholar] [CrossRef]
- Dong, G.; Feng, Y.; Lou, Y.; Zhang, M.; Wei, J. Data-driven fast charging optimization for lithium-ion battery using Bayesian optimization with fast convergence. IEEE Trans. Transp. Electrif. 2024, 10, 4173–4183. [Google Scholar] [CrossRef]
- Phogat, P.; Deya, S.; Wana, M. Powering the sustainable future: A review of emerging battery technologies and their environmental impact. RSC Sustain. 2025, 3, 3266–3306. [Google Scholar] [CrossRef]
- Santhanagopalan, S.; White, R.E. State of charge estimation using an unscented filter for high power lithium ion cells. Int. J. Energy Res. 2010, 34, 152–163. [Google Scholar] [CrossRef]
- Zhang, F.; Liu, G.; Fang, L. Battery state estimation using unscented Kalman filter. In Proceedings of the 2009 IEEE International Conference on Robotics and Automation, Kobe, Japan, 12–17 May 2009; pp. 1863–1868. [Google Scholar] [CrossRef]
- Chen, X.; Chen, X.; Chen, X. A Novel Framework for Lithium-Ion Battery State of Charge Estimation Based on Kalman Filter Gaussian Process Regression. Energy Rep. 2021, 7, 5498–5510. [Google Scholar] [CrossRef]
- Peng, S.; Chen, C.; Shi, H.; Yao, Z. State of charge estimation of battery energy storage systems based on adaptive unscented Kalman filter with a noise statistics estimator. IEEE Access 2017, 5, 13202–13212. [Google Scholar] [CrossRef]
- Xu, Y.; Hu, M.; Zhou, A.; Li, Y.; Li, S.; Fu, C.; Gong, C. State of charge estimation for lithium-ion batteries based on adaptive dual Kalman filter. Appl. Math. Model. 2020, 77, 1255–1272. [Google Scholar] [CrossRef]
- Choi, J.H. Battery Management System, Battery Management Method, Battery Pack and Electric Vehicle. U.S. Patent 2021/0199724 A1, 1 July 2021. [Google Scholar]
- Noirjean, J. Method for Estimating the State of Charge of a Battery in a System Having a Low Power Consumption, and System for Implementing the Estimation Method. U.S. Patent 2024/0319279 A1, 26 September 2024. [Google Scholar]
- Uchida, Y.; Machida, K.; Moriya, Y.; Tanaka, N.; Kubo, K.; Uchiyama, M. Battery System and SOC Estimation Method for Secondary Battery. U.S. Patent 11,353,514 B2, 7 June 2022. [Google Scholar]
- Tesla Motors, Inc. Response System for Detection of Overcharge Event in a Series Connected Battery Element. U.S. Patent Application US10355498B2, 27 March 2014. [Google Scholar]
- Bayerische Motoren Werke AG. System and Method for Estimating State of Charge of a Battery in a Motor Vehicle. Canadian Patent Application CA3162747A1, 27 September 2017. [Google Scholar]
- Kim, C.H.; Kim, M.Y.; Moon, G.W. A modularized charge equalizer using a battery monitoring IC for series-connected Li-Ion battery strings in electric vehicles. IEEE Trans. Power Electron. 2013, 28, 3779–3787. [Google Scholar] [CrossRef]
- Li, L.; Zhao, X.; Zhu, J.; Xing, J.; Xing, S. Research on dynamic equalization for lithium battery management system. In IEEE 29th Chinese Control And Decision Conference (CCDC); IEEE: New York, NY, USA, 2017; pp. 6884–6888. [Google Scholar]
- Lorentz, V.; Wenger, M.; Giegerich, M.; Zeltner, S.; März, M.; Frey, L. Smart battery cell monitoring with contactless data transmission. In Advanced Microsystems for Automotive Applications 2012; Meyer, G., Ed.; Springer: Heidelberg, Germany, 2012; pp. 15–26. [Google Scholar]
- Nasr Esfahani, F.; Darwish, A.; Alotaibi, S.; Campean, F. Hierarchical Control Design of a Modular Integrated OBC for Dual-Motor Electric Vehicle Applications. IEEE Access 2025, 13, 196306–196327. [Google Scholar] [CrossRef]
- Reindl, A.; Meier, H.; Park, M.N.S. Decentralized Battery Management System with Customized Hardware Components. In Proceedings of the 2021 IEEE 19th Student Conference on Research and Development (SCOReD), Kota Kinabalu, Malaysia, 23–25 November 2021; pp. 350–355. [Google Scholar]
- Shiue, M.-T.; Ou, Y.-C.; Wu, C.-F.; Wang, Y.-F.; Liu, B.-J. Design and Implementation of a Decentralized Node-Level Battery Management System Chip Based on Deep Neural Network Algorithms. Electronics 2026, 15, 296. [Google Scholar] [CrossRef]
- Čermák, K.; Bartl, M. Decentralized Battery Management System. In Proceedings of the 2014 15th International Scientific Conference on Electric Power Engineering (EPE), Brno-Bystrc, Czech Republic, 12–14 May 2014; pp. 599–603. [Google Scholar]
- Caspar, M.; Schürmann, T.; Anneken, M.; Hohmann, S. Active Balancing Control for Distributed Battery Systems Based on Cooperative Game Theory. J. Energy Storage 2023, 68, 107585. [Google Scholar] [CrossRef]
- García, E.; Quiles, E.; Correcher, A. Distributed Intelligent Battery Management System Using a Real-World Cloud Computing System. Sensors 2023, 23, 3417. [Google Scholar] [CrossRef]
- Cao, Z.; Gao, W.; Fu, Y.; Mi, C. Wireless Battery Management Systems: Innovations, Challenges, and Future Perspectives. Energies 2024, 17, 3277. [Google Scholar] [CrossRef]
- Ghazali, A.K.; Aziz, N.A.A.; Hassan, M.K. Advanced Algorithms in Battery Management Systems for Electric Vehicles: A Comprehensive Review. Symmetry 2025, 17, 321. [Google Scholar] [CrossRef]
- Gabbar, H.A.; Othman, A.M.; Abdussami, M.R. Review of Battery Management Systems (BMS) Development and Industrial Standards. Technologies 2021, 9, 28. [Google Scholar] [CrossRef]
- Gozdur, R.; Przerywacz, T.; Bogdański, D. Low Power Modular Battery Management System with a Wireless Communication Interface. Energies 2021, 14, 6320. [Google Scholar] [CrossRef]
- Cevallos-Sierra, J.; Santos Silva, C. Modelling Decentralised Energy Storage Systems Using Urban Building Energy Models. Urban Sci. 2025, 9, 468. [Google Scholar] [CrossRef]
- Chatzigeorgiou, N.G.; Theocharides, S.; Makrides, G.; Georghiou, G.E. A Review on Battery Energy Storage Systems: Applications, Developments and Research Trends of Hybrid Installations in the End-User Sector. J. Energy Storage 2024, 86, 111192. [Google Scholar] [CrossRef]
- Lipu, M.S.H.; Al Mamun, A.; Ansari, S.; Miah, M.S.; Hasan, K.; Meraj, S.T.; Abdolrasol, M.G.M.; Rahman, T.; Maruf, M.H.; Sarker, M.R.; et al. Battery Management, Key Technologies, Methods, Issues, and Future Trends of Electric Vehicles: A Pathway toward Achieving Sustainable Development Goals. Batteries 2022, 8, 119. [Google Scholar] [CrossRef]
- Triviño, A.; López, A.; Yuste, A.J.; Cuevas, J.C. Decentralized EV Charging and Discharging Scheduling Algorithm Based on Type-II Fuzzy-Logic Controllers. J. Energy Storage 2024, 93, 112054. [Google Scholar] [CrossRef]
- Bhushan, N.; Mekhilef, S.; Tey, K.S.; Shaaban, M.; Seyedmahmoudian, M.; Stojcevski, A. Overview of Model- and Non-Model-Based Online Battery Management Systems for Electric Vehicle Applications: A Comprehensive Review of Experimental and Simulation Studies. Sustainability 2022, 14, 15912. [Google Scholar] [CrossRef]
- Martin, N.; Mitros, A.; Mellone, C.A.; Dimen, I. Multi-Channel and Bi-Directional Battery Management System. U.S. Patent 10741888B2, 11 August 2018. [Google Scholar]
- Papageorgiou, P.; Oureilidis, K.; Tsakiri, A.; Christoforidis, G. A Modified Decentralized Droop Control Method to Eliminate Battery Short-Term Operation in a Hybrid Supercapacitor/Battery Energy Storage System. Energies 2023, 16, 2858. [Google Scholar] [CrossRef]
- Staņa, Ģ.; Kroičs, K. Adaptive Droop Control for Power Distribution of Hybrid Energy Storage Systems in PV-Fed DC Microgrids. Energies 2025, 18, 5137. [Google Scholar] [CrossRef]
- Berschneider, E.; Wagner, B.; Meindl, M.; Eckardt, B. Centralized SoC Balancing for Batteries with Droop-Controlled DC/DC Converters for Electric Aircraft. Batteries 2025, 11, 411. [Google Scholar] [CrossRef]




















| EV | Cell Type | Cell Capacity (Ah) and Voltage (V) | Pack Construction | Pack Capacity (Ah) | Pack Voltage (V) | Pack Useful Energy (kWh) |
|---|---|---|---|---|---|---|
| Tesla Model 3 | Cylindrical 21700![]() | ~4.9 and ~3.6 | 91s46p | 255 | 355 | ~80 |
| Chevy Bolt | Pouch NMC622![]() | ~55 and ~3.65 | 96s3p | 165 | 350 | ~57 |
| Nissan Leaf | Prismatic NMC ![]() | ~55 and ~4 | 96s4p | 260 | 360 | ~40 |
| BYD Han | Blade![]() | ~65 and ~3.2 | 110s3p | 195 | 352 | ~68.5 |
| Type | Method | Location | Advantages | Disadvantages |
|---|---|---|---|---|
| Thermocouple | Voltage generated by temperature difference |
|
|
|
| Resistance Temperature Detector (RTD) | Resistance changes with temperature |
|
|
|
| Thermistors | Semiconductor resistance varies strongly with temperature |
|
|
|
| Zener diode | Generate voltage inversely proportional to the temperature |
|
|
|
| Method | Coulomb Counting | Coulomb Counting with OCV | Model-Based | Data Driven |
|---|---|---|---|---|
| Accuracy | Low | Medium | High | High with training |
| Drift | Poor due to accumulating errors | Moderate | Good | Retraining-dependent |
| Temperature robustness | Poor | Moderate | Good | Data-dependent |
| Ageing robustness | Poor | Limited | Good | Limited without training |
| Computational cost | Very low | Low | Medium | High |
| Memory | Minimal | Low | Moderate | High |
| Sensors | Current | Current Voltage | Current Voltage Temperature | Current Voltage Temperature |
| Implementation complexity | Simple | Simple | Moderate | High |
| Real-time feasibility in automotive applications | Excellent | Excellent | Excellent | Feasible |
| Suitability for EV applications | Limited | Moderate | Highly suitable | Promising but not dominant |
| Make | Likely SoC Estimation Approach | Notes |
|---|---|---|
| Tesla | Model-based (KF) + Coulomb Counting + OCV | Advanced observer filters |
| GM Ultium | Model-based + Adaptive Filtering | Modular battery system with wireless BMS |
| Hyundai/Kia (E-GMP) | Model-based (KF) | Predictive BMS |
| Mercedes-Benz EQ | Model-based (KF) | Modular BMS |
| Ford Mach-E/F-150 Lightning | Model-based | Conventional Automotive System |
| Lucid Air | Model-based | High accuracy |
| Porsche Taycan | Adaptive Model-based | Emphasis on thermal monitoring |
| Jaguar i-PACE | Model-based | Automotive filter logic |
| Honda e/Acura EVs | Model-based | - |
| Chinese EVs (NIO/XPeng/Li Auto) | Not reported | Likely Model-based |
| Model | Energy | Voltage | Target Range | Notes |
|---|---|---|---|---|
| Tesla Model 3 | 82 kWh (76 kWh usable) | 375 V | 470 km | Cylindrical NCA cells |
| Nissan Leaf | 40 kWh (39 kWh usable) | 350 V | 270 km | Prismatic |
| Chevrolet Bolt | 65 kWh | 350–400 V | 410 km | Pouch |
| BYD Han Base | 76.9 kWh | 400 V | 605 km | LFP Blade |
| BYD Hand Flagship | 76.9 kWh | 400 | 610 km | LFP Blade |
| Parameter | Centralised | Modular | Decentralised |
|---|---|---|---|
| Scalability | Low | High | Very high |
| Fault tolerance | Low | Medium-High | High |
| Wiring complexity | High | Medium | Low |
| Cost | Low | Medium | High |
| Implementation complexity | Low | Medium | High |
| Memory | Minimal | Low | Moderate |
| Sensors | Current | Current Voltage | Current Voltage Temperature |
| Implementation complexity | Simple | Simple | Moderate |
Disclaimer/Publisher’s Note: The statements, opinions and data contained in all publications are solely those of the individual author(s) and contributor(s) and not of MDPI and/or the editor(s). MDPI and/or the editor(s) disclaim responsibility for any injury to people or property resulting from any ideas, methods, instructions or products referred to in the content. |
© 2026 by the authors. Licensee MDPI, Basel, Switzerland. This article is an open access article distributed under the terms and conditions of the Creative Commons Attribution (CC BY) license.
Share and Cite
Albakri, M.; Darwish, A. A Review of Modelling, State of Charge Estimation and Management Methods of EV Lithium-Ion Batteries. Batteries 2026, 12, 92. https://doi.org/10.3390/batteries12030092
Albakri M, Darwish A. A Review of Modelling, State of Charge Estimation and Management Methods of EV Lithium-Ion Batteries. Batteries. 2026; 12(3):92. https://doi.org/10.3390/batteries12030092
Chicago/Turabian StyleAlbakri, Moayad, and Ahmed Darwish. 2026. "A Review of Modelling, State of Charge Estimation and Management Methods of EV Lithium-Ion Batteries" Batteries 12, no. 3: 92. https://doi.org/10.3390/batteries12030092
APA StyleAlbakri, M., & Darwish, A. (2026). A Review of Modelling, State of Charge Estimation and Management Methods of EV Lithium-Ion Batteries. Batteries, 12(3), 92. https://doi.org/10.3390/batteries12030092





