Innovation and Development in Whisky Production Around the World
Abstract
1. Introduction
| Country | Characteristics |
|---|---|
| Scotland | Scotch whisky must be distilled in a distillery from water and malted barley, to which only whole grains of other cereals may be added and which has been processed in that distillery by mashing, converted into fermentable substrate only by endogenous enzyme systems, and fermented only by the addition of yeast. This whisky must be distilled to an alcoholic strength of less than 94.8% and aged for a minimum of 3 years in Scotland in oak casks, each with a maximum capacity of 700 L. The only ingredients that must be added to it are water and plain caramel colouring, with a minimum alcohol content by volume of 40% [8]. |
| Ireland | According to the definition of Irish whiskey, the spirit must originate from a cereal mash that has been converted into sugar by malt diastase and possibly other natural diastases, undergo fermentation through yeast action, be distilled at an alcoholic strength below 94.8% volume, and be aged in wooden casks for a minimum period of 3 years [9]. |
| United States | A 51% minimum blend of corn, rye, wheat, malted barley, and malted rye is required for the production of bourbon whisky, rye whisky, wheat whisky, malt whisky, and rye malt whisky, respectively. Bottled at 160° proof and aged at a maximum of 125° proof in new charred oak barrels. Corn whisky must be produced from wort that contains at least 80% corn [10]. |
| Canada | Canadian whisky must be made from a mixture of cereal grains or cereal grain derivatives that are converted into fermentable sugars by malt diastase or other enzymes, fermented with yeast or a combination of yeast and other micro-organisms, aged in small casks for at least 3 years, containing a minimum of 40% alcohol by volume, and may also include caramel and flavourings [11]. |
| Japan | Japanese whisky is defined as being produced from malted grains, other cereal grains, and water sourced from Japan. The alcohol content at the distillation process must be below 95%. The spirit must be aged in wooden barrels with a maximum capacity of 700 L for a minimum of 3 years. Bottling can only take place in Japan, with a minimum alcohol content of 40% and plain caramel colouring permitted [12]. |
| France | For whisky Bretagne and whisky d’Alsace, France is the country of origin. Whisky Bretagne Federation mentions that barley malt, wheat, buckwheat, corn, or rye may be used for this type of whisky to be recognised in the production process [13]. |
| Thailand | Thai whisky can be used in barley malt, molasses, and rice [4]. |
| India | For Indian whisky, barley malt, molasses, and grains such as corn, rice, sorghum, and millet can be used [4]. |
| China | Chinese whisky is made from barley malt and cereals such as rye, wheat, corn, barley, or oats [14]. |
| Mexico | Mexican whisky uses raw materials such as barley, rye, wheat, and corn. Corn whisky has the possibility of not requiring ageing in its production process [15,16]. |
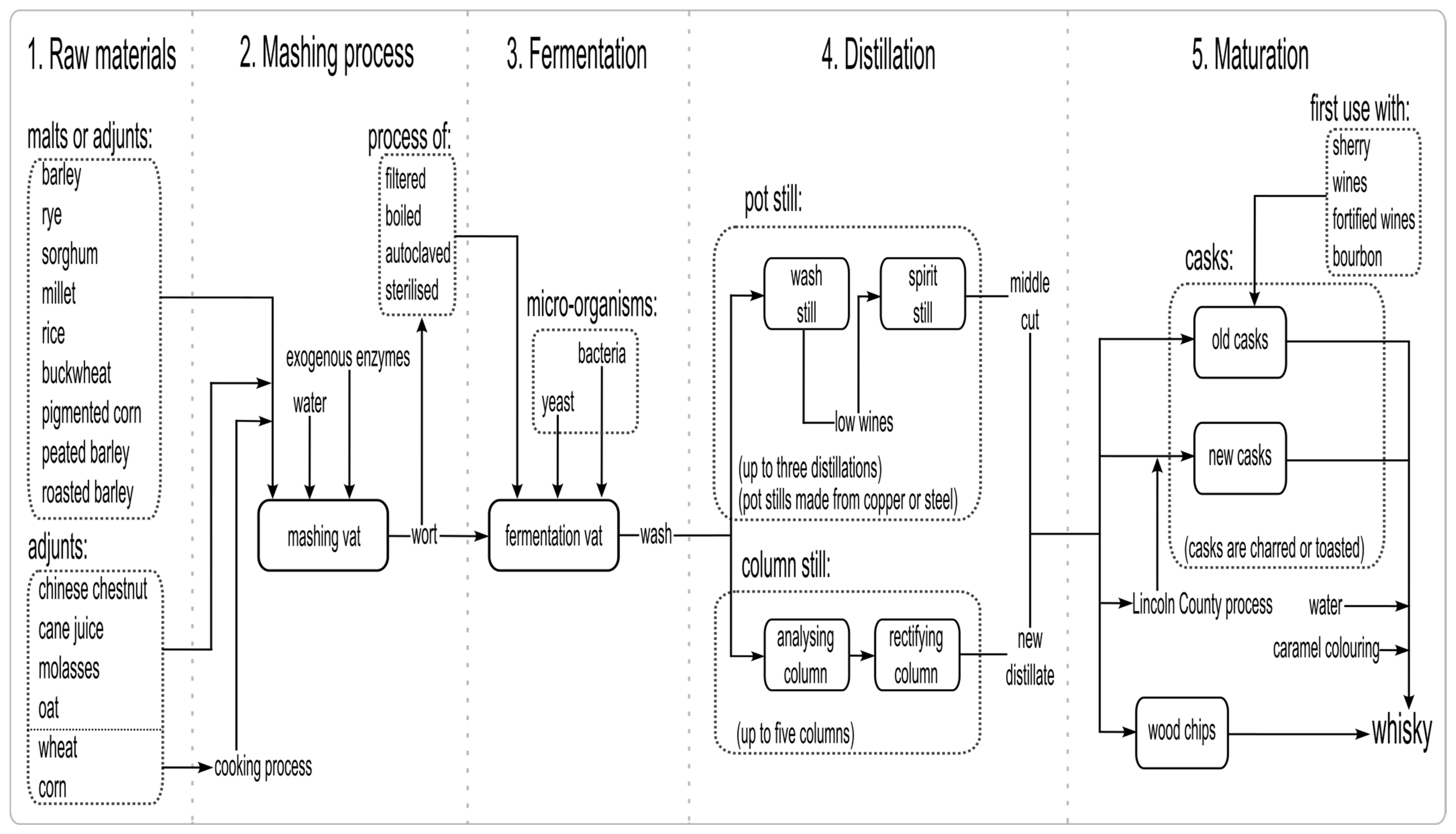
2. Raw Materials and Malts
3. Mashing Process
4. Fermentation
5. Distillation
6. Maturation
7. Conclusions
Author Contributions
Funding
Acknowledgments
Conflicts of Interest
References
- Bamforth, C.W. Distilled Alcohol Beverages. In Food, Fermentation and Micro-Organisms; Blackwell Publishing: Oxford, UK, 2005; pp. 122–132. [Google Scholar]
- Haug, H.; Grasskamp, A.T.; Singh, S.; Strube, A.; Sauerwald, T. Quick insights into whisky—Investigating rapid and efcient methods for sensory evaluation and chemical analysis. Anal. Bioanal. Chem. 2023, 415, 6091–6106. [Google Scholar] [CrossRef] [PubMed]
- Buxton, I.; Hughes, P.S. Chapter 1 Whisky’s Historical Development. In The Science and Commerce of Whisky; The Royal Society of Chemistry: Croydon, UK, 2021; pp. 1–53. [Google Scholar]
- Maitin, B.K. Chapter 6—Indian whiskies. In Whisky and Other Spirits: Technology, Production and Marketing; Russell, I., Stewart, G., Kellershohn, J., Eds.; Academic Press: Oxford, UK, 2022; pp. 75–86. [Google Scholar]
- Pielech-Przybylska, K.; Balcerek, M. 3—New Trends in Spirit Beverages Production. In Alcoholic Beverages; Grumezescu, A.M., Holban, A.M., Eds.; Woodhead Publishing: Duxford, UK, 2019; pp. 65–111. [Google Scholar]
- Miller, G.H. What is whisky? In Whisky Science: A Condensed Distillation; Springer: Cham, Switzerland, 2019; pp. 1–41. [Google Scholar]
- Buxton, I.; Hughes, P.S. Chapter 8 New Whisky Countries and the “Craft” Distilling Phenomenon. In The Science and Commerce of Whisky; The Royal Society of Chemistry: Croydon, UK, 2021; pp. 255–284. [Google Scholar]
- UK Statutory Instruments. The Scotch Whisky Regulations 2009; No. 2890; UK Statutory Instruments: London, UK, 2009.
- Government of Ireland. Irish Whiskey Act; Government of Ireland: Dublin, Ireland, 1980.
- U.S. Code of Federal Regulations. 27 CFR § 5.22 the Standards of Identity; U.S. Code of Federal Regulations: Washington, DC, USA, 1969.
- Government of Canada. Food and Drug Regulations (C.R.C. c. 870); Government of Canada: Ottawa, Canada, 1993.
- Japan Spirits & Liqueurs Makers Association. Standards for Labeling Japanese Whisky; Japan Spirits & Liqueurs Makers Association: Tokyo, Japan, 2021. [Google Scholar]
- Regulation (EC) No 110/2008 of the European Parliament and of the Council; Official Journal of the European Union: Brussels, Belgium, 2008.
- GB/T 11857-2008; Whisky. General Administration of Quality Supervision Inspection and Quarantine of the People’s Republic of China: Beijing, China, 2008.
- NOM-199-SCFI-2017; Bebidas Alcohólicas—Denominación, Especificaciones Fisicoquímicas, Información Comercial y Métodos de Prueba. Diario Oficial de la Federación: Mexico City, Mexico, 2017.
- NMX-V-001-NORMEX-2012; Bebidas Alcohólicas Destiladas—Whisky y Whiskey—Denominación, Etiquetado y Especificaciones. Diario Oficial de la Federación: Mexico City Mexico, 2012.
- Piggott, J.R.; Conner, J.M. Whiskies. In Fermented Beverage Production; Lea, A.G.H., Piggott, J.R., Eds.; Kluwer Academic/Plenum Publishers: New York, NY, USA, 2003; pp. 239–262. [Google Scholar]
- Bringhurst, T.A. 125th Anniversary Review: Barley research in relation to Scotch whisky production: A journey to new frontiers. J. Inst. Brew. 2015, 121, 1–18. [Google Scholar] [CrossRef]
- Bathgate, G.N. A review of malting and malt processing for whisky distillation. J. Inst. Brew. 2016, 122, 197–211. [Google Scholar] [CrossRef]
- Bathgate, G.N. The influence of malt and wort processing on spirit character: The lost styles of Scotch malt whisky. J. Inst. Brew. 2019, 125, 200–213. [Google Scholar] [CrossRef]
- Shen, X.; Wang, H.; Zhang, H.; Yao, L.; Sun, M.; Yu, C.; Li, D.; Feng, T. Comparative analysis of the aromatic profile of single malt whiskies from different regions of Scotland using GC-MS, GC-O-MS and sensory evaluation. J. Food Compost. Anal. 2024, 133, 106465. [Google Scholar] [CrossRef]
- Swanston, J.S.; Newton, A.C.; Brosnan, J.M.; Fotheringham, A.; Glasgow, E. Determining the spirit yield of wheat varieties and variety mixtures. J. Cereal Sci. 2005, 42, 127–134. [Google Scholar] [CrossRef]
- Agu, R.C.; Bringhurst, T.A.; Brosnan, J.M. Production of Grain Whisky and Ethanol from Wheat, Maize and Other Cereals. J. Inst. Brew. 2006, 112, 314–323. [Google Scholar] [CrossRef]
- Chiba, Y.; Bryce, J.H.; Goodfellow, V.; MacKinlay, J.; Agu, R.C.; Brosnan, J.M.; Bringhurst, T.A.; Harrison, B. Effect of Germination Temperatures on Proteolysis of the Gluten-Free Grains Sorghum and Millet during Malting and Mashing. J. Agric. Food Chem. 2012, 60, 3745–3753. [Google Scholar] [CrossRef]
- Agu, R.C.; Chiba, Y.; Goodfellow, V.; MacKinlay, J.; Brosnan, J.M.; Bringhurst, T.A.; Jack, F.R.; Harrison, B.; Pearson, S.Y.; Bryce, J.H. Effect of Germination Temperatures on Proteolysis of the Gluten-Free Grains Rice and Buckwheat during Malting and Mashing. J. Agric. Food Chem. 2012, 60, 10147–10154. [Google Scholar] [CrossRef]
- Agu, R.C.; Palmer, G.H. Evaluation of the potentials of millet, sorghum and barley with similar nitrogen contents malted at their optimum germination temperatures for use in brewing. J. Inst. Brew. 2013, 119, 258–264. [Google Scholar] [CrossRef]
- Hernández-Carapia, M.A.; Verde-Calvo, J.R.; Escalona-Buendía, H.B. Influence of temperature and germination time on diastatic power of blue and red maize (Zea mays L.) malts. Emir. J. Food Agric. 2021, 33, 56–66. [Google Scholar] [CrossRef]
- Espitia-López, V.L. Elaboración, Estudio Fisicoquímico y Sensorial de la Maduración del Whisky Utilizando Malta de Maíz Rojo y Chips de Madera. Master’s Thesis, Universidad Autónoma Metropolitana, Mexico City, Mexico, 2019. [Google Scholar] [CrossRef]
- Jack, F.R. 19—Whiskies: Composition, sensory properties and sensory analysis. In Alcoholic Beverages: Sensory Evaluation and Consumer Research; Piggott, J., Ed.; Woodhead Publishing: Cambridge, UK, 2012; pp. 379–392. [Google Scholar]
- Fukuyo, S.; Myojo, Y. Chapter 2—Japanese whisky. In Whisky and Other Spirits: Technology, Production and Marketing; Russell, I., Stewart, G., Kellershohn, J., Eds.; Academic Press: Oxford, UK, 2022; pp. 7–16. [Google Scholar]
- Marčiulionytė, R.; Johnston, C.; Maskell, D.L.; Mayo, J.; Robertson, D.; Griggs, D.; Holmes, C.P. Roasted Malt for Distilling: Impact on Malt Whisky New Make Spirit Production and Aroma Volatile Development. J. Am. Soc. Brew. Chem. 2022, 80, 329–340. [Google Scholar] [CrossRef]
- Krakowiak, K.P.; Baxter, I.; Harrison, B.; Pitts, N.; Fergusson, S.; Bell, N.G.A.; Ellis, D.; Mclntosh, R.D. An assessment of spent coffee grounds as a replacement for peat in the production of whisky: Chemical and sensory analysis of new make spirits. Sustain. Food Technol. 2024, 2, 1747–1756. [Google Scholar] [CrossRef]
- Krakowiak, K.P.; Mclntosh, R.D.; Ellis, D. An assessment of spent coffee grounds as a replacement for peat in the production of Scotch whisky: Chemical extraction and pyrolysis studies†. Sustain. Food Technol. 2024, 2, 92–103. [Google Scholar] [CrossRef]
- Mese, Y.; Bryce, J.; Fujii, T.; Takata, R.; Holmes, C.P. Effect of Grist Particle Size Distribution and Wort Turbidity on Ester Composition of Malt Whisky New Make Spirit. J. Am. Soc. Brew. Chem. 2024, 1–8. [Google Scholar] [CrossRef]
- Li, J.; Zhang, Q.; Sun, B. Chinese Baijiu and Whisky: Research Reservoirs for Flavor and Functional Food. Foods 2023, 12, 2841. [Google Scholar] [CrossRef]
- Li, W.; Shi, C.; Guang, J.; Ge, F.; Yan, S. Development of Chinese chestnut whiskey: Yeast strains isolation, fermentation system optimization, and scale-up fermentation. AMB Express 2021, 11, 17. [Google Scholar] [CrossRef]
- Zhang, L.; Gao, H.; Baba, M.; Okada, Y.; Okuyama, T.; Wu, L.; Zhan, L. Extracts and compounds with anti-diabetic complications and anti-cancer activity from Castanea mollissina Blume (Chinese chesnut). BMC Complement. Altern. Med. 2014, 14, 422. [Google Scholar] [CrossRef]
- Corrêa, A.C.; Marques Bortoletto, A.; Casagrande Silvello, G.; Alcarde, A.R. Novel distilled spirits obtained from combinations of fermented sugarcane juice and malted barley wort. J. Inst. Brew. 2021, 127, 189–195. [Google Scholar] [CrossRef]
- Piggott, J.R. Whisky. In Current Developments in Biotechnology and Bioengineering; Pandey, A., Sanromán, M.Á., Du, G., Soccol, C.R., Dussap, C.-G., Eds.; Elsevier: Amsterdam, The Netherlands, 2017; pp. 435–450. [Google Scholar]
- Vriesekoop, F.; Rathband, A.; MacKinlay, J.; Bryce, J.H. The Evolution of Dextrins During the Mashing and Fermentation of All-malt Whisky Production. J. Inst. Brew. 2010, 116, 230–238. [Google Scholar] [CrossRef]
- Daute, M.; Jack, F.; Harrison, B.; Walker, G. Experimental Whisky Fermentations: Influence of Wort Pretreatments. Foods 2021, 10, 2755. [Google Scholar] [CrossRef] [PubMed]
- Ndubisi, C.F.; Okafor, E.T.; Amadi, O.C.; Nwagu, T.N.; Okolo, B.N.; Moneke, A.N.; Odibo, J.F.C.; Okoro, P.M.; Agu, R.C. Effect of malting time, mashing temperature and added commercial enzymes on extract recovery from a Nigerian malted yellow sorghum variety. J. Inst. Brew. 2016, 122, 156–161. [Google Scholar] [CrossRef]
- Phetxumphou, K.; Miller, G.; Ashmore, P.L.; Collins, T.; Lahne, J. Mashbill and barrel aging effects on the sensory and chemometric profiles of American whiskeys. J. Inst. Brew. 2020, 126, 194–205. [Google Scholar] [CrossRef]
- Russell, I.; Stewart, G. Chapter 12—Distilling yeast and fermentation. In Whisky and Other Spirits: Technology, Production and Marketing; Russell, I., Stewart, G., Kellershohn, J., Eds.; Academic Press: Oxford, UK, 2022; pp. 213–236. [Google Scholar]
- Daute, M.; Jack, F.; Walker, G. The potential for Scotch Malt Whisky flavour diversification by yeast. FEMS Yeast Res. 2024, 24, foae017. [Google Scholar] [CrossRef]
- Walker, G.M.; Hill, A.E. Saccharomyces cerevisiae in the Production of Whisk(e)y. Beverages 2016, 2, 38. [Google Scholar] [CrossRef]
- Reid, S.J.; Speers, R.A.; Lumsden, W.; Willoughby, N.A.; Maskell, D.L. The influence of yeast format and pitching rate on Scotch malt whisky fermentation kinetics and congeners. J. Inst. Brew. 2023, 129, 110–127. [Google Scholar] [CrossRef]
- Neto, H.B.dA.; Yohannan, B.K.; Bringhurst, T.A.; Brosnan, J.M.; Pearson, S.Y.; Walker, J.W.; Walker, G.M. Evaluation of a Brazilian Fuel Alcohol Yeast Strain for Scotch Whisky Fermentations. J. Inst. Brew. 2009, 115, 198–207. [Google Scholar] [CrossRef]
- Barbour, E.A.; Priest, F.G. Some Effects of Lactobacillus Contamination in Scotch Whisky Fermentations. J. Inst. Brew. 1988, 94, 89–92. [Google Scholar] [CrossRef]
- Makanjuola, D.B.; Springham, D.G. Identification of Lactic Acid Bacteria Isolated from Different Stages of Malt Whisky Distillery Fermentations. J. Inst. Brew. 1984, 90, 13–19. [Google Scholar] [CrossRef]
- Van Beek, S.; Priest, F.G. Bacterial Diversity in Scotch Whisky Fermentations as Revealed by Denaturing Gradient Gel Electrophoresis. J. Am. Soc. Brew. Chem. 2003, 61, 10–14. [Google Scholar] [CrossRef]
- Van Beek, S.; Priest, F.G. Evolution of the lactic acid bacterial community during malt whisky fermentation: A polyphasic study. Appl. Environ. Microbiol. 2002, 68, 297–305. [Google Scholar] [CrossRef] [PubMed]
- Reid, S.J.; Speers, R.A.; Willoughby, N.; Lumsden, W.B.; Maskell, D.L. Pre-fermentation of malt whisky wort using Lactobacillus plantarum and its influence on new-make spirit character. Food Chem 2020, 320, 126605. [Google Scholar] [CrossRef] [PubMed]
- Tsapou, E.A.; Drosou, F.; Koussissi, E.; Dimopoulou, M.; Dourtoglou, T.; Dourtoglou, V. Addition of yogurt to wort for the production of spirits: Evaluation of the spirit aroma over a two-year period. J. Food Sci. 2020, 85, 2069–2079. [Google Scholar] [CrossRef] [PubMed]
- Grange-Nel, K.L.; Smit, A.; Cordero Otero, R.R.; Lambrechts, M.G.; Willemse, Q.; Van Rensburg, P.; Pretorius, I.S. Expression of 2 Lipomyces kononenkoae α-Amylase Genes in Selected Whisky Yeast Strains. J. Food Sci. 2004, 69, 175–181. [Google Scholar] [CrossRef]
- Hansen, R.; Pearson, S.Y.; Brosnan, J.M.; Meaden, P.G.; Jamieson, D.J. Proteomic analysis of a distilling strain of Saccharomyces cerevisiae during industrial grain fermentation. Appl. Microbiol. Biotechnol. 2006, 72, 116–125. [Google Scholar] [CrossRef] [PubMed]
- Berg, H.Y.; Arju, G.; Nisamedtinov, I. Nitrogen Availability and Utilisation of Oligopeptides by Yeast in Industrial Scotch Grain Whisky Fermentation. J. Am. Soc. Brew. Chem. 2024, 1–13. [Google Scholar] [CrossRef]
- Nicol, D.A. Chapter 14—Batch distillation. In Whisky and Other Spirits: Technology, Production and Marketing; Russell, I., Stewart, G., Kellershohn, J., Eds.; Academic Press: Oxford, UK, 2022; pp. 247–270. [Google Scholar]
- Blaikie, L.; Don, A.W.; Franzen, X.; Fernandez, C.; Faisal, N.; Lin, P.K.T. Valorisation of Whisky Distillery Waste as a Sustainable Source of Antioxidant and Antibacterial Properties with Neuroprotective Potential. Waste Biomass Valorization 2024, 15, 2333–2343. [Google Scholar] [CrossRef]
- Piggott, J.R. Whisky, Whiskey and Bourbon: Composition and Analysis of Whisky. In Encyclopedia of Food and Health; Caballero, B., Flingas, P.M., Toldrá, F., Eds.; Academic Press: Oxford, UK, 2016; pp. 514–518. [Google Scholar]
- Daute, M.; Baxter, I.; Harrison, B.; Walker, G.; Jack, F. From Fermented Wash to New Make Spirit: Assessing the Evolution of Flavour Characteristics of Scotch Whisky Using Lab-Scale Process Simulations. Beverages 2023, 9, 37. [Google Scholar] [CrossRef]
- Harrison, B. Volatile Compounds Formation in Whisky. In Volatile Compounds Formation in Specialty Beverages; Richter Reis, F., Eleutério dos Santos, C.M., Eds.; CRC Press: Boca Raton, FL, USA, 2022; pp. 79–106. [Google Scholar]
- Harrison, B.; Fagnen, O.; Jack, F.; Brosnan, J. The Impact of Copper in Different Parts of Malt Whisky Pot Stills on New Make Spirit Composition and Aroma. J. Inst. Brew. 2011, 117, 106–112. [Google Scholar] [CrossRef]
- Lee, K.-Y.M.; Paterson, A.; Piggott, J.R.; Richardson, G.D. Origins of Flavour in Whiskies and a Revised Flavour Wheel: A Review. J. Inst. Brew. 2001, 107, 287–313. [Google Scholar] [CrossRef]
- Esteban-Decloux, M.; Grangeon, H.; N’Guessan, T. Behaviour of volatile compounds during batch multi-stage distillation of whisky: Experimental and simulation data. J. Inst. Brew. 2023, 129, 192–208. [Google Scholar] [CrossRef]
- Conner, J. Chapter 16—Maturation. In Whisky and Other Spirits: Technology, Production and Marketing; Russell, I., Stewart, G., Kellershohn, J., Eds.; Academic Press: Oxford, UK, 2022; pp. 291–311. [Google Scholar]
- Jack, F. Chapter 18—Sensory analysis. In Whisky and Other Spirits: Technology, production and Marketing; Russell, I., Stewart, G., Kellershohn, J., Eds.; Academic Press: Oxford, UK, 2022; pp. 321–333. [Google Scholar]
- Luo, M.; Cui, D.; Li, J.; Zhou, P.; Duan, C.; Lan, Y.; Wu, G. Factors in Modulating the Potential Aromas of Oak Whisky Barrels: Origin, Toasting, and Charring. Foods 2023, 12, 4266. [Google Scholar] [CrossRef] [PubMed]
- Vivas, N.; Vivas de Gaulejac, N.; Bourden-Nonier, M.F.; Mouche, C.; Rossy, C. Extraction of phenolics from new oak casks during spirit maturation: Impact on spirit colour. J. Inst. Brew. 2020, 126, 83–89. [Google Scholar] [CrossRef]
- Ashmore, P.L.; DuBois, A.; Tomasino, E.; Harbertson, J.F.; Collins, T.S. Impact of Dilution on Whisky Aroma: A Sensory and Volatile Composition Analysis. Foods 2023, 12, 1276. [Google Scholar] [CrossRef]
- Zhang, D.; Jackson, W.; Dobie, G.; Macleod, C.; Gachagan, A. Innovative non-invasive ultrasound method for whisky cask liquid level measurement. Measurement 2024, 228, 114345. [Google Scholar] [CrossRef]
- Picard, M.; Oulieu, C.; Nonier, M.F.; Vivas, N.; Vivas, N. The role of oak wood in the mint and floral notes of whisky: Identification of common terpenoids by aromatic fractionation. J. Inst. Brew. 2023, 129, 62–79. [Google Scholar] [CrossRef]
- Gollihue, J.; Pook, V.G.; DeBolt, S. Sources of variation in bourbon whiskey barrels: A review. J. Inst. Brew. 2021, 127, 210–223. [Google Scholar] [CrossRef]
- Withers, S.J.; Piggott, J.R.; Conner, J.M.; Paterson, A. Comparison of Scotch Malt Whisky Maturation in Oak Miniature Casks and American Standard Barrels. J. Inst. Brew. 1995, 101, 359–364. [Google Scholar] [CrossRef]
- Prudenza, S.; Foschi, R.; Bax, C.; Capelli, L. An electronic nose for characterising the aroma profile of whisky obtained by a novel accelerated aging process. In Proceedings of the 2024 IEEE International Symposium on Olfaction and Electronic Nose (ISOEN), Grapevine, TX, USA, 12–15 May 2024; pp. 1–4. [Google Scholar] [CrossRef]
- Fan, W.; Xu, Y.; Yu, A. Influence of Oak Chips Geographical Origin, Toast Level, Dosage and Aging Time on Volatile Compounds of Apple Cider. J. Inst. Brew. 2006, 112, 255–263. [Google Scholar] [CrossRef]
- Espitia-López, J.; Escalona-Buendía, H.B.; Luna, H.; Verde-Calvo, J.R. Multivariate study of the evolution of phenolic composition and sensory profile on mouth of Mexican red Merlot wine aged in barrels vs. wood chips. CyTA J. Food 2015, 13, 26–31. [Google Scholar] [CrossRef]
- Bortoletto, A.M.; Alcarde, A.R. Aging marker profile in cachaça is influenced by toasted oak chips. J. Inst. Brew. 2015, 121, 70–77. [Google Scholar] [CrossRef]
- Kerley, T.; Munafo, J.P. Changes in Tennessee Whiskey Odorants by the Lincoln County Process. J. Agric. Food Chem. 2020, 68, 9759–9767. [Google Scholar] [CrossRef]

Disclaimer/Publisher’s Note: The statements, opinions and data contained in all publications are solely those of the individual author(s) and contributor(s) and not of MDPI and/or the editor(s). MDPI and/or the editor(s) disclaim responsibility for any injury to people or property resulting from any ideas, methods, instructions or products referred to in the content. |
© 2024 by the authors. Licensee MDPI, Basel, Switzerland. This article is an open access article distributed under the terms and conditions of the Creative Commons Attribution (CC BY) license (https://creativecommons.org/licenses/by/4.0/).
Share and Cite
Espitia-López, V.L.; Malpica-Sánchez, F.P.; Escalona-Buendía, H.B.; Verde-Calvo, J.R. Innovation and Development in Whisky Production Around the World. Beverages 2024, 10, 124. https://doi.org/10.3390/beverages10040124
Espitia-López VL, Malpica-Sánchez FP, Escalona-Buendía HB, Verde-Calvo JR. Innovation and Development in Whisky Production Around the World. Beverages. 2024; 10(4):124. https://doi.org/10.3390/beverages10040124
Chicago/Turabian StyleEspitia-López, Victor L., Frida P. Malpica-Sánchez, Héctor B. Escalona-Buendía, and José R. Verde-Calvo. 2024. "Innovation and Development in Whisky Production Around the World" Beverages 10, no. 4: 124. https://doi.org/10.3390/beverages10040124
APA StyleEspitia-López, V. L., Malpica-Sánchez, F. P., Escalona-Buendía, H. B., & Verde-Calvo, J. R. (2024). Innovation and Development in Whisky Production Around the World. Beverages, 10(4), 124. https://doi.org/10.3390/beverages10040124

