Next Article in Journal
Development of 2,3-Butanediol Production Process from Klebsiella aerogenes ATCC 29007 Using Extracted Sugars of Chlorella pyrenoidosa and Biodiesel-Derived Crude Glycerol
Previous Article in Journal
Hybrid Models for Efficient Control, Optimization, and Monitoring of Thermo-Chemical Processes and Plants
Previous Article in Special Issue
Phosphate and Ammonium Removal from Water through Electrochemical and Chemical Precipitation of Struvite
 
 
Font Type:
Arial Georgia Verdana
Font Size:
Aa Aa Aa
Line Spacing:
Column Width:
Background:
Article

Novel Treatment of Sugar Mill Wastewater in a Coupled System of Aged Refuse Filled Bioreactors (ARFB): Full-Scale

by
Rubén Fernando Gutiérrez-Hernández
1,
Hugo Alejandro Nájera-Aguilar
2,*,
Juan Antonio Araiza-Aguilar
2,
Rebeca Isabel Martínez-Salinas
2,
Carlos Manuel García-Lara
2,
Ulises González-Vázquez
2 and
Abumalé Cruz-Salomón
3,*
1
Departamento de Ingeniería Química y Bioquímica, Tecnológico Nacional de Mexico—Instituto Tecnológico de Tapachula, Km. 2 Carretera a Puerto Madero s/n., Tapachula 30700, Chiapas, Mexico
2
Escuela de Ingeniería Ambiental, Universidad de Ciencias y Artes de Chiapas, Libramiento Norte Poniente No. 1150, Col. Lajas, Maciel, Tuxtla Gutiérrez 29000, Chiapas, Mexico
3
Escuela de Ciencias Químicas, Sede Ocozocoautla, Universidad Autónoma de Chiapas (UNACH), Carretera Panamericana Ocozocoautla—Cintalapa Km. 2.5, Ocozocoautla de Espinosa 29140, Chiapas, Mexico
*
Authors to whom correspondence should be addressed.
Processes 2021, 9(3), 516; https://doi.org/10.3390/pr9030516
Submission received: 13 February 2021 / Revised: 1 March 2021 / Accepted: 9 March 2021 / Published: 12 March 2021
(This article belongs to the Special Issue Control and Optimization of Wastewater Treatment Technology)

Abstract

Sugar is the most important food supplement of our daily diet. During the production, sugar mills use a large volume of water and produce a significant amount of wastewater polluted with high organic compounds. Therefore, it is necessary to treat the wastewater before their disposal. For this reason, this article presents the results obtained from the monitoring of a coupled system of aged refuse filled bioreactors (ARFB) in full scale to treat wastewater from a sugar mill. The coupled system consists of two bioreactors (a primary one -ARFB1- and a rectification one -ARFB2-) arranged in a series with identical geometries. The ARFB1-ARFB2 system was evaluated in two stages. The first stage (maintenance period) for 28 weeks, and second stage (Zafra season) for 29 weeks. The system was fed with sugar mill wastewater (SMW) with a chemical oxygen demand (COD) of 2787 ± 1552 mg/L and 2601 ± 722 mg/L, respectively. As results, we observed a rapid stabilization of the system over 2 months. In addition, we found the ARFB1-ARFB2 system achieved an average COD removal of 94.9%, with a final effluent (E2) concentration below the maximum permissible limits of Mexican and international regulations for all analyzed parameters. Finally, the results of this study show that the ARFB1-ARFB2 full-scale novel technology is an efficient process for removal of the main contaminants that affect the wastewater from the sugar mills.

1. Introduction

One of the most important commercial crops in the world is sugarcane. The sugarcane agribusiness is economically important in Mexico, since it is grown in 15 states, it has 57 sugar mills and generates more than 450,000 direct jobs, and indirectly benefits more than two million people. The above positions Mexico among the top six exporting countries of cane sugar, the United States of America being one of its main markets [1,2].
According to the Agribusiness Sugarcane Statistical Report [2], sugarcane was harvested across 804,060 Ha in Mexico during the 2018–2019 period, with a yield of 7.99 tons of sugar per Ha. However, this activity can generate around 1000 L of wastewater per ton of processed sugarcane [3]. So, considering the 57 million tons of cane processed in the 2018–2019 harvest, a generated volume of 57 million cubic meters of sugar mill wastewater (SMW) would be estimated.
The SMW is characterized by a distinct color, BOD5, and COD with values in the range of 1052–4641 and 1752–8339 mg/L, respectively [4]. Therefore, it presents a biodegradability index (BI) between 0.50–0.60, which translates into highly biodegradable wastewater [5]. Additionally, this kind of wastewater includes a high concentration of nutrients (nitrogen and phosphorus). Their discharge into freshwater bodies pollutes and harms aquatic life, animals, plants, and human beings [6,7]. It also has a negative impact on the properties of contaminated soil [8]. Given these consequences, unmanaged release of SMW may trigger severe social and environmental problems.
Considering the high organic load and BI of SMW, both aerobic and anaerobic biological processes have been used for treatment. Among laboratory-scale studies, noteworthy anaerobic reports by Pradeep et al. [9], Hampannavar and Shivayogimath [3], and Cruz-Salomón et al. [10] who achieved a high COD reduction of 81.8%, 89%, and 74%, respectively. On the other hand, the study reported by Hamoda and Al-Sharekh [11], who evaluated an aerated fixed-film biological system, reached COD removal of 67.8%.
While these studies have found meaningful COD removals in a variety of processes, a single system is generally insufficient to meet environmental regulations, despite their high BI. So, a hybrid system including a supplemental rectification treatment stage is necessary. Coupled physicochemical processes have also been tested. For example, the combination of two physicochemical systems (thermal-electrocoagulation) [12] or the combination of a sequential batch reactor (SBR) with an electrocoagulation process [13]. These works found high COD removals of 97.8% and 98.3%, respectively. However, the cost in these processes is high compared to the biological processes.
At the beginning of the decade, new and more economical alternatives for wastewater treatment were developed, such as aged refuse filled bioreactors (ARFB). ARFB is characterized by being made up of aged refuse from final disposal sites (FDS) of municipal solid waste (MSW) [14]. This material contains a wide variety, and a large quantity, of microbial populations (1.40 × 106 CFU/g), which have adapted over the years to high concentrations of pollutants [15] and that favor the ARFB system in organic load removal from different aqueous matrices.
However, the application of this technology has focused mainly on the treatment of leachate from sanitary landfills [16], where COD removal of 75–95% has been achieved with a hydraulic load (HL) of 55 L/m3·d [17], or 80% with a HL of 18 L/m3·d [14]. The ARFB has also been tested in less complex wastewater, such as domestic wastewater with COD removals of 73.8% [18]. One of the most recent applications of the ARFB system [19] tested this technology in wastewater from sugar mills and found COD removal of 89.0–98.8%.
These high efficiencies showed by the ARFB system are attributed to the microbial activity in aged refuse, derived from the existence of large and diverse populations of microorganisms that have acclimatized to high concentrations of contaminants over the years, developing a great capacity to even degrade refractory (insoluble and nonhydrolyzable) organic matter [20,21].
Despite its promise, a thorough study of full-scale ARFB systems used to treat SMW does not exist. Previous reports have largely focused on other technologies such as UASB [6,22]. While some research of full-scale ARFB exists, they are only basic reports covering the treatment of leachates [23,24].
For that reason, the present study focuses on the application and evaluation of full-scale ARFB technology for the treatment wastewater from the process area of a sugar mill in the state of Chiapas, Mexico. According to the literature review, this work represents the first application of full-scale ARFB technology in the treatment of SMW.

2. Materials and Methods

2.1. Analytical Methods (Wastewater Characterization)

The SMW was obtained from a sugar mill located in the southeast of Mexico (latitude 15°08′00″ N and longitude 92°28′00″ W). Samples were stored at 4 °C until used.
The characteristics of the SMW such as pH, temperature, turbidity, color, chlorides, total solids (TS), total suspended solids (TSS), total dissolved solids (TDS), total nitrogen (TN), settleable solids, acidity, COD, and BOD5 were analyzed according to the Standard Methods for Examination of Water and Wastewater [25]. The BI was calculated according to reported by Cruz-Salomón et al. [26]. In addition, two months after the Zafra season began, analysis of treated effluent was performed monthly according to Mexican regulations (NOM-001-SEMARNAT-1996) [27] and included testing of pH, temperature, TN, total phosphorus (TP), fats, oils, and grease (FOG), fecal coliforms, cyanides, settleable solids, TSS, COD, BOD5, and floating matter [25]. Additionally, heavy metals such as As, Cd, Cu, Cr, and Hg were analyzed by flame atomic absorption spectroscopy (FAAS). All tests were performed in triplicate.

2.2. Extraction, Characterization and Preparation of Aged Refuse

The aged refuse used as packaging for ARFB was obtained from the Sanitary Landfill of Tuxtla Gutiérrez, Chiapas, Mexico (latitude 16°45′11″ N and longitude 93°06′56″ W) (Figure 1), specifically from an area closed since 2008 to ensure is the aged refuse was older than eight years. The aged refuse was extracted in an estimated area of 300 m2, and at depths from 0.5 to 6 m approximately. The aged refuse was arranged on the same land and dried at room temperature for 2 weeks. During the drying process, carried out in the dry season, larger materials were removed (i.e., fabric, glass, cardboard, stones, iron, plastics, etc.).
The composition analysis of the aged refuse was performed when the material was fresh and when it was dry. In this analysis, the percentage of rigid plastics, nylon bags, fine, and other materials (glass, wood, stones) were determined. Similarly, in order to measure particle sizes in the dry material, the materials were screened and classified into three different sizes (<15 mm, 15–50 mm, >50 mm), and the fractions ≤50 mm were used for packing the ARFB.

2.3. Construction, Start-Up, and Operation of the (ARFB1-ARFB2) Serial System

The full-scale system (Figure 2) was made in reinforced concrete and was composed by two bioreactors in series (ARFB1-ARFB2), each of them with the following dimensions: 15 m (length) × 4 m (width) and 3 m (height). Both bioreactors were packed with 0.20 m of river stone (2–3” ∅) and 2.6 m of aged refuse. Additionally, they had 0.20 m of free edge. The aged refuse in both bioreactors was contained in a reinforced Irving-type grid (coated with anticorrosive paint) and was placed at the bottom. Additionally, a shadow mesh to contain the fine fractions was added.
Regarding the feeding system, there was an arrangement of nozzles attached to pipes supported on metallic structures in the upper part of the bioreactors. Considering that the average rainfall in the study site is 3402 mm per year, and that an important amount of it is concentrated in the months of June to October with average monthly rainfall of 450 to 600 mm [28], each bioreactor had a roof on the upper part to avoid possible temporary floods and washing of the aged refuse.
The SMW was pretreated in two phases before feeding into the ARFB1-ARFB2 system. First via a settling and buffer tank, and then via pH adjustment tank (pH was adjusted to 6–7 using limewater). From this tank, the ARFB1-ARFB2 system was fed with pretreated SMW.
The SMW used was generated in two stages. The first stage corresponded to the maintenance period at the sugar mill (week 1 to 28). In this phase, SMW was fed to the ARFB1-ARFB2 system under this scheme:
  • 1 to 8 weeks contemplated the stabilization of the system.
  • 9 to 14 weeks, the system was operating at a HL of 50 L/m3·d.
  • 15 to 20 weeks, the system was operating at a HL of 100 L/m3·d.
  • 21 to 28 weeks, the system was operating at a HL of 150 L/m3·d.
The second stage corresponds to Zafra season (weeks 29 to 57), where the system was operating at HL of 150 L/m3·d. It is important to mention this last HL is within the range reported in laboratory-scale [19].
Feeding of the ARFB1-ARFB2 system was carried out four times per day, taking into account that rest time between feedings favors the degradation of pollutants within a system [23]. Moreover, it was carried out in the upper part through rectangular impact nozzles which provide a more uniform distribution of wastewater on the surface of the ARFB.
The efficiency (%) of the ARFB1-ARFB2 system was calculated with the following Equation (1) [29].
E f f i c i e n c y   ( % ) = C i n f C e f f C i n f   ×   100
where C i n f is the influent concentration and C e f f is the final effluent concentration.

2.4. Analysis of Experimental Data

Statistical analysis of different HL (50, 100, and 150 L/m3·d) during ARFB1-ARFB2 system evaluation was performed via a one-way analysis of variance (ANOVA) with a significance level α = 0.05. Tukey’s test was also considered to detect differences between means.

3. Results and Discussion

3.1. SMW Characterization

Results of the physicochemical analysis of SMW from the production area are shown in Table 1. The results show the SMW is acidic in nature with a pH of 5.51 ± 0.47 and acidity of 702 ± 38 mg CaCO3/L with a dark yellowish color of 748 ± 107 Pt-Co. It is very rich in total (3018 ± 364 mg/L) and dissolved solids (2726 ± 381) with a large amount of BOD5 (1875 ± 329 mg/L) and COD (4730 ± 790 mg/L). A higher concentration of chloride (23.82 ± 7.05 mg/L) and turbidity (223 ± 26 NTU) is also present in the released SMW. These effluents severely affected the plants, soil microbes, soil properties, and texture when used for irrigation purposes.
The values found in COD (4730 mg/L) and BOD5 (1875 mg/L) in the SMW are similar to the reported range by Hampannavar and Shivayogimath [3] of 1000–4340 and 350–2750 mg/L in COD and BOD5, respectively. In general, SMW shows important variations in organic load, as reported by Kushwaha [30] with broader ranges 110–12,211 mg/L in COD and 60–5103 mg/L in BOD5, this is because the volume and composition will depend on the final products, production process, and equipment used [31]. Regarding the presence of solids, the greatest amount of pollutants are found in dissolved form (2726 mg/L) and to a lesser extent in suspended form (292 mg/L). The SMW was found to exceed Mexican environmental safety regulations for almost all water quality metrics [26]. Therefore, it is necessary to treat the wastewater before disposal.
The relationship of BOD5/COD allows us to establish the biodegradability of wastewater, measured as BI. For the present study, the BI of 0.40 ± 0.09 reflect low biodegradable wastewater when compared to the BI of 0.6 reported by Fito et al. [4]. However, it is similar to the BI of 0.42 reported by Nacheva et al. [31]. Thus, although the BI was lower than that reported in other studies, it is sufficient to treat wastewater by biological processes. Even more so under the ARFB technology, which has proven to be efficient both in biodegradable wastewater and with low biodegradability [21].

3.2. Extraction, Characterization and Preparation of Aged Refuse

Tuxtla Gutiérrez is located in the Mexican southeast, and due to its geographical location, normally there are six months of rain (May to October) and six months of drought (November to April) per year. For this reason, the operations related to the preparation of the aged refuse were carried out during the months of January and February. In that period, around 1600 m3 of aged refuse were extracted from a surface area of 300 m2 at depths of 0.5–6 m, of which 312 m3 of aged refuse, useful for our purposes, were recovered. The composition of these materials is presented in Table 2, where it can be observed the predominant materials are the fine ones with values around 60%. The quantification of these fine materials is of the utmost importance because it defines the amount of aged refuse that will be useful as packaging material in the ARFB system. It can also be observed that both rigid and soft plastics (nylon) represent more than 10%. These values are consistent with those reported by Bautista-Ramírez et al. [14].
Regarding the particle size distribution (≤40 mm), Nájera-Aguilar et al. [19] reported that, in laboratory-scale studies, these represented about 85% of the materials in dry basis (Table 3). For the present study, in order to take advantage of a greater volume of the materials in dry basis and facilitate the separation tasks, a slightly larger particle size was considered. In this case, ≤50 mm, which allowed 91.04% of the materials in dry basis to be used for packaging the full-scale bioreactors. Thus, this study represents one of the first to test full-scale ARFB systems with particle sizes ≤ 50 mm, given that most of the previous studies rely on particle sizes ≤ 40 mm and focus on treatment of leachate from landfills [14,23,24].

3.3. Start-Up and Operation of the (ARFB1-ARFB2) Serial System

The scaling of the (ARFB1-ARFB2) system was carried out using data previously obtained in the laboratory-scale by Nájera-Aguilar et al. [19]. Due to the bioreactors completion date, they were initially fed with wastewater from the maintenance tasks, which previously went through the pre-treatment described above.
During the initial start-up stage (second week of May 2018), the objective was to achieve stabilization in the bioreactors, feeding with SMW at a HL low (50 L/m3·d). In this stabilization stage (1 to 8 weeks), the initial COD concentrations ranged from 460 to 2496 mg/L, with no removals being observed during the first 4 weeks. From week 5 to 8, removals were from 40 to 74% (Figure 3). The low COD removal efficiency in the first few weeks of operation due to the process of washing materials at the start-up of the (ARFB1-ARFB2) system, a process which increases the COD values in the outlet stream [14]. In general, the stabilization stage lasted about 2 months, slightly longer than the aerobic systems (2–4 weeks), but less than the anaerobic systems (3–4 months) [32].
For the following weeks, the system continued to operate under the following scheme: HL of 50 L/m3·d for week 9 to 14, 100 L/m3·d for week 15 to 20, and 150 L/m3·d for week 21–28. Figure 4 shows the results obtained for each HL evaluated, observing wide variations in the influent from 583 to 5048 mg/L. Average removals achieved were 94.2, 93.3, and 79.2% for the HL of 50, 100, and 150 L/m3·d, respectively. According to the statistical analysis, the HL (50, 100, and 150 L/m3·d) there was a statistically significant effect (p < 0.05) on the COD removal (%). In addition, the Tukey test showed the best HL for COD removal were levels 50 and 100 L/m3·d. However, the quality of the final effluents in all HL evaluated didn’t have statistical significance effects (p > 0.05) with average COD values of 260.8 mg/L for 50 L/m3·d, 218.2 mg/L for 100 L/m3·d, and 204 mg/L for 150 L/m3·d.
Week 29 to week 57 was the Zafra season (November 2018 to May 2019), wherein the ARFB1-ARFB2 system was operated under the HL of 150 L/m3·d. Results of this stage are shown in Figure 5, where it can be seen that the COD concentrations in the influent ranged between 1240 and 3985 mg/L. However, the average COD removal efficiency for the Zafra season was 94.9%, with an average final effluent (E2) of 119.4 mg/L.
The average COD removal efficiency achieved with the full-scale ARFB1-ARFB2 system is higher or comparable to those reported by laboratory-scale studies with biological processes and the same kind of wastewater. For example, Hampannavar and Shivayogimath [3] reported an average COD removal of 89%, and Pradeep et al. [9] achieved a reduction of 79%. Additionally, for coupled systems, the removal efficiencies have been below 95%, according to Fito et al. [33]. Thus, although COD removals have been significant, none of them reached levels compliant with local regulations, so a rectification stage has been necessary. Recently, Nájera-Aguilar et al. [19] reported the application of ARFB technology for this kind of wastewater, with average COD removals of 96.2% for an HL of 150 L/m3·d, which is higher than the 80% achieved in the first bioreactor (ARFB1) of the present study. However, they studied at the laboratory-scale with a smaller particle size than that tested in the present study. According to He et al. [24], larger particle sizes tend to present higher levels of inert materials, and as a consequence, a lower concentration of microbial consortia. This can translate into lower pollutant removal efficiencies and could explain the lower removal rates. However, for the present study, the rectification bioreactor (ARFB2) significantly improved the quality of the final effluent, achieving COD removal of 94.9%. This high COD removal efficiency obtained by this system compared to other biological systems is attributed to the origin of the microbial consortium, which is made up of a heterogeneous group of microorganisms capable of initiating both oxidation and reduction reactions with complex and recalcitrant compounds, which allows it to achieve a higher COD removal efficiency, even in wastewater with BI less than 0.2, as reported by other authors [19,34,35].

3.4. Physicochemical Quality of Final Effluent (E2)

The physicochemical parameters provided by Mexican regulations [27], such as BOD5, TSS, FOG, and macronutrients, among others, were measured in the final effluent during the Zafra season (Table 4). We found concentrations below the maximum permissible limits according to Mexican regulations [27], World Bank Guideline [36], and World Health Organization [37]. Thus, results of the present study show the ARFB1-ARFB2 full-scale novel technology is efficient in removing the main contaminants affecting wastewater from sugar mills.
In addition, although concentrations of heavy metals in SMW generally do not exceed limits established by Mexican regulations [27] (according to findings reported by several authors [4,38]), to rule out a possible carryover of heavy metals in the effluent, we determined its concentration in the final effluent (Table 5). According to the results, it is observed that none of them exceed the maximum permissible limits established by Mexican regulations [27].
In addition to efficiently removing organic load and complying with Mexican regulation [27], the ARFB1-ARFB2 full-scale system offers additional advantages such as simplicity in operation, no bad odors, and a low volume of sludge. For example, in the case of sludge, 40 Kg (82.5% humidity) was withdrawn from each pump station, or 0.017 kg of sludge/m3 of treated wastewater. This is low considering the flow of wastewater treated during the Zafra season in the ARFB1-ARFB2 system (around 23.4 m3/d). Other biological systems, such as activated sludge, extended aeration, oxidation ditch, biological filter, and sequencing batch reactor, produce between 0.43 and 0.90 kg sludge/m3 of treated wastewater [39,40].

4. Conclusions

The full-scale ARFB1-ARFB2 system was found to be an efficient process for the treatment of sugar mill wastewater. The system reduced COD by 94.9% in HL of 150 L/m3·d. Further, all the physicochemical parameters measured in the final effluent (e.g., COD, BOD5, TSS, TN, and TP) were found at levels below the maximum permissible limits of Mexican and international regulations.
Other advantages of the full-scale ARFB1-ARFB2 system were its rapid stabilization (around 2 months), non-generation of offensive odors, and low production of sludge (0.017 kg of sludge/m3 of treated wastewater). Taken as a whole, the ARFB1-ARFB2 system proves to be an efficient option for solving the contamination problem afflicting sugar mill wastewater.

Author Contributions

Conceptualization, R.F.G.-H. and H.A.N.-A.; methodology, J.A.A.-A., H.A.N.-A., R.I.M.-S., and C.M.G.-L.; supervision, H.A.N.-A., A.C.-S. and R.F.G.-H.; writing—original draft preparation H.A.N.-A., A.C.-S.; writing—review and editing, R.F.G.-H., H.A.N.-A., A.C.-S., R.I.M.-S., J.A.A.-A.; C.M.G.-L., and U.G.-V. All authors have read and agreed to the published version of the manuscript.

Funding

This research received no external funding.

Institutional Review Board Statement

Not applicable.

Informed Consent Statement

Not applicable.

Data Availability Statement

Not applicable.

Acknowledgments

We give thank for the access granted to the laboratories of the Ingeniería Ambiental of the Universidad de Ciencias y Artes de Chiapas, and the laboratories of Tecnológico Nacional de México/Instituto Tecnológico de Tapachula. Additionally, to the laboratory of the Facultad de Ciencias Químicas of the Universidad Autónoma de Chiapas, and Consejo Nacional de Ciencia y Tecnología (CONACYT).

Conflicts of Interest

The authors declare no conflict of interest.

References

  1. Bustos, G.; Carrizales, M.A.; Cervantes, E.; Vecino, X.; Moldes, A.B. Treatment of wastewater from sugarcane using entrapped activated carbón. CyTA J. Food 2014, 12, 189–194. [Google Scholar] [CrossRef][Green Version]
  2. Statistical Report of the Sugarcane Agribusiness Sector in Mexico, Zafra 2018–2019, 6th ed.; Ministry of Agriculture and Rural Development–CONADESUCA: Mexico City, Mexico, 2019. (In Spanish)
  3. Hampannavar, U.S.; Shivayogimath, C.B. Anaerobic treatment of sugar industry wastewater by upflow anaerobic sludge blanket reactor at ambient temperature. Int. J. Environ. Sci. 2010, 1, 631–639. [Google Scholar]
  4. Fito, J.; Tefera, N.; Kloos, H.; Van Hulle, S.W. Physicochemical Properties of the Sugar Industry and Ethanol Distillery Wastewater and Their Impact on the Environment. Sugar Tech. 2018, 21, 265–277. [Google Scholar] [CrossRef]
  5. Cruz-Salomón, A.; Ríos-Valdovinos, E.; Pola-Albores, F.; Lagunas-Rivera, S.; Meza-Gordillo, R.; Ruíz-Valdiviezo, V.M.; Cruz-Salomón, K.C. Expanded granular sludge bed bioreactor in wastewater treatment. Glob. J. Environ. Sci. Manag. 2019, 5, 119–138. [Google Scholar]
  6. Atashi, H.; Ajamein, H.; Ghasemian, S. Effect of operational and design parameters on removal efficiency of a pilot-scale UASB reactor in a sugar factory. World Appl. Sci. J. 2010, 11, 451–456. [Google Scholar]
  7. Sahu, O.P.; Chaudhari, P.K. The characteristics, effects, and treatment of wastewater in sugarcane industry. Water Qual. Exp. Health 2015, 7, 435–444. [Google Scholar] [CrossRef]
  8. Singh, P.K.; Tripathi, M.; Singh, R.P.; Singh, P. Treatment and Recycling of Wastewater from Sugar Mill. In Advances in Biological Treatment of Industrial Waste Water and their Recycling for a Sustainable Future; Singh, R., Singh, R., Eds.; Springer: Singapore, 2019; pp. 199–223. [Google Scholar] [CrossRef]
  9. Pradeep, N.V.; Anupama, S.; Arun Kumar, J.M.; Vidyashree, K.G.; Lakshmi, P.; Ankitha, K.; Pooja, J. Treatment of Sugar Industry Wastewater in Anaerobic Downflow Stationary Fixed Film (DSFF) Reactor. Sugar Tech. 2014, 16, 9–14. [Google Scholar] [CrossRef]
  10. Cruz-Salomón, A.; Ríos-Valdovinos, E.; Pola-Albores, F.; Meza-Gordillo, R.; Lagunas-Rivera, S.; Ruíz-Valdiviezo, V.M. Anaerobic treatment of agro-industrial wastewater for COD removal in expanded granular sludge bed bioreactor. Biofuel Res. J. 2017, 16, 715–720. [Google Scholar] [CrossRef]
  11. Hamoda, M.F.; Al-Sharekh, H.A. Sugar wastewater treatment with aerated fixed-film biological systems. Water Sci. Technol. 1999, 40, 313–321. [Google Scholar] [CrossRef]
  12. Sahu, O.; Rao, D.G.; Thangavel, A.; Ponnappan, S. Treatment of sugar industry wastewater using a combination of thermal and electrocoagulation processes. Int. J. Sustain. Eng. 2018, 11, 16–25. [Google Scholar] [CrossRef]
  13. Gondudey, S.; Chaudhari, P.K. Treatment of sugar industry effluent through SBR followed by electrocoagulation. Sugar Tech 2020, 22, 303–310. [Google Scholar] [CrossRef]
  14. Bautista-Ramírez, J.; Gutiérrez-Hernández, R.; Nájera-Aguilar, H.; Martínez-Salinas, R.; Vera-Toledo, P.; Araiza-Aguilar, J.; Méndez-Novelo, R.; Rojas-Valencia, M. Biorreactor Empacado con Materiales Estabilizados (BEME), como pretratamiento para lixiviados de rellenos sanitarios. Rev. Mex. Ing. Quím. 2018, 17, 561–571. [Google Scholar] [CrossRef]
  15. Youcai, Z.; Hua, L.; Jun, W.; Guowei, G. Treatment of leachate by aged-refuse-based biofilter. J. Environ. Eng. 2002, 128, 662–668. [Google Scholar] [CrossRef][Green Version]
  16. Hassan, M.; Xie, B. Use of aged refuse-based bioreactor/biofilter for landfill leachate treatment. Appl. Microbiol. Biotechnol. 2014, 98, 6543–6553. [Google Scholar] [CrossRef]
  17. Erabee, I.K.; Ethaib, S. Treatment of contaminated Landfill Leachate using Aged Refuse Biofilter Medium. Orient. J. Chem. 2018, 34, 1441. [Google Scholar] [CrossRef]
  18. Zhang, H.H.; Tian, J.S.; Zhang, Y.M.; Wu, Z.L.; Kong, X.J.; Chao, J.; Hu, Y.; Li, D.L. Removal of phosphorus and nitrogen from domestic wastewater using a mineralized refuse-based bioreactor. Environ. Technol. 2012, 33, 173–181. [Google Scholar] [CrossRef] [PubMed]
  19. Nájera-Aguilar, H.A.; Mayorga-Santis, R.; Gutiérrez-Hernández, R.F.; Araiza-Aguilar, J.A.; Martínez-Salinas, R.I.; García-Lara, C.M.; Rojas-Valencia, M.N. Aged Refuse Filled Bioreactor Using Like a Biological Treatment for Sugar Mill Wastewater. Sugar Tech 2021, 23, 201–208. [Google Scholar] [CrossRef]
  20. Xie, B.; Xiong, S.; Liang, S.; Hu, C.; Zhang, X.; Lu, J. Performance and bacterial compositions of aged refuse reactors treating mature landfill leachate. Bioresour. Technol. 2012, 103, 71–77. [Google Scholar] [CrossRef]
  21. Nájera-Aguilar, H.A.; Gutiérrez-Hernández, R.F.; Bautista-Ramírez, J.; Martínez-Salinas, R.I.; Escobar-Castillejos, D.; Borraz-Garzón, R.; Rojas-Valencia, M.N.; Giácoman-Vallejos, G. Treatment of Low Biodegradability Leachates in a Serial System of Aged Refuse-Filled Bioreactors. Sustainability 2019, 11, 3193. [Google Scholar] [CrossRef]
  22. Artsupho, L.; Jutakridsada, P.; Laungphairojana, A.; Rodriguez, J.F.; Kamwilaisak, K. Effect of temperature on increasing biogas production from sugar industrial wastewater treatment by UASB process in pilot scale. Energy Procedia 2016, 100, 30–33. [Google Scholar] [CrossRef]
  23. Hongjiang, L.I.; Youcai, Z.; Lei, S.H.I.; Yingying, G.U. Three-stage aged refuse biofilter for the treatment of landfill leachate. J. Environ. Sci. 2009, 21, 70–75. [Google Scholar] [CrossRef]
  24. He, Y.; Zhao, Y.; Zhou, G.; Huang, M. Field assessment of stratified aged-refuse-based reactor for landfill leachate treatment. Waste Manag. Res. 2011, 29, 1294–1302. [Google Scholar] [CrossRef] [PubMed]
  25. APHA. Standard Methods for the Examination of Water and Wastewater, 22nd ed.; American Public Health Association/American Water Works Association/Water Environment Federation: Washington, DC, USA, 2012. [Google Scholar]
  26. Cruz-Salomón, A.; Ríos-Valdovinos, E.; Pola-Albores, F.; Lagunas-Rivera, S.; Cruz-Rodríguez, R.I.; Cruz-Salomón, K.d.C.; Hernández-Méndez, J.M.E.; Domínguez-Espinosa, M.E. Treatment of Cheese Whey Wastewater Using an Expanded Granular Sludge Bed (EGSB) Bioreactor with Biomethane Production. Processes 2020, 8, 931. [Google Scholar] [CrossRef]
  27. Mexican regulations NOM-001-SEMARNAT-1996, that establishes the maximum allowable pollutant in wastewater discharges in national waters. In Official Journal of the Federation; SEMARNAT: Mexico City, Mexico, 2003. (In Spanish)
  28. Municipal Statistical Notebook. National Institute of Statistics, Geography and Informatics; INEGI: Mexico City, Mexico, 2000. (In Spanish) [Google Scholar]
  29. Cruz-Salomón, A.; Ríos-Valdovinos, E.; Pola-Albores, F.; Lagunas-Rivera, S.; Meza-Gordillo, R.; Ruíz-Valdiviezo, V.M. Evaluation of Hydraulic Retention Time on Treatment of Coffee Processing Wastewater (CPWW) in EGSB Bioreactor. Sustainability 2018, 10, 83. [Google Scholar] [CrossRef]
  30. Kushwaha, J.P. A review on sugar industry wastewater: Sources, treatment technologies, and reuse. Desalination Water Treat. 2013, 53, 309–318. [Google Scholar] [CrossRef]
  31. Nacheva, P.M.; Chavez, G.M.; Chacon, J.M.; Chuil, A.C. Treatment of cane sugar mill wastewater in an upflow anaerobic sludge bed reactor. Water Sci. Technol. 2009, 60, 1347–1352. [Google Scholar] [CrossRef] [PubMed]
  32. Melidis, P.; Vaiopoulou, E.; Athanasoulia, E.; Aivasidis, A. Anaerobic treatment of domestic wastewater using an anaerobic fixed-bed loop reactor. Desalination 2009, 248, 716–722. [Google Scholar] [CrossRef]
  33. Fito, J.; Tefera, N.; Kloos, H.; Van Hulle, S.W. An Integrated Treatment Technology for Blended Wastewater of the Sugar Industry and Ethanol Distillery. Environ. Process. 2019, 6, 475. [Google Scholar] [CrossRef]
  34. Xie, B.; Lv, Z.; Lv, B.Y.; Gu, Y.X. Treatment of mature landfill leachate by biofilters and Fenton oxidation. Waste Manag. 2010, 30, 2108–2112. [Google Scholar] [CrossRef]
  35. Ding, W.C.; Zeng, X.L.; Hu, X.B.; Deng, Y.; Hossain, M.N.; Chen, L. Characterization of Dissolved Organic Matter in Mature Leachate during Ammonia Stripping and Two-Stage Aged-Refuse Bioreactor Treatment. J. Environ. Eng. 2018, 144, 04017082. [Google Scholar] [CrossRef]
  36. World Bank. Pollution Prevention and Abatement Handbook, Sugar Manufacturing; The World Bank: Washington, DC, USA, 1999. [Google Scholar]
  37. World Health Organization (WHO). Guideline for Discharge of Industrial Effluent Characteristics; WHO: Geneva, Switzerland, 1995; Volume 3, pp. 231–236. [Google Scholar]
  38. Samuel, S.; Muthukkaruppan, S.M. Physico-chemical analysis of sugar mill effluent, contaminated soil and its effect on seed germination of paddy (Oryza sativa L.). Int. J. Pharm. Biol. Arch. 2011, 2, 1469–1472. [Google Scholar]
  39. Vera, I.; Sáez, K.; Vidal, G. Performance of 14 full-scale sewage treatment plants: Comparison between four aerobic technologies regarding effluent quality, sludge production and energy consumption. Environ. Technol. 2013, 34, 2267–2275. [Google Scholar] [CrossRef]
  40. Lu, X.; He, Y.; Zhang, L.; Huang, M.; Zhu, Y.; Wang, G.; Zou, W.; Wang, P. Nationwide assessment of sludge production of wastewater treatment plants in China. Environ. Eng. Sci. 2019, 36, 249–256. [Google Scholar] [CrossRef]
Figure 1. Extraction and preparation of aged refuse from sanitary landfill (Tuxtla Gutiérrez, Chiapas, Mexico).
Figure 1. Extraction and preparation of aged refuse from sanitary landfill (Tuxtla Gutiérrez, Chiapas, Mexico).
Processes 09 00516 g001
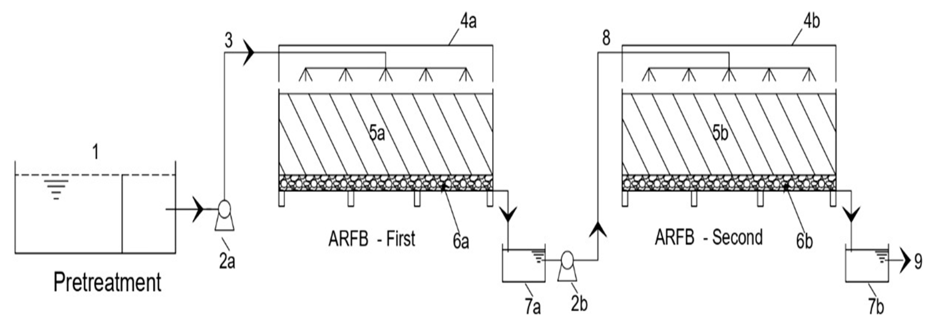
Figure 2. Schematic diagram of the full-scale ARFB1-ARFB2 (aged refuse filled bioreactors) system. Where: (1) Pretreatment; (2a and 2b) feed pumps; (3) influent (sugar mill wastewater (SMW)); (4a and 4b) roof; (5a and 5b) packaging material (aged refuse ≤ 50 mm); (6a and 6b) support material; (7a) sedimentation tank 1 (E1); (7b) sedimentation tank 2 (E2); (8) feed flow—E1; (9) outlet (final effluent—E2).
Figure 2. Schematic diagram of the full-scale ARFB1-ARFB2 (aged refuse filled bioreactors) system. Where: (1) Pretreatment; (2a and 2b) feed pumps; (3) influent (sugar mill wastewater (SMW)); (4a and 4b) roof; (5a and 5b) packaging material (aged refuse ≤ 50 mm); (6a and 6b) support material; (7a) sedimentation tank 1 (E1); (7b) sedimentation tank 2 (E2); (8) feed flow—E1; (9) outlet (final effluent—E2).
Processes 09 00516 g002
Figure 3. Stabilization stage of the ARFB1-ARFB2 system. (●) Influent, (∆) final effluent (E2), and (x) COD removed (%).
Figure 3. Stabilization stage of the ARFB1-ARFB2 system. (●) Influent, (∆) final effluent (E2), and (x) COD removed (%).
Processes 09 00516 g003
Figure 4. Evolution of the performance ARFB1-ARFB2 system during maintenance period of the sugar mill at different HL; (a) 50, (b) 100, and (c) 150 L/m3·d. (●) Influent, (o) effluent 1 (E1), (∆) final effluent (E2), and (x) COD removed (%).
Figure 4. Evolution of the performance ARFB1-ARFB2 system during maintenance period of the sugar mill at different HL; (a) 50, (b) 100, and (c) 150 L/m3·d. (●) Influent, (o) effluent 1 (E1), (∆) final effluent (E2), and (x) COD removed (%).
Processes 09 00516 g004
Figure 5. Evolution of the performance ARFB1-ARFB2 system during the Zafra season. (●) Influent, (o) effluent 1 (E1), (∆) final effluent (E2), and (x) COD removed (%).
Figure 5. Evolution of the performance ARFB1-ARFB2 system during the Zafra season. (●) Influent, (o) effluent 1 (E1), (∆) final effluent (E2), and (x) COD removed (%).
Processes 09 00516 g005
Table 1. Physicochemical characterization of SMW.
Table 1. Physicochemical characterization of SMW.
ParametersValues *
pH5.51 ± 0.47
Temperature (°C)28.3 ± 0.70
Turbidity (UTN)223 ± 26
Color (Pt-Co)748 ± 107
Chlorides (mg/L)23.82 ± 7.05
Acidity (mg CaCO3/L)702 ± 38
Total solids (TS) (mg/L)3018 ± 364
Total suspended soils (TSS) (mg/L)292 ± 75
Total dissolved solids (TDS) (mg/L)2726 ± 381
Settleable solids (mL/L)<1
Chemical oxygen demand (COD) (mg/L)4730 ± 790
BOD5 (mg/L)1875 ± 329
Total nitrogen (TN) (mg/L)40.9 ± 5.2
Biodegradability index (BI)0.40 ± 0.09
* Each value represents the mean of three replicates ± standard deviation.
Table 2. Composition of aged refuse on the wet and dry basis.
Table 2. Composition of aged refuse on the wet and dry basis.
Aged RefuseComposition of Aged Refuse (%)
Rigid PlasticsSoft Plastics (Nylon)OthersFine MaterialsTotal
WB11.313.112.563.1100
DB10.110.623.655.7100
WB: Wet Basis, DB: Dry Basis.
Table 3. Particle size distribution in aged refuse.
Table 3. Particle size distribution in aged refuse.
Particle Size Distribution (%)
>50 mm15–50 mm>40 mm15–40 mm<15 mmTotalReference
------15.0524.1460.82100[19]
8.9632.13------58.91100This study
Table 4. Physicochemical quality of the final effluent (E2) and its comparison with discharge regulations.
Table 4. Physicochemical quality of the final effluent (E2) and its comparison with discharge regulations.
ParameterFinal Effluent (E2) ValuesMexican Regulations [27]World Bank Guideline [36]World Health Organization
[37]
pH7.65–106–96.5–8.5
Temperature (°C)2740--
Floating matterAbsentAbsent--
BOD5 (mg/L)19.206050100
TSS (mg/L)516050125
COD (mg/L)119.4-250300
FOG (mg/L)<6.092510-
Settleable solids (mL/L)<0.12--
TN (mg/L)13.18251030
TP (mg/L)1.35102-
Cyanides (mg/L)<0.22----
Fecal coliforms (MPN/100 mL)701000400-
Table 5. Heavy metals concentration in final effluent (E2) and its comparison with the Mexican regulations.
Table 5. Heavy metals concentration in final effluent (E2) and its comparison with the Mexican regulations.
ParameterFinal Effluent (E2) ValuesMexican Regulations [27]
Arsenic (mg/L)<0.0020.1–0.2
Cadmium (mg/L)<0.050.1–0.2
Copper (mg/L)<0.104.0–6.0
Total chromium (mg/L)<0.300.5–1.0
Mercury (mg/L)<0.0050.005–0.01
Nickel (mg/L)<1.002.0–4.0
Zinc (mg/L)0.587110–20
Lead (mg/L)<0.150.2–0.4
Publisher’s Note: MDPI stays neutral with regard to jurisdictional claims in published maps and institutional affiliations.

Share and Cite

MDPI and ACS Style

Gutiérrez-Hernández, R.F.; Nájera-Aguilar, H.A.; Araiza-Aguilar, J.A.; Martínez-Salinas, R.I.; García-Lara, C.M.; González-Vázquez, U.; Cruz-Salomón, A. Novel Treatment of Sugar Mill Wastewater in a Coupled System of Aged Refuse Filled Bioreactors (ARFB): Full-Scale. Processes 2021, 9, 516. https://doi.org/10.3390/pr9030516

AMA Style

Gutiérrez-Hernández RF, Nájera-Aguilar HA, Araiza-Aguilar JA, Martínez-Salinas RI, García-Lara CM, González-Vázquez U, Cruz-Salomón A. Novel Treatment of Sugar Mill Wastewater in a Coupled System of Aged Refuse Filled Bioreactors (ARFB): Full-Scale. Processes. 2021; 9(3):516. https://doi.org/10.3390/pr9030516

Chicago/Turabian Style

Gutiérrez-Hernández, Rubén Fernando, Hugo Alejandro Nájera-Aguilar, Juan Antonio Araiza-Aguilar, Rebeca Isabel Martínez-Salinas, Carlos Manuel García-Lara, Ulises González-Vázquez, and Abumalé Cruz-Salomón. 2021. "Novel Treatment of Sugar Mill Wastewater in a Coupled System of Aged Refuse Filled Bioreactors (ARFB): Full-Scale" Processes 9, no. 3: 516. https://doi.org/10.3390/pr9030516

APA Style

Gutiérrez-Hernández, R. F., Nájera-Aguilar, H. A., Araiza-Aguilar, J. A., Martínez-Salinas, R. I., García-Lara, C. M., González-Vázquez, U., & Cruz-Salomón, A. (2021). Novel Treatment of Sugar Mill Wastewater in a Coupled System of Aged Refuse Filled Bioreactors (ARFB): Full-Scale. Processes, 9(3), 516. https://doi.org/10.3390/pr9030516

Note that from the first issue of 2016, this journal uses article numbers instead of page numbers. See further details here.

Article Metrics

Back to TopTop