Abstract
The demand for noble metals is increasing, owing to their excellent chemical and physical properties. In order to meet the demand, the recovery of noble metals with high purity from diverse secondary resources, which contain small amounts of noble metals, is of immense value. In this work, the possibility of the separation of Au(III), Pd(II), Pt(IV), Rh(III), and Ir(IV) by solvent extraction from a synthetic HCl solution is investigated. Only Au(III) was selectively extracted by Cyanex 272 in the HCl concentration range from 0.5 M to 9 M, leaving the other metal ions in the raffinate. The loaded Au(III) in Cyanex 272 was efficiently stripped by (NH2)2CS. The other four noble metals were sequentially separated on the basis of the procedures reported in the previous work. The mass balance showed that about 98% of each metal, except Pt(IV), was recovered by the proposed process. An efficient process for the recovery of the five noble metal ions from the HCl leaching solution of secondary resources containing these metals can be developed.
1. Introduction
Noble metals are indispensable for the manufacture of advanced materials, which are employed in the automobile, chemical, electronic, and medical industries, owing to their excellent chemical and physical properties [1,2]. Considering the demand for these metals and environmental protection, the secondary resources resulting from the above-mentioned industries have attracted much attention [3,4,5].
Many processes have been proposed for the recovery of noble metals from secondary resources [1]. Since the contents of noble metals in the secondary resources are very low, smelting of these secondary resources together with other metal ores is effective in recovering noble metals. For example, diverse secondary resources containing noble metals can be treated by a smelting operation in a copper smelter when the secondary resources do not contain components harmful to the operation of copper smelting. Anode slimes are produced from the electro-refining of the impure anodes, which contain most of the noble metals present in the ores, as well as the secondary resources. Therefore, it is important to develop an efficient process to recover noble metals with high purity from the anode slimes.
Anode slimes are generally treated by systems such as cyanide [6], halide [7], and biotechnologies [8]. The noble metal ions in the leaching solution are separated by precipitation [9], activated carbon adsorption [10,11], ion exchange [12,13], and solvent extraction [14,15,16,17]. Among these methods, solvent extraction has been employed in commercial plants for a long time. In the case of solvent extraction, some kinds of ionic liquids have been investigated for noble metal separation in the laboratory scale [15,18,19,20]. Considering the cost of ionic liquids and the possibility of their application in the industrial scale, solvent extraction with commercial extractants has more advantages, in terms of commercial scale applications. Among the noble metals, the solubility of silver metal in a HCl solution is very low and other leaching solutions like HNO3 and H2SO4 are firstly employed to dissolve silver metal [21,22]. In general, ruthenium(Ru) and osmium(Os) are separated from other platinum group metals (PGMs) by oxidative distillation [23,24].
Plenty of work has been reported on the separation of two or three noble metal ions by solvent extraction from a hydrochloric acid solution [25,26,27,28,29]. After the recovery of ruthenium and osmium by oxidative distillation, six noble metals remain in the anode slimes. When silver is separated as silver chloride, by leaching with an HCl solution in the presence of some oxidizing agents, the remaining five noble metal ions (Au(III), Pt(IV), Pd(II), Ir(IV), and Rh(III)) are present in the leaching solution. Although several solvent extraction processes have been reported to separate these five noble metal ions [5,14,18,30], they have some disadvantages, such as incomplete separation among the metal ions in each solvent extraction step and the low extraction percentage of Au(III) and Pd(II) from concentrated acid solutions.
We have reported solvent extraction processes to separate Pt(IV)-Pd(II)-Ir(IV)-Rh(III) and Au(III)-Pt(IV)-Pd(III) from hydrochloric acid solutions [26,27,28,29]. According to these works, Pd(II) can be selectively extracted over Pt(IV), by LIX 63, from a concentrated hydrochloric acid solution. Extraction of Au(III)-Pd(II)-Pt(IV), with Cyanex 272, from a concentrated hydrochloric acid solution results in the selective extraction of Au(III). Moreover, Au(III) has been successfully separated from Ag(I) and other base metal ions, by Cyanex 272, from the leaching solution of anode slimes [31]. Therefore, it is reasonable that a combination of the above two solvent extraction systems (Cyanex 272 and LIX 63) would lead to selective extraction of Au(III) and Pd(II) from the other noble metal ions. In order to verify this proposed process, the data on the mass balance and the purity of the obtained solution are necessary. For this purpose, solvent extraction experiments were done in a synthetic HCl solution containing Au(III), Pd(II), Pt(IV), Ir(IV) and Rh(III). In this work, gold was successfully separated over the other four metals by solvent extraction, with Cyanex 272, from the hydrochloric acid concentration, from 0.5 M to 9 M. Separation of the other four metals, by LIX 63, TBP, and Aliquat 336, was tried on the basis of the obtained conditions reported in the previous work [28]. Compared with the previous processes for separating the five metals, the process reported in this work does not need a scrubbing stage. The mass balance, purity, and recovery of each metal from the synthetic solution were obtained from the process proposed in this work.
2. Experimental
2.1. Chemicals and Reagents
The synthetic solution was prepared by dissolving certain amounts of HAuCl4 (30 wt.% in dilute HCl, Sigma-Aldrich, St. Louis, MO, USA), H2IrCl6 (99.5%, Alfa-Aesar, Ward Hill, MA, USA), RhCl3 (99.9%, Alfa-Aesar, Ward Hill, MA, USA), PtCl4 (99.9%, Alfa-Aesar, Ward Hill, MA, USA), and PdCl2 (99.9%, Alfa-Aesar, Ward Hill, MA, USA) in a HCl solution with the required concentration. Extractants employed in this work were 2-ethylhexyl phosphonic acid mono-2-ethylhexyl ester (Cyanex 272, 85%, Solvay Cytec Industries, Woodland Park, NJ, USA), 5,8-diethyl-7-hydroxydodecan-6-one oxime (LIX 63, 70%, BASF Co., Ludwigshafen, Germany), tributyl phosphate (TBP, 98%, Yakuri Pure Chemical Co., Ltd., Kyoto, Japan), and tricaprylmethylammonium chloride (Aliquat 336, 100%, BASF Co., Ludwigshafen, Germany). All the chemicals were of analytical grade. Commercial grade kerosene (Dea Jung Chemical Co., Siheung, Korea) was used as a diluent. In the whole experiment, the concentration of the metals in the synthetic solution was fixed at 100 mg/L.
2.2. Experimental Process
Solvent extraction experiments were performed in a 50 mL screw-cap bottle. Equal volume of organic and aqueous phase (10 mL) was shaken for 30 min by employing a wrist action shaker. After shaking, the two phases were separated in a separate funnel. All the experiments were done at room temperature. The concentration of the metals in aqueous phase was measured by ICP-OES (Inductively coupled plasma-optical emission spectrometer, Spectro Arcos) and the metal concentration in the organic phase was calculated by mass balance. The extraction and stripping percentage of a metal was calculated by the following Equations (1) and (2). The error in the extraction and stripping percentage reported in this work was within ±5%.
3. Results and Discussion
3.1. Effect of HCl Concentration on the Extraction Au(III) by Cyanex 272
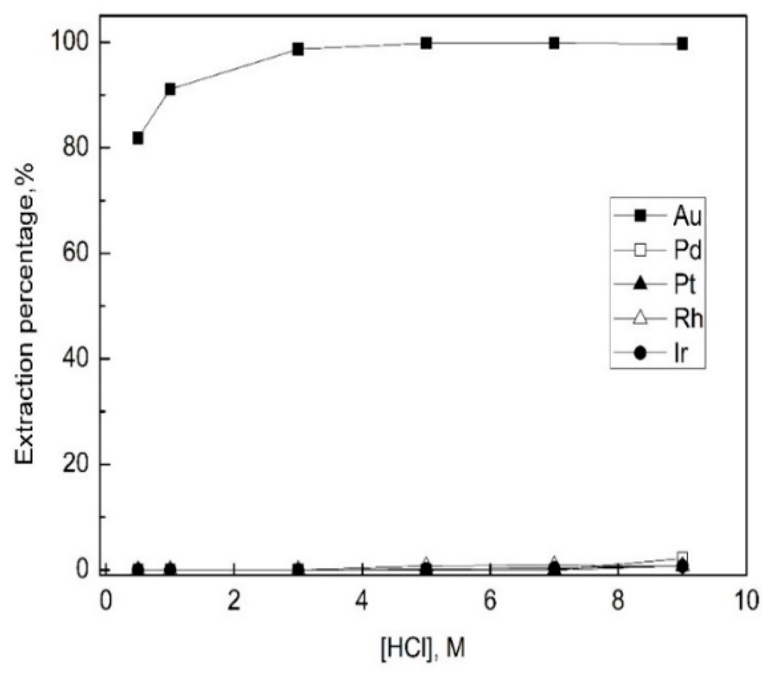
In general, the acidity of a solution has a great effect on the extraction behavior of the metal ions. Therefore, it is necessary to investigate the effect of HCl concentration on the selective extraction of Au(III), by Cyanex 272, in the presence of other noble metal ions. For this purpose, HCl concentration of the synthetic solutions containing Au(III), Pd(II), Pt(IV), Rh(III), and Ir(IV) varied from 0.5 M to 9 M. During the experiments, the concentration of Cyanex 272 was fixed at 0.2 M. The results in Figure 1 show that the extraction of Au(III) increased slowly, from 80% to 99.9%, as the HCl concentration increased and remained constant from 5 M to 9 M of HCl concentration. All the other metals, except Au(III), remained in the aqueous solution at all conditions employed in this work. Our results indicate that it is possible to extract only Au(III) over Pd(II), Pt(IV), Ir(IV), and Rh(III) in the HCl concentration range from 0.5 M to 9 M. Since no other metal ions except Au(III) were extracted, scrubbing is not necessary, which would be of immense value in commercial applications.
Figure 1.
Effect of HCl concentration on the extraction of metals in a HCl solution containing Au(III), Pd(II), Pt(IV), Rh(III), and Ir(IV). ([HCl] = 0.5–9 M, [Cyanex 272] = 0.2 M, O/A = 1, [Au(III)] = [Pd(II)] = [Pt(IV)] = [Rh(III)] = [Ir(IV)] = 100 mg/L).
3.2. Effect of Cyanex 272 Concentration on the Extraction of Au(III)
Figure 1 shows that Au(III) was completely extracted by 0.2 M Cyanex 272 when HCl concentration was higher than 3 M. The effect of Cyanex 272 concentration on Au(III) extraction was investigated in a 5 M HCl solution (see Figure 2). In the course of extraction experiments, Cyanex 272 concentration varied from 0.01 to 0.25 M. When Cyanex 272 concentration increased from 0.01 to 0.05 M, the extraction of Au(III) rapidly increased from 42% to 93% and then slowly rose to 99.9% and remained at a constant value with the further increase of Cyanex 272 concentration. In these experiments, only Au(III) was extracted and, thus, it was possible to separate Au(III) from the 4 PGMs present in the solution. Therefore, 0.2 M Cyanex 272 was selected as the optimum concentration for the separation of 100 mg/L Au(III) from other metal ions.
Figure 2.
Effect of Cyanex 272 concentration on the extraction of metals containing Au(III), Pd(II), Pt(IV), Rh(III), and Ir(IV). ([HCl] = 5 M, [Au(III)] = [Pd(II)] = [Pt(IV)] = [Rh(III)] = [Ir(IV)] = 100 mg/L).
The composition of the anode slimes resulting from smelting depends on the nature of the ores and the secondary resources. Our data clearly indicates that only Au(III) is to be extracted by Cyanex 272 when the concentration of HCl in the leaching solution containing Pt(IV), Pd(II), Ir(IV), and Rh(III) is higher than 0.5 M. Therefore, pure Au(III) can be obtained by selective extraction, resulting in a much-improved efficiency, compared to the reported solvent extraction processes.
In our previous work [29,31], Au(III) concentration was varied from 100 to 1000 mg/L in the presence of Pd(II) and Pt(IV). Even though the concentration ratio of Au(III) to Pd(II) was varied from unity to 10, only Au(III) was extracted over Pt(IV) and Pd(II), by Cyanex 272. Moreover, the presence of some base metals has little effect on the extraction of Au(III), by Cyanex 272, from the leaching solution. Although 0.2 M Cyanex 272 was selected as an optimum concentration for the selective extraction of 100 mg/L Au(III), the concentration of Cyanex 272 can be adjusted according to the concentration of Au(III) in the leaching solution because only Au(III) is extracted by Cyanex 272.
In a concentrated HCl solution (>4 M), the predominant species of Au(III), Pd(II), Pt(IV) and Ir(IV) are supposed to be AuCl42−, PdCl42−, PtCl62−, and IrCl62−, respectively [32,33,34]. The distribution of Rh(III) is complicated and depends on the concentration of chloride ions. In a concentrated HCl solution, Rh(III) exists as either RhCl63− or RhCl5(H2O)2− [35]. Figure 1 and Figure 2 imply that the difference on the charge densities of the above complexes could not explain the selective extraction of Au(III) by Cyanex 272 over the 4 PGMs. More fundamental work is needed for the identification of the extraction mechanism. The probable reaction has been proposed in a previous work as Equation (3) [29], as follows:
H+ + AuCl4− + 2HAorg = [HAuCl4·2HA]org.
3.3. Stripping of Au(III) from Loaded Cyanex 272
NH4Cl, (NH4)2S2O3 and (NH2)2CS are found to be effective in the stripping of Au(III) from the loaded Cyanex 272 [29,34]. On the basis of the stability and the cost of these reagents [36], stripping of Au(III) with NH4Cl and (NH2)2CS was tried. For this purpose, the loaded 0.2 M Cyanex 272 was prepared by contacting the synthetic solution with 5 M HCl. More than 99.9% of Au(III) was extracted and, thus, the concentration of Au(III) in the loaded Cyanex 272 was around 99.9 mg/L. The concentration of NH4Cl and (NH2)2CS was varied from 0.1 to 1.2 M and 0.1 to 0.5 M, respectively. The concentration of the two stripping agents did not affect the stripping percentage of Au(III) (see Figure 3). More than 98.5% of Au(III) was stripped by (NH2)2CS, while about 70% of Au(III) was stripped by NH4Cl, in the experimental range. A previous work reported that Au(III) is completely stripped by NH4Cl from the loaded Cyanex 272, which contains Sn(II) [31]. Sn(II) can take part in a redox reaction between Sn(II) and Sn(IV), which facilitates the stripping of Au(III) from the loaded Cyanex 272.
Figure 3.
Stripping of Au(III) from the loaded Cyanex 272 by different stripping agents. ((Cyanex 272) = 0.2 M, Loaded (Au(III)) = 99.9 mg/L, (NH4Cl) = 0.1–1.2 M, ((NH2)2CS) = 0.1–0.5 M).
3.4. Integrated Procedure
After selective extraction of Au(III) from the other 4 PGMs, Pd(II) can be selectively extracted from the raffinate with LIX 63, as reported in the separation of Pt(IV) and Pd(II) [29]. Then, Pt(IV), Ir(IV), and Rh(III) can be sequentially separated by the extraction steps reported in the literature [28].
Figure 4 shows the proposed process for the separation of noble metals from a 5 M HCl solution containing Au(III), Pd(II), Pt(IV), Rh(III), and Ir(IV). The mass balance of the metal ions during each step is listed in Table 1. First, Au(III) was separated by Cyanex 272 and the loaded Au(III) was completely stripped by (NH2)2CS. Based on the previous report [28], Pd(II), Pt(IV), Ir(IV), and Rh(III) were sequentially extracted by LIX 63, TBP, and Aliquat 336 from the Au(III) free raffinate, respectively. Meanwhile, the stripping of these noble metals was successfully accomplished. Therefore, the five noble metals in the synthetic solution can be separated in each step. According to Table 1, the recovery percentage of Au(III), Pd(II), Ir(IV), and Rh(III) was higher than 98% and that of Pt(IV) was 94%. Considering the recovery percentage and the purity of the respective solution of each noble metal, the process proposed in this work can be very efficient in the treatment of HCl leaching solutions of secondary resources containing noble metals. In general, the anode slimes resulting from electro-refining do not contain base metals. Since only Au(III) was extracted by Cyanex 272 over Pt(IV), Pd(II), Ir(IV), and Rh(III), this process can be applied to HCl leaching solutions with variable compositions of Au(III) and the PGMs.
Figure 4.
Integrated process for the separation of noble metals from a HCl solution by solvent extraction.
Table 1.
Mass balance of metals in each step of the process proposed in this work.
Further work needs to be done to elucidate the extraction mechanism of Au(III) by Cyanex 272. Moreover, long term operation of the solvent extraction by employing real leaching solutions of anode slimes is necessary to verify this process.
4. Conclusions
A solvent extraction process was developed for the separation of noble metals from concentrated hydrochloric acid solutions containing Au(III), Pd(II), Pt(IV), Rh(III), and Ir(IV). In the process proposed in this work, Au(III), Pd(II), Pt(IV), Ir(IV), and Rh(III) were sequentially separated by solvent extraction. The optimum conditions for the extraction and stripping of the metal ions from the respective extractants were reported for a synthetic solution with 5 M HCl, where the concentration of all the metal ions was fixed at 100 mg/L. Successive employment of Cyanex 272, LIX 63, TBP, and Aliquat 336 resulted in a raffinate containing only Rh(III). The mass balance for the whole process indicated that the recovery percentage of the noble metal ions, except Pt(IV), was higher than 98%. This process could be applied to the recovery of noble metals with high purity from the hydrochloric acid leaching solutions of the secondary resources.
Author Contributions
M.S.L. designed the research and helped to analyze the data. W.D.X. performed the experiments and wrote the paper.
Funding
This work was supported by the Global Excellent Technology Innovation of the Korea Institute of Energy Technology Evaluation and Planning (KETEP), granted financial resource from the Ministry of Trade, Industry & Energy, Republic of Korea (No. 20165010100880).
Acknowledgments
We express sincere thanks to the Korea Basic Science Institute (KBSI), Gwangju branch for providing ICP-OES data.
Conflicts of Interest
The authors declare no conflict of interest.
References
- Cui, J.; Zhang, L. Metallurgical recovery of metals from electronic waste: A review. J. Hazard. Mater. 2008, 158, 228–256. [Google Scholar] [CrossRef] [PubMed]
- Zinke, R.K.; Werkheiser, W.H. U.S. Geological survey, mineral commodity summaries; U.S. Geological Survey: Washington, DC, USA, 2018.
- Kononova, O.N.; Melnikov, A.M.; Borisova, T.V. Simultaneous sorption recovery of platinum and rhodium from sulfate–chloride solutions. Hydrometallurgy 2012, 117–118, 101–107. [Google Scholar] [CrossRef]
- Dong, H.; Zhao, J.; Chen, J.; Wu, Y.; Li, B. Recovery of platinum group metals from spent catalysts: A review. Int. J. Miner. Process. 2015, 145, 108–113. [Google Scholar] [CrossRef]
- Syed, S. Recovery of gold from secondary sources—a review. Hydrometallurgy 2012, 115–116, 30–51. [Google Scholar] [CrossRef]
- Snyders, C.A.; Mpinga, C.N.; Bradshaw, S.M.; Akdogan, G.; Eksteen, J.J. The adsorption and elution of platinum group metals (pt, pd, and au) from cyanide leach solutions using activated carbon. In The 5th International Platinum Conference; Glen, H.W., Ed.; The South African Institute of Mining & Metallurgy: Sun City, South Africa, 2013; pp. 743–766. [Google Scholar]
- Shaik, K.; Petersen, J. An investigation of the leaching of pt and pd from cooperite, sperrylite and column bioleached concentrates in thiocyanate-cyanide systems. Hydrometallurgy 2017, 173, 210–217. [Google Scholar] [CrossRef]
- Won, S.W.; Kotte, P.; Wei, W.; Lim, A.; Yun, Y.S. Biosorbents for recovery of precious metals. Bioresour. Technol. 2014, 160, 203–212. [Google Scholar] [CrossRef]
- Coetzee, R.; Dorfling, C.; Bradshaw, S.M. Precipitation of ru, rh and ir with iron ions from synthetic nickel sulphate leach solutions. Hydrometallurgy 2018, 175, 79–92. [Google Scholar] [CrossRef]
- Snyders, C.A.; Bradshaw, S.M.; Akdogan, G.; Eksteen, J.J. Factors affecting the elution of pt, pd and au cyanide from activated carbon. Miner. Eng. 2015, 80, 14–24. [Google Scholar] [CrossRef]
- Snyders, C.A.; Bradshaw, S.M.; Akdogan, G.; Eksteen, J.J. The effect of temperature, cyanide and base metals on the adsorption of pt, pd and au onto activated carbon. Hydrometallurgy 2014, 149, 132–142. [Google Scholar] [CrossRef]
- Nikoloski, A.N.; Ang, K.-L. Review of the application of ion exchange resins for the recovery of platinum-group metals from hydrochloric acid solutions. Miner. Process. Extr. Metall. Rev. 2013, 35, 369–389. [Google Scholar] [CrossRef]
- Hubicki, Z.; Wawrzkiewicz, M.; Wójcik, G.; Kolodynska, D.; Wolowicz, A. Ion Exchange Method for Removal and Separation of Noble Metal Ions; InTech Open Access Publishers: Rijeka, Croatia, 2015. [Google Scholar]
- Cieszynska, A.; Wieczorek, D. Extraction and separation of palladium(ii), platinum(iv), gold(iii) and rhodium(iii) using piperidine-based extractants. Hydrometallurgy 2018, 175, 359–366. [Google Scholar] [CrossRef]
- Yan, Y.; Wang, Q.; Xiang, Z.; Yang, Y. Separation of pt(iv), pd(ii), ru(iii), and rh(iii) from chloride medium using liquid–liquid extraction with mixed imidazolium-based ionic liquids. Sep. Sci. Technol. 2018, 53, 2064–2073. [Google Scholar] [CrossRef]
- Goralska, E.; Coll, M.T.; Fortuny, A.; Kedari, C.S.; Sastre, A.M. Studies on the selective separation of ir(iv), ru(iii) and rh(iii) from chloride solutions using alamine 336 in kerosene. Solvent Extr. Ion Exch. 2007, 25, 65–77. [Google Scholar] [CrossRef]
- Cho, Y.; Lee, J.; So, H.; Ahn, J.; Kim, H.; Lee, J. Comparison of the extraction and separation behavior of la, ce, pr, nd, sm from light rare earth mixed solutions by pc88a and cyanex 572. Korean J. Met. Mater. 2018, 56. [Google Scholar]
- Rzelewska-Piekut, M.; Regel-Rosocka, M. Separation of pt(iv), pd(ii), ru(iii) and rh(iii) from model chloride solutions by liquid-liquid extraction with phosphonium ionic liquids. Sep. Purif. Technol. 2019, 212, 791–801. [Google Scholar] [CrossRef]
- Firmansyah, M.L.; Kubota, F.; Goto, M. Solvent extraction of pt(iv), pd(ii), and rh(iii) with the ionic liquid trioctyl(dodecyl) phosphonium chloride. J. Chem. Technol. Biotechnol. 2018, 93, 1714–1721. [Google Scholar] [CrossRef]
- Oh, C.; Lee, M. Solvent extraction of tb(iii) from hydrochloric acid solution with cyanex 272, its mixture and ionic liquid. Korean J. Met. Mater. 2018, 56, 870–877. [Google Scholar] [CrossRef]
- Xing, W.; Lee, M. Chemical leaching of silver from diverse resources. J. Korean Inst. Resour. Recycl. 2017, 26, 3–10. [Google Scholar]
- Syed, S. Silver recovery aqueous techniques from diverse sources: Hydrometallurgy in recycling. Waste Manag. 2016, 50, 234–256. [Google Scholar] [CrossRef]
- Makishima, A.; Nakanishi, M.; Nakamura, E. A group separation method for ruthenium, palladium, rhenium, osmium, iridium, and platinum using their bromo complexes and an anion exchange resin. Anal. Chem. 2001, 73, 5240–5246. [Google Scholar] [CrossRef]
- Swain, P.; Mallika, C.; Srinivasan, R.; Mudali, U.K.; Natarajan, R. Separation and recovery of ruthenium: A review. J. Radioanal. Nucl. Chem. 2013, 298, 781–796. [Google Scholar] [CrossRef]
- Nguyen, T.H.; Lee, M.S. Effect of hcl concentration on the oxidation of lix 63 and the subsequent separation of pd(ii), pt(iv), ir(iv) and rh(iii) by solvent extraction. Korean J. Met. Mater. 2016, 54, 768–774. [Google Scholar]
- Nguyen, T.H.; Sonu, C.H.; Lee, M.S. Separation of platinum(iv) and palladium(ii) from concentrated hydrochloric acid solutions by mixtures of amines with neutral extractants. J. Ind. Eng. Chem. 2015, 32, 238–245. [Google Scholar] [CrossRef]
- Nikoloski, A.N.; Ang, K.-L.; Li, D. Recovery of platinum, palladium and rhodium from acidic chloride leach solution using ion exchange resins. Hydrometallurgy 2015, 152, 20–32. [Google Scholar] [CrossRef]
- Nguyen, T.H.; Sonu, C.H.; Lee, M.S. Separation of pt(iv), pd(ii), rh(iii) and ir(iv) from concentrated hydrochloric acid solutions by solvent extraction. Hydrometallurgy 2016, 164, 71–77. [Google Scholar] [CrossRef]
- Xing, W.; Lee, M.; Kim, Y. Separation of gold(iii) from hydrochloric acid solution containing platinum(iv) and palladium(ii) by solvent extraction with cyanex 272 and lix 63. J. Ind. Eng. Chem. 2018, 59, 328–334. [Google Scholar] [CrossRef]
- Nagai, H.; Shibata, E.; Nakamura, T. Development of methods for concentration and dissolution of rh and ru from copper slime. Hydrometallurgy 2017, 169, 282–289. [Google Scholar] [CrossRef]
- Xing, W.; Lee, M.; Senanayake, G. Recovery of metals from chloride leach solutions of anode slimes by solvent extraction. Part i: Recovery of gold with cyanex 272. Hydrometallurgy 2018, 180, 58–64. [Google Scholar] [CrossRef]
- Nguyen, V.T.; Lee, J.c.; Jeong, J.k.; Kim, B.S.; Cote, G.; Chagnes, A. Extraction of gold(iii) from acidic chloride media using phosphonium-based ionic liquid as an anion exchanger. Ind. Eng. Chem. Res. 2015, 54, 1350–1358. [Google Scholar] [CrossRef]
- Wei, W.; Cho, C.W.; Kim, S.; Song, M.H.; Bediako, J.K.; Yun, Y.S. Selective recovery of au(iii), pt(iv), and pd(ii) from aqueous solutions by liquid–liquid extraction using ionic liquid aliquat-336. J. Mol. Liq. 2016, 216, 18–24. [Google Scholar] [CrossRef]
- Majavu, A.; Tshentu, Z.R. Separation of rhodium(iii) and iridium(iv) chlorido species by quaternary diammonium centres hosted on silica microparticles. J. South. Afr. Inst. Min. Metall. 2017, 24, 82–94. [Google Scholar] [CrossRef]
- Chavan, D.V.; Dhadke, P.M. Extraction separation of ir(iii) and rh(iii) with cyanex 923 from chloride media: A possible recovery from spent autocatalysts. J. Chem. Technol. Biotechnol. 2002, 77, 925–932. [Google Scholar] [CrossRef]
- Dimitrijević, S.; Rajčić-Vujasinović, M.; Trujić, V. Non-cyanide electrolytes for gold plating – a review. Int. J. Electrochem. Sci. 2013, 8, 6620–6646. [Google Scholar]
© 2019 by the authors. Licensee MDPI, Basel, Switzerland. This article is an open access article distributed under the terms and conditions of the Creative Commons Attribution (CC BY) license (http://creativecommons.org/licenses/by/4.0/).



