Modeling the Conditions for Stabilizing Aqueous Phase Evaporation in Highly Stable Water-Hydrocarbon Emulsions Under Mechanical Turbulence to Suppress Unstable Phase Transfer and Reduce Accident Risks
Abstract
1. Introduction
2. Materials and Methods
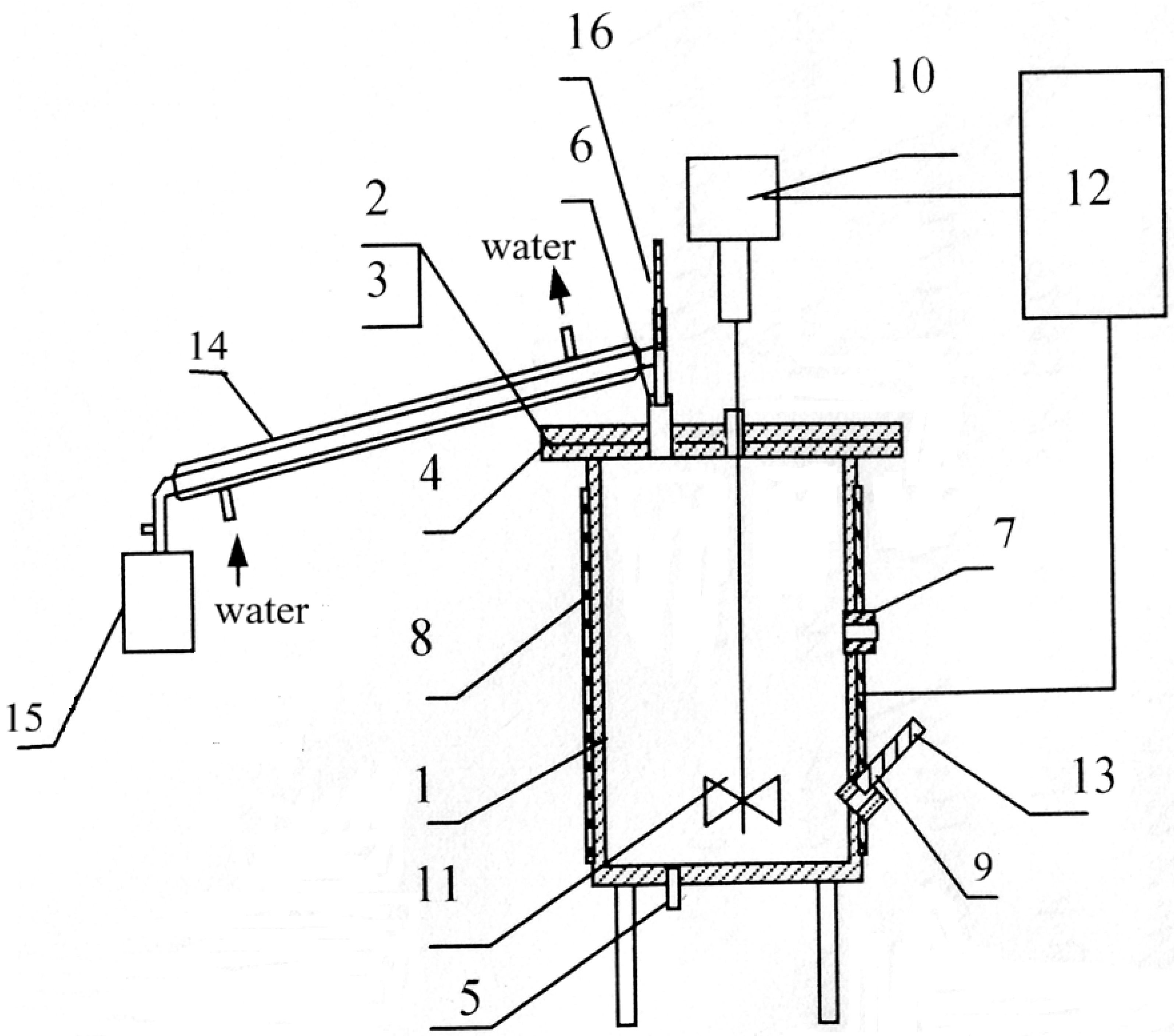
2.1. Simulated Unit
- Pipe 5: drainage of the dehydrated product from the bottom of the unit.
- Pipe 6: measurement of the temperature of the vapor of the distillate hydrocarbon fraction and water, monitored via thermocouple 16.
- Pipe 9: measurement of the temperature of the bottom liquid, monitored via thermocouple 13.
- Pipe 7: transportation of the feed emulsion into the unit for processing.
2.2. Modeling Process Stabilization Conditions
- Prevention of aqueous-phase accumulation at the heating surface:The dispersion time of water globules (i.e., the time required for mechanical breakup and homogenization) must be substantially shorter than their gravitational settling time for a given droplet diameter. This ensures that droplets remain finely distributed and do not coalesce or pool near the heater—thereby avoiding localized overheating and explosive boiling (see Figure 2).
- Ensuring stable, non-explosive boiling:The energy accumulated in the superheated liquid should not exceed the energy required to transfer the entire emulsion volume (see Figure 3).
2.2.1. Comparison of Water Globule Dispersion Time with Settling Time
- ≤ 80: laminar regime,
- 80 < < 1000: transitional regime, characterized by predominantly laminar bulk flow with localized turbulence generated in the high-shear region near the impeller blades,
- ≥ 1000: fully turbulent regime.
- at n = 20 rpm (0.333 rps), ≈ 31.86,
- at n = 200 rpm (3.33 rps), ≈ 318.66,
- at n = 400 rpm (6.67 rps), ≈ 637.33.
2.2.2. Comparison of the Energy Accumulated by the Superheated Liquid with the Energy Required to Transfer the Volume of the Emulsion
3. Results and Discussion
- To establish the operational parameters of mechanical agitation sufficient to prevent overheating of the liquid phase, coalescence of dispersed water globules, and the onset of explosive (violent) boiling within the emulsion;
- To quantitatively determine the functional dependence of water globule size distribution on key system parameters—including geometrical and hydrodynamic characteristics of the apparatus, physicochemical properties of the hydrocarbon feedstock (e.g., viscosity, interfacial tension, density), intensity of mechanical mixing and duration of mixing;
- To model the kinetics of gravitational settling of water globules, thereby enabling prediction of phase separation rates under transient thermal and mechanical conditions;
- To evaluate the mechanical energy input required to sustain stable emulsion transfer and mixing during the unstable boiling regime of the superheated liquid.
3.1. Comparison of Dispersion Time with the Settling Time of Water Globules
- At 20 rpm (Re = 31.86), the droplet diameter decreases to 1 mm within 12 s of mixing.
- At 45 rpm (Re = 71,69), the droplet diameter decreases to 1 mm within 4 s of mixing.
- At 200 rpm (Re = 318.66), the same initial droplet is reduced to 1 mm in just 1 s. In contrast, the gravitational settling time for a 3 mm water droplet is approximately 170 s.
3.2. Comparison of the Energy Accumulated by the Superheated Liquid with the Energy Required to Transfer the Volume of the Emulsion
- 1.1 mm at t = 100.5 °C,
- 0.5 mm at t = 110 °C,
- 0.25 mm at t = 150 °C.
- At 100 rpm, a 3 mm droplet reaches 1.1 mm in <1 s and 0.5 mm in <4 s, satisfying the stability criterion even at 110 °C.
- To accommodate the upper limit of observed surface temperatures (150 °C), droplets must be reduced to ≤0.25 mm, which according to the model requires >200 rpm (see Figure 5).
4. Conclusions
Author Contributions
Funding
Data Availability Statement
Acknowledgments
Conflicts of Interest
Nomenclature
| Symbol | Description | Unit |
| Characteristic diameter of water droplets in the emulsion prior to mechanical agitation, under superheated conditions | m | |
| Density of the hydrocarbon continuous phase | kg/m3 | |
| Density of the aqueous dispersed phase | kg/m3 | |
| The emulsion density | kg/m3 | |
| Empirical linear temperature coefficient for hydrocarbon density | ||
| Kinematic viscosity of the hydrocarbon phase | m2/s | |
| Internal diameter of the mixing vessel (apparatus) | m | |
| Impeller (turbine) diameter | m | |
| Number of impeller disks | - | |
| Axial height of the impeller hub/assembly | m | |
| Width of the mixer’s central blades | m | |
| Coefficient for the turbine mixer | - | |
| Coefficient depending on the type of mixing device | - | |
| Height of the emulsion layer | m | |
| Specific enthalpy of water | kJ/kg | |
| t | Process temperature | °C |
| Specific enthalpy of water at 100 °C | kJ/kg | |
| Height of emulsion rise | m | |
| Volumetric water content in the emulsion | Volume fractions | |
| Centrifugal Reynolds number | - | |
| Froude number | - | |
| Mixing time | sec | |
| The impeller rotational speed | rps | |
| Standard gravitational acceleration | m/s2 | |
| Power number (also referred to as the Euler number) | - | |
| Drag coefficient of the central blades | - | |
| Turbine mixer drag coefficient | - | |
| Wall (vessel-body) resistance coefficient | - | |
| The filling height parameter of the apparatus | - | |
| The dimensionless mean peripheral velocity of the mixed fluid | - | |
| The dimensionless, radially averaged circumferential (tangential) velocity at radius | - | |
| Surface-volume diameter of globules | m | |
| Dynamic viscosity of the hydrocarbon phase of the emulsion | Pa·s | |
| Dynamic viscosity of the aqueous phase of the emulsion | Pa·s | |
| Surface tension | J/m2 | |
| Energy spent on mixing the emulsion | J | |
| Droplet settling velocity | m/s | |
| Mass of water | kg | |
| E | Energy required for heating the droplet from 100 °C to temperature t | J |
| F | Net upward force required to lift the emulsion (without phase separation) | N |
| The buoyancy (Archimedes) force | N | |
| The force of gravity | N | |
| The mass of the emulsion layer above the droplet | kg | |
| The friction force | N | |
| υ | Characteristic radial velocity of the droplet | m/s |
Abbreviations
| DT | Dispersion time |
| ST | Settling time |
| BE | Boiling energy |
| TE | Transfer energy |
References
- Hochberg, S.Y.; Tansel, B.; Laha, S. Materials and Energy Recovery from Oily Sludges Removed from Crude Oil Storage Tanks (Tank Bottoms): A Review of Technologies. J. Environ. Manag. 2022, 305, 114428. [Google Scholar] [CrossRef]
- Kang, Y.; Xu, H.; Cao, Y.; Wang, J.; Cui, J.; Sun, X. Advances in Oil Sludge Separation Technology and Mechanism at Normal Temperature: A Review. J. Environ. Chem. Eng. 2024, 12, 114329. [Google Scholar] [CrossRef]
- Da Silva, L.J.; Alves, F.C.; De França, F.P. A Review of the Technological Solutions for the Treatment of Oily Sludges from Petroleum Refineries. Waste Manag. Res. 2012, 30, 1016–1030. [Google Scholar] [CrossRef]
- Hui, K.; Tang, J.; Lu, H.; Xi, B.; Qu, C.; Li, J. Status and Prospect of Oil Recovery from Oily Sludge: A Review. Arab. J. Chem. 2020, 13, 6523–6543. [Google Scholar] [CrossRef]
- Zolfaghari, R.; Fakhru’l-Razi, A.; Abdullah, L.C.; Elnashaie, S.S.E.H.; Pendashteh, A. Demulsification Techniques of Water-in-Oil and Oil-in-Water Emulsions in Petroleum Industry. Sep. Purif. Technol. 2016, 170, 377–407. [Google Scholar] [CrossRef]
- Zheng, X.; Ying, Z.; Cui, J.; Wang, B.; Chen, J.; Zhang, Q. Simultaneous Dewatering and Recovering Oil from High-Viscosity Oily Sludge through the Combination Process of Demulsification, Viscosity Reduction, and Centrifugation. Energy Fuels 2017, 31, 14401–14407. [Google Scholar] [CrossRef]
- Hu, G.; Li, J.; Zeng, G. Recent Development in the Treatment of Oily Sludge from Petroleum Industry: A Review. J. Hazard. Mater. 2013, 261, 470–490. [Google Scholar] [CrossRef]
- Chen, H.; Wang, X.; Liang, H.; Chen, B.; Liu, Y.; Ma, Z.; Wang, Z. Characterization and Treatment of Oily Sludge: A Systematic Review. Environ. Pollut. 2024, 344, 123245. [Google Scholar] [CrossRef]
- Tang, X.; Wei, X.; Chen, S. Continuous Pyrolysis Technology for Oily Sludge Treatment in the Chain-Slap Conveyors. Sustainability 2019, 11, 3614. [Google Scholar] [CrossRef]
- Gao, N.; Duan, Y.; Li, Z.; Quan, C.; Yoshikawa, K. Hydrothermal Treatment Combined with In-Situ Mechanical Compression for Floated Oily Sludge Dewatering. J. Hazard. Mater. 2021, 402, 124173. [Google Scholar] [CrossRef]
- Lin, B.; Huang, Q.; Ali, M.; Wang, F.; Chi, Y.; Yan, J. Continuous Catalytic Pyrolysis of Oily Sludge Using U-Shape Reactor for Producing Saturates-Enriched Light Oil. Proc. Combust. Inst. 2019, 37, 3101–3108. [Google Scholar] [CrossRef]
- Gao, N.; Wang, X.; Quan, C.; Wu, C. Study of Oily Sludge Pyrolysis Combined with Fine Particle Removal Using a Ceramic Membrane in a Fixed-Bed Reactor. Chem. Eng. Process. Process Intensif. 2018, 128, 276–281. [Google Scholar] [CrossRef]
- Bao, Q.; Huang, L.; Xiu, J.; Yi, L.; Ma, Y. Study on the Treatment of Oily Sludge in Oil Fields with Lipopeptide/Sophorolipid Complex Bio-Surfactant. Ecotoxicol. Environ. Saf. 2021, 212, 111964. [Google Scholar] [CrossRef]
- Yang, X.; Chen, S.; Chen, H.; He, L.; Ni, Y.; Liu, S.; Chen, Z.; Tian, Y. Comprehensive Review of Stabilising Factors, Demulsification Methods, and Chemical Demulsifiers of Oil-Water Emulsions. Sep. Purif. Technol. 2025, 358, 130206. [Google Scholar] [CrossRef]
- Huang, Q.; Mao, F.; Han, X.; Yan, J.; Chi, Y. Migration of Emulsified Water Droplets in Petroleum Sludge during Centrifugation. Energy Fuels 2014, 28, 4918–4924. [Google Scholar] [CrossRef]
- Wei, L.X.; Li, Z.; Wang, Q.N.; Wang, J.N.; Yang, H. Process Optimization of Centrifugal Sludge Reduction Treatment. Xiandai Huagong/Mod. Chem. Ind. 2016, 36, 136–140. [Google Scholar] [CrossRef]
- Hu, J.; Zhao, M.; Li, C.; Gong, Z.; Sun, Z.; Ma, D. Modification of Aged Oily Sludge (AOS) through Pressure Filtration and Electro-Dewatering Methods under Citric Acid (CA) Pretreatment. Water Res. 2025, 282, 123597. [Google Scholar] [CrossRef]
- Xu, C.; Yan, F.; Wang, M.; Yan, H.; Cui, Z.; Li, J.; He, B. Fabrication of Hyperbranched Polyether Demulsifier Modified PVDF Membrane for Demulsification and Separation of Oil-in-Water Emulsion. J. Membr. Sci. 2020, 602, 117974. [Google Scholar] [CrossRef]
- Gao, Y.X.; Ding, R.; Chen, X.; Gong, Z.B.; Zhang, Y.; Yang, M. Ultrasonic Washing for Oily Sludge Treatment in Pilot Scale. Ultrasonics 2018, 90, 1–4. [Google Scholar] [CrossRef] [PubMed]
- Luo, X.; Gong, H.; He, Z.; Zhang, P.; He, L. Recent Advances in Applications of Power Ultrasound for Petroleum Industry. Ultrason. Sonochem. 2021, 70, 105337. [Google Scholar] [CrossRef] [PubMed]
- Lee, C.L.; Tsai, C.H.; Jou, C.J.G. Energy and Resource Utilization of Refining Industry Oil Sludge by Microwave Treatment. Sustainability 2020, 12, 6862. [Google Scholar] [CrossRef]
- Li, W.; Lin, H.; Yang, Y.; Shang, Z.; Li, Q.; Ma, Y.; Liu, A.; Jiang, M. Enhanced Separation of Oil and Solids in Oily Sludge by Froth Flotation at Normal Temperature. Processes 2021, 9, 2163. [Google Scholar] [CrossRef]
- Zhang, J.; Zhong, X.; Lin, L.; Jiang, Y. Pipeline-Type Separation Technology and Its Application in Mixed Media Separation in Oil and Gas Industry. Chin. J. Environ. Eng. 2021, 15, 782–790. [Google Scholar] [CrossRef]
- Alexander, M.; Alarwan, N.; Chandrasekaran, M.; Sundaram, A.; Milde, T.; Rasool, S. Experiments and Modeling for Investigation of Oily Sludge Biodegradation in a Wastewater Pond Environment. Appl. Sci. 2020, 10, 1659. [Google Scholar] [CrossRef]
- Bao, Q.; Huang, L.; Xiu, J.; Yu, L.; Cui, Q.; Ma, Y.; Yi, L. Development in the Biological Treatment of Oily Sludge in Oil and Gas Fields. Huagong Jinzhan/Chem. Ind. Eng. Prog. 2021, 40, 2762–2773. [Google Scholar] [CrossRef]
- Liu, Y.; Yu, H.; Jiang, Z.; Song, Y.; Zhang, T.; Siyal, A.A.; Dai, J.; Bi, X.; Fu, J.; Ao, W.; et al. Microwave Pyrolysis of Oily Sludge under Different Control Modes. J. Hazard. Mater. 2021, 416, 125887. [Google Scholar] [CrossRef] [PubMed]
- Safiulina, A.G.; Zabbarov, R.R.; Khusnutdinov, S.I.; Alekseeva, A.A.; Khusnutdinov, I.S.; Petrov, S.M. Thermomechanical Dehydration of Highly-Stable Dispersions of Liquid Pyrolysis Products. Chem. Technol. Fuels Oils 2018, 54, 265–270. [Google Scholar] [CrossRef]
- Khusnutdinov, I.S.; Safiulina, A.G.; Zabbarov, R.R.; Dubovikov, O.A.; Khusnutdinov, S.I.; Khaldarov, N.K. Influence of Physicochemical Properties of Highly Organized Oil Disperse Systems on Efficiency of Thermomechanical Dehydration. Chem. Technol. Fuels Oils 2017, 52, 779–784. [Google Scholar] [CrossRef]
- Khusnutdinov, S.I.; Schenk, J.; Khusnutdinov, I.S.; Safiulina, A.F.; Bazhin, V.Y.; Dubovikov, O.A. Methods and Technologies for the Processing of Water-Hydrocarbon Emulsions and Technogenic Raw Materials of Metallurgical and Petrochemical Enterprises: A Review. In Proceedings of the Topical Issues of Rational Use of Natural Resources 2019, St. Petersburg, Russian, 17–19 May 2019; Volume 2. [Google Scholar]
- Alaseeva, A.A.; Khusnutdinov, S.I.; Petrov, S.M.; Khusnutdinov, I.S.; Safiulina, A.G.; Bashkirtseva, N.Y. Properties and Applications of Distillate Fractions from Highly Stable Dispersions of Liquid Pyrolysis Products. Chem. Technol. Fuels Oils 2018, 54, 271–277. [Google Scholar] [CrossRef]
- Zaidullin, I.M.; Safiulina, A.G.; Khusnutdinov, S.I.; Petrov, S.M.; Khusnutdinov, I.S.; Alekseeva, A.A.; Bashkirtseval, N.Y. Characteristics of Distillation Residues from Liquid Pyrolysis Products. Chem. Technol. Fuels Oils 2018, 54, 425–429. [Google Scholar] [CrossRef]
- Khusnutdinov, I.S.; Safiulina, A.G.; Zabbarov, R.R.; Alekseeva, A.A.; Alawode, O.E.; Goncharova, I.N. Prediction of the Removal of Aqueous Phase during Boiling of Highly Stable Water-Hydrocarbon Emulsions. Pet. Sci. Technol. 2022, 40, 2659–2668. [Google Scholar] [CrossRef]
- Roesle, M.L.; Kulacki, F.A. Boiling Heat Transfer in Dilute Emulsions; SpringerBriefs in Applied Sciences and Technology; Springer: New York, NY, USA, 2013; ISBN 978-1-4614-4620-0. [Google Scholar]
- Rozentsvaig, A.K.; Strashinskii, C.S. Mechanisms of Boiling of an Emulsion with a Low-Boiling Disperse Phase in a Turbulent Flow of a Homogeneous Emulsion. J. Eng. Phys. Thermophys. 2010, 83, 486–495. [Google Scholar] [CrossRef]
- Rozentsvaig, A.K.; Strashinskii, C.S. The Growth of Vapor Bubbles in the Volume of Superheated Drops, Dispersed in High-Boiling Liquid. Appl. Math. Sci. 2014, 8, 7519–7528. [Google Scholar] [CrossRef]
- Rozentsvaig, A.K.; Strashinskii, C.S. Model of the Heat Exchange in Boiling Emulsions with Low-Boiling Disperse Phase at the Solid Wall. Contemp. Eng. Sci. 2014, 7, 965–971. [Google Scholar] [CrossRef]
- Rozentsvaig, A.K.; Strashinskii, C.S. Hydrodynamic Aspects of Boiling up of a Disperse Phase in a Homogeneous Turbulent Flow of an Emulsion. High Temp. 2011, 49, 143–146. [Google Scholar] [CrossRef]
- Gasanov, B.M.; Bulanov, N.V. Effect of the Droplet Size of an Emulsion Dispersion Phase in Nucleate Boiling and Emulsion Boiling Crisis. Int. J. Heat Mass Transf. 2015, 88, 256–260. [Google Scholar] [CrossRef]
- Bulanov, N.V.; Gasanov, B.M. Peculiarities of Boiling of Emulsions with a Low-Boiling Disperse Phase. Int. J. Heat Mass Transf. 2008, 51, 1628–1632. [Google Scholar] [CrossRef]
- Bulanov, N.V.; Gasanov, B.M. Characteristic Features of the Boiling of Emulsions Having a Low-Boiling Dispersed Phase. J. Eng. Phys. Thermophys. 2006, 79, 1130–1133. [Google Scholar] [CrossRef]
- Bulanov, N.V.; Gasanov, B.M.; Muratov, G.N. Critical Volume and Chain Activation of Boiling Sites in Emulsions with Low-Boiling Dispersed Phase. High Temp. 2009, 47, 864–869. [Google Scholar] [CrossRef]
- Safiulina, A.; Khusnutdinov, S.; Khusnutdinov, I.; Goncharova, I. Continuous Monitoring of Residual Water Content in Boiling Water-Hydrocarbon Emulsions during Thermomechanical Dehydration. Chin. J. Chem. Eng. 2024, 76, 118–123. [Google Scholar] [CrossRef]
- McCain, W. The Properties of Petroleum Fluids; PennWell Books, LLC: Tulsa, OK, USA, 2017; ISBN 978-1-59370-373-8. [Google Scholar]
- McCain, W.D.; Spivey, J.P.; Lenn, C.P. Petroleum Reservoir Fluid Property Correlations; PennWell Corp.: Tulsa, OK, USA, 2011; ISBN 978-1-59370-187-1. [Google Scholar]
- Braginsky, L.N.; Begachev, V.I.; Barabash, V.M. Mixing in Liquid Media: Physical and Chemical Principles and Engineering Calculation Methods; Chemistry: Leningrad, Russia, 1984. [Google Scholar]
- Karpushkin, S.V.; Krasnyansky, M.N.; Borisenko, A.B. Calculation and Selection of Mechanical Agitators for Vertical Vessels: A Textbook; Tambov State Technical University Press: Tambov, Russia, 2009. [Google Scholar]
- Šterbáček, Z.; Tausk, P. Mixing in the Chemical Industry; SNTL (State Publishing House of Technical Literature): Prague, Czech Republic, 1961. [Google Scholar]
- Kuznetsov, A.A.; Kagermanov, S.M.; Sudakov, E.N. Calculations of Processes and Equipment in Petroleum Refining; Khimiya Publishing House: Leningrad, Russia, 1974. [Google Scholar]
- Pavlov, K.F. Worked Examples and Problems in Unit Operations of Chemical Technology; Chemistry: Leningrad, Russia, 1987. [Google Scholar]
- Lyons, W.C.; Pilsga, G.J.; Lorenz, M.D. Standard Handbook of Petroleum and Natural Gas Engineering; Gulf Professional Publishing: Houston, TX, USA, 2016; ISBN 0123838479. [Google Scholar]
- Gary, J.H.; Handwerk, J.H.; Kaiser, M.J.; Geddes, D. Petroleum Refining: Technology and Economics, 5th ed.; CRC Press: Boca Raton, FL, USA, 2007; ISBN 9780429207730. [Google Scholar]
- Green, D.W.; Southard, M.Z. Perry’s Chemical Engineers’ Handbook; McGraw Hill Education: New York, NY, USA, 2019; ISBN 0071834087. [Google Scholar]
- Branan, C.R. Rules of Thumb for Chemical Engineers; Gulf Professional Publishing: Houston, TX, USA, 2005. [Google Scholar] [CrossRef]
- Creathorn, A. Mechanical Design. In Mixing Process Technology: A Guide to Industrial Applications; CRC Press: Boca Raton, FL, USA, 2025; pp. 392–413. [Google Scholar] [CrossRef]
- Harnby, N.; Edwards, M.F.; Nienow, A.W. Mixing in the Process Industries; Butterworths & Co. (Publishers) Ltd.: London, UK, 1985; ISBN 0408115742. [Google Scholar]
- Paul, E.L.; Atiemo-Obeng, V.A.; Kresta, S.M. Handbook of Industrial Mixing: Science and Practice; Wiley: Hoboken, NJ, USA, 2004; ISBN 9780471451457. [Google Scholar]
- Towler, G.; Sinnott, R. Chemical Engineering Design, 3rd ed.; Towler, G., Sinnott, R., Eds.; Butterworth-Heinemann: Oxford, UK, 2005; ISBN 978-0-12-821179-3. [Google Scholar]
- Oldshue, J.Y. Fluid Mixing Technology; McGraw-Hill Publications Co.: Columbus, OH, USA, 1983; ISBN 978-0070476851. [Google Scholar]









| Symbol | Parameter | Unit | Value |
|---|---|---|---|
| Characteristic diameter of water droplets in the emulsion prior to mechanical agitation, under superheated conditions | m | 3 × 10−3 | |
| Density of the hydrocarbon continuous phase at 20 °C | kg/m3 | 941 | |
| Density of the aqueous dispersed phase at 100 °C | kg/m3 | 954 | |
| Empirical linear temperature coefficient for hydrocarbon density | 0.581 | ||
| Kinematic viscosity of the hydrocarbon phase at 100 °C | m2/s | 25.4 × 10−6 | |
| Internal diameter of the mixing vessel (apparatus) | m | 0.16 | |
| Impeller (turbine) diameter | m | 0.08 | |
| Number of impeller disks | - | 6 | |
| Axial height of the impeller hub/assembly | m | 0.2 × | |
| Width of the mixer’s central elements | m | 0.25 × | |
| Coefficient for the turbine mixer | - | 0.03 | |
| Coefficient depending on the type of mixing device | - | 83 | |
| Height of the emulsion layer | m | 0.2 | |
| Specific enthalpy of water | kJ/kg | ||
| - at 100.5 °C | 422 | ||
| - at 105 °C | 440 | ||
| - at 110 °C | 461 | ||
| - at 115 °C | 482.7 | ||
| - at 120 °C | 504.1 | ||
| - at 130 °C | 546.8 | ||
| - at 140 °C | 589.5 | ||
| - at 150 °C | 632.7 | ||
| Specific enthalpy of water at 100 °C | kJ/kg | 419 | |
| Height of emulsion rise | m | 0.4 | |
| Volumetric water content in the emulsion | Volume fractions | 0.3 |
Disclaimer/Publisher’s Note: The statements, opinions and data contained in all publications are solely those of the individual author(s) and contributor(s) and not of MDPI and/or the editor(s). MDPI and/or the editor(s) disclaim responsibility for any injury to people or property resulting from any ideas, methods, instructions or products referred to in the content. |
© 2026 by the authors. Licensee MDPI, Basel, Switzerland. This article is an open access article distributed under the terms and conditions of the Creative Commons Attribution (CC BY) license.
Share and Cite
Safiulina, A.G.; Khusnutdinov, I.S. Modeling the Conditions for Stabilizing Aqueous Phase Evaporation in Highly Stable Water-Hydrocarbon Emulsions Under Mechanical Turbulence to Suppress Unstable Phase Transfer and Reduce Accident Risks. Processes 2026, 14, 678. https://doi.org/10.3390/pr14040678
Safiulina AG, Khusnutdinov IS. Modeling the Conditions for Stabilizing Aqueous Phase Evaporation in Highly Stable Water-Hydrocarbon Emulsions Under Mechanical Turbulence to Suppress Unstable Phase Transfer and Reduce Accident Risks. Processes. 2026; 14(4):678. https://doi.org/10.3390/pr14040678
Chicago/Turabian StyleSafiulina, Aliya Gabdelfayazovna, and Ismagil Shakirovich Khusnutdinov. 2026. "Modeling the Conditions for Stabilizing Aqueous Phase Evaporation in Highly Stable Water-Hydrocarbon Emulsions Under Mechanical Turbulence to Suppress Unstable Phase Transfer and Reduce Accident Risks" Processes 14, no. 4: 678. https://doi.org/10.3390/pr14040678
APA StyleSafiulina, A. G., & Khusnutdinov, I. S. (2026). Modeling the Conditions for Stabilizing Aqueous Phase Evaporation in Highly Stable Water-Hydrocarbon Emulsions Under Mechanical Turbulence to Suppress Unstable Phase Transfer and Reduce Accident Risks. Processes, 14(4), 678. https://doi.org/10.3390/pr14040678

