Electron Emission as a Tool for Detecting Fracture and Surface Durability of Tensile-Loaded Epoxy Polymers Modified with SiO2 Nanoparticles
Abstract
1. Introduction
2. Materials and Methods
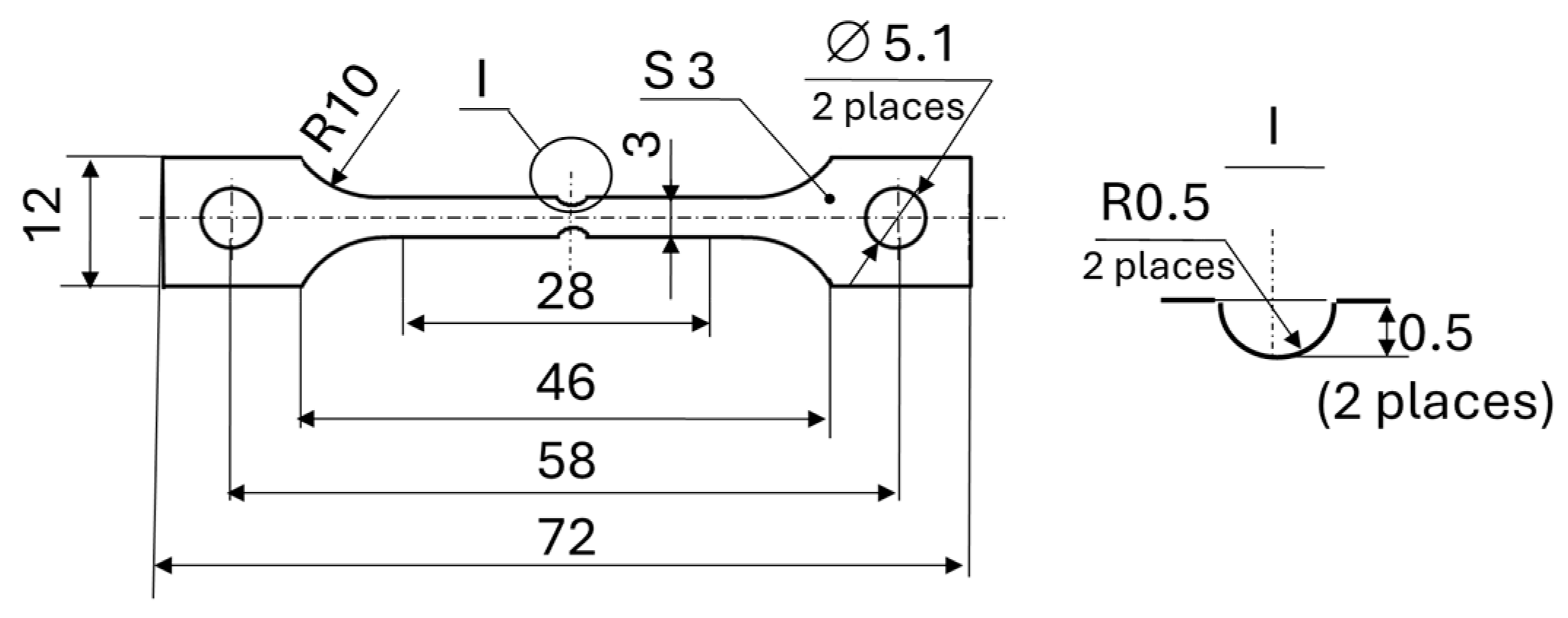
2.1. Specimens
2.2. Tensile Loading and PE Detection
2.3. Estimation of τ and Building of τ-σ Diagram
3. Results and Discussion
4. Conclusions
- Near-threshold photoelectron emission pulses can be used for contactless detection of fractures in the surface nanolayer (10–100 nm thick epoxy polymer modified with SiO2 nanoparticles).
- The degradation of the mechanically loaded EPNs over time can be assessed by processing PE pulses to estimate the durability of the polymer’s chemical bonds.
- The Kinetic Nature of Solid Material Strength theory is applicable for estimating the durability of the surface nanolayer of tensely loaded EPNs.
- SiO2 nanoparticles exposed to ultraviolet radiation and used to modify the epoxy polymer can enhance its durability.
Author Contributions
Funding
Data Availability Statement
Acknowledgments
Conflicts of Interest
Abbreviations
| EPNs | Epoxy polymer modified with nanoparticles |
| EPNSs | Publications connected the strength of epoxy polymers modified with nanoparticles |
| KSMS | Kinetic Nature of Solid Material Strength theory |
| NPs | Nanoparticles |
| PE | Photoelectron emission |
References
- Du, G.; Li, Q.; Zhou, F.; Zhang, X. Self-lubricating and wear self-healing of polymer composites reinforced with bifunctional mesoporous silica nanocontainers. Tribol. Int. 2025, 207, 110602. [Google Scholar] [CrossRef]
- Lin, Y.; Wang, B. pH-responsive paclitaxel prodrug encapsulated in a polypeptide-chitosan polymer delivery system for osteosarcoma treatment. Carbohydr. Res. 2025, 551, 109414. [Google Scholar] [CrossRef] [PubMed]
- Collado, I.; Vázquez-López, A.; Fernández, M.; de la Vega, J.; Jiménez-Suárez, A.; Prolongo, S.G. Nanocomposites of sequential dual curing of thiol-epoxy systems with Fe3O4 nanoparticles for remote/in situ applications: Thermomechanical, shape memory, and induction heating properties. Adv. Compos. Hybrid Mater. 2025, 8, 199. [Google Scholar] [CrossRef]
- Rezaei, M.A.; Naderi, R.; Mahdavian, M. Dopamine-loaded carbon hollow spheres: A novel approach for enhanced active corrosion protection in polymer coatings. Prog. Org. Coat. 2025, 201, 109115. [Google Scholar] [CrossRef]
- Boobalan, V.; Sathish, T.; Madan Ananda Kumar, L. Enhancing the morphological and mechanical performances of basalt/glass fiber/polymer composites modified with hybrid MWCNTs and SiO2 nanoparticles. Interactions 2025, 246, 30. [Google Scholar] [CrossRef]
- Voronkov, A.G.; Yartzev, V.P. Epoxy Polymers for Repairing and Protection of Building Constructions; Tambov State Technical University: Tambov, Russia, 2006; Volume 68. [Google Scholar]
- Zhang, W.J.; Du, B.X.; Liang, H.C. Mechanical Stress Affecting Dielectric Properties of Epoxy Resin. IEEE Trans. Dielectr. Electr. Insul. 2024, 31, 2255–2258. [Google Scholar] [CrossRef]
- Dekhtyar, Y.; Kawaguchi, Y.; Arnautov, A. Failure and relaxations of carbon fibre-reinforced plastic tested by exoemission and luminescence methods. Int. J. Adhes. Adhes. 1997, 17, 75–78. [Google Scholar] [CrossRef]
- Dekhtyar, Y.; Kronberga, S.; Romanova, M. Towards polymer composite reinforced by electrically charged nanoparticles. Int. J. Adhes. Adhes. 2019, 91, 19–22. [Google Scholar] [CrossRef]
- Kittel, C. Introduction to Solid State Physics; Wiley: Hoboken, NJ, USA, 2004; 704p. [Google Scholar]
- Williams, F.E. Solid-state Luminescence. Adv. Electron. Electron Phys. 1953, 5, 137–168. [Google Scholar]
- Zakrevskii, V.A.; Pakhotin, V.A. Mechanical emissions by polymers. Polym. Sci. U.S.S.R. 1975, 17, 653–657. [Google Scholar] [CrossRef]
- Ibach, H. (Ed.) Electron Spectroscopy for Surface Analysis; Springer: New York, NY, USA, 1977. [Google Scholar]
- Zakrevskii, V.A. Electron emission during deformation of polymers. Makromol. Chem. 1991, 41, 25–37. [Google Scholar] [CrossRef]
- Jensen, K. Introduction to the Physics of Electron Emission; John Wiley & Sons Ltd.: Hoboken, NJ, USA, 2018. [Google Scholar]
- Work Function. Available online: https://en.wikipedia.org/wiki/Work_function (accessed on 5 May 2025).
- Regel, V.R.; Slutsker, A.I.; Tomashevskii, E.E. The Kinetic Nature of the Strength of Solids. Sov. Phys. Uspekhi 1972, 15, 45–65. [Google Scholar] [CrossRef]
- Regel, V.R. Research on the physics of strength of composites (A review). Mech. Compos. Mater. 1980, 15, 684–701. [Google Scholar] [CrossRef]
- Zhurkov, S.N. Kinetic concept of the strength of solids. Int. J. Fract. 1984, 26, 295–307. [Google Scholar] [CrossRef]
- Araldite® LY 1564. Available online: https://coatings.specialchem.com/product/r-huntsman-araldite-ly-1564 (accessed on 14 May 2025).
- Advanced Materials. Available online: https://www.swiss-composite.ch/pdf/t-Araldite-LY1564-Aradur3486-3487-e.pdf (accessed on 20 March 2025).
- Derjaguin, B.V.; Landau, L.D. Theory of the Stability of Strongly Charged Lyophobic Sols and of the Adhesion of Strongly Charged Particles in Solutions of Electrolytes. Acta Physic. Chim. 1941, 14, 633–642. [Google Scholar] [CrossRef]
- Introduction to Edge Filters. Available online: https://www.idex-hs.com/resources/intro-to-optical-filters/intro-to-edge-fil-303 ters?utm_source=lfw&utm_medium=personifai&utm_campaign=springcampaign#:~:text=What%20is%20an%20Edge%20opti-304 cal,wavelength%2C%20while%20blocking%20lower%20wavelengths (accessed on 7 May 2025).
- Tensile Testing. Available online: https://en.wikipedia.org/wiki/Tensile_testing (accessed on 28 March 2025).
- Table of Critical Values: Pearson Correlation. Available online: https://www.statisticssolutions.com/free-resources/directory-of-statistical-analyses/pearsons-correlation-coefficient/table-of-critical-values-pearson-correlation (accessed on 20 March 2025).
- KT (Energy). Available online: https://en.wikipedia.org/wiki/KT_(energy) (accessed on 28 March 2025).







Disclaimer/Publisher’s Note: The statements, opinions and data contained in all publications are solely those of the individual author(s) and contributor(s) and not of MDPI and/or the editor(s). MDPI and/or the editor(s) disclaim responsibility for any injury to people or property resulting from any ideas, methods, instructions or products referred to in the content. |
© 2025 by the authors. Licensee MDPI, Basel, Switzerland. This article is an open access article distributed under the terms and conditions of the Creative Commons Attribution (CC BY) license (https://creativecommons.org/licenses/by/4.0/).
Share and Cite
Cerpa, A.E.; Dekhtyar, Y.; Kronberga, S. Electron Emission as a Tool for Detecting Fracture and Surface Durability of Tensile-Loaded Epoxy Polymers Modified with SiO2 Nanoparticles. Processes 2025, 13, 1546. https://doi.org/10.3390/pr13051546
Cerpa AE, Dekhtyar Y, Kronberga S. Electron Emission as a Tool for Detecting Fracture and Surface Durability of Tensile-Loaded Epoxy Polymers Modified with SiO2 Nanoparticles. Processes. 2025; 13(5):1546. https://doi.org/10.3390/pr13051546
Chicago/Turabian StyleCerpa, Agnes Elizabeth, Yuri Dekhtyar, and Sanda Kronberga. 2025. "Electron Emission as a Tool for Detecting Fracture and Surface Durability of Tensile-Loaded Epoxy Polymers Modified with SiO2 Nanoparticles" Processes 13, no. 5: 1546. https://doi.org/10.3390/pr13051546
APA StyleCerpa, A. E., Dekhtyar, Y., & Kronberga, S. (2025). Electron Emission as a Tool for Detecting Fracture and Surface Durability of Tensile-Loaded Epoxy Polymers Modified with SiO2 Nanoparticles. Processes, 13(5), 1546. https://doi.org/10.3390/pr13051546

