Numerical Simulation of Gas Injection Displacement in Coal Seams: A Mini-Review
Abstract
1. Introduction
- (1)
- Sort out the development of modeling theories for each physical field, analyze the coupling mechanisms of multi-physical fields, summarize the evolution and characteristics of permeability models, and provide a theoretical basis for the refinement of multi-field coupling models.
- (2)
- Sort out numerical models at different stages, summarize their technical advantages, compare the characteristics of simulation software, and propose a decision tree of “Multi-physical Field Coupling Equation Selection, Key Parameter Calibration, Permeability Equation Selection, Model Validation and Error Correction” by integrating model iteration, parameter integration, and error control logic, so as to provide a framework for improving simulation accuracy and engineering applicability.
- (3)
- Analyze the bottlenecks of multi-field coupled simulation, and propose optimization paths (refined gas transport characterization, heterogeneous modeling, THMC full coupling, cross-scale parameter collaborative inversion systems) to solve the core problems in current simulation, such as flow diffusion, chemical coupling, fracture anisotropy, and key parameters relying on experience.
2. Research Methodology
3. Theory of Multi-Physics Field Modeling for Gas Injection Displacement
3.1. Gas Migration Theory (Flow, Adsorption/Desorption, and Diffusion)
3.2. Hydraulic and Chemical Fields
3.3. Thermo-Mechanical Response Mechanism of Coal Body Deformation
3.4. Evolutionary Improvements in Permeability Modeling
3.5. Mechanism Analysis of THMC Multi-Field Coupling System in Gas Injection Displacement
4. Evolution and Engineering Decision System of Numerical Models for Gas Injection Displacement
4.1. Model Evolution and Software Capability Comparison
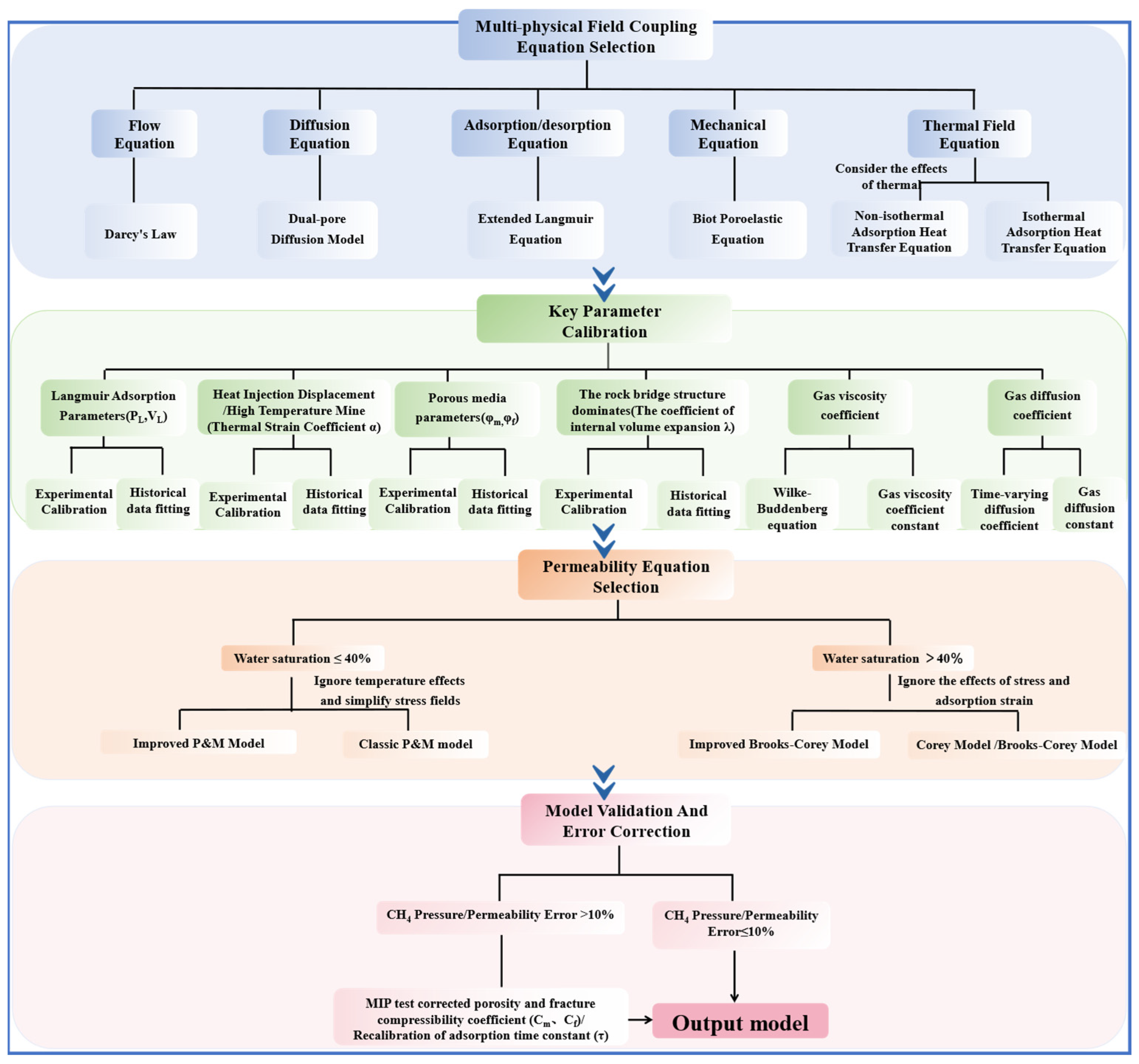
4.2. Engineering Decision Trees: Hierarchical Decision Trees for Numerical Simulation of Gas Injection Displacement Models
- (1)
- Multi-physics Field Coupling Equation Selection. (a) Flow equation: Darcy’s law is used. (b) Diffusion equations: two-pore diffusion model, Fick’s law dominant. (c) Adsorption/desorption equation: the EL equation. (d) Mechanical equation: Biot porous elasticity equation. (e) Thermal field equations: consider the influence of thermal effects using non-isothermal adsorption heat transfer equation; vice versa using isothermal adsorption heat transfer equation.
- (2)
- Key Parameter Calibration: Acquisition of key parameters for special geological conditions and different gas injection sources. Combined with experimental acquisition or historical data fitting to obtain relevant parameters such as gas adsorption parameters (Langmuir constants VL, PL), thermal expansion coefficients α, rock bridge structure parameters (internal expansion coefficients λ), coal seam porosity, fracture rate (φm, φf), gas dynamic viscosity coefficients (μ), gas diffusion coefficients (D), etc., inverted based on high-precision experimental or historical data.
- (3)
- Permeability Equation Selection:The selection is based on the dominant flow regime, which transitions at a critical water saturation of 40%—a threshold substantiated by THMC coupled simulations [58] and aligned with the flow regime transition identified in Section 3.4 (Figure 9).
- (a)
- Low water saturation ≤40%: In this gas–continuous-phase regime, absolute permeability, governed by stress-induced and adsorption-induced strain, is the controlling factor. The improved P&M model is selected to capture the evolution of absolute permeability under stress and sorption [20,55]. The classical P&M model is chosen if thermal effects are neglected and the stress–adsorption relationship is simplified.
- (b)
- High water saturation >40%: In this competitive gas–water two-phase flow regime, relative permeability effects dominate. The modified Brooks–Corey model is selected to account for complex pore structure and fluid-distribution effects, consistent with approaches in simulations of high-water-saturation ECBM processes [56]. The standard Brooks–Corey model can be used if stress and temperature corrections are unnecessary. The modified Brooks–Corey model can be used for correcting the effects of stress and temperature on relative permeability, and vice versa with the Corey/Brooks–Corey model to cover gas–water two-phase flow.
- (4)
- Model Validation and Error correction: When the error of CH4 pressure/seam permeability was >10%, the pore/fracture compression coefficients (Cm, Cf) were corrected by piezo mercury experiments, and the adsorption time constant (τ) was re-determined. Error ≤10%: output the final model to ensure that the simulation accuracy meets the engineering requirements (e. g., coal mine downhole gas injection displacement, surface coalbed methane development).
4.3. Engineering Decision Tree Validation and Application Case Study
5. Urgent Problems and Future Prospects
5.1. Precision Modeling of Flow–Diffusion Mechanisms
- (a)
- For the flow field, it should be treated as a composite flow with nonlinear terms. The dominant flow equation should be selected based on flow velocity and pore size dynamics, choosing from the Darcy, Forchheimer, or Swartzendruber equations. As compared in Table 7, the Swartzendruber equation offers a more flexible framework for capturing non-Darcy behaviors that deviate from the quadratic velocity dependence of the Forchheimer model, making it potentially more accurate for complex fluid–coal interactions.
- (b)
- For the diffusion field, a multi-mechanism quantification framework is required, delineating the dominant diffusion regime (Fick, Knudsen, or transition) based on pore size distribution from BET test data. It is crucial to note that the BET method has limitations in ultra-micropores, potentially introducing uncertainty. Thus, a surface roughness correction factor (obtained from experiment or molecular simulation) should be introduced to dynamically calibrate the diffusion coefficients.
5.2. Characterization of Anisotropic Fracture Networks
5.3. THMC Full-Coupling Deficit Mitigation
5.4. Joint Inversion of Key Parameters in the Field and Laboratory
5.5. Extensibility of the Framework to Other Technologies and Reservoirs
- (a)
- Governing Equations Selection: The core at this stage is the coupling between geomechanics and fluid flow. For instance, an elastoplastic or elastic-damage constitutive model describing rock failure (e.g., the Mohr–Coulomb and maximum tensile stress criteria used in the reference) should be adopted and coupled with Darcy’s law or more complex non-Darcy flow equations.
- (b)
- Key Parameter Calibration: The key parameters to be calibrated become rock mechanical properties (e.g., elastic modulus, Poisson’s ratio, compressive/tensile strength) and the in situ stress field. These can be acquired through laboratory core tests or field measurements (e.g., hydraulic fracturing tests). The reference’s use of Weibull and log-normal distributions to assign heterogeneous mechanical and hydraulic parameters exemplifies the implementation of the “Key Parameter Calibration” step in addressing reservoir heterogeneity.
- (c)
- Constitutive Model Selection: At this stage, the focus shifts to selecting a fracture propagation model. Depending on the simulation focus, one might choose continuum methods (e.g., damage mechanics-based models like the one used in the reference) or discrete fracture network models.
- (d)
- Model Validation and Error Correction: Finally, the model must be validated and corrected against field data, such as microseismic monitoring events, fracturing treatment pressure curves, or production history data. The reference validated its model by comparing the simulated fracture initiation pressure against theoretical solutions from classical H-F and H-W equations and by aligning fracture patterns with engineering expectations.
6. Conclusions
- (1)
- This study systematically reviews the theoretical development and engineering application of numerical simulation for coal seam gas injection displacement, focusing on its core role in enhancing coal mine gas drainage and safety. It clarifies the modeling principles of key physical fields (flow–adsorption–diffusion, thermo–mechanical, hydraulic–chemical) and their coupling mechanisms: the flow field relies on Darcy’s law corrected by the Klinkenberg effect to characterize fracture flow; the adsorption/desorption field adopts the Extended Langmuir model to quantify multi-gas competitive adsorption; the thermo-mechanical field integrates Biot porous elasticity theory with adsorption-induced strain; the hydraulic–chemical field couples CO2 dissolution–mineral dissolution kinetics to reveal permeability evolution. Additionally, it summarizes the evolution of permeability models—from static constant assumptions to dynamic coupling of stress, adsorption, and chemical effects, laying a theoretical foundation for refined simulation of gas control.
- (2)
- This study traces the evolution of numerical models from basic flow–diffusion models to THMC full-coupling models, and compares the performance of simulation software: COMSOL demonstrates greater coupling depth and flexibility for complex scenarios, supporting customized equations and THMC nonlinear partial differential equation solving, whereas COMET3 is optimized for standard production forecasts. Based on this, a four-dimensional decision-making framework (“Multi-physical Field Coupling Equation Selection, Key Parameter Calibration, Permeability Equation Selection, Model Validation and Error Correction”) is proposed. Validation in the 3# coal seam of Qinshui Basin shows the framework controls simulation error ≤10%, effectively resolving the problems of empirical parameter selection and low model adaptability in traditional simulation. It provides a standardized technical path for optimizing underground gas injection drainage parameters and improving gas control efficiency.
- (3)
- This study identifies four key bottlenecks restricting the application of gas injection displacement simulation: imprecise flow–diffusion characterization (over-reliance on Darcy’s law, neglect of Knudsen diffusion in nanopores); insufficient fracture network anisotropy portrayal (isotropic permeability tensors failing to reflect fractal features); incomplete THMC coupling (inadequate integration of mineral dissolution–precipitation with permeability–mechanical deformation); and cross-scale parameter mismatch. The corresponding future research directions are proposed to address these issues: (1) refine gas transport modeling by classifying flow regimes (Darcy/Forchheimer/Swartzendruber) based on flow rate and pore size, and calibrate diffusion coefficients with surface roughness correction; (2) develop anisotropic permeability interfaces in simulation software, integrate discrete fracture network models, and validate with field data; (3) construct a COMSOL-PHREEQC coupled framework to track coal mineral reactions and capture permeability hysteresis; and (4) establish a “laboratory calibration-field inversion-dynamic update” parameter system, using machine learning to bridge micro–macro scale gaps. These efforts aim to develop high-precision simulation tools for coal mine gas control, promoting large-scale application of gas injection displacement technology in complex geological conditions.
Author Contributions
Funding
Data Availability Statement
Conflicts of Interest
Appendix A
| Variables from Section 3.2 | Variables from Section 3.3 | ||
|---|---|---|---|
| thermal conductivity of the coal body, J/(m·s·K) | effective stress variation, PA | ||
| Qt | gas content, m3/t | Kp | bulk modulus of pores, MPa |
| constant volume specific heat of a coal body, J/(kg·K) | coal fracture adsorption volume strain, dimensionless | ||
| thermal strain coefficient, K−1 | Biot coefficient of coal matrix, dimensionless Biot coefficient of coal fracture, dimensionless | ||
| volumetric strain rate, s−1 | Langmuir pressure, MPa | ||
| phase change pressure coupling coefficient, dimensionless | Cpc | perimeter pressure sensitivity factor, MPa−1 | |
| w | pressure correction factor, Pa−1 | krg | relative gas-phase permeability, dimensionless |
| b | gas adsorption phase fraction, dimensionless | krog | relative permeability of gas-phase endpoints, dimensionless |
| effective specific heat capacity, J/(m3·K); effective thermal convection coefficient, J/(m2·s); effective thermal conductivity, W/(m·K) | krw | relative permeability of aqueous phase, dimensionless | |
| isothermal heat of adsorption/desorption of gases, kJ/mol | Krw0 | relative permeability of aqueous phase endpoints, dimensionless | |
| , Cgi and Cw | specific heat capacity of coal, gas mixtures and water, J/(kg K) | Sw | water saturation, % |
| Variables from Section 3.3 | Swr | bound water saturation, % | |
| K0 | initial penetration rate, mD | Sgr | residual gas saturation, % |
| Cf | coal fracture compression factor, MPa−1 | Seff | effective saturation, % |
| adsorption volume strain, % | pore size distribution parameters, dimensionless | ||
| initial porosity, porosity, dimensionless | a, b | empirical fitting parameters, dimensionless | |
| coal matrix compression factor, pore compression coefficient, MPa−1 | relative permeability of a phase, dimensionless | ||
| M | bulk modulus, MPa | endpoint relative permeability of a phase | |
| E | modulus of elasticity, MPa | dynamic viscosity of α- and β- phase fluids, P·s | |
| b | gas adsorption constant, MPa−1 | C, n | empirical constant, dimensionless |
| C1 | contribution weight of adsorption strain to porosity, dimensionless | saturation of the β-phase, dimensionless | |
References
- Ding, S.; Li, Y.; Zhang, M.; Xu, C.; Wang, S.; Gao, Y.; Yu, H.; Du, Y.; Ma, J. Holistic Review on CO2 Geological Storage Potential Evaluation. Energy Fuels 2024, 38, 19946–19965. [Google Scholar] [CrossRef]
- Zhou, L.; Feng, Q.; Chen, Z.; Liu, J. Modeling and Upscaling of Binary Gas Coal Interactions in CO2 Enhanced Coalbed Methane Recovery. Procedia Environ. Sci. 2012, 12, 926–939. [Google Scholar] [CrossRef]
- Gong, H.; Wang, K.; Wang, G.; Yang, X.; Du, F. Underground coal seam gas displacement by injecting nitrogen: Field test and effect prediction. Fuel 2021, 306, 121646. [Google Scholar] [CrossRef]
- Yang, H.; Zhou, K.; Chen, L.; Lu, X.; Kang, N. Differential Analysis of Various Moisture Phases on N2 Displacement of CH4 in Coal. ACS Omega 2024, 9, 15633–15640. [Google Scholar] [CrossRef]
- Zhou, K.; Yang, H.; Guan, J.; Si, Z. Study on the Differences between Various Gas Injection Sources in the Process of Coal Seam Methane Replacement by Gas Injection. ACS Omega 2022, 7, 37572–37580. [Google Scholar] [CrossRef]
- Yang, X.; Wang, G.; Du, F.; Jin, L.; Gong, H. N2 injection to enhance coal seam gas drainage (N2-ECGD): Insights from underground field trial investigation. Energy 2022, 239, 122247. [Google Scholar] [CrossRef]
- Yang, X.; Wang, G.; Ni, M.; Shu, L.; Gong, H.; Wang, Z. Investigation on Key Parameters of N2 Injection to Enhance Coal Seam Gas Drainage (N2-ECGD). Energies 2022, 15, 5064. [Google Scholar] [CrossRef]
- Asif, M.; Wang, L.; Panigrahi, D.C.; Ojha, K.; Hazlett, R. Integrated assessment of CO2-ECBM potential in Jharia Coalfield, India. Sci. Rep. 2022, 12, 7533. [Google Scholar] [CrossRef] [PubMed]
- Sarkar, S.; Singh, I.V.; Mishra, B.K. A simple and efficient implementation of localizing gradient damage method in COMSOL for fracture simulation. Eng. Fract. Mech. 2022, 269, 108552. [Google Scholar] [CrossRef]
- Fan, C.; Yang, L.; Wang, G.; Huang, Q.; Fu, X.; Wen, H. Investigation on Coal Skeleton Deformation in CO2 Injection Enhanced CH4 Drainage from Underground Coal Seam. Front. Earth Sci. 2021, 9, 766011. [Google Scholar] [CrossRef]
- Fang, H.-H.; Zheng, C.-S.; Qi, N.; Xu, H.-J.; Liu, H.-H.; Huang, Y.-H.; Song, S.-L. Coupling mechanism of THM fields and SLG phases during the gas extraction process and its application in numerical analysis of gas occurrence regularity and effective extraction radius. Pet. Sci. 2022, 19, 990–1006. [Google Scholar] [CrossRef]
- Cui, X.; Bustin, R.M. Volumetric strain associated with methane desorption and its impact on coalbed gas production from deep coal seams. AAPG Bull. 2005, 89, 1181–1202. [Google Scholar] [CrossRef]
- Gray, I. Reservoir Engineering in Coal Seams: Part 1—The Physical Process of Gas Storage and Movement in Coal Seams. SPE Reserv. Eng. 1987, 2, 28–34. [Google Scholar] [CrossRef]
- Liu, H.-H.; Rutqvist, J. A New Coal-Permeability Model: Internal Swelling Stress and Fracture–Matrix Interaction. Transp. Porous Media 2010, 82, 157–171. [Google Scholar] [CrossRef]
- Ma, X.; Zhou, A.; Cheng, X.; Cheng, C.; Zhao, W. Multi-Field Coupling Models of Coal and Gas and Their Engineering Applications to CBM in Deep Seams: A Review. Energies 2024, 17, 6221. [Google Scholar] [CrossRef]
- Darcy, H. Recherches Expérimentales Relatives au Mouvement de L’eau dans les Tuyaux; Mallet—Bachelier: Paris, France, 1857. [Google Scholar]
- Javadi, M.; Sharifzadeh, M.; Shahriar, K.; Mitani, Y. Critical Reynolds number for nonlinear flow through rough-walled fractures: The role of shear processes. Water Resour. Res. 2014, 50, 1789–1804. [Google Scholar] [CrossRef]
- Wang, X.; Thauvin, F.; Mohanty, K.K. Non-Darcy flow through anisotropic porous media. Chem. Eng. Sci. 1999, 54, 1859–1869. [Google Scholar] [CrossRef]
- Wang, X.; Sheng, J. Gas Sorption and Non-Darcy Flow in Shale Reservoirs. Pet. Sci. 2017, 14, 746–754. [Google Scholar] [CrossRef]
- Liu, Q.; Cheng, Y.; Zhou, H.; Guo, P.; An, F.; Chen, H. A Mathematical Model of Coupled Gas Flow and Coal Deformation with Gas Diffusion and Klinkenberg Effects. Rock Mech. Rock Eng. 2015, 48, 1163–1180. [Google Scholar] [CrossRef]
- Klinkenberg, L.J. The Permeability of Porous Media to Liquids and Gases. In Drilling and Production Practice; American Petroleum Institute: Washington, DC, USA, 1941. [Google Scholar]
- Brunauer, S.; Emmett, P.H.; Teller, E. Adsorption of Gases in Multimolecular Layers. J. Am. Chem. Soc. 1938, 60, 309–319. [Google Scholar] [CrossRef]
- Dubinin, M.M. The Potential Theory of Adsorption of Gases and Vapors for Adsorbents with Energetically Nonuniform Surfaces. Chem. Rev. 1960, 60, 235–241. [Google Scholar] [CrossRef]
- Dubinin, M.M. Physical Adsorption of Gases and Vapors in Micropores. In Progress in Surface and Membrane Science; Cadenhead, D.A., Danielli, J.F., Rosenberg, M.D., Eds.; Elsevier: Amsterdam, The Netherlands, 1975; Volume 9, pp. 1–70. [Google Scholar]
- Dutta, P.; Harpalani, S.; Prusty, B. Modeling of CO2 sorption on coal. Fuel 2008, 87, 2023–2036. [Google Scholar] [CrossRef]
- Clarkson, C.R. Adsorption potential theories to coal methane adsorption isotherms at elevated temperature and pressure. Carbon 1997, 35, 1689–1705. [Google Scholar] [CrossRef]
- Zhang, P.; Wang, L. Extended Langmuir equation for correlating multilayer adsorption equilibrium data. Sep. Purif. Technol. 2010, 70, 367–371. [Google Scholar] [CrossRef]
- Wang, J.; Cheng, Y.; Wang, L.; Hu, B.; Wang, C.; Yi, M. Diffusion Process of Methane in Coal Particles and Its Relationship with the Pore Scale. Energy Fuels 2022, 36, 14734–14747. [Google Scholar] [CrossRef]
- Nandi, S.P.; Walker, P.L. Activated diffusion of methane in coal. Fuel 1970, 49, 309–323. [Google Scholar] [CrossRef]
- Nandi, S.P.; Walker, P.L. Activated diffusion of methane from coals at elevated pressures. Fuel 1975, 54, 81–86. [Google Scholar] [CrossRef]
- Clarkson, C.R.; Bustin, R.M. The effect of pore structure and gas pressure upon the transport properties of coal: A laboratory and modeling study. 1. Isotherms and pore volume distributions. Fuel 1999, 78, 1333–1344. [Google Scholar] [CrossRef]
- Shi, G.; Wei, F.; Gao, Z.; Yan, J.; Zhang, H.; Hao, T. Gas desorption-diffusion behavior from coal particles with consideration of quasi-steady and unsteady crossflow mechanisms based on dual media concept model: Experiments and numerical modelling. Fuel 2021, 298, 120729. [Google Scholar] [CrossRef]
- Liu, Q.; Wang, J.; Zhao, W.; Huang, W.Y.; Ling, H.; Liang, W.; Cheng, Y.P. A novel bidisperse diffusion model for coal particles considering micropores as the major sites of CH4 adsorption. Fuel 2023, 333, 126505. [Google Scholar] [CrossRef]
- Fang, H.; Yu, S.; Zhang, S.; Sang, S.; Guo, J.; Wang, Z.; Wang, X. Coupling Mechanism of THMC Fields in Crushed Soft Coal with Low Permeability after CO2 Injection and Its Application in CO2-ECBM Technology. Energy Fuels 2024, 38, 6891–6911. [Google Scholar] [CrossRef]
- Fan, C.; Elsworth, D.; Li, S.; Zhou, L.; Yang, Z.; Song, Y. Thermo-hydro-mechanical-chemical couplings controlling CH4 production and CO2 sequestration in enhanced coalbed methane recovery. Energy 2019, 173, 1054–1077. [Google Scholar] [CrossRef]
- Guo, W.; Xiong, W.; Gao, S.; Hu, Z.; Liu, H.; Yu, R. Impact of temperature on the isothermal adsorption/desorption of shale gas. Pet. Explor. Dev. 2013, 40, 514–519. [Google Scholar] [CrossRef]
- Wang, X.; Lee, B.; Chua, H.T. Methane desorption and adsorption measurements on activated carbon in 281–343 K and pressures to 1.2 MPa. J. Therm. Anal. Calorim. 2012, 110, 1475–1485. [Google Scholar] [CrossRef]
- Ye, Q.; Li, C.; Yang, T.; Wang, Y.; Li, Z.; Yin, Y. Relationship between desorption amount and temperature variation in the process of coal gas desorption. Fuel 2023, 332, 126146. [Google Scholar] [CrossRef]
- Zhang, Q.-L. Adsorption mechanism of different coal ranks under variable temperature and pressure conditions. J. China Univ. Min. Technol. 2008, 18, 395–400. [Google Scholar] [CrossRef]
- Zhou, H.W.; Zhang, L.; Wang, X.Y.; Rong, T.L.; Wang, L.J. Effects of matrix-fracture interaction and creep deformation on permeability evolution of deep coal. Int. J. Rock Mech. Min. Sci. 2020, 127, 104236. [Google Scholar] [CrossRef]
- Tao, Y.; Xu, J.; Liu, D.; Liang, Y. Development and validation of THM coupling model of methane-containing coal. Int. J. Min. Sci. Technol. 2012, 22, 879–883. [Google Scholar] [CrossRef]
- Fan, C.; Li, S.; Luo, M.; Du, W.; Yang, Z. Coal and gas outburst dynamic system. Int. J. Min. Sci. Technol. 2017, 27, 49–55. [Google Scholar] [CrossRef]
- Connell, L.D. A new interpretation of the response of coal permeability to changes in pore pressure, stress and matrix shrinkage. Int. J. Coal Geol. 2016, 162, 169–182. [Google Scholar] [CrossRef]
- Palmer, I.; Mansoori, J. How Permeability Depends Stress Pore Press. Coalbeds: A New Model. SPE Reserv. Eval. Eng. 1996, 1, 539–544. [Google Scholar] [CrossRef]
- Biot, M.A. Theory of Propagation of Elastic Waves in a Fluid-Saturated Porous Solid. I. Low-Frequency Range. J. Acoust. Soc. Am. 2005, 28, 179–191. [Google Scholar] [CrossRef]
- Levine, J.R. Model study of the influence of matrix shrinkage on absolute permeability of coal bed reservoirs. Geol. Soc. Publ. 1996, 109, 197–212. [Google Scholar] [CrossRef]
- Miao, T.; Chen, A.; Li, Z. Stress-Dependent models for permeability and pososity of fracture of fractured rock based on fractal. Fractals 2023, 31, 2350093. [Google Scholar] [CrossRef]
- Lenhard, R.J.; Oostrom, M.; White, M.D. Modeling fluid flow and transport in variably saturated porous media with the STOMP simulator. 2. Verification and validation exercises. Adv. Water Resour. 1995, 18, 365–373. [Google Scholar] [CrossRef]
- Corey, A.T. The Interrelation Between Gas and Oil Relative Permeabilities. Prod. Mon. 1954, 19, 38–41. [Google Scholar]
- Brooks, R.H.; Corey, A.T. Properties of Porous Media Affecting Fluid Flow. J. Irrig. Drain. Div. 1964, 92, 61–88. [Google Scholar] [CrossRef]
- Pan, X.; Wong, R.C.; Maini, B.B. Steady State Two-phase in a Smooth Parallel Fracture. In Proceedings of the Annual Technical Meeting, Calgary, AB, Canada, 9–11 June 1996. [Google Scholar] [CrossRef]
- Ehrlich, R. Viscous coupling in two-phase flow in porous media and its effect on relative permeabilities. Transp. Porous Media 1993, 11, 201–218. [Google Scholar] [CrossRef]
- Yang, T. Numerical simulation of coal-bed methane displacement by underground gas injection based on multi-physics coupling. J. China Coal Soc. 2010, 35, 1479–1484. [Google Scholar]
- Shi, Y.; Lin, B.; Liu, T.; Zhao, Y.; Hao, Z. Synergistic ECBM extraction technology and engineering application based on hydraulic flushing combing gas injection displacement in low permeability coal seams. Fuel 2022, 318, 123688. [Google Scholar] [CrossRef]
- Ren, T.; Wang, G.; Cheng, Y.; Qi, Q. Model development and simulation study of the feasibility of enhancing gas drainage efficiency through nitrogen injection. Fuel 2017, 194, 406–422. [Google Scholar] [CrossRef]
- Yang, L.; Fan, C.-J.; Luo, M.-K.; Wen, H.-O.; Sun, H.; Zhou, L.-J.; Cheng, Z.-H.; Zhang, Z.-P. Geological parameters and gas mixture composition on enhanced coalbed methane recovery: A THM modeling approach. Pet. Sci. 2025, 22, 2078–2095. [Google Scholar] [CrossRef]
- Vishal, V.; Singh, L.; Pradhan, S.P.; Singh, T.N.; Ranjith, P.G. Numerical modeling of Gondwana coal seams in India as coalbed methane reservoirs substituted for carbon dioxide sequestration. Energy 2013, 49, 384–394. [Google Scholar] [CrossRef]
- Fang, H.; Du, G.; Gu, W.; Weng, J.; Yu, S. Displacement Effect of CO2/N2-ECBM Process with Different Water Saturations Based on THMC Coupling. Energy Fuels 2025, 39, 8086–8106. [Google Scholar] [CrossRef]
- Fang, H.; Sang, S.; Liu, S. Establishment of dynamic permeability model of coal reservoir and its numerical simulation during the CO2-ECBM process. J. Pet. Sci. Eng. 2019, 179, 885–898. [Google Scholar] [CrossRef]
- Liang, X.; Hou, P.; Liu, G.; Xue, Y.; Liu, J.; Gao, F.; Zhang, Z. A clustered fractal discrete fracture network model for fractured coal. Fractals Interdiscip. J. Complex Geom. Nat. 2024, 2, 32. [Google Scholar] [CrossRef]
- Parkhurst, D.; Appelo, C.A.J. User’s Guide to PHREEQC (Version 2): A Computer Program for Speciation, Batch-Reaction, One-Dimensional Transport, and Inverse Geochemical Calculations (99-4259). 1999. Available online: https://pubs.usgs.gov/publication/wri994259 (accessed on 10 October 2025).
- Meng, M.; Qiu, Z.; Zhong, R.; Liu, Z.; Liu, Y.; Chen, P. Adsorption characteristics of supercritical CO2/CH4 on different types of coal and a machine learning approach. Chem. Eng. J. 2019, 368, 847–864. [Google Scholar] [CrossRef]
- Yuan, Z.G.; Shao, Y.H. Numerical Modeling on Hydraulic Fracturing in Coal-Rock Mass for Enhancing Gas Drainage. Adv. Civ. Eng. 2018, 2018, 1485672. [Google Scholar] [CrossRef]












| Model Type | Fitting Accuracy (R2) | Key Quantitative Findings |
|---|---|---|
| The single-pore model | R2 ≈ 0.9666–0.9753 | Exhibits systematic prediction bias. Fails to capture the dual-scale transport mechanism due to the use of a single diffusion coefficient. |
| The dual-pore model | R2 > 0.998 | Achieves near-perfect accuracy by introducing two diffusion coefficients differing by 5 orders of magnitude, which is essential to characterize the distinct fast (macropore) and slow (micropore) diffusion paths in coal. |
| Displayed Formula | Specificities |
|---|---|
| , [34] | The influence of temperature on the coupling process was not considered separately, focusing on the mineral dissolution kinetics under normal-temperature conditions; it includes initiative chemical reactions, involving the generation/consumption of substances, and strong two-way coupling between the chemical field and the water field. |
| , [35] | Explicitly incorporate the temperature correction term to adapt to the non-isothermal gas injection environment. There is a one-way weak coupling from the water field to the chemical field. Simplify the chemical process and overlook the modification of the flow channels by mineral dissolution. |
| Displayed Formula | Specificities |
|---|---|
| [40] | Based on the first law of thermodynamics, comprehensively consider the coupling effects of coal body deformation, gas adsorption/desorption, and heat conduction. Highlight the thermo–hydro–mechanical coupling under the natural warming of deep coal seams. This is applicable to simulating the interaction mechanism of temperature–stress–flow during deep mining. The temperature field equation needs to be solved by coupling with the flow field equation and the stress field equation. |
| [41] | Based on the law of conservation of energy, it synthesizes the internal energy changes in coal skeleton and gas, heat convection/heat conduction and explicit adsorption heat terms, and is driven by adsorption and desorption of endogenous heat, which is applicable to natural warming scenarios in deep coal seams. Direct quantification of heat of adsorption modulation of permeability to support the analysis of CBM displacement mechanisms under non-isothermal conditions. |
| Model Name | Displayed Formula | Features |
|---|---|---|
| Gray Model [13] | Combines pore pressure/adsorption strain; concise but limited multi-factor coupling. | |
| P&M Model [44] | Links permeability to porosity/strain (uniaxial strain assumption; limited applicability). | |
| S&D Model [43] | “Matchstick”-based exponential model clarifies stress effect; ignores adsorption/desorption (single dimension). | |
| C&B Model [12] | Quantifies methane desorption strain’s impact; no gas–water multiphase verification. | |
| Liu and Rutqvist Model [14] | Integrates adsorption/desorption; uniaxial strain limits 3D scenarios. | |
| Improved P&M Model [20] | Corrects dual-pore structure for gas transport; poor generalization to non-dual-pore systems (relies on P&M framework). |
| Model Name | Displayed Formula | Features |
|---|---|---|
| Corey Model [49] | Simple, widely used, easy parameters; ignores fracture impact. | |
| Brooks–Corey Model [50] | Includes pore size distribution; fits heterogeneous media; ignores adsorption expansion. | |
| X-curve Model [51] | Few parameters (easy fitting, high efficiency for homogeneous media); no multiphase nonlinear capture. | |
| V-C Model [52] | Considers fluid viscosity ratio (viscous-dominated multiphase flow); only for low capillary pressure/high viscosity. |
| Model Source | Software | Key Progress and Highlights | Original Study Validation and Prediction Accuracy |
|---|---|---|---|
| Yang [53] | COMSOL | A “pore-fracture dual medium” coupling model was developed. This model clearly defines the mass exchange mechanism between Fickian diffusion (in pores) and Darcy flow (in fractures). | Validated by laboratory core flow tests; gas migration rate prediction deviation ≈12%. |
| Vishal [57] | COMET3 | The Peng–Robinson equation of state was employed to calculate the gas density at different pressures and temperatures, and avoid density calculation deviations. | Compared with experimental gas density data; calculation error ≤8%. |
| Ren [55] | COMSOL | The Buddenberg–Wilke equation was introduced to calculate mixed viscosity in real time, addressing the flow rate deviation resulting from the assumption of constant viscosity in traditional models. | Flow rate prediction error reduced from 15% (traditional model) to 7%. |
| Fan [35] | COMSOL | Developed non-isothermal THMC coupling model for binary gas (CO2/CH4) transport, introduced the temperature-corrected Langmuir model to quantify the influence of temperature on adsorption. | Validated by high-temperature coal seam simulations; prediction error of temperature-dependent adsorption capacity ≤10%. |
| Shi [54] | COMSOL | The λ coefficient (internal expansion volume coefficient) was proposed, and a fully coupled permeability formula was constructed to avoid the deviation in permeability prediction. | Compared with field-measured permeability; prediction error ≤9%. |
| Asif [8] | COMET3 | Breaking through the limitation of “empirical parameter value selection”, a simulation foundation is established based on the actual measured data of coal samples, and a 3D dual-pore model is constructed using the COMET3 simulator. | Validated by field monitoring; gas migration radius prediction error ≈ 11%. |
| Fang [34] | COMSOL | Established fully coupled THMC models for CO2-ECBM, overcame the deficiency of traditional models in neglecting the chemical field. | Qinshui Basin field data: methane production prediction relative error 8.64%; Baijiao Coal Mine experiment: gas volume fraction error <6%. |
| Liu [14] | COMSOL | The concept of “elastic-plastic deformation boundary point” was introduced for the first time, and the pressure attenuation law of N2 was simulated through the Mises equivalent stress equation. | Agreement with experimental N2 pressure attenuation data (R2 = 0.92). |
| Yang [56] | COMSOL | The Extended Langmuir model incorporates a temperature coefficient to quantify the effects of temperature on the adsorption of various gases. Integrating Henry’s law and the Kelvin–Laplace law, this model simulates the dissolution of CO2 in water and the migration of water vapor, aiming to elucidate the mechanism underlying the change in gas injection efficiency in water-rich coal seams following initial drainage. | Multi-gas adsorption capacity: prediction error ≤6%; Water-phase processes (CO2 dissolution, water vapor migration): simulation error ≈ 10%. |
| Equation Name | Mathematical Form | Applicability and Characteristics |
|---|---|---|
| Darcy’s Law | Applies to linear, low-velocity flow. Simple but inaccurate for high flow rates or non-Newtonian fluids. | |
| Forchheimer Equation | Accounts for inertial effects at high velocities. Standard for non-Darcy flow in many porous media. | |
| Swartzendruber Equation | (m < 2) | Describes nonlinear flow where the power-law index m deviates from 2. Potentially more accurate for certain non-Newtonian behaviors or specific pore structures in coal. |
Disclaimer/Publisher’s Note: The statements, opinions and data contained in all publications are solely those of the individual author(s) and contributor(s) and not of MDPI and/or the editor(s). MDPI and/or the editor(s) disclaim responsibility for any injury to people or property resulting from any ideas, methods, instructions or products referred to in the content. |
© 2025 by the authors. Licensee MDPI, Basel, Switzerland. This article is an open access article distributed under the terms and conditions of the Creative Commons Attribution (CC BY) license (https://creativecommons.org/licenses/by/4.0/).
Share and Cite
Yang, X.; Du, F.; Zhang, Q.; Zuo, Y.; Tan, F.; Zhang, Y.; Xu, Y. Numerical Simulation of Gas Injection Displacement in Coal Seams: A Mini-Review. Processes 2025, 13, 3463. https://doi.org/10.3390/pr13113463
Yang X, Du F, Zhang Q, Zuo Y, Tan F, Zhang Y, Xu Y. Numerical Simulation of Gas Injection Displacement in Coal Seams: A Mini-Review. Processes. 2025; 13(11):3463. https://doi.org/10.3390/pr13113463
Chicago/Turabian StyleYang, Xin, Feng Du, Qingcheng Zhang, Yunfei Zuo, Feiyan Tan, Yiyang Zhang, and Yuanyuan Xu. 2025. "Numerical Simulation of Gas Injection Displacement in Coal Seams: A Mini-Review" Processes 13, no. 11: 3463. https://doi.org/10.3390/pr13113463
APA StyleYang, X., Du, F., Zhang, Q., Zuo, Y., Tan, F., Zhang, Y., & Xu, Y. (2025). Numerical Simulation of Gas Injection Displacement in Coal Seams: A Mini-Review. Processes, 13(11), 3463. https://doi.org/10.3390/pr13113463

