Next Article in Journal
Numerical Simulation Study on the Influence of Twist Tape Parameters on Hydrate Particle Deposition
Previous Article in Journal
Graphic Template Establishment and Productivity Evaluation Model of Post-Fracturing Based on the Fluctuation Pattern of G-Function Curve
Previous Article in Special Issue
Properties of a Low-Carbon Binder-Based Mortar Made with Waste LCD Glass and Waste Rope (Nylon) Fibers
 
 
Font Type:
Arial Georgia Verdana
Font Size:
Aa Aa Aa
Line Spacing:
Column Width:
Background:
Article

Recycling of Chrome-Containing Waste from a Mining and Processing Plant to Produce Industrial Products

Institute of Metallurgy and Ore Beneficiation JSC, Satbayev University, Almaty 050013, Kazakhstan
*
Author to whom correspondence should be addressed.
Processes 2023, 11(6), 1659; https://doi.org/10.3390/pr11061659
Submission received: 3 May 2023 / Revised: 19 May 2023 / Accepted: 21 May 2023 / Published: 29 May 2023

Abstract

:
Prolonged development of ore deposits, ore beneficiation and metallurgical smelting of concentrates result in the accumulation of wastes, forming large-scale dumps and sludge ponds negatively affecting the environment and human health. The creation and introduction of industrial waste treatment technologies will make it possible to dispose of them with the production of valuable commercial products and improve the environmental situation. In a research article on chemical beneficiation with the subsequent gravitational beneficiation of chrome-containing slurry tailings of Donskoy Ore-Mining and Beneficiation Plant (DOMBP), which processes chrome ore of the Kempirsay deposit in the Republic of Kazakhstan, Aktobe region, having considerable stocks of such waste is presented. The chromium-containing slurry tailings were heat-treated at 1100 °C, sintered with ammonium sulfate, water and sulfuric acid in a defined ratio at 300 °C, and then the resulting sinter was leached with water at 90 °C. The cake was washed to separate the liquid part from the solid part. The solid precipitate is the chromium-containing cake, which is upgraded by gravity concentration to a grade concentrate for ferroalloy production. When the solution is evaporated, magnesium sulfate with ammonium sulfate forms the Tutton’s salt ammoshenite. High-throughput chromium oxide extraction of 93.9% was achieved as a result of the research, and three products were obtained: (1) standard chromium concentrate with 49.48% Cr2O3 content, (2) ammoshenite used as a nitrogen–magnesium fertilizer and (3) forsterite, which is concentrated in gravity concentration tailings and can be used in the production of refractory minerals.

1. Introduction

The processing and beneficiation of non-ferrous and ferrous metal ores with subsequent smelting results in the accumulation of large amounts of waste in the form of tailings and slag from metallurgical production, forming large-scale ore and slag dumps and tailings ponds, which are called technogenic mineral formations (TMF) [1,2,3,4,5,6].
DOMBP’s tailings mineral resources, which have been accumulated since 1938, amount to 2.2 million tons as of 1 January 2018. In total, there are 2.2 million tons at 27.65% Cr2O3, which is 0.6 million tons in terms of chromium oxide [7]. The technological scheme of chrome ore processing at DOMBP includes standard operations of gravity concentration: crushing and beneficiation in heavy medium and crushing and beneficiation on jigging machines and screw separators. The resulting concentrate, with a chrome oxide content of 50%, is fed to the ferroalloy plant. The beneficiation waste—tailings in the form of fine sands—is stored in tailings dumps. A tailings storage facility is a hydraulic structure into which tailings are pumped and settled, and the clarified water flows into the recycled water supply system of the concentrator.
Chromium ore is characterized by a different mineral characteristic for each deposit. Chromium compounds are present in many natural formations: as part of lead and copper–lead oxides, silicates (chromogranate, chromediopside, chromic mica), etc. The chromospinelides make up commercial deposits of chromium: magnochromite (Mg, Fe) Cr2O4, lumochromite (Mg, Fe)(Cr, Al)2O4 and chrompicotite (Mg, Fe)(Al, Cr)2O4. The Cr2O3 content in the minerals varies from 2% to 67%. Economical processing of ore occurs at Cr2O3 content not less than 25–30%.
For the commercial development of chrome ore deposits, there are early-magmatic (deposits in South Africa), late-magmatic (deposits in Russia, Kazakhstan, Greece, Albania, Yugoslavia, Turkey, etc.) and alluvial deposits (Russia, Cuba, Philippines, New Caledonia).
Two hypotheses have been identified for the origin of chromite deposits: 1. chromium ores are formed together with their host ultrabasic and basic rocks by intrusion of magma and its crystallization in the upper parts of the Earth’s crust; 2. chromite-bearing ultrabasites of folded regions are tectonic plates that have been pitted in the uppermost upper mantle in the oceanic crust region and moved tens or hundreds of kilometers, mostly laterally, to the areas of modern occurrence.
Analysis of mineralogical characteristics of deposits predetermines the method of chrome ore beneficiation and influence on technical and economic indicators of the extraction and content of chromium oxide in the concentrate. Thus, [8] conducted a detailed mineralogical investigation of Cr-containing ore from Vavdos deposit mine, Halkidiki Peninsula, Greece, which showed that during metamorphism more than 3 wt.% of total Cr2O3 was redistributed into silicates, mainly Cr-chlorite, with serpentine inclusion of about 0.2 wt.%. As a result, the common assumption that the chromite ores contain Cr only in chromite is misleading, because chromite in metamorphosed ores may be contained in significant amounts in gangue phases of the ore and especially in Cr-chlorite. The effect of such redistribution on the beneficiation of chromite ores has been experimentally tested. The results confirmed the separation efficiency and metal recovery. A calculation taking into account the Cr2O3 content in the silicates confirms the experimental data. Moreover, the results show that the differential separation of Cr-chlorite and serpentine is negligible. For changes related to redistribution of Cr2O3 during metamorphism, the amount in Cr-chlorite reaches a maximum for the more disseminated ores. Detailed mineralogical analysis with the detection of Cr-chlorite presence in ore allows accurate calculations of experimental data on chromium extraction and distribution to be made.
Based on the mineralogical characteristics of the DOMBP ore, it was determined that the gravity concentration scheme does not work efficiently and some of the fine chromium goes to the tailings because metamorphosed chromite is contained in the waste rock, which during gravity concentration goes to the slime tailings.
For the processing of waste tailings after gravity concentration, it is advisable to focus research on the maximum extraction of chromite using chemical beneficiation methods, by destroying the serpentinite host and source minerals of ores containing magnesium oxide. The higher magnesium oxide content equates gravity concentration tailings to high-magnesium chromite ores, and these in turn are the most refractory and most challenging to recover, unlike chromite ores containing iron and aluminum oxides. Removal of magnesium oxides from tailings is not possible by a physical method but by chemical stripping.
One of the most important indicators of the metallurgical value of DOMBP’s chromite ores is the MgO/Al2O3 ratio > 2, which increases when the upper horizons are mined. For this reason, the slags of ferrochrome smelting become high in magnesia, which also makes it difficult to introduce the process [9].
For the processing of tailings after gravity concentration, it is advisable to focus research on maximizing chromite recovery using chemical beneficiation methods by breaking down the original ore minerals.
At the destruction of chromospinelides, it was suggested to use acid technologies with the transfer of impurities in the liquid phase. In the works of the East Scientific and Research Mining and Metallurgical Institute of Non-Ferrous Metals (ERMInon-ferrous metals) of the Republic of Kazakhstan [10,11], the recycling of the DOMBP concentrator’s slime received chrome oxide-enriched product and magnesium-containing product. A −0.63 mm fraction of chromium slurry was treated with a sulfuric acid solution in two stages: sulfuric acid leaching is carried out in the initial stage at L:T = 2:1 (first stage of leaching) followed by dilution of the pulp with washing water to L:T = 3.5:1 (second stage). The pulp is heated to 90–95 °C by exothermic reactions. The slurry passes through the hydrocyclones. The hydrocyclone sands are directed to filtration and the hydrocyclone discharge to thickening. The thickened product from the thickeners is also sent for filtration. The leach cake is thoroughly washed with water (three-fold counter-flow washing on the filter) and then pulverized in water and sent for gravity concentration. The content of soluble impurities in washed cake is insignificant (pH 6.0, magnesium sulfate no more than 8 kg per 1 ton of cake). Concentrate with chrome oxide content of more than 50% and recovery of at least 80–85% is obtained. When the sediment was separated, the solution was subject to hydrolytic purification, separation and concentration by evaporation with extraction of heptahydrate (MgSO4 × 7 H2O) and hexahydrate (MgSO4 × 6 H2O) at temperatures above 48 °C and monohydrate (MgSO4 × H2O) above 67.5 °C. Magnesium sulfate produced by the technology was a mixture of crystalline hydrates, where the monohydrate prevails (~80%). The main disadvantages of the proposed technology were the significant costs of sulfuric acid, lime and soda ash, a large amount of produced magnesium sulfate crystalline hydrate, difficulties in implementation and the complexity of the process flow.
Scientists of the Institute of Metallurgy and Ore Beneficiation JSC (IMOB) of the Republic of Kazakhstan also developed a chemical beneficiation technology [12,13,14] for sludge tailings of DOMBP JSC. The treatment process flow included the operations of preliminary activation of the tailings in soda ash solution with a concentration of 120 g/dm3 at 120 °C, S:L = 1:10 and a duration of 90 min, sulfuric acid leaching in 30% ammonium hydrosulfate solution and gravity concentration using a centrifugal separator. The treatment resulted in a chromite concentrate with Cr2O3 content of 59.2%. This process solution is accompanied by a significant transfer of water-soluble Cr (VI) into the solution, which is environmentally hazardous and difficult to neutralize.
In [15], a systematic study of Cr composition in fresh processing residue was carried out. The results show that Cr is almost 5% in the fresh residue and 35.0% of the total Cr is Cr (VI). Brownmillerite, hydrogarnete and amorphous phase are the key host phases of Cr (VI), which contain 24.2%, 19.6% and almost 50% of the total Cr (VI), respectively. Spinel and amorphous phases are the key host phases of Cr (III), which contain 25.4% and 71.9% of the total Cr (III), respectively. Hydrocaluminite and stichtite are not key host phases of Cr, containing only 1.4% of the total Cr (VI) and 2.7% of the total Cr (III), respectively. These studies predetermine the formation conditions of Cr (VI) by mineralogical analysis, which is an environmentally hazardous waste.
In [16], it was shown that chromite chlorination at 800 °C can be used to improve chromite concentrates. At this temperature and a reaction time of 2 h, more than 60% of iron was removed in the treatment of chromite concentrate. Chlorination at 1000 °C using diluted chlorine for a short time (<30 min) results in selective removal of iron and low chromium recovery. The Cr/Fe ratio can easily be increased to the required level. Aluminum chloride can be used as a chlorinating agent for chromite at about 800 °C. However, special care must be taken to control the oxygen pressure in the chlorination reactor. Between 900 °C and 1040 °C, the temperature coefficient of the reaction of chromite mineral with Cl2 varies with the degree of reaction. The average value of the apparent activation energy was about 112 kJ/mol for the reaction degrees up to 0.35. The chlorination process at a reaction degree higher than 0.4 proceeded with an Ea value of about 269 kJ/mol. The given chemical treatment by chlorination method is acceptable for chromium concentrates, while for ores and tailings it is necessary to remove magnesium in addition to iron.
In [17], a method was developed to selectively control and regulate the removal of Mg from chrome ore processing residues by roasting with (NH4)2SO4 and subsequent leaching with H2SO4. Co-existing Mg and Cr phases were found to bind the chrome ore processing residues, resulting in inadequate Cr recovery. In the process of selective control and control of Mg removal, 80 mmol of (NH4)2SO4 was added to the chrome ore processing residues, and the Mg removal rate reached 79.55% when the chrome ore processing residues were calcined.
In [18], the technology of mechanochemical beneficiation of chromite concentrates with 53.89% Cr2O3, obtained from the beneficiation of ores of the Tapasar deposit in Armenia, was proposed. Chromium minerals were mechano-activated in the presence of sodium and calcium chlorides. As a result, a final concentrate containing 77.23% Cr2O3 was obtained, which is used for the production of metallic chromium by aluminothermy. The undoubted merit of this work is the confirmation of the effectiveness of mechanochemical beneficiation in beneficiation processes specifically for chromite ores. The disadvantages of the proposed technology are the production of magnesium and iron chlorides, which are waste products.
The aim of this work is to develop a non-waste production technology for the complex processing of waste chrome ore gravity concentrations by chemical enrichment followed by gravity beneficiation to produce three products: chrome oxide concentrate, ammoshenite—used as a complex fertilizer—and forsterite, an additive for the production of magnesia-silicate refractories.

2. Materials and Methods

In order to study the chemical composition, a process sample of DOMBP slime tailings from the Dubersay tailings dump was collected. The resulting DOMBP slime tailings sample was pre-treated and separated according to a scheme involving several processing stages. The raw materials used for the chrome tailings chemical beneficiation process must be pre-treated. All materials are screened, and the lumps are first crushed and then also screened. An amount of 11.5 kg of slime tailings was obtained after preparation. Specific consumption of ammonium sulfate (NH4)2SO4, grade “cp” (chemically pure), was 678 g per 1 kg of the original sludge tails, sulfuric acid 94% H2SO4 grade “cp”—413 g/kg, sodium sulfate Na2SO4 grade “cp”—133 g/kg, and ammonia water NH4OH—0.3 g/kg.
After chemical beneficiation, the rich chrome-containing product (cake) was subjected to gravitational beneficiation in order to bring it to standard chrome concentrate. Preliminary classification into size classes was carried out on laboratory sieves—sieve analyzer GR-50 on sieves with metal mesh (Vibrotechnik LLC, Saint Petersburg, Russia). Gravity concentration of cake was performed on the laboratory concentration table KTs-51 (“Mekhanobr-Tekhnika”, Saint Petersburg, Russia).

Analysis Methods

X-ray experimental data were obtained with the help of a BRUKER D8 ADVANCE made by BRUKER AXS GmbH (Karlsruhe, Germany) with Cu-K° PDF2 International Center for Diffraction Data ICDD (Philadelphia, PA, USA) radiation at an accelerating voltage of 36 kV, current 25 mA.
X-ray fluorescence data, with the help of a Venus 200 wave dispersion spectrometer from “PANalytical”, Almelo, The Netherlands.
Chemical analysis of the samples was performed on Optima 8300 DV, an optical emission spectrometer with inductively coupled plasma (Waltham, MA, USA, Perkin Elmer Inc.).

3. Results and Discussion

Chemical enrichment tests on DOMBP’s slime tailings.
X-ray phase analysis of Dubersay tailing dump sludge (Figure 1) showed that there was a significant amount of magnesia chromite (Fe0.51Mg0.49)(Cr0.73Al0.27)2O4 (76.7%), and lyzardite-1T (Mg,Al)3((Si,Fe)2O5)(OH)4 (18.8%), clinochlor (Mg5Al)(Si,Al)4O10(OH)8 (3.0%) and vermiculite Mg3(Si,Al)4O10(OH)2·4H2O (1.9%) were present in significant quantities. Chemical analysis of sludge tailings, wt.%: 33.81 Cr2O3, 31.04 MgO, 8.01 Fe2O3, 11.7 SiO2. We have studied the processes of heat treatment and sulfurization, which weaken the bonds of chromium spinel and serpentinite minerals and leach part of the magnesium from the waste. Moreover, the heat treatment process allows you to dispose of the particles of the flocculant, which is added to accelerate the processes of pulp clarification after the gravitational beneficiation of chromium ore [19].
Thermal treatment of an averaged sample of sludge tailings was performed with an ST-1400 GX-V1 (Xinyu New Material Technology Co., Ltd., Shenzhen, China), a high-temperature rotary kiln at 1100 °C with a holding time of 60 min. After sintering, the weight loss of the tailings was 7.3%, and the yield of the product slurry was 92.7%. Further, the yields of chemical beneficiation products in% of initial slime tailings are given, which are summarized in Table 3.
During sintering, the weight loss of the tailings suspension is due to the loss of volatiles, so the chromium, magnesium and iron oxides content should increase. Chemical analysis of sludge tailings sinter, wt.%: 36.47 Cr2O3, 33.48 MgO, 9.1 Fe2O3, 12.15 SiO2.
Acid technologies with conversion of a certain amount of magnesium oxide into water-soluble compound were suggested for chrome spinel stripping. Thermal sulfatization included intensive mixing of sludge tailings with ammonium sulfate, sulfuric acid and water in a 1:0.76:0.14:0.14 ratio at a molar ratio in the mixture of ammonium sulfate and sulfuric acid equal to 4.16 in a BML-2 DAIHAN Laboratory Ball Mill (Daihan LabTech, Namyangju-City, Republic of Korea) for mixing and averaging the mixture composition. The mixture was then loaded into an ST-1400 GX-V1 rotary kiln at 300 °C with a time of 60 min (Figure 2). At this temperature, ammonium hydrosulfate is formed and begins to interact with magnesium and possibly with divalent iron in the chromite concentrate. For 10.66 kg of slurry tailings sintered after roasting, 76.4% of ammonium sulfate of “chemical pure” grade was taken. At 92.7% of the initial slurry tailings sample, 70.78% of the initial tailings sample was taken as ammonium sulfate “cp”.
The total amount of sulfate ion feed was calculated for MgO (31.03%) in the slurry tailings, taken in excess. This included sulfuric acid (94% concentration), 12.61% of the original, and water, 13.4% of the original, for charge averaging. The mass of the total mixture was 189.13% of the initial tailings.
After sulfatization, leaching of the spray mixture was carried out at 90 °C, L:S = 1:2.5 to produce a pulp having pH 6.7–7.5 at 40–50 °C. It is known that heating ammonium sulfate to 147 °C produces hydrosulfate, and above 147 °C ammonium sulfate decomposes to form ammonia NH3 and ammonium pyrosulfate (NH4)2S2O7, which in aqueous solutions is reduced to ammonium hydrosulfate, and the process speed decreases with solution dilution and the addition of metal sulfates [20,21]. When the temperature rises above 500 °C, ammonium hydrosulfate boils with decomposition into sulfuric anhydride, ammonia and water NH4HSO4 → NH3↑ + SO3↑ + H2O↑, so the sulfation temperature was chosen as 300 °C. It is likely that the ammonia released will interact with concentrated sulfuric acid during sulfatization to form ammonium sulfate:
2NH3 + H2SO4 = (NH4)2SO4
Thus, the formation of ammonium hydrosulfate is due to the interaction of sulfuric acid with ammonium sulfate as well as to the decomposition of ammonium sulfate. We considered the interaction of ammonium hydrosulfate with rock-forming and ore minerals in thermodynamic calculations.
The following reactions may occur during sulfatization [21]:
Cr2O3 + 6NH4HSO4 = Cr2(SO4)3 + 3(NH4)SO4 + 3H2O
Fe2O3 + 4NH4HSO4 = Fe2(SO4)3 + (NH4)SO4 + 2NH4OH + H2O
FeO + 2NH4HSO4 = FeSO4 + (NH4)SO4 + H2O
MgO + 2NH4HSO4 = MgSO4 + (NH4)SO4 + H2O
Al2O3 + 2NH4HSO4 = Al2(SO4)3 + (NH4)SO4 + 2NH4OH + H2O
Reactions (2), (3) and (6) are thermodynamically very weak.
For the formation of ammonium sulfate, the supplied amount of ammonium sulfate is sufficient because not all the magnesium is leached and remains in the cake as part of the forsterite and magnesia chromite.
The components were loaded into a ball mill for mixing and averaging the composition of the charge for sulfatization.
After thermal sulfation in the kiln, a leach product of 165.83% of the original tailings was obtained. The weight loss was 23.30%. Chemical analysis of the mixture with chromium sludge, wt.%: 20.4 Cr2O3, 18.72 MgO, 5.1 Fe2O3, 5.57 SiO2.
The mixture after sulfatization was leached with water. Leaching experiments were performed with a laboratory unit consisting of a 10 dm3 reactor (Belkamit LLP, city Almaty, Kazakhstan) with thermostatic fluid circulating between the double walls of the reactor jacket, a circulating thermostat (Belkamit LLP, Kazakhstan), maximum working temperature of 110 °C, temperature maintenance accuracy of ±2 °C and a VELP-PW top drive agitator (Velp Scientifica, Usmate Velate, Italy) for highly viscous liquid mixing, and the agitator speed was maintained at 300 rpm, motor power 0.25 kW.
The product was leached in water at 90 °C, S:L = 1:2.5 for 60 min after sulfation of 19.07 kg. Since filtration was poor, the sludge was settled, and then 47.675 kg of clarified solution was decanted. The solid part was diluted with water with the ratio S:L = 1:2 at 40–50 °C and filtered, and the mass of the washed water was 21.2 kg. The decanted filtrate of 45.1 kg and the washing water was combined, and this solution contained 0.005 g/dm3 Cr, 0.2 g/dm3 Fe and 5 g/dm3 Mg. Water-soluble chromium and iron almost negligibly transferred into the solution during thermal sulfatization with ammonium hydrosulfate formation.
The product after sulfation was leached in water at 90 °C, S:L = 1:2.5 for 60 min. As filtration was poor, the slurry was settled, and then the clarified solution was decanted. The solid part was diluted with water at a ratio of S:L = 1:2 led at 40-50 °C and filtered, and the mass of washed water was 21.2 kg. Filtrate after decantation in amount and washing water was combined, and this solution contained 0.005 g/dm3 Cr, 0.2 g/dm3 Fe and 5 g/dm3 Mg. During thermal sulfatization with the formation of ammonium hydrosulfate, water-soluble chromium and iron can appear, which practically do not pass into the solution. However, some amount of iron and chromium in the solution could be formed by the reactions:
Cr2O3 + 3H2SO4 = Cr2(SO4)3 + 3H2O
Fe2O3 + 3H2SO4 = Fe2(SO4)3 + 3H2O
The cake was obtained in an amount of 9.62 kg, the yield was 14.4% and the chemical composition wt.% is 39.7 Cr2O3, 17.4 MgO, 0.47 Fe2O3, 11.0 SiO2, after separation of the solid part and drying. X-ray phase analysis of the cake is shown in Figure 3.
The solution was then cleaned of chromium and iron with sulfuric acid to pH 2, and sodium sulfate was added to the solution under constant stirring. After 10 min, the pH of the solution was adjusted to pH 4-6 with ammonia water. The solution was filtered off to a purified filtrate and sludge. The purified solution was sent for evaporation to obtain ammoshenite, and the X-ray phase analysis is shown in Figure 4. The purified filtrate was evaporated at 100 °C. After evaporation, ammoshenite was obtained, the yield of which was 71.22% of the original tailings. The evaporated water can be returned to the cake wash. The chrome-containing cake was then sent to the next process, which is gravitation enrichment on the concentrator table to obtain chrome concentrate.
Thermal treatment of slurry tailings led to the destruction of the crystal lattice of the chromium spinel and serpentinite minerals, as well as to the removal of flocculant particles which were contained in the initial slurry tailings.
During the stripping of serpentinite minerals, magnesium leaching amounted to up to 30% of the initial content in the waste, which resulted in the formation of the mineral bussigothite along with ammoshenite.
Figure 5 shows pictures of the products obtained in the large-sized laboratory studies of chemical beneficiation of the Dubersay tailing dump.
Figure 6 shows a chemical beneficiation scheme of DOMBP tailings, with reagents added in kilograms per ton of feed tailings.
Thus, the product beneficiated in chromium with 39.7% Cr2O3 was obtained based on the large-sized laboratory tests of the chemical beneficiation. The chemical beneficiation yield of chromium oxide in the chrome-containing cake amounted to 98.23%. Ammoshenite with ammonium sulfate containing impurity components—insoluble residue of Cr2O3, 0.001% Fe2O3, 0.003% SiO2—which is a complex nitrogen–magnesium fertilizer, was also received.

Gravitational Beneficiation Tests for Chromium Product of Chemical Beneficiation of Chromium-Containing Cake

The resulting chrome-bearing cake with 39.70% Cr2O3 content needs to be upgraded to a final chrome concentrate of 48–50% Cr2O3. Of the traditional beneficiation methods, the gravity beneficiation method is the most acceptable since chromium minerals differ significantly under specific gravity conditions from waste rock minerals. Flotation of the chrome-containing cake is difficult due to the significant amount of fine waste-rock slurry.
Further tests should be performed with prior classification into narrower size classes based on the results of Cr2O3 mineralogical analysis and particle size distribution in the initial product before the chemical beneficiation [22,23,24,25].
The chromium-containing cake sample after chemical beneficiation was subjected to classification with 1 mm, 0.315 mm, 0.250 mm, 0.125 mm and 0.063 mm sieves prior to concentration table beneficiation tests. According to the sieve analysis results, the test scheme provided beneficiation only for the −1.00 + 0.315 mm and −0.315 + 0.250 mm classes, because the chromium oxide content in the fine classes was 49.45% Cr2O3, which corresponded to the conditioned chromium concentrate content. Table 1 shows the granulometric analysis data of the chromium-containing cake after chemical beneficiation.
The +1 mm class in quantity of 1.5% with a content of 37.63% should be reground and directed to the beneficiation process beginning or to the tailings because of such a small amount.
Gravitation beneficiation tests of the chemical beneficiation product (chrome cake) on the concentration table were performed for −1 + 0.315 mm, −0.315 + 0.250 mm fractions with the purpose to bring the chrome concentrate to condition quality.
The −0.250 + 0.125, −0.125 + 0.063 and −0.063 + 0.0 classes with chromium oxide contents of 46.03%, 49.58% and 51.35%, respectively, were finished concentrates.
The thinnest and lightest grades where there was no chromium oxide were washed in the water classification process [19,26,27,28].
This scheme will be simplified for industrial use in terms of classification into +1 mm classes in the tailings: −1 + 0.315 mm and −0.315 + 0.250 mm for beneficiation on the concentration table; −0.250 + 0.0 mm in the finished concentrate.
Figure 7 shows the scheme of the large-sized gravity beneficiation tests for the product after chemical beneficiation with the conditioned chromium concentrate that was obtained.
Summarized gravity concentration test results for the chemical beneficiation product (chromium-containing cake) are given in Table 2.
Common tailings after gravity concentration revealed forsterite, which is a good raw material for the production of refractories.
Figure 8, Figure 9, Figure 10 and Figure 11 show phase analyses of the gravity tailings obtained from gravity 1, 2, 3 and 4 batches of chromium-bearing tailings.
The phase analysis of the total gravity concentration tailings showed that the forsterite amount was 14–16%, and most of the 70–73% was magnesium aluminum chromium oxide (Al0.32Cr1.68)MgO4 minerals. Gravity concentration tailings were represented by forsterite to be used as an additive in the production of refractory bricks.
Table 3 shows the calculation of chromium and magnesium oxide balance based on the chemical beneficiation and gravitational beneficiation results of chromium-containing cake to conditioned chromium concentrate.

4. Conclusions

As a result of tests on chemical and gravitation beneficiation of chrome wastes, high Cr2O3 extraction was achieved (95.61%), obtaining conditioned chrome concentrate containing 49.48% Cr2O3 with a yield of 76.70%. The gravitational beneficiation scheme provided only two chrome concentrate classes finished to the required conditions: −1.0 + 0.315 and −0.315 + 0.250. The total extraction of chromium oxide from waste sludge tailings into chromium concentrate was 93.9%.
Integrated recycling of tailings from DOMBP’s beneficiation plants has made it possible to obtain chrome concentrate for ferrochrome production, ammoshenite, a complex nitrogen–magnesium fertilizer, and forsterite, an additive for refractory production with the recycling of slime tailings, occupying huge areas of tailings dams with a negative impact on the environment.

Author Contributions

Conceptualization, Y.T. and A.U.; methodology, N.S. (Nuriya Serzhanova) and N.S. (Nurzhan Sadykov); software, A.T. and Z.Y.; validation N.S. (Nuriya Serzhanova) and Z.Y.; verification and formal analysis, Y.T., A.U. and N.S. (Nuriya Serzhanova); resources, A.T., N.S. (Nuriya Serzhanova) and Z.Y.; data management and supervision, Y.T.; writing—reviewing and editing, A.U. and N.S. (Nuriya Serzhanova); project administration and acquisition of financing, Y.T. All authors have read and agreed to the published version of the manuscript.

Funding

This research is funded by the Science Committee of the Ministry of Science and Higher Education of the Republic of Kazakhstan, Grant Project No. AP09259594.

Data Availability Statement

The data and results presented in this study are available in the article.

Acknowledgments

We would like to thank the Ministry of Science and Higher Education of the Republic of Kazakhstan.

Conflicts of Interest

The authors declare no conflict of interest.

References

  1. Materials of the 1-st Kazakhstan International Congress on Mineral Resources and Metallurgy “Astana Minerals & Metallurgy-2010”. Available online: https://nomad.su/?a=3-201007010040 (accessed on 10 March 2023).
  2. Edilbaev, A.I. Development of a classification of solid technogenic metal-containing mineral formations of the mining and metallurgical complex. Min. Inf. Anal. Bulletin. 2012, 1, 335–338. Available online: https://cyberleninka.ru/article/n/razrabotka-klassifikatsii-tverdyh-tehnogennyh-metallosoderzhaschih-mineralnyh-obrazovaniy-gorno-metallurgicheskogo-kompleksa (accessed on 20 May 2023).
  3. Law of the Republic of Kazakhstan 27.12.2017 № 125-VI “On Subsoil and Subsoil Use” Code of the Republic of Kazakhstan. December 27, 2017. Available online: https://adilet.zan.kz/rus/docs/K1700000125 (accessed on 10 March 2023).
  4. Ultarakova, A.A.; Karshigina, Z.B.; Lokhova, N.G.; Yessengaziyev, A.M.; Kassymzhanov, K.K.; Tolegenova, S.S. Recovery of amorphous silica from waste dust of electrowinning of ilmenite concentrate. Metalurgija 2022, 61, 377–380. Available online: https://hrcak.srce.hr/265927 (accessed on 20 May 2023).
  5. Nafziger, R.H. A Review of the Deposits and Beneficiation of Lower-Grade Chromite. J. S. Afr. Inst. Min. Metall. 1982, 82, 205–226. Available online: https://www.saimm.co.za/Journal/v082n08p205.pdf (accessed on 14 March 2023).
  6. Abdykirova, G.; Temirova, S.; Kuldeyev, E.; Tastanova, A.; Bondarenko, I.; Semushkina, L. A study on the beneficiation ability of manganese-containing technogenic raw materials. Metalurgija 2022, 61, 265–268. Available online: https://hrcak.srce.hr/file/381670 (accessed on 14 March 2023).
  7. Competent Person’s Report on the Mineral Assets Fund of Kazchrome JSC, Kazakhstan, 1 January 2018, p. 146. Available online: https://kase.kz/files/emitters/KZCR/kzcr_subsoil_user_report.pdf (accessed on 14 March 2023).
  8. Grieco, G.; Pedrotti, M.; Moroni, M. Metamorphic redistribution of Cr within chromitites and its influence on chromite ore enrichment. Miner. Eng. 2011, 24, 102–107. [Google Scholar] [CrossRef]
  9. Lyakishev, N.P.; Gasik, M.I.; Dashevsky, V.Y. Ferroalloy Metallurgy. Part 1. Metallurgy of Silicon, Manganese and Chromium Alloys. Moscow, 2006. 117p. Available online: https://www.studentlibrary.ru/ru/book/2227-8397-2006-01.html (accessed on 17 March 2023).
  10. Technological Regulations Intended to Design a Treatment Plant for Sludge from DOMPP Beneficiation Plant with Obtaining of Chromium Oxide-Beneficiated Product and Magnesium-Containing Target Product; EMMRINM (VNIItsvetmet): Ust-Kamenogorsk, Kazakhstan, 2010; 49p.
  11. Bondarenko, I.V.; Tastanov, E.A.; Kenzhaliev, B.K.; Kuldeev, E.I.; Temirova, S.S. Patent RK 34533 Method for Processing Chromium-Containing Sludge, publ. 28.08.2020, bul. No. 34. Available online: https://gosreestr.kazpatent.kz/Invention/DownLoadFilePdf?patentId=315915&lang=ru (accessed on 20 May 2023).
  12. Abdulvaliyev, R.; Gladyshev, S.; Akhmadiyeva, K.; Beisembekova, O.; Omarova, A.; Manapova, I.; Ruzakhunova, S.; Kvyatkovskaya, N. Sulfuric Acid Treatment for the Production of Chromite Concentrates from Donskoy Ore-Mining and Beneficiation Plant Sludge Tailings. J. Sib. Fed. Univ. Chem. 2016, 9, 515–524. [Google Scholar] [CrossRef]
  13. Gladyshev, S.V.; Abdulvaliev, R.A.; Kenzhaliev, B.K.; Dyusenova, S.B.; Imangalieva, L.M. Development of a technology for producing chromite concentrate from sludge tailings. Complex Use Miner. Resour. 2018, 1, 12–17. Available online: http://kims-imio.kz/wp-content/uploads/2018/05/kims2018-1-14-19.pdf (accessed on 17 March 2023).
  14. Abdulvaliev, R.A.; Abdykirova, G.Z.; Diusenova, S.B.; Imangalieva, L.M. Beneficiation of chromite-containing sludge. J. Ore Benef. 2017, 6, 15–19. Available online: https://www.rudmet.ru/journal/1682/article/28905/ (accessed on 21 March 2023).
  15. Liu, Z.; Zheng, J.; Liu, W.; Liu, X.; Chen, Y.; Ren, X.; Ning, P.; Lin, Z. Identification of the key host phases of Cr in fresh chromite ore processing residue (COPR). Sci. Total Environ. 2020, 703, 135075. [Google Scholar] [CrossRef] [PubMed]
  16. Kanaria, N.; Gaballaha, I.; Allainb, E. Use of chlorination for chromite upgrading. Thermochim. Acta 2000, 351, 109–117. Available online: https://www.academia.edu/85286689/Use_of_chlorination_for_chromite_upgrading (accessed on 20 May 2023). [CrossRef]
  17. Zhang, J.; Xie, W.; Chu, S.; Liu, Z.; Wu, Z.; Lan, Y.; Galvita, V.V.; Zhang, L.; Su, X. Sufficient extraction of Cr from chromium ore processing residue (COPR) by selective Mg removal. J. Hazard. Mater. 2022, 440, 129754. [Google Scholar] [CrossRef] [PubMed]
  18. Martirosyan, V.A.; Aivazyan, A.A.; Sasuntsyan, M.E.; Talako, T.L. Study of Mechanochemical Beneficiation of Chromites in the Presence of Chlorides. Bull. State Eng. Univ. Armen. Metall. Mater. Sci. Subsoil Use 2012, 1(15), 29–36. Available online: https://www.researchgate.net/publication/303895652_Issledovanie_processov_mehanohimiceskogo_obogasenia_hromitov_v_prisutstvii_hloridov (accessed on 20 May 2023).
  19. Bondarenko, I.; Serzhanova, N.; Kuldeyev, Y.; Sadykov, N.; Tastanova, A. Beneficiation of chrome sludge tailings at donskoy mining and beneficiation plant (DMBP) JSC to produce hard pellets. Metalurgija 2022, 61, 767–770. Available online: https://hrcak.srce.hr/file/397149 (accessed on 20 May 2023).
  20. Zefirov, N.S.; Knunyants, I.L.; Kulov, N.N. Chemical Encyclopedia. Soviet Encyclopedia; Moscow. 1988, Volume 1, 283p. Available online: https://www.geokniga.org/bookfiles/geokniga-himicheskaya-enciklopediya-tom-1-abl-dar.pdf (accessed on 6 April 2023).
  21. Yulussov, S.B.; Kozlov, V.A.; Egorov, N.B.; Surkova, T.Y.; Itygina, D.R. Thermodynamic assessment of the interaction of the main components of polymetallic carbon-siliceous ores with ammonium hydrosulfate. In Proceedings of the XIII International Scientific and Practical Conference International Trends in Science and Technology, Warsaw, Poland, 31 May 2019; Volume 2, pp. 20–22. Available online: https://www.academia.edu/44348452/Proceedings_of_the_XIII_International_Scientific_and_Practical_Conference_International_Trends_in_Science_and_Technology_Vol_2_May_31_2019_Warsaw_Poland (accessed on 20 May 2023).
  22. Verkhoturov, M.V. Gravity Beneficiation Methods; MAKS Press: Moscow, Russia, 2006; 352p, Available online: https://www.geokniga.org/books/12967 (accessed on 11 April 2023).
  23. Burt, R.O. A review of gravity concentration techniques for Treatment fines. Production and Treatment of Fine Particles. In Proceedings of the International Symposium on the Production and Treatment of Fine Particles, Montreal, QC, Canada, 28–31 August 1988; pp. 375–385. [Google Scholar] [CrossRef]
  24. Murthy, Y.R.; Tripathy, S.K.; Kumar, C.R. Chrome ore beneficiation challenges & opportunities—A review. Miner. Eng. 2011, 24, 375–380. [Google Scholar] [CrossRef]
  25. Rama Murthy, Y.; Tripathy, S.K. Process optimization of a chrome ore gravity concentration plant for sustainable development. J. S. Afr. Inst. Min. Metall. 2020, 120, 261–268. [Google Scholar] [CrossRef]
  26. Guney, A.; Onal, G.; Atmaca, T. New Aspect of Chromite Gravity Tailingss Re-Treatment. Miner. Eng. 2001, 14, 1527–1530. [Google Scholar] [CrossRef]
  27. Cicek, T.; Cöcen, I. Applicability of Mozley multi-gravity separator (MGS) to fine hromite tailings of Turkish chromite concentrating plants. Miner. Eng. 2002, 15, 91–93. [Google Scholar] [CrossRef]
  28. Cheremisinoff, N.P. Handbook of Solid Waste Management and Waste Minimization Technologies. Chapter 7—Industry Practices; Elsevier Butterworth-Heinemann: Burlington, MA, USA, 2003; pp. 188–290. [Google Scholar] [CrossRef]
Figure 1. X-ray phase analysis of Dubersay tailing dump sludge.
Figure 1. X-ray phase analysis of Dubersay tailing dump sludge.
Processes 11 01659 g001
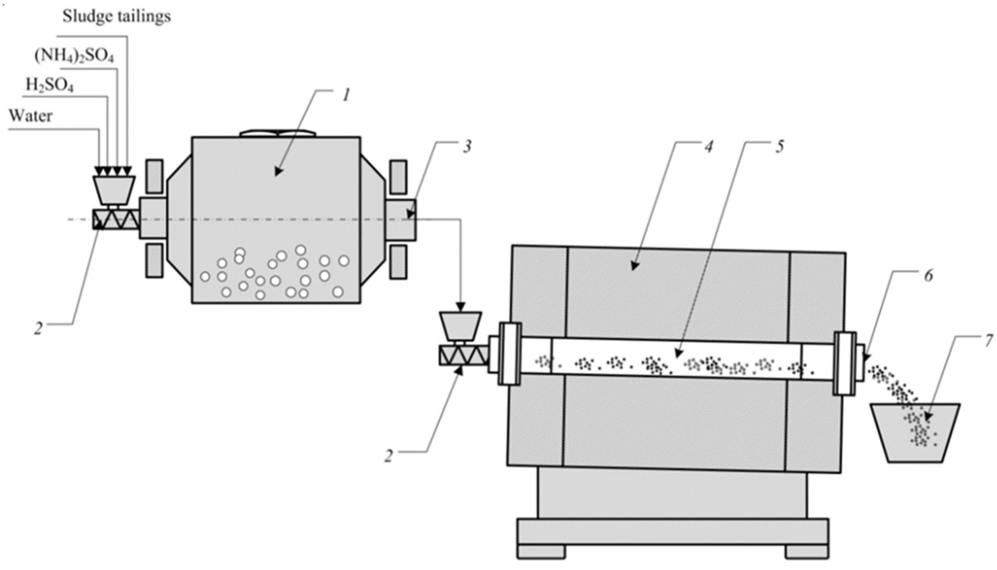
Figure 2. Schematic diagram of thermal sulfation of annealed chrome-containing waste: (1) BML-2 DAIHAN ball mill; (2) mill feeder; (3) mill discharge; (4) ST-1400 GX-V1 rotary kiln; (5) peck; (6) discharge; (7) Alundine pot.
Figure 2. Schematic diagram of thermal sulfation of annealed chrome-containing waste: (1) BML-2 DAIHAN ball mill; (2) mill feeder; (3) mill discharge; (4) ST-1400 GX-V1 rotary kiln; (5) peck; (6) discharge; (7) Alundine pot.
Processes 11 01659 g002
Figure 3. X-ray phase analysis of the cake.
Figure 3. X-ray phase analysis of the cake.
Processes 11 01659 g003
Figure 4. X-ray phase analysis of ammoshenite.
Figure 4. X-ray phase analysis of ammoshenite.
Processes 11 01659 g004
Figure 5. Photos of products: (a) chrome cakes and (b) ammoshenite from chemical processing of DOMPP tailings.
Figure 5. Photos of products: (a) chrome cakes and (b) ammoshenite from chemical processing of DOMPP tailings.
Processes 11 01659 g005
Figure 6. DOMBP’s sludge tailings chemical beneficiation scheme.
Figure 6. DOMBP’s sludge tailings chemical beneficiation scheme.
Processes 11 01659 g006
Figure 7. Scheme of the large-sized tests of gravity beneficiation of the product after chemical beneficiation.
Figure 7. Scheme of the large-sized tests of gravity beneficiation of the product after chemical beneficiation.
Processes 11 01659 g007
Figure 8. Diffractogram and phase analysis of 1 batch of gravity tails.
Figure 8. Diffractogram and phase analysis of 1 batch of gravity tails.
Processes 11 01659 g008
Figure 9. Diffractogram and phase analysis of 2 batches gravity tails.
Figure 9. Diffractogram and phase analysis of 2 batches gravity tails.
Processes 11 01659 g009
Figure 10. Diffractogram and phase analysis of 3 batches of gravity tails.
Figure 10. Diffractogram and phase analysis of 3 batches of gravity tails.
Processes 11 01659 g010
Figure 11. Diffractogram and phase analysis of 4 batches of gravity tails.
Figure 11. Diffractogram and phase analysis of 4 batches of gravity tails.
Processes 11 01659 g011
Table 1. Results of particle size analysis for the chemical beneficiation product.
Table 1. Results of particle size analysis for the chemical beneficiation product.
Name of the ProductYield, %Content of Cr2O3, %
+1.000 mm class1.5037.63
−1.00 + 0.315 mm class10.4238.07
−0.315 + 0.250 mm class2.9037.19
−0.250 + 0.125 mm class15.7646.03
−0.125 + 0.063 mm class26.4949.58
−0.063 + 0.000 mm class26.6551.35
Sludges16.270.08
Initial product100.0039.70
Table 2. Summary results of large-sized laboratory tests on gravity beneficiation of chrome-containing chemical beneficiation product.
Table 2. Summary results of large-sized laboratory tests on gravity beneficiation of chrome-containing chemical beneficiation product.
Name of the ProductYield from Original Chromium Cake, %Content of Cr2O3, %Extraction from the Original Chromium-Containing Cake Cr2O3, %
Classification
−0.250 + 0.125 class15.7646.0318.28
−0.125 + 0.063 class26.4949.5833.09
−0.063 + 0.00 class26.6551.3534.47
+1.0 class1.5037.631.43
Sludges16.270.050.03
Beneficiation of −1.00 + 0.315 class on the concentration table
Concentrate6.0050.007.56
Tailings4.4221.872.44
Initial feed of−1.00 + 0.315 cl.10.4238.079.99
Beneficiation of −0.315 + 0.250 class on the concentration table class on the concentration table
Concentrate1.8049.002.22
Tailings1.1017.920.50
Initial feed of −0.315 + 0.250 class2.9037.192.72
Total Concentrate76.7049.4895.61
Total Tailings23.307.484.39
Initial product (chrome-containing cake)10039.70100.00
Table 3. Material balance of large-sized laboratory tests of chemical and gravity beneficiation of chrome tailings.
Table 3. Material balance of large-sized laboratory tests of chemical and gravity beneficiation of chrome tailings.
Operation/ProductYield from the Initial One, %Content, %Recovery, %
Cr2O3MgOCr2O3MgO
Heat treatment 1100° for 60 min
Initial raw materials (DOMBP slurry tailings)100.0033.8131.04100100
 Sinter92.7036.4733.48100100
 Fugitive losses (vapors, gases)7.30
Sulfation 300° for 60 min
 Sinter92.7036.4733.48100100
Water13.04
Ammonium sulfate70.78
Sulfuric acid12.61
Total for sulfation189.1317.8816.41100100
Mixture after sulfation165.8320.3918.72
Fugitive losses (vapors, gases)23.30
Leaching
water414.57
Decanting with washing580.39
Cake containing chromium83.6539.717.44298.2347.01
Filtrate (content of g/L)391.960.9117.21.7752.99
Wash water104.78
Crystallization of the filtrate
Ammoshenite with ammonium sulfate71.22н/o22.181.6350.9
Sediment cleaning solution10.960.75.930.152.09
Evaporated water415.00
Gravity beneficiation
Chromium oxide concentrate64.1749.4813.3993.927.68
Tailings beneficiation (forsterite)19.497.4830.794.3119.33
Disclaimer/Publisher’s Note: The statements, opinions and data contained in all publications are solely those of the individual author(s) and contributor(s) and not of MDPI and/or the editor(s). MDPI and/or the editor(s) disclaim responsibility for any injury to people or property resulting from any ideas, methods, instructions or products referred to in the content.

Share and Cite

MDPI and ACS Style

Tastanov, Y.; Serzhanova, N.; Ultarakova, A.; Sadykov, N.; Yerzhanova, Z.; Tastanova, A. Recycling of Chrome-Containing Waste from a Mining and Processing Plant to Produce Industrial Products. Processes 2023, 11, 1659. https://doi.org/10.3390/pr11061659

AMA Style

Tastanov Y, Serzhanova N, Ultarakova A, Sadykov N, Yerzhanova Z, Tastanova A. Recycling of Chrome-Containing Waste from a Mining and Processing Plant to Produce Industrial Products. Processes. 2023; 11(6):1659. https://doi.org/10.3390/pr11061659

Chicago/Turabian Style

Tastanov, Yerbulat, Nuriya Serzhanova, Almagul Ultarakova, Nurzhan Sadykov, Zhadyra Yerzhanova, and Aisha Tastanova. 2023. "Recycling of Chrome-Containing Waste from a Mining and Processing Plant to Produce Industrial Products" Processes 11, no. 6: 1659. https://doi.org/10.3390/pr11061659

APA Style

Tastanov, Y., Serzhanova, N., Ultarakova, A., Sadykov, N., Yerzhanova, Z., & Tastanova, A. (2023). Recycling of Chrome-Containing Waste from a Mining and Processing Plant to Produce Industrial Products. Processes, 11(6), 1659. https://doi.org/10.3390/pr11061659

Note that from the first issue of 2016, this journal uses article numbers instead of page numbers. See further details here.

Article Metrics

Back to TopTop