Stability Analysis and Network Topology Optimization of Multi-Agent Systems for Material Transport in Industrial Parks
Abstract
1. Introduction
- We establish a network topology analysis model for the stability of MAS, which considers the characteristics of wireless communication, including channel fading, antenna transmit power and networking mode. Based on these factors, the adjacency matrix representing the inter-AGVs network and the connectivity between the leader and the base station is defined. In addition, the communication delay in the whole control process is considered more comprehensively. We design the control flow, and verify the influence of the channel environment on network topology and system performance.
- The stability analysis model of the multi-agent cooperative system is established. Based on the background of material transport and processing in industrial parks with swarm robots, AGV groups with the same task are defined as a cluster, and information interaction between clusters is carried out through MEC. While controlling the relative distance of AGVs in the cluster, we also introduce artificial potential field function to plan the potential field relationship between each node, and obtain the dynamic equation of AGVs. Thus, we can obtain the stability analysis model within the cluster. Then the stability conditions are derived by the Lyapunov correlation theorem and verified by simulation.
- Finally, since the second smallest eigenvalue of the Laplacian matrix of the formation topology adjacency matrix is an important index affecting the control stability of the system, the topology optimization is carried out by maximizing the second smallest eigenvalue of the Laplacian operator. Then, the optimal topology including AGVs and MEC in the industrial Internet environment is obtained by combining the scenario and channel environment.
2. Related Works
3. System Models
3.1. Connectivity Topology Model of Multi-AGV Communication Network
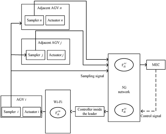
3.2. Delay Analysis of MAS within a Cluster
- The AGV sends information to neighboring nodes through the sampler, and then to the MEC through the leader. After receiving the data packet, the neighbor nodes also transmit their location information from their own samplers to the leader through Wi-Fi, and then transmits it to the MEC through 5G for calculation. So, it is necessary to queue, MEC again after the calculation and then send the control signals to the leader. There is a queuing delay in MEC during this process.
- The latency in the process of MEC transmitting the calculated control signals to the leader controller through 5G network.
- The leader’s controller also needs to transmit the control signals to the internal actuators of AGVs through Wi-Fi, and this process also contains time delay.
4. Stability Analysis of MAS
4.1. Stability Aalysis of MAS within a Cluster
4.1.1. Design of Governing Equations
4.1.2. Constructing the Lyapunov Function
4.1.3. Calculation of System Stability Conditions
4.2. Stability Analysis of Systems Considering Information Interaction between Leaders
5. Network Topology Optimization for the Stability of MAS
6. Simulations and Performance Evaluation
6.1. Performance Evaluation of AGVs within a Single Cluster
6.2. Performance Evaluation of AGVs in Inter-Clusters
6.3. Performances of Network Topology Optimization
7. Conclusions
Author Contributions
Funding
Data Availability Statement
Conflicts of Interest
References
- Liu, H.; Fang, H.; Mao, Y.; Cao, H.; Jia, R. Distributed flocking control and obstacle avoidance for multi-agent systems. In Proceedings of the 29th Chinese Control Conference, Beijing, China, 29–31 July 2010; pp. 4536–4541. [Google Scholar]
- Yin, Y.; Shi, Y.; Liu, F.; Teo, K.L.; Wang, S. Second-Order Consensus for Heterogeneous MASs with Input Constraints. Neurocomputing 2019, 351, 43–50. [Google Scholar] [CrossRef]
- Xie, D.; Chen, J. Consensus problem of data-sampled networked multi-agent systems with time-varying communication delays. Trans. Inst. Meas. Control. 2013, 35, 753–763. [Google Scholar] [CrossRef]
- Wang, C.; Zuo, Z.; Sun, J.; Yang, J.; Ding, Z. Consensus disturbance rejection for Lipschitz nonlinear multi-agent systems with input delay: ADOBC approach. J. Frankl. Inst. 2017, 354, 298–315. [Google Scholar] [CrossRef]
- Iqdal, M.; Kolios, X.; Polycarpou, M. Finite- and Fixed-Time Consensus Protocols for Multi-Agent Systems with Time-Varying Topologies. IEEE Control. Syst. Lett. 2022, 6, 1568–1579. [Google Scholar]
- Gong, Y.; Wen, G.; Peng, Z.; Huang, T.; Chen, Y. Observer-Based Time-Varying Formation Control of Fractional-Order Multi-Agent Systems with General Linear Dynamics. IEEE Trans. Circ. Syst. Express Briefs 2020, 67, 82–86. [Google Scholar] [CrossRef]
- Ge, S.S.; Liu, X.; Goh, C.-H.; Xu, L. Formation Tracking Control of Multi-Agents in Constrained Space. IEEE Trans. Control. Syst. Technol. 2019, 24, 992–1003. [Google Scholar] [CrossRef]
- Zhao, P. Design of UAV Formation and Obstacle Avoidance Control System Based on Virtual Navigator. Master’s Dissertation, University of Electronic Science and Technology of China, Chengdu, China, 2021. [Google Scholar]
- Yun, W.J.; Park, S.; Kim, J.; Shin, M.; Jung, S.; Mohaisen, D.A.; Kim, J.H. Cooperative Multiagent Deep Reinforcement Learning for Reliable Surveillance via Autonomous Multi-UAV Control. IEEE Trans. Ind. Inform. 2022, 18, 7086–7096. [Google Scholar] [CrossRef]
- Ding, L.; Zheng, W. Network-Based Practical Consensus of Heterogeneous Nonlinear Multi-Agent Systems. IEEE Trans. Cybern. 2017, 47, 1841–1851. [Google Scholar] [CrossRef] [PubMed]
- Hao, L. UAV formation Algorithm under Multi-Path Channel Based on Communication Topology Optimization. Master’s Dissertation, Harbin Institute of Technology, Harbin, China, 2019. [Google Scholar]
- Sarafraz, M.S.; Tavazoei, M.S. A Unified Optimization-Based Framework to Adjust Consensus Convergence Rate and Optimize the Network Topology in Uncertain Multi-Agent Systems. IEEE/CAA J. Autom. Sin. 2021, 8, 1539–1548. [Google Scholar] [CrossRef]
- Shannon, C.A. Claude E. Shannon: Collected Papers; Wiley-IEEE Press: Hoboken, NJ, USA, 1993. [Google Scholar]
- Reynolds, C. Flocks, Herds and Schools: A Distributed Behavioral Model. Comput. Graph. 1987, 21, 25–34. [Google Scholar] [CrossRef]
- Han, Q. Absolute stability of time-delay systems with sectorbounded nonlinearity. Automatica 2005, 41, 2171–2176. [Google Scholar] [CrossRef]
- Park, P.; Ko, J.W.; Jeong, C. Reciprocally convex approach to stability of systems with time-varying delays. Automatica 2011, 47, 235–238. [Google Scholar] [CrossRef]
- Kim, Y.; Mesbahi, M. On maximizing the second smallest eigenvalue of a state-dependent graph Laplacian. IEEE Trans. Autom. Control. 2006, 51, 116–120. [Google Scholar] [CrossRef]












| Parameters | Meaning | Value |
|---|---|---|
| n | Path loss index | 2.5 |
| Transmit power between agents i and j (dB) | 20 | |
| Antenna gain between agents i and j (dBi) | 16 | |
| Minimum signal-to-noise ratio threshold (dB) | 2 | |
| Noise power (W) | 0.04 | |
| Upper bound on time delay (s) | 0.02 | |
| h | AGVs internal sampler sampling interval (s) (dB) | 0.01 |
| Lower bound on time delay (s) | 0.005 | |
| Maximum velocity of AGVs in the x and y directions (m/s) | 0.5 | |
| N | Number of AGVs | 6 |
| Target point | [10, 8] | |
| Position of obstacle | [5, 2.3; 4, 9] | |
| h | AGVs internal sampler sampling interval (s) (dB) | 0.01 |
| Initial position | [−4, −1.5; −2, −2.5; −3, −2.4; −2.5, −4; −1, −4.5; −0.5, −3] | |
| Threshold distance between AGVs to trigger obstacle avoidance (m) | 1.5 | |
| Threshold distance between AGVs and obstacle to trigger obstacle avoidance (m) | 1.5 | |
| r | Maximum communication radius between AGVs (m) | 5.5 |
| Ideal relative position of AGVs and Leader | [−1.5, 1.5; 1.5, 1.5; −3, 0; −1.5, −1.5; 1.5, −1.5; 0, 0] |
Disclaimer/Publisher’s Note: The statements, opinions and data contained in all publications are solely those of the individual author(s) and contributor(s) and not of MDPI and/or the editor(s). MDPI and/or the editor(s) disclaim responsibility for any injury to people or property resulting from any ideas, methods, instructions or products referred to in the content. |
© 2023 by the authors. Licensee MDPI, Basel, Switzerland. This article is an open access article distributed under the terms and conditions of the Creative Commons Attribution (CC BY) license (https://creativecommons.org/licenses/by/4.0/).
Share and Cite
Fei, J.; Zhang, L.; Zhu, X.; Wu, Y. Stability Analysis and Network Topology Optimization of Multi-Agent Systems for Material Transport in Industrial Parks. Processes 2023, 11, 1276. https://doi.org/10.3390/pr11041276
Fei J, Zhang L, Zhu X, Wu Y. Stability Analysis and Network Topology Optimization of Multi-Agent Systems for Material Transport in Industrial Parks. Processes. 2023; 11(4):1276. https://doi.org/10.3390/pr11041276
Chicago/Turabian StyleFei, Jichao, Linfeng Zhang, Xiaorong Zhu, and Yiming Wu. 2023. "Stability Analysis and Network Topology Optimization of Multi-Agent Systems for Material Transport in Industrial Parks" Processes 11, no. 4: 1276. https://doi.org/10.3390/pr11041276
APA StyleFei, J., Zhang, L., Zhu, X., & Wu, Y. (2023). Stability Analysis and Network Topology Optimization of Multi-Agent Systems for Material Transport in Industrial Parks. Processes, 11(4), 1276. https://doi.org/10.3390/pr11041276

