Research on Wear Characteristics and Experiment on Internal Through-Passage Components for a New Type of Deep-Sea Mining Pump
Abstract
:1. Introduction
2. Methods: Hydraulic Performance Test and Verification Analysis
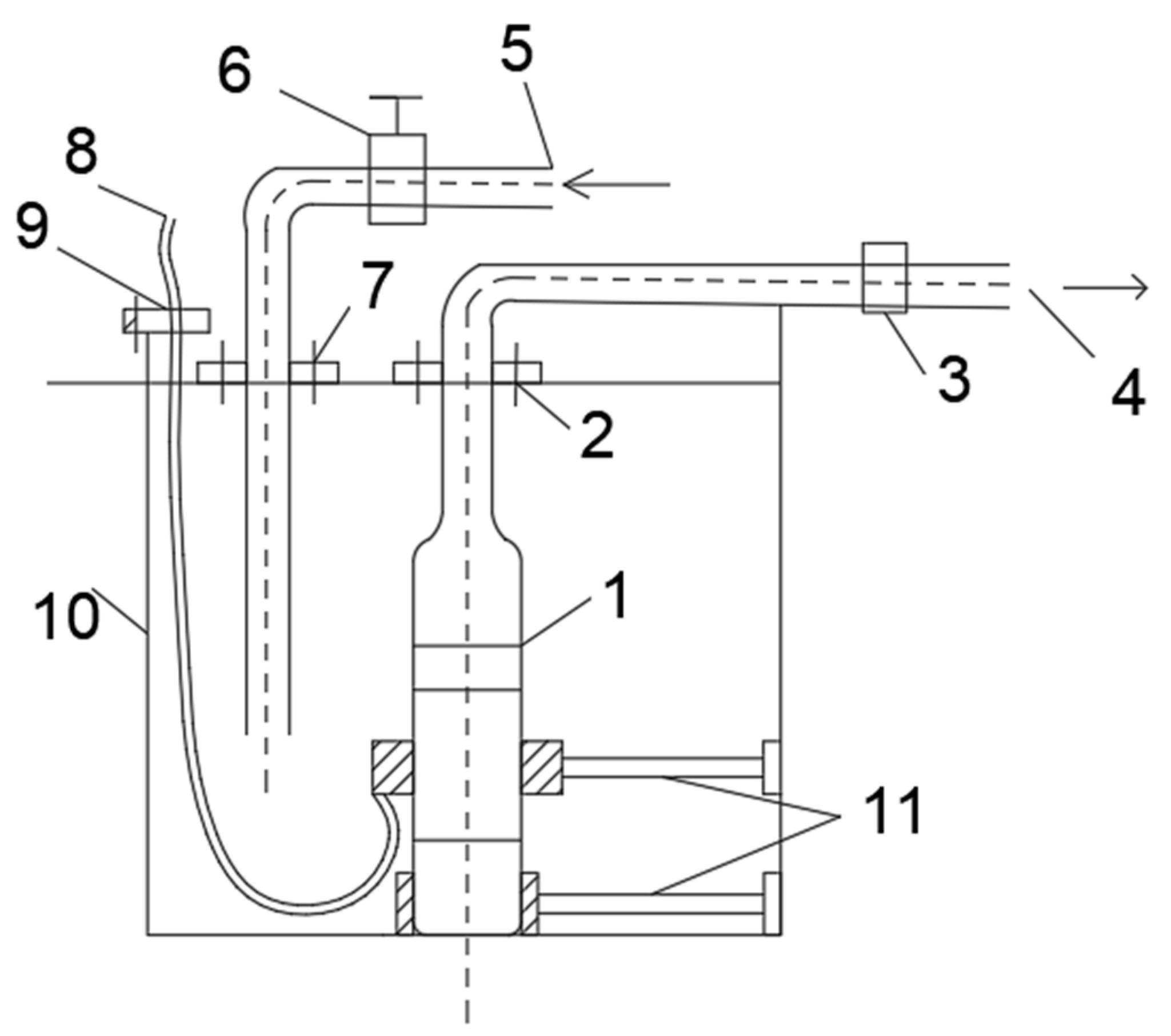
2.1. Mining Pump Structure
2.2. Hydraulic Performance Test
2.3. Comparative Analysis of Performance Test Results and Numerical Simulations
3. Theory: 3D Model and Numerical Computation Strategy
3.1. Three-Dimensional (3D) Model
3.2. Numerical Computational Method
3.3. Boundary Condition Setting
3.4. Selection of Wear Model
- : erosion rate;
- : particle size function of the solid-phase particles;
- : impact angle between the particle and the wall;
- : function of the impact angle;
- : relative velocity between the particle and the wall, m/s;
- : function of the relative velocity between the particle and the wall;
- : unit surface area of the wall, mm2;
- : the number of particles impacting the cell surface area;
- : mass of a single particle;
- : particle size;
- : number of particles.
4. Results: Wear Characteristic Analysis of Mining Pump
4.1. Impact of Solid-Phase Particle Parameters on Mining Pump Wear
4.1.1. The Impact of Different Particle Sizes
4.1.2. The Impact of Particle Volume Concentration
4.1.3. The Impact of Particle Density
4.2. Impact of Operating Conditions on Mining Pump Wear
4.2.1. The Impact of Different Flow Conditions
4.2.2. Impact of Different Revolution Speed Conditions
5. Test: Wear Model Verification
5.1. Test Principle
5.2. Comparative Analysis of Results
6. Conclusions
Author Contributions
Funding
Institutional Review Board Statement
Informed Consent Statement
Data Availability Statement
Conflicts of Interest
References
- Nishi, Y. Static analysis of axially moving cables applied for mining nodules on the deep seafloor. Appl. Ocean. Res. 2012, 34, 45–51. [Google Scholar] [CrossRef]
- Sharma, R. Deep-Sea Mining; Springer International Publishing: Cham, Switzerland, 2017. [Google Scholar]
- Li, Y.W.; Liu, S.J.; Hu, X.Z. Rotating speed’s influence on performance of deep-sea lifting motor pump based on DEM-CFD. Mar. Georesour. Geotecnol. 2019, 37, 979–988. [Google Scholar] [CrossRef]
- Kang, Y.; Liu, S.; Zou, W.; Zhao, H.; Hu, X. Design and analysis of an innovative deep-sea lifting motor pump. Appl. Ocean Res. 2019, 82, 22–31. [Google Scholar] [CrossRef]
- Liu, S.J.; Liu, C.; Dai, Y. Status and progress on research and development of deep ocean mining equipment. J. Mech. Eng. 2014, 50, 8–18. [Google Scholar] [CrossRef]
- Clark, H.M. Particle velocity and size effects in laboratory slurry erosion measurements OR…do you know what your particles are doing? Tribol. Int. 2002, 35, 617–624. [Google Scholar] [CrossRef]
- Dong, X.; Zhang, H.L.; Wang, X.Y. Finite element analysis of wear for centrifugal slurry pump. Procedia Earth Planet. Sci. 2009, 1, 1532–1538. [Google Scholar]
- Tarodiya, R.; Gandhi, B.K. Hydraulic performance and erosive wear of centrifugal slurry pumps—A review. Powder Technol. 2017, 305, 27–38. [Google Scholar] [CrossRef]
- Noon, A.A.; Kim, M.H. Erosion wear on centrifugal pump casing due to slurry flow. Wear 2016, 364–365, 103–111. [Google Scholar] [CrossRef]
- Wang, Z.; Qian, Z. Effects of concentration and size of silt particles on the performance of a double-suction centrifugal pump. Energy 2017, 123, 36–46. [Google Scholar] [CrossRef]
- Huang, X.B. Numerical simulation of prediction in centrifugal pump based on particle track model. Trans. Chin. Soc. Agric. Mach. 2016, 47, 35–41. [Google Scholar]
- Pagalthivarthi, K.V.; Gupta, P.K.; Tyagi, V.; Ravi, M.R. CFD prediction of erosion wear in centrifugal slurry pumps for dilute slurry flows. J. Comput. Multiph. Flows 2011, 3, 225–245. [Google Scholar] [CrossRef] [Green Version]
- Xu, H.; Zhou, Y.; Yang, F.; Wu, B. Analysis on influences of feeding flow rate on flow characteristics in deep-sea ore hydraulic transport equipment. J. Drain. Irrig. Mach. Eng. 2019, 37, 618–624. [Google Scholar]
- Zhou, L.; Han, C.; Bai, L.; Li, W.; El-Emam, M.A.; Shi, W. CFD-DEM bidirectional coupling simulation and experimental investigation of particle ejections and energy conversion in a spouted bed. Energy 2020, 211, 118672. [Google Scholar] [CrossRef]
- Walker, C.I.; Robbie, P. Comparison of some laboratory wear tests and field wear in slurry pumps. Wear 2013, 302, 1026–1034. [Google Scholar] [CrossRef]
- Serrano, R.O.; Santos, L.P.; de Faria Viana, E.M.; Pinto, M.A.; Martinez, C.B. Case study: Effects of sediment concentration on the wear of fluvial water pump impellers on Brazil’s Acre River. Wear 2018, 408–409, 131–137. [Google Scholar] [CrossRef]
- Sugiyama, K.; Nagasaka, H.; Enomoto, T.; Hattori, S. Prediction of wear depth distribution by slurry on a pump impeller. Int. J. Fluid Mach. Syst. 2009, 2, 21–30. [Google Scholar] [CrossRef] [Green Version]
- Peng, G.; Huang, X.; Zhou, L.; Zhou, G.; Zhou, H. Solid-liquid two-phase flow and wear analysis in a large-scale centrifugal slurry pump. Eng. Fail. Anal. 2020, 114, 104602. [Google Scholar] [CrossRef]
- Khalid, Y.A.; Sapuan, S.M. Wear analysis of centrifugal slurry pump impellers. Ind. Lubric. Tribol. 2007, 59, 18–28. [Google Scholar] [CrossRef]
- Lopez, A.; Stickland, M.; Dempster, W. Modeling erosion in a centrifugal pump in a Eulerian-Lagrangian frame using OpenFOAM. Open Eng. 2015, 5, 105–124. [Google Scholar] [CrossRef]
- Gandhi, B.K.; Singh, S.N.; Seshadri, V. Effect of speed on the performance characteristics of a centrifugal slurry pump. J. Hydraul. Eng. 2002, 182, 225–233. [Google Scholar] [CrossRef]
- Meng, H.C.; Ludema, K.C. Wear models and predictive equations: Their form and content. Wear 1995, 181, 443–457. [Google Scholar] [CrossRef]
- Bross, S.; Addie, G. Prediction of impeller nose wear behaviour in centrifugal slurry pumps. Exp. Therm. Fluid Sci. 2002, 26, 841–849. [Google Scholar] [CrossRef]
- Liao, J.; Lai, X.; Liao, G.; Zhang, W. Numerical analysis of internal flow field of centrifugal pump based on solid-liquid two-phase flow. Therm. Power Eng. 2017, 32, 95–99+139–140. [Google Scholar]
- Wang, J.; Jiang, W.; Kong, F.; Qu, X.; Su, X. Numerical simulation of solid-liquid two-phase flow field in centrifugal pump based on particle model. J. Drain. Irrigat. Mach. Eng. 2013, 31, 846–850+878. [Google Scholar]
- Kadambi, J.R.; Charoenngam, P.; Subramanian, A.; Wernet, M.P.; Sankovic, J.M.; Addie, G.; Courtwright, R. Investigations of particle velocities in a slurry pump using PIV: Part 1, the tongue and adjacent channel flow. J. Energy Res. Technol. 2004, 126, 271–278. [Google Scholar] [CrossRef]
- Han, W.; Li, X.; Su, M.; Li, R.; Chen, H. Pressure fluctuation of solid-liquid flow in stator and rotor cascades of pump as turbine. J. Drain. Irrig. Mach. Eng. 2018, 36, 99–103. [Google Scholar]
- Su, X.; Huang, S.; Zhang, X.; Yang, S. Numerical research on unsteady flow rate characteristics of pump as turbine. Renew. Energy 2016, 94, 488–495. [Google Scholar] [CrossRef]
- Zhou, L.; Deshpande, K.; Zhang, X.; Agarwal, R.K. Process simulation of Chemical Looping Combustion using ASPEN Plus for a mixture of biomass and coal with various oxygen carriers. Energy 2020, 195, 116955. [Google Scholar] [CrossRef]
- Tarodiya, R.; Gandhi, B.K. Effect of particle size distribution on performance and particle kinetics in a centrifugal slurry pump handling multi-size particulate slurry. Adv. Powder Technol. 2020, 31, 4751–4767. [Google Scholar] [CrossRef]
- Zhong, Y.; Minemura, K. Measurement of erosion due to particle impingement and numerical prediction of wear in pump casing. Wear 1996, 199, 36–44. [Google Scholar] [CrossRef]
- Shen, Z.; Li, R.; Han, W.; Quan, H.; Guo, R. Erosion wear on impeller of double-suction centrifugal pump due to sediment flow. J. Appl. Fluid Mech. 2020, 13, 1134–1142. [Google Scholar]
- Zhao, R.J.; Zhao, Y.L.; Zhang, D.S.; Li, Y.; Geng, L.L. Numerical Investigation of the Characteristics of Erosion in a Centrifugal Pump for Transporting Dilute Particle-Laden Flows. J. Mar. Sci. Eng. 2021, 9, 961. [Google Scholar]
- Kökpınar, M.A.; Göğüş, M. Critical flow velocity in slurry transporting horizontal pipelines. J. Hydraul. Eng. 2001, 127, 763–771. [Google Scholar]
- ASTM G40; Standard Terminology Relating to Wear and Erosion; Annual Book of ASTM Standards; ASTM: West Conshohocken, PA, USA, 2015.
- Shen, Z.; Chu, W.; Li, X.; Dong, W. Sediment erosion in the impeller of a double-suction centrifugal pump-A case study of the Jingtai Yellow River Irrigation Project. Wear 2019, 422–423, 269–279. [Google Scholar]
- Peng, G.; Fan, F.; Zhou, L.; Huang, X.; Ma, J. Optimal hydraulic design to minimize erosive wear in a centrifugal slurry pump impeller. Eng. Fail. Anal. 2021, 120, 105105. [Google Scholar] [CrossRef]
- Peng, G.; Chen, Q.; Bai, L.; Hu, Z.; Zhou, L.; Huang, X. Wear mechanism investigation in a centrifugal slurry pump impeller by numerical simulation and experiments. Eng. Fail. Anal. 2021, 128, 105637. [Google Scholar]
- Tarodiya, R.; Gandhi, B.K. Numerical simulation of a centrifugal slurry pump handling solid-liquid mixture: Effect of solids on flow field and performance. Adv. Powder Technol. 2019, 30, 2225–2239. [Google Scholar] [CrossRef]
- Song, X.; Yao, R.; Shen, Y.; Bi, H.; Zhang, Y.; Du, L.; Wang, Z. Numerical Prediction of Erosion Based on the Solid-Liquid Two-Phase Flow in a Double-Suction Centrifugal Pump. J. Mar. Sci. Eng. 2021, 9, 836. [Google Scholar]






























| Parameter | Value | |
|---|---|---|
| Impeller | Inlet diameter/mm | 216.8 |
| Outlet diameter/mm | 440 | |
| No. of blades | 3 | |
| Blade wrap angle/° | 140 | |
| Outlet placement angle/° | 28 | |
| Outlet width/mm | 61 | |
| Outlet inclination angle/° | 10 |
| b | c | x | y | w | z |
|---|---|---|---|---|---|
| −13.3 | 7.85 | 1.09 | 0.125 | 1 | 1 |
Publisher’s Note: MDPI stays neutral with regard to jurisdictional claims in published maps and institutional affiliations. |
© 2021 by the authors. Licensee MDPI, Basel, Switzerland. This article is an open access article distributed under the terms and conditions of the Creative Commons Attribution (CC BY) license (https://creativecommons.org/licenses/by/4.0/).
Share and Cite
Hong, S.; Hu, X. Research on Wear Characteristics and Experiment on Internal Through-Passage Components for a New Type of Deep-Sea Mining Pump. Processes 2022, 10, 58. https://doi.org/10.3390/pr10010058
Hong S, Hu X. Research on Wear Characteristics and Experiment on Internal Through-Passage Components for a New Type of Deep-Sea Mining Pump. Processes. 2022; 10(1):58. https://doi.org/10.3390/pr10010058
Chicago/Turabian StyleHong, Shunjun, and Xiaozhou Hu. 2022. "Research on Wear Characteristics and Experiment on Internal Through-Passage Components for a New Type of Deep-Sea Mining Pump" Processes 10, no. 1: 58. https://doi.org/10.3390/pr10010058
APA StyleHong, S., & Hu, X. (2022). Research on Wear Characteristics and Experiment on Internal Through-Passage Components for a New Type of Deep-Sea Mining Pump. Processes, 10(1), 58. https://doi.org/10.3390/pr10010058
