Support of the SDGs as a New Approach to Financial Risk Management in Responsible Universities in Russia
Abstract
1. Introduction
2. Literature Review
2.1. The Existing Approach to Financial Risk Management in Responsible Universities in Russia
- Risk of the reduction in the total financing of the activities of universities, whose structure is based on state financing from the national budget (Chairassamee and Hean 2023; Turginbayeva and Domalatov 2019);
- Risk of the reduction in extra-budgetary financing of universities’ activities from the funds of private investors: consumers (individual and corporate) services of higher education and B2B consumers of university innovations and technologies (Litvinova 2022; Moll 2023).
2.2. Support of the SDGs in Responsible Universities: International Practice and Russian Experience
- The state for the effectiveness of spending the provided budget funds and for the economic, environmental, and social consequences of universities’ activities and practical implementation of the created innovations (Dyrstad et al. 2024; Thawesaengskulthai et al. 2024);
- Private investors for the quality and affordability of educational and research services that are provided by universities (Hahn et al. 2024; Khasanov et al. 2019).
3. Materials and Methods
- Level of implementation of the SDGs (Resp), score 1–100 (according to THE 2024);
- Educational activity (Ex1): “Average score of the Unified State Examination of accepted students”, score 1–100 (according to MIREA, MIC 2024);
- Research activities (Ex2): volume of R&D per one member of academic staff, thousand rubles (according to MIREA, MIC 2024);
- International activities (Ex3): share of foreign students in the total number of students, % (according to MIREA, MIC 2024);
- Wages of academic staff (Ex4): academic staff wages/average wages in the region’s economy ratio, % (according to MIREA, MIC 2024).

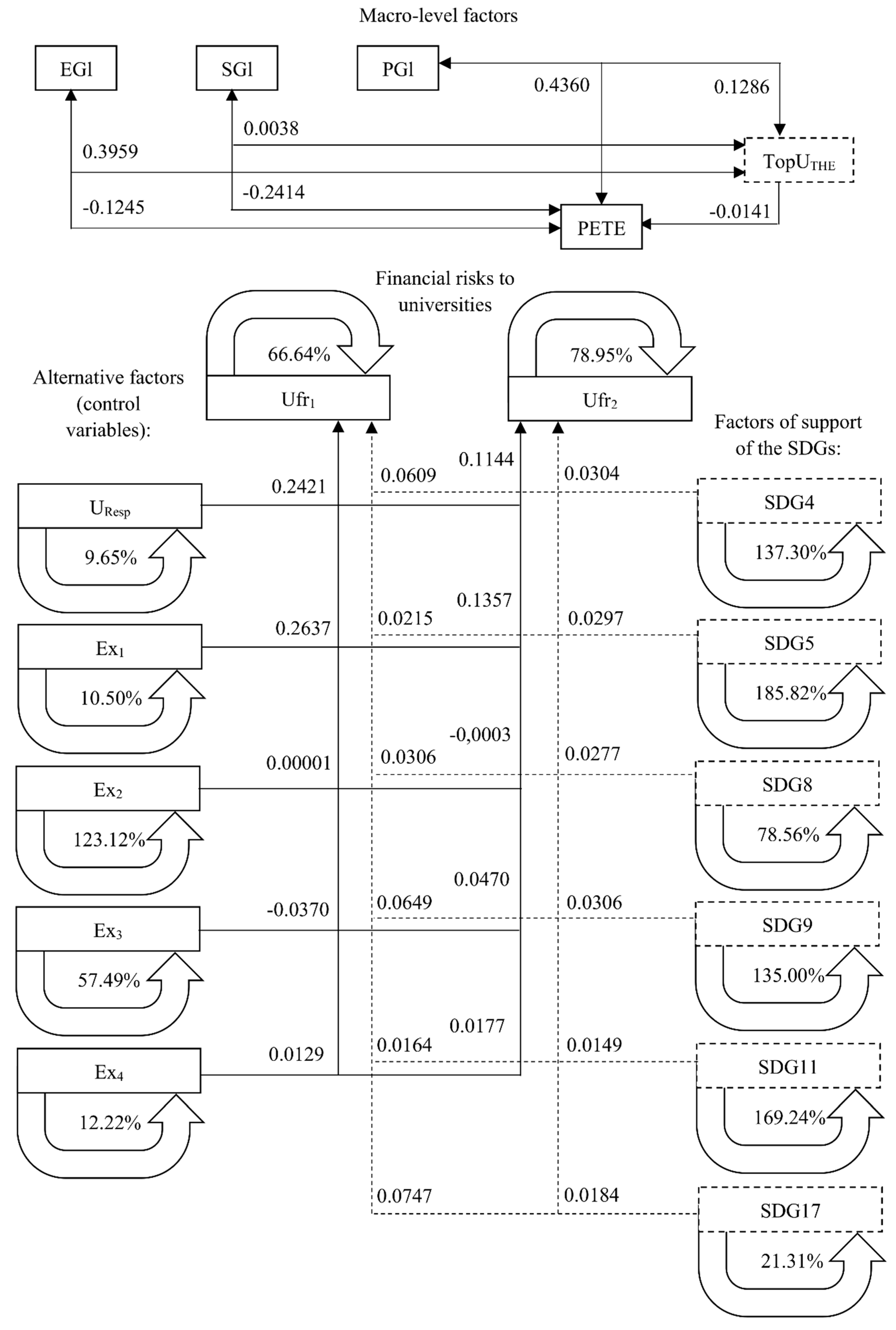
4. Results
4.1. Factor Analysis of Financial Risk Management in Responsible Universities of Russia
4.2. Potential of Financial Risk Reduction in Responsible Russian Universities in Case of Alternative Approaches to Financial Risk Management
- Growth of the activity of support of SDG 4 by 70.98% (from 25.36 points in 2023 to 43.37 points by 2030);
- Growth of the activity of support of SDG 8 by 130.70% (from 40.90 points in 2023 to 94.36 points by 2030);
- Growth of the activity of support of SDG 9 by 233.56% (from 29.98 points in 2023 to 100.00 points by 2030).
- An increase in the “average score of the Unified State Examination of accepted students” by 34.43% (from 72.25 points in 2023 to 97.13 points by 2030);
- An increase in “volume of R&D per one member of academic staff” by 480.22% (from RUB 1158.22 thousand in 2023 to RUB 6720.25 thousand by 2030);
- An increase in the “share of foreign students in the total number of students” by 127.26% (from 14.29% in 2023 to 32.48% by 2030);
- An increase in “academic staff wages/average wages in the region’s economy ratio” by 44.42% (from 218.79% in 2023 to 315.97% by 2030).
5. Discussion
6. Conclusions
Author Contributions
Funding
Data Availability Statement
Conflicts of Interest
Appendix A
| Rank | International Name of the University | Official Russian Name of the University According to Its Statute | Link to the Information on the University in the Materials of MIREA, MIC (2024), |
|---|---|---|---|
| 201–300 | Kazan Federal University | Federal State Autonomous Educational Institution of Higher Education “Kazan (Volga) Federal University” | https://monitoring.miccedu.ru/iam/2023/_vpo/inst.php?id=1519 (accessed on 1 May 2024) |
| 201–300 | Peter the Great St Petersburg Polytechnic University | Federal State Autonomous Educational Institution of Higher Education “Peter the Great St. Petersburg Polytechnic University” | https://monitoring.miccedu.ru/iam/2023/_vpo/inst.php?id=240 (accessed on 1 May 2024) |
| 201–300 | RUDN University | Federal State Autonomous Educational Institution of Higher Education “Patrice Lumumba Peoples’ Friendship University of Russia” | https://monitoring.miccedu.ru/iam/2023/_vpo/inst.php?id=222 (accessed on 1 May 2024) |
| 301–400 | Altai State University | Federal State Budget Educational Institution of Higher Education “Altai State University” | https://monitoring.miccedu.ru/iam/2023/_vpo/inst.php?id=4 (accessed on 1 May 2024) |
| 301–400 | Bauman Moscow State Technical University | Federal State Budget Educational Institution of Higher Education “Bauman Moscow State Technical University (National Research University)” | https://monitoring.miccedu.ru/iam/2023/_vpo/inst.php?id=147 (accessed on 1 May 2024) |
| 301–400 | Irkutsk National Research Technical University | Federal State Budget Educational Institution of Higher Education “Irkutsk National Research Technical University” | https://monitoring.miccedu.ru/iam/2023/_vpo/inst.php?id=82 (accessed on 1 May 2024) |
| 301–400 | National Research Nuclear University MEPhI | Federal State Autonomous Educational Institution of Higher Education “National Research Nuclear University MEPhI” | https://monitoring.miccedu.ru/iam/2023/_vpo/inst.php?id=165 (accessed on 1 May 2024) |
| 401–600 | Financial University under the Government of the Russian Federation | Federal State Budget Educational Institution of Higher Education “Financial University under the Government of the Russian Federation” | https://monitoring.miccedu.ru/iam/2023/_vpo/inst.php?id=1767 (accessed on 1 May 2024) |
| 401–600 | Immanuel Kant Baltic Federal University | Federal State Autonomous Educational Institution of Higher Education “Immanuel Kant Baltic Federal University” | https://monitoring.miccedu.ru/iam/2023/_vpo/inst.php?id=217 (accessed on 1 May 2024) |
| 401–600 | ITMO University | Federal State Autonomous Educational Institution of Higher Education “National Research University ITMO” | https://monitoring.miccedu.ru/iam/2023/_vpo/inst.php?id=234 (accessed on 1 May 2024) |
| 401–600 | Kursk State Medical University | Federal State Budget Educational Institution of Higher Education “Kursk State Medical University” of the Ministry of Healthcare of the Russian Federation | https://monitoring.miccedu.ru/iam/2023/_vpo/inst.php?id=1786 (accessed on 1 May 2024) |
| 401–600 | Moscow Institute of Physics and Technology (MIPT) | Federal State Autonomous Educational Institution of Higher Education “Moscow Institute of Physics and Technology” (National Research University) | https://monitoring.miccedu.ru/iam/2023/_vpo/inst.php?id=161 (accessed on 1 May 2024) |
| 401–600 | Russian Biotechnological University (BIOTECH) | Federal State Budget Educational Institution of Higher Education “Russian Biotechnological University” (ROSBIOTECH) | https://monitoring.miccedu.ru/iam/2023/_vpo/inst.php?id=155 (accessed on 1 May 2024) |
| 401–600 | Plekhanov Russian University of Economics | Federal State Budget Educational Institution of Higher Education “Plekhanov Russian University of Economics” | https://monitoring.miccedu.ru/iam/2023/_vpo/inst.php?id=209 (accessed on 1 May 2024) |
| 401–600 | Siberian Federal University | Federal State Autonomous Educational Institution of Higher Education “Siberian Federal University” | https://monitoring.miccedu.ru/iam/2023/_vpo/inst.php?id=1507 (accessed on 1 May 2024) |
| 601–800 | Industrial University of Tyumen | Federal State Budget Educational Institution of Higher Education “Industrial University of Tyumen” | https://monitoring.miccedu.ru/iam/2023/_vpo/inst.php?id=301 (accessed on 1 May 2024) |
| 601–800 | North-Caucasus Federal University | Federal State Autonomous Educational Institution of Higher Education “North-Caucasus Federal University” | https://monitoring.miccedu.ru/iam/2023/_vpo/inst.php?id=266 (accessed on 1 May 2024) |
| 601–800 | North-Eastern Federal University | Federal State Autonomous Educational Institution of Higher Education “Ammosov North-Eastern Federal University” | https://monitoring.miccedu.ru/iam/2023/_vpo/inst.php?id=1527 (accessed on 1 May 2024) |
| 601–800 | Novosibirsk State Agrarian University | Federal State Budget Educational Institution of Higher Education “Novosibirsk State Agrarian University” | https://monitoring.miccedu.ru/iam/2023/_vpo/inst.php?id=1649 (accessed on 1 May 2024) |
| 601–800 | Perm State University | Federal State Autonomous Educational Institution of Higher Education “Perm State National Research University” | https://monitoring.miccedu.ru/iam/2023/_vpo/inst.php?id=198 (accessed on 1 May 2024) |
| 601–800 | Russian State Agrarian University—Moscow Timiryazev Agricultural Academy | Federal State Budget Educational Institution of Higher Education “Russian State Agrarian University—Moscow Timiryazev Agricultural Academy” | https://monitoring.miccedu.ru/iam/2023/_vpo/inst.php?id=1640 (accessed on 1 May 2024) |
| 601–800 | Southern Federal University | Federal State Autonomous Educational Institution of Higher Education “Southern Federal University” | https://monitoring.miccedu.ru/iam/2023/_vpo/inst.php?id=337 (accessed on 1 May 2024) |
| 601–800 | South Ural State University | Federal State Autonomous Educational Institution of Higher Education “South Ural State University” (National Research University) | https://monitoring.miccedu.ru/iam/2023/_vpo/inst.php?id=336 (accessed on 1 May 2024) |
| 601–800 | Tomsk Polytechnic University | Federal State Autonomous Educational Institution of Higher Education “National Research Tomsk Polytechnic University” | https://monitoring.miccedu.ru/iam/2023/_vpo/inst.php?id=296 (accessed on 1 May 2024) |
| 601–800 | Volgograd State University | Federal State Autonomous Educational Institution of Higher Education “Volgograd State University” | https://monitoring.miccedu.ru/iam/2023/_vpo/inst.php?id=36 (accessed on 1 May 2024) |
| 801–1000 | Bashkir State University | Federal State Budget Educational Institution of Higher Education “Ufa University of Science and Technology” | https://monitoring.miccedu.ru/iam/2023/_vpo/inst.php?id=666669204 (accessed on 1 May 2024) |
| 801–1000 | Bashkir State Medical University | Federal State Budget Educational Institution of Higher Education “Bashkir State Medical University” of the Ministry of Healthcare of the Russian Federation | https://monitoring.miccedu.ru/iam/2023/_vpo/inst.php?id=1731 (accessed on 1 May 2024) |
| 801–1000 | Belgorod State National Research University | Federal State Autonomous Educational Institution of Higher Education “Belgorod State National Research University” | https://monitoring.miccedu.ru/iam/2023/_vpo/inst.php?id=17 (accessed on 1 May 2024) |
| 801–1000 | Lobachevsky State University of Nizhni Novgorod | Federal State Autonomous Educational Institution of Higher Education “National Research State University of Nizhny Novgorod named after N.I. Lobachevsky” | https://monitoring.miccedu.ru/iam/2023/_vpo/inst.php?id=170 (accessed on 1 May 2024) |
| 801–1000 | Novosibirsk State Technical University | Federal State Budget Educational Institution of Higher Education “Novosibirsk State Technical University” | https://monitoring.miccedu.ru/iam/2023/_vpo/inst.php?id=177 (accessed on 1 May 2024) |
| Rank | Name | The Activity of Support of SDGs, Score 1–100 | Educational Activities | Research Activities | International Activities | Wages of Academic Staff |
|---|---|---|---|---|---|---|
| 201–300 | Kazan Federal University | 82.1 | 74.94 | 759.06 | 20.29 | 236.42 |
| 201–300 | Peter the Great St Petersburg Polytechnic University | 82.1 | 79.23 | 1690.64 | 17.55 | 228.24 |
| 201–300 | RUDN University | 82.1 | 70.54 | 359.66 | 29.45 | 249.15 |
| 301–400 | Altai State University | 76.7 | 67.95 | 429.17 | 22.69 | 227.76 |
| 301–400 | Bauman Moscow State Technical University | 76.7 | 78.67 | 1919.01 | 5.71 | 200.59 |
| 301–400 | Irkutsk National Research Technical University | 76.7 | 63.84 | 614.90 | 9.86 | 203.18 |
| 301–400 | National Research Nuclear University MEPhI | 76.7 | 88.50 | 4507.56 | 21.38 | 222.09 |
| 401–600 | Financial University under the Government of the Russian Federation | 72.6 | 81.45 | 567.12 | 8.21 | 200.76 |
| 401–600 | Immanuel Kant Baltic Federal University | 72.6 | 75.30 | 953.41 | 14.50 | 231.32 |
| 401–600 | ITMO University | 72.6 | 77.28 | 3379.59 | 18.26 | 315.97 |
| 401–600 | Kursk State Medical University | 72.6 | 67.91 | 128.75 | 30.04 | 206.53 |
| 401–600 | Moscow Institute of Physics and Technology (MIPT) | 72.6 | 97.13 | 6720.25 | 14.18 | 222.02 |
| 401–600 | Russian Biotechnological University (BIOTECH) | 72.6 | 75.11 | 486.83 | 13.33 | 248.90 |
| 401–600 | Plekhanov Russian University of Economics | 72.6 | 74.98 | 313.87 | 9.23 | 206.21 |
| 401–600 | Siberian Federal University | 72.6 | 68.53 | 437.35 | 4.36 | 189.78 |
| 601–800 | Industrial University of Tyumen | 66.7 | 63.95 | 192.74 | 7.61 | 200.63 |
| 601–800 | North-Caucasus Federal University | 66.7 | 68.06 | 298.30 | 9.78 | 208.00 |
| 601–800 | North-Eastern Federal University | 66.7 | 62.97 | 376.13 | 4.55 | 201.14 |
| 601–800 | Novosibirsk State Agrarian University | 66.7 | 61.01 | 409.22 | 13.38 | 171.20 |
| 601–800 | Perm State University | 66.7 | 69.97 | 707.80 | 7.92 | 188.97 |
| 601–800 | Russian State Agrarian University—Moscow Timiryazev Agricultural Academy | 66.7 | 67.89 | 1284.13 | 4.89 | 201.59 |
| 601–800 | Southern Federal University | 66.7 | 74.08 | 745.48 | 12.44 | 212.42 |
| 601–800 | South Ural State University | 66.7 | 66.47 | 663.99 | 10.74 | 208.94 |
| 601–800 | Tomsk Polytechnic University | 66.7 | 73.69 | 2056.92 | 23.98 | 232.01 |
| 601–800 | Volgograd State University | 66.7 | 66.91 | 127.16 | 3.71 | 209.68 |
| 801–1000 | Bashkir State University | 59.6 | 70.00 | 513.18 | 7.09 | 212.51 |
| 801–1000 | Bashkir State Medical University | 59.6 | 72.81 | 611.64 | 32.48 | 260.13 |
| 801–1000 | Belgorod State National Research University | 59.6 | 68.21 | 1522.27 | 25.67 | 214.93 |
| 801–1000 | Lobachevsky State University of Nizhni Novgorod | 59.6 | 72.12 | 1036.46 | 10.21 | 237.75 |
| 801–1000 | Novosibirsk State Technical University | 59.6 | 68.03 | 933.94 | 15.27 | 214.95 |
| Maximum value in the sample, score 1–100 | 82.1 | 97.1 | 6720.3 | 32.5 | 316.0 | |
| Rank | Name | University’s Revenues from All Sources, Billion Rubles | University’s Revenues from Extra-Budgetary Sources, Billion Rubles | Share of University’s Revenues from Extra-Budgetary Sources, % |
|---|---|---|---|---|
| 201–300 | Kazan Federal University | 13.504122 | 6.844396 | 50.68 |
| 201–300 | Peter the Great St Petersburg Polytechnic University | 12.937710 | 5.717963 | 44.20 |
| 201–300 | RUDN University | 15.563008 | 10.132104 | 65.10 |
| 301–400 | Altai State University | 2.243975 | 1.045707 | 46.60 |
| 301–400 | Bauman Moscow State Technical University | 19.151485 | 4.325470 | 22.59 |
| 301–400 | Irkutsk National Research Technical University | 3.891520 | 1.142909 | 29.37 |
| 301–400 | National Research Nuclear University MEPhI | 7.859391 | 4.089563 | 52.03 |
| 401–600 | Financial University under the Government of the Russian Federation | 10.189828 | 4.764089 | 46.75 |
| 401–600 | Immanuel Kant Baltic Federal University | 3.189907 | 0.813055 | 25.49 |
| 401–600 | ITMO University | 9.717539 | 5.101974 | 52.50 |
| 401–600 | Kursk State Medical University | 1.636157 | 0.935208 | 57.16 |
| 401–600 | Moscow Institute of Physics and Technology (MIPT) | 13.760323 | 5.124797 | 37.24 |
| 401–600 | Russian Biotechnological University (BIOTECH) | 2.199905 | 0.690459 | 31.39 |
| 401–600 | Plekhanov Russian University of Economics | 9.037110 | 4.882867 | 54.03 |
| 401–600 | Siberian Federal University | 8.388832 | 2.001505 | 23.86 |
| 601–800 | Industrial University of Tyumen | 3.896312 | 1.546146 | 39.68 |
| 601–800 | North-Caucasus Federal University | 3.164272 | 1.436112 | 45.39 |
| 601–800 | North-Eastern Federal University | 6.644250 | 1.427638 | 21.49 |
| 601–800 | Novosibirsk State Agrarian University | 1.214777 | 0.399411 | 32.88 |
| 601–800 | Perm State University | 2.876025 | 1.285299 | 44.69 |
| 601–800 | Russian State Agrarian University—Moscow Timiryazev Agricultural Academy | 5.758056 | 2.045639 | 35.53 |
| 601–800 | Southern Federal University | 6.738630 | 2.702528 | 40.10 |
| 601–800 | South Ural State University | 4.808992 | 1.970243 | 40.97 |
| 601–800 | Tomsk Polytechnic University | 6.904136 | 2.247028 | 32.88 |
| 601–800 | Volgograd State University | 1.141863 | 0.404013 | 35.38 |
| 801–1000 | Bashkir State University | 5.025474 | 1.830321 | 36.42 |
| 801–1000 | Bashkir State Medical University | 6.866067 | 4.322318 | 62.95 |
| 801–1000 | Belgorod State National Research University | 5.661811 | 2.442763 | 43.14 |
| 801–1000 | Lobachevsky State University of Nizhni Novgorod | 5.492526 | 2.548206 | 46.39 |
| 801–1000 | Novosibirsk State Technical University | 4.559561 | 1.188434 | 26.06 |
| Maximum value in the sample, score 1–100 | 1.915148 | 1.013210 | 65.1 | |
| Rank | Name | SDG 1 | SDG 2 | SDG 3 | SDG 4 | SDG 5 | SDG 6 | SDG 7 | SDG 8 | SDG 9 | SDG 10 | SDG 11 | SDG 12 | SDG 13 | SDG 14 | SDG 15 | SDG 16 | SDG 17 |
|---|---|---|---|---|---|---|---|---|---|---|---|---|---|---|---|---|---|---|
| 201–300 | Kazan Federal University | 0.0 | 0.0 | 0.0 | 74.1 | 0.0 | 0.0 | 0.0 | 74.3 | 0.0 | 0.0 | 0.0 | 0.0 | 0.0 | 0.0 | 0.0 | 0.0 | 81.7 |
| 201–300 | Peter the Great St Petersburg Polytechnic University | 0.0 | 0.0 | 0.0 | 0.0 | 0.0 | 0.0 | 0.0 | 71.5 | 88.9 | 0.0 | 76.0 | 0.0 | 0.0 | 0.0 | 0.0 | 0.0 | 81.7 |
| 201–300 | RUDN University | 0.0 | 0.0 | 0.0 | 84.5 | 67.7 | 0.0 | 0.0 | 71.5 | 0.0 | 0.0 | 0.0 | 0.0 | 0.0 | 0.0 | 0.0 | 0.0 | 61.0 |
| 301–400 | Altai State University | 0.0 | 0.0 | 0.0 | 78.7 | 0.0 | 0.0 | 0.0 | 71.5 | 0.0 | 0.0 | 0.0 | 0.0 | 0.0 | 0.0 | 0.0 | 0.0 | 61.0 |
| 301–400 | Bauman Moscow State Technical University | 0.0 | 0.0 | 0.0 | 81.1 | 0.0 | 0.0 | 0.0 | 0.0 | 87.2 | 0.0 | 0.0 | 0.0 | 66.3 | 0.0 | 0.0 | 0.0 | 70.5 |
| 301–400 | Irkutsk National Research Technical University | 0.0 | 0.0 | 0.0 | 0.0 | 0.0 | 0.0 | 67.8 | 66.3 | 0.0 | 0.0 | 0.0 | 66.7 | 0.0 | 0.0 | 0.0 | 0.0 | 75.5 |
| 301–400 | National Research Nuclear University MEPhI | 0.0 | 0.0 | 0.0 | 0.0 | 0.0 | 0.0 | 0.0 | 0.0 | 87.2 | 73.3 | 0.0 | 76.6 | 0.0 | 0.0 | 0.0 | 0.0 | 81.7 |
| 401–600 | Financial University under the Government of the Russian Federation | 0.0 | 0.0 | 0.0 | 0.0 | 0.0 | 0.0 | 56.1 | 62.2 | 87.2 | 0.0 | 0.0 | 0.0 | 0.0 | 0.0 | 0.0 | 0.0 | 45.2 |
| 401–600 | Immanuel Kant Baltic Federal University | 0.0 | 0.0 | 0.0 | 0.0 | 0.0 | 0.0 | 0.0 | 71.5 | 0.0 | 73.3 | 0.0 | 0.0 | 0.0 | 0.0 | 0.0 | 0.0 | 45.2 |
| 401–600 | ITMO University | 0.0 | 0.0 | 0.0 | 0.0 | 0.0 | 0.0 | 0.0 | 57.7 | 91.1 | 0.0 | 67.0 | 0.0 | 0.0 | 0.0 | 0.0 | 0.0 | 53.3 |
| 401–600 | Kursk State Medical University | 0.0 | 0.0 | 78.9 | 0.0 | 0.0 | 0.0 | 0.0 | 71.5 | 77.4 | 0.0 | 0.0 | 0.0 | 0.0 | 0.0 | 0.0 | 0.0 | 45.2 |
| 401–600 | Moscow Institute of Physics and Technology (MIPT) | 68.4 | 0.0 | 0.0 | 0.0 | 0.0 | 0.0 | 0.0 | 66.3 | 87.2 | 0.0 | 0.0 | 0.0 | 0.0 | 0.0 | 0.0 | 0.0 | 53.3 |
| 401–600 | Russian Biotechnological University (BIOTECH) | 0.0 | 68.5 | 0.0 | 66.5 | 61.4 | 0.0 | 0.0 | 0.0 | 0.0 | 0.0 | 0.0 | 0.0 | 0.0 | 0.0 | 0.0 | 0.0 | 61.0 |
| 401–600 | Plekhanov Russian University of Economics | 0.0 | 0.0 | 0.0 | 83.5 | 61.4 | 0.0 | 0.0 | 62.2 | 0.0 | 0.0 | 0.0 | 0.0 | 0.0 | 0.0 | 0.0 | 0.0 | 61.0 |
| 401–600 | Siberian Federal University | 0.0 | 67.3 | 0.0 | 0.0 | 0.0 | 0.0 | 0.0 | 0.0 | 0.0 | 0.0 | 60.0 | 0.0 | 0.0 | 0.0 | 72.2 | 0.0 | 75.5 |
| 601–800 | Industrial University of Tyumen | 0.0 | 0.0 | 0.0 | 66.5 | 0.0 | 0.0 | 0.0 | 0.0 | 0.0 | 65.1 | 67.0 | 0.0 | 0.0 | 0.0 | 0.0 | 0.0 | 45.2 |
| 601–800 | North-Caucasus Federal University | 60.1 | 0.0 | 0.0 | 0.0 | 0.0 | 0.0 | 0.0 | 62.2 | 0.0 | 0.0 | 0.0 | 0.0 | 0.0 | 0.0 | 0.0 | 0.0 | 45.2 |
| 601–800 | North-Eastern Federal University | 60.1 | 0.0 | 0.0 | 0.0 | 51.5 | 0.0 | 0.0 | 48.3 | 0.0 | 0.0 | 0.0 | 0.0 | 0.0 | 0.0 | 0.0 | 0.0 | 61.0 |
| 601–800 | Novosibirsk State Agrarian University | 0.0 | 72.8 | 0.0 | 0.0 | 0.0 | 49.1 | 0.0 | 0.0 | 0.0 | 0.0 | 0.0 | 0.0 | 0.0 | 0.0 | 72.2 | 0.0 | 45.2 |
| 601–800 | Perm State University | 0.0 | 0.0 | 0.0 | 0.0 | 0.0 | 0.0 | 0.0 | 57.7 | 0.0 | 0.0 | 67.0 | 0.0 | 0.0 | 0.0 | 72.2 | 0.0 | 61.0 |
| 601–800 | Russian State Agrarian University—Moscow Timiryazev Agricultural Academy | 0.0 | 56.2 | 0.0 | 73.0 | 0.0 | 0.0 | 0.0 | 0.0 | 0.0 | 0.0 | 67.0 | 0.0 | 0.0 | 0.0 | 0.0 | 0.0 | 45.2 |
| 601–800 | Southern Federal University | 0.0 | 0.0 | 0.0 | 0.0 | 0.0 | 0.0 | 0.0 | 57.7 | 72.9 | 0.0 | 0.0 | 0.0 | 0.0 | 0.0 | 0.0 | 0.0 | 70.5 |
| 601–800 | South Ural State University | 0.0 | 0.0 | 0.0 | 0.0 | 0.0 | 0.0 | 0.0 | 72.5 | 0.0 | 0.0 | 67.0 | 0.0 | 0.0 | 0.0 | 0.0 | 0.0 | 70.5 |
| 601–800 | Tomsk Polytechnic University | 0.0 | 0.0 | 0.0 | 50.9 | 0.0 | 0.0 | 0.0 | 0.0 | 87.2 | 67.0 | 0.0 | 0.0 | 0.0 | 0.0 | 0.0 | 0.0 | 75.5 |
| 601–800 | Volgograd State University | 0.0 | 0.0 | 0.0 | 0.0 | 51.5 | 0.0 | 0.0 | 62.2 | 0.0 | 0.0 | 0.0 | 0.0 | 0.0 | 0.0 | 0.0 | 0.0 | 61.0 |
| 801–1000 | Bashkir State University | 0.0 | 0.0 | 0.0 | 58.6 | 51.5 | 0.0 | 0.0 | 0.0 | 0.0 | 0.0 | 0.0 | 0.0 | 0.0 | 0.0 | 0.0 | 0.0 | 75.5 |
| 801–1000 | Bashkir State Medical University | 0.0 | 0.0 | 73.4 | 43.5 | 51.5 | 0.0 | 0.0 | 0.0 | 0.0 | 0.0 | 0.0 | 0.0 | 0.0 | 0.0 | 0.0 | 0.0 | 45.2 |
| 801–1000 | Belgorod State National Research University | 0.0 | 0.0 | 63.8 | 0.0 | 0.0 | 0.0 | 0.0 | 62.2 | 60.2 | 0.0 | 0.0 | 0.0 | 0.0 | 0.0 | 0.0 | 0.0 | 61.0 |
| 801–1000 | Lobachevsky State University of Nizhni Novgorod | 0.0 | 0.0 | 0.0 | 0.0 | 0.0 | 0.0 | 0.0 | 0.0 | 72.9 | 57.5 | 60.0 | 0.0 | 0.0 | 0.0 | 0.0 | 0.0 | 53.3 |
| 801–1000 | Novosibirsk State Technical University | 68.4 | 0.0 | 0.0 | 0.0 | 0.0 | 0.0 | 51.8 | 57.7 | 0.0 | 0.0 | 0.0 | 0.0 | 0.0 | 0.0 | 0.0 | 0.0 | 45.2 |
| Maximum value in the sample, score 1–100 | 68.4 | 72.8 | 78.9 | 84.5 | 67.7 | 49.1 | 67.8 | 74.3 | 91.1 | 73.3 | 76.0 | 76.6 | 66.3 | - | 72.2 | - | 81.7 | |
| Number of non-zero values in the sample | 4 | 4 | 3 | 11 | 7 | 1 | 3 | 19 | 11 | 5 | 8 | 2 | 1 | 0 | 3 | 0 | 30 | |
| Share of non-zero values in the sample, % | 9.52 | 9.52 | 7.14 | 26.19 | 16.67 | 2.38 | 7.14 | 45.24 | 26.19 | 11.90 | 19.05 | 4.76 | 2.38 | 0.00 | 7.14 | 0.00 | 71.43 | |
References
- Abankina, Irina, Tatyana Abankina, and Lyudmila Filatova. 2018. The Pitfalls of Differentiation in the Financing of Russian Universities. Russian Education and Society 60: 101–32. [Google Scholar] [CrossRef]
- Athari, Seyed Alireza, Elsa Abboud Chafic Saliba, and Nourhan El-Bayaa. 2024. Examining the Quadratic Impact of Sovereign Environmental, Social, and Governance Practices on Firms’ Profitability: New Insights from the Financial Industry in Gulf Cooperation Council Countries. Sustainability 16: 2783. [Google Scholar] [CrossRef]
- Blume-Kohout, Margaret. 2023. The case of the interrupting funder: Dynamic effects of R&D funding and patenting in U.S. universities. Journal of Technology Transfer 48: 1221–42. [Google Scholar] [CrossRef]
- Bock, Carolin, Christian Landau, Moritz Orendt, and Maximilian Schmidt. 2018. Are public financing schemes beneficial for university spin-offs and the technology transfer of innovations? International Journal of Innovation Management 22: 1850052. [Google Scholar] [CrossRef]
- Bogoviz, Aleksey, and Stepan Mezhov. 2015. Models and tools for research of innovation processes. Modern Applied Science 9: 159–72. [Google Scholar] [CrossRef]
- Bogoviz, Aleksey, Alexandr Gimelshteyn, Evgeny Shvakov, Elena Maslova, and Anna Kolosova. 2018. Digitalization of the Russian education system: Opportunities and perspectives. Quality—Access to Success 19: 27–32. [Google Scholar]
- Chairassamee, Natanicha, and Oudom Hean. 2023. Financing and Enrollments in Public Universities. Applied Economics 56: 812–25. [Google Scholar] [CrossRef]
- Dyrstad, Jan Morten, Mia Marie Wallgren Sohlman, and Tot Henrik Teigen. 2024. Government funding incentives and study program capacities in public universities: Theory and evidence. Oxford Economic Papers 76: 585–607. [Google Scholar] [CrossRef]
- Fukugawa, Nobuya. 2023. Effects of the quality of science and innovation on venture financing: Evidence from university spinoffs in Japan. Applied Economics Letters 30: 2129–35. [Google Scholar] [CrossRef]
- Hahn, Davide, Tommaso Minola, Silvio Vismara, and Daniel Agyare. 2024. Do exploration and exploitation in university research drive early-stage equity financing of university spin-offs? Small Business Economics, 1–27. [Google Scholar] [CrossRef]
- Huňady, Jan, Peter Pisár, Hrvoje Jošić, Berislav Zmuk, and Marjana Pejec Bach. 2023. Government and Business Funding of Sources of Funds for R&D at Universities: Complements or Substitutes? South East European Journal of Economics and Business 18: 97–111. [Google Scholar] [CrossRef]
- Kato, Hiroko, Masako Iwasaki, Takayuki Sunazaki, Shinichi Daiten, and Yukitoshi Takeshita. 2024. Investigative Analysis of Safety Risk Assessment at a Science and Technology University: Analysis of 2019 Risk Assessment and 2021 Actual Accidents. ACS Chemical Health and Safety 31: 57–67. [Google Scholar] [CrossRef]
- Kelchen, Robert, Mitchel Lingo, Dominique Baker, Kelly Rosinger, Justin Ortagus, and Jiayao Wu. 2024. A Typology and Landscape of State Funding Formulas for Public Colleges and Universities from 2004 to 2021. Review of Higher Education 47: 281–314. [Google Scholar] [CrossRef]
- Khasanov, Bakhodir Akramovich, Uktam Toshtemirovich Eshboev, Risolat Bahodirovna Hasanova, Zafar Avazamuratovich Mukumov, Abdimunin Ismatovich Alikulov, and Ayjan Baxtiyarovna Djumanova. 2019. Calculation of the invested capital profitability in the financial condition analysis process. International Journal of Advanced Science and Technology 28: 42–48. [Google Scholar]
- KOF. 2024. Globalisation Index. Available online: https://kof.ethz.ch/en/forecasts-and-indicators/indicators/kof-globalisation-index.html (accessed on 1 May 2024).
- Krieger, Bastian. 2024. Heterogeneous university funding programs and regional firm innovation: An empirical analysis of the German Excellence Initiative. Research Policy 53: 104995. [Google Scholar] [CrossRef]
- Kyambade, Mahadih, Joshua Mugambwa, Gideon Nkurunziza, Regis Namuddu, and Afulah Namatovu. 2024a. Servant leadership style and socially responsible leadership in university context: Moderation of promoting sense of community. International Journal of Educational Management 38: 660–78. [Google Scholar] [CrossRef]
- Kyambade, Mahadih, Joshua Mugambwa, Regis Namuddu, and Afulah Namatovu. 2024b. Socially responsible leadership and employee’s work passion in public universities in Uganda: The mediating effect of psychological safety. International Journal of Leadership in Education. [Google Scholar] [CrossRef]
- Litvinova, Tatiana Nikolaevna. 2022. Risks of Entrepreneurship amid the COVID-19 Crisis. Risks 10: 163. [Google Scholar] [CrossRef]
- Liu, Liguang, and Lianhong Gao. 2021. Financing university sustainability initiatives in China: Actors and processes. International Journal of Sustainability in Higher Education 22: 44–58. [Google Scholar] [CrossRef]
- Mao, Jianqing, Wenbo Chen, and Zhenzhen Wang. 2024. Relationship among the scale of university funding, structure of revenue and expenditure, and academic output: Evidence from China’s 36 World-Class universities under construction, 2013–2022. Studies in Higher Education, 1–25. [Google Scholar] [CrossRef]
- Mántica, Luis. 2022. Financing of Argentine Public Universities: Autonomy, Budget and National Constitution. Revista de la Educacion Superior 51: 65–83. [Google Scholar] [CrossRef]
- Marchigiani, Elena, and Illaria Garofolo. 2023. Italian Universities for Territorial Sustainable Development and Responsible Communities—The Case Study of the University of Trieste. Sustainability 15: 2325. [Google Scholar] [CrossRef]
- MIREA, MIC. 2024. Information and Analytical Materials as a Result of the Monitoring of the Activities of Educational Organisations of Higher Education in 2023. Available online: https://monitoring.miccedu.ru/?m=vpo (accessed on 1 April 2024).
- Moll, Jodie. 2023. Financial vulnerability and risk disclosures in Australian universities. In The Routledge Handbook of Public Sector Accounting. Edited by Tarek Rana and Lee Parker. New York: Routledge, pp. 202–18. [Google Scholar] [CrossRef]
- Ncube, Eric Dumisani. 2023. Socially responsible practices at a public university in a developing country: A sustainability approach. Corporate Governance and Organizational Behavior Review 7: 200–9. [Google Scholar] [CrossRef]
- Petrenko, Yelena, and Nikita Stolyarov. 2019. Features of the management of international projects, taking into account intercultural differences of the partners. Entrepreneurship and Sustainability Issues 6: 2037–51. [Google Scholar] [CrossRef]
- Preuss, Lutz, Heather Elms, Roman Kurdyukov, Urša Golob, Rodica Milena Zaharia, Borna Jalsenjak, Ryan Burg, Peter Hardi, Julija Jacquemod, Mari Kooskora, and et al. 2023. Institutional pressures and the adoption of responsible management education at universities and business schools in Central and Eastern Europe. Business Ethics, the Environment and Responsibility 32: 1575–91. [Google Scholar] [CrossRef]
- Przhedetskaya, Natalia, and Ksenia Borzenko. 2019. Marketing model of promotion of remote education by modern university. International Journal of Educational Management 33: 446–53. [Google Scholar] [CrossRef]
- Thawesaengskulthai, Natcha, Awirut Chatmarathong, and Jarotwan Koiwanit. 2024. Impact and policy supporting Thailand innovation driven enterprise: Orchestrating university innovation and entrepreneurship ecosystem with public and private stakeholders. Journal of Innovation and Entrepreneurship 13: 16. [Google Scholar] [CrossRef]
- THE. 2024. Impact Rankings 2023. Available online: https://www.timeshighereducation.com/impactrankings#!/length/-1/locations/RUS/sort_by/rank/sort_order/asc (accessed on 1 April 2024).
- Tovmasyan, Gayane, Davit Hakhverdyan, Tatul Mkrtchyan, and Arsen Petrosyan. 2022. The impact of Covid-19 on education quality and learning efficiency in universities: Evidence from Armenia. Issues in Educational Research 32: 1623–2164. [Google Scholar]
- Turginbayeva, Ardak, and Yerzhan Domalatov. 2019. Strategic direction to support public-private partnerships in the innovation sector of Kazakhstan: Problems and prospects. Ad Alta—Journal Of Interdisciplinary Research 9: 54–61. [Google Scholar]
- UN. 2024a. 17 Goals to Transform Our World. Available online: https://www.un.org/sustainabledevelopment/ (accessed on 1 April 2024).
- UN. 2024b. Sustainable Development Report 2023. Available online: https://dashboards.sdgindex.org/ (accessed on 1 May 2024).
- World Bank. 2024a. Expenditure on Tertiary Education (% of Government Expenditure on Education). Available online: https://data.worldbank.org/indicator/SE.XPD.TERT.ZS?view=chart (accessed on 1 May 2024).
- World Bank. 2024b. Government Expenditure on Education, Total (% of GDP). Available online: https://data.worldbank.org/indicator/SE.XPD.TOTL.GD.ZS?view=chart (accessed on 1 May 2024).
- Zarova, Elena, and Bobir Tursunov. 2022. Methodology for assessing the financial security of enterprises in the post-pandemic period of digital economy. ACM International Conference Proceeding Series 2022: 110–15. [Google Scholar]
- Zhao, Shuang, and Kenny Cheah. 2023. The challenges of Malaysian private universities in reaching sustainable education toward responsible consumption. Cleaner and Responsible Consumption 10: 100130. [Google Scholar] [CrossRef]
- Zheleznov, Aleksey Mikhailovich. 2023. Influence of the participation of universities in Project 5–100 on the successfulness of receipt of scientific project. Mir Rossii 32: 52–73. [Google Scholar] [CrossRef]






| Year | The Times Higher Education Universities Ranking: Average Score of Top 3 Universities (Worst 0–100 Best) | Economic Globalization Overall Index, Score 0–100 | Social Globalization Overall Index, Score 0–100 | Political Globalization Overall Index, Score 0–100 | Government Expenditure on Education, Total (% of GDP) | Expenditure on Tertiary Education (% of Government Expenditure on Education) | Government Expenditure on Tertiary Education, % of GDP |
|---|---|---|---|---|---|---|---|
| 2015 | 46 | 49 | 72 | 92 | 3.83 | 21.14 | 0.81 |
| 2016 | 17 | 53 | 69 | 92 | 3.76 | 21.61 | 0.81 |
| 2017 | 44 | 55 | 69 | 92 | 4.69 | 21.61 | 1.01 |
| 2018 | 48 | 54 | 69 | 92 | 4.68 | 21.61 | 1.01 |
| 2019 | 49 | 54 | 69 | 92 | 3.51 | 21.61 | 0.76 |
| 2020 | 52 | 55 | 69 | 92 | 3.70 | 21.61 | 0.80 |
| 2021 | 53 | 53 | 68 | 92 | 3.70 | 21.61 | 0.80 |
| 2022 | 52 | 49 | 68 | 92 | 3.70 | 21.61 | 0.80 |
| Analysis Sphere | Analysis Elements | Ufr1 | Ufr2 |
|---|---|---|---|
| Regression statistics | Multiple R | 0.6743 | 0.7132 |
| R-square | 0.4547 | 0.5086 | |
| Adjusted R-square | 0.3411 | 0.4063 | |
| Standard error | 3.6789 | 1.7320 | |
| Observations | 30 | 30 | |
| ANOVA and F-Stat | Significance F | 0.0088 | 0.0029 |
| Level of significance | 0.01 | 0.01 | |
| k1 = m | 5 | 5 | |
| k2 = n − m − 1 | 30 − 5 − 1 = 24 | 30 − 5 − 1 = 24 | |
| F table | 3.8951 | 3.8951 | |
| F observed | 4.0025 | 4.9686 | |
| F-test | passed | passed | |
| Regression coefficients | Y-intercept | −31.4630 | −19.1334 |
| Resp | 0.2421 | 0.1144 | |
| Ex1 | 0.2637 | 0.1357 | |
| Ex2 | 0.00001 | −0.0003 | |
| Ex3 | −0.0370 | 0.0470 | |
| Ex4 | 0.0129 | 0.0177 | |
| Standard error | Y-intercept | 11.8534 | 5.5806 |
| Resp | 0.1115 | 0.0525 | |
| Ex1 | 0.1679 | 0.0790 | |
| Ex2 | 0.0008 | 0.0004 | |
| Ex3 | 0.0971 | 0.0457 | |
| Ex4 | 0.0311 | 0.0146 | |
| t-Stat | Y-intercept | −2.6543 | −3.4285 |
| Resp | 2.1709 | 2.1799 | |
| Ex1 | 1.5705 | 1.7171 | |
| Ex2 | −0.0087 | −0.8070 | |
| Ex3 | −0.3812 | 1.0273 | |
| Ex4 | 0.4137 | 1.2071 |
| Analysis Sphere | Analysis Elements | Ufr1 | Ufr2 |
|---|---|---|---|
| Regression statistics | Multiple R | 0.6972 | 0.7029 |
| R-square | 0.4861 | 0.4940 | |
| Adjusted R-square | 0.3521 | 0.3621 | |
| Standard error | 3.6481 | 1.7953 | |
| Observations | 30 | 30 | |
| ANOVA and F-Stat | Significance F | 0.0112 | 0.0096 |
| Level of significance | 0.05 | 0.01 | |
| k1 = m | 6 | 6 | |
| k2 = n − m − 1 | 30 − 6 − 1 = 23 | 30 − 6 − 1 = 23 | |
| F-table | 2.5277 | 3.7102 | |
| F-observed | 3.6263 | 3.7431 | |
| F-test | passed | passed | |
| Regression coefficients | Y-intercept | −3.0271 | −1.7401 |
| SDG 4 | 0.0609 | 0.0304 | |
| SDG 5 | 0.0215 | 0.0297 | |
| SDG 8 | 0.0306 | 0.0277 | |
| SDG 9 | 0.0649 | 0.0306 | |
| SDG 11 | 0.0164 | 0.0149 | |
| SDG 17 | 0.0747 | 0.0184 | |
| Standard error | Y-intercept | 3.4809 | 1.7130 |
| SDG 4 | 0.0226 | 0.0111 | |
| SDG 5 | 0.0341 | 0.0168 | |
| SDG 8 | 0.0224 | 0.0110 | |
| SDG 9 | 0.0192 | 0.0094 | |
| SDG 11 | 0.0246 | 0.0121 | |
| SDG 17 | 0.0542 | 0.0267 | |
| t-Stat | Y-intercept | −0.8696 | −1.0158 |
| SDG 4 | 2.6902 | 2.7283 | |
| SDG 5 | 0.6295 | 1.7718 | |
| SDG 8 | 1.3637 | 2.5124 | |
| SDG 9 | 3.3791 | 3.2388 | |
| SDG 11 | 0.6652 | 1.2291 | |
| SDG 17 | 1.3798 | 0.6890 |
| Measures of University Management | Influence on Financial Risks to Universities | |
|---|---|---|
| Influence Estimated in the Literature | Influence Revealed in This Paper | |
| Development of educational activities | Reduces financial risks (Tovmasyan et al. 2022) | Reduces financial risks |
| Development of research activities | Reduces financial risks (Bogoviz and Mezhov 2015; Fukugawa 2023) | Increases financial risks |
| Development of international activities | Reduces financial risks (Petrenko and Stolyarov 2019) | Has a contradictory effect on financial risks |
| Changes in academic staff wages | Reduces financial risks (Przhedetskaya and Borzenko 2019) | Does not have a statistically significant effect on financial risks |
| SDGs support | Increases financial risks (Bock et al. 2018; Mántica 2022) | Reduces financial risks |
Disclaimer/Publisher’s Note: The statements, opinions and data contained in all publications are solely those of the individual author(s) and contributor(s) and not of MDPI and/or the editor(s). MDPI and/or the editor(s) disclaim responsibility for any injury to people or property resulting from any ideas, methods, instructions or products referred to in the content. |
© 2024 by the authors. Licensee MDPI, Basel, Switzerland. This article is an open access article distributed under the terms and conditions of the Creative Commons Attribution (CC BY) license (https://creativecommons.org/licenses/by/4.0/).
Share and Cite
Gornostaeva, Z.V.; Shabaltina, L.V.; Denisov, I.V.; Musatkina, A.A.; Sinyavskiy, N.G. Support of the SDGs as a New Approach to Financial Risk Management in Responsible Universities in Russia. Risks 2024, 12, 101. https://doi.org/10.3390/risks12060101
Gornostaeva ZV, Shabaltina LV, Denisov IV, Musatkina AA, Sinyavskiy NG. Support of the SDGs as a New Approach to Financial Risk Management in Responsible Universities in Russia. Risks. 2024; 12(6):101. https://doi.org/10.3390/risks12060101
Chicago/Turabian StyleGornostaeva, Zhanna V., Larisa V. Shabaltina, Igor V. Denisov, Aleksandra A. Musatkina, and Nikolai G. Sinyavskiy. 2024. "Support of the SDGs as a New Approach to Financial Risk Management in Responsible Universities in Russia" Risks 12, no. 6: 101. https://doi.org/10.3390/risks12060101
APA StyleGornostaeva, Z. V., Shabaltina, L. V., Denisov, I. V., Musatkina, A. A., & Sinyavskiy, N. G. (2024). Support of the SDGs as a New Approach to Financial Risk Management in Responsible Universities in Russia. Risks, 12(6), 101. https://doi.org/10.3390/risks12060101

