Physical Confounding Factors Affecting Gas Sensors Response: A Review on Effects and Compensation Strategies for Electronic Nose Applications
Abstract
:1. Introduction
2. Sensor Technologies Used in E-Nose Systems
- Chemo-resistant
- ο
- Conducting polymers (CPs): The first e-nose prototypes were realized with this kind of sensor. When exposed to target gases at ambient temperature, polymer conductivity is changed, with the transduction mechanisms being still unknown. CPs can be either used as they are, doped to enhance their response, or modified by adding other polymers, resulting in a composite polymer [38,39];
- ο
- Metal oxide semiconductor (MOSs): Changes in resistance are due to redox reactions involving the oxygen of the semiconducting metal oxide. The magnitude and the dynamic of the response are volatile compound-dependent. MOS sensors must be operated at temperatures between 197 °C and 397 °C, the temperature range in which oxygen is ion-sorbed as O−, enhancing the redox reactions [40]. MOS sensors are by far the most commonly used in e-nose systems because of their low cost, high sensitivity to several families of compounds (ppm and sub-ppm levels), and high level of customization. The most diffused metal oxide materials are semiconducting transition metals (e.g., TiO2, Fe2O3, NiO, and Cr2O3) and post-transition metals (e.g., SnO2 and ZnO) because of their facilitated ability to create electron-hole pairs [41]. MOS sensors can comprise n-type or p-type materials, referring to the capacity of the materials to interact with the target gases using free positive or negative charges due to the abundance of electrons in the valence band [40,42]; as a consequence of this different interaction mechanism, the direction of the sensor’s resistance to reducing and oxidizing gases will be different, as indicated in Table 1;
- ο
- Graphene and carbon nanotubes (CNTs): The interplay between gas molecules and carbon-based materials leads to the exchange of charges between the sensing layer and the gas molecules. This process alters the material’s conductivity, facilitating the identification of diverse gas concentrations. Additionally, they exhibit extended response and recovery times [43].
- Chemically sensitive field-effect transistors (ChemFETs): This sensor utilizes MOSFET technology and operates based on the principle that the MOSFET’s threshold voltage shifts upon interaction with specific gases. This interaction is facilitated via a catalytic metal, which leads to corresponding alterations in the work functions of both the metal and oxide layers. These work function changes are driven by the polarization of the surface and interface of the catalytic metal and oxide layer when exposed to the gas on the catalytically active surface. To allow for the sensor’s physical changes, the metal insulator interface must be accessible to the gas. Consequently, a porous gas-sensitive gate material is employed to facilitate gas diffusion into the material [44].
- Capacitive sensors: Capacitive sensors are composed of dual interdigitated electrode arrangements mirroring the configuration of the plates in a conventional capacitor. These sensors measure alterations in the dielectric coefficient of the polymer situated between the electrodes when the analyte is absorbed. Consequently, chemocapacitors (also known as di-electrometers) hinge on shifts in the dielectric attributes of the sensing material following the introduction of an analyte [45].
- Piezo-based chemical sensors:
- ο
- ο
- Surface acoustic wave (SAWs): These consist of coated piezoelectric material. The coating is done with sensing material, typically polymeric. Voltage deformations are induced, and a reaction between the target gas and the sensing material causes changes in deformations’ velocity and attenuation [48,50];
3. Physical Factors Affecting E-Nose Sensor Responses
3.1. Humidity
3.2. Temperature
3.3. Flow
3.3.1. Flow Rate
3.3.2. Flow Direction
3.3.3. Chamber Fluid Dynamic
4. Hardware Compensation Strategies
4.1. Gas Sensors
4.1.1. Sensors’ Modifications to Reduce Humidity Dependence
- surface engineering;
- physical isolation;
- working parameter modulation;
- novel material development.
Surface Engineering
Physical Isolation
Tuning of Working Conditions
Novel Materials Development
4.1.2. Sensors’ Modifications for Reducing the Effects of the Gas Flow
4.2. Sampling
4.2.1. Sampling Strategies to Control Sample Gas Flow Variations
4.2.2. Sampling Strategies to Control Humidity Variations
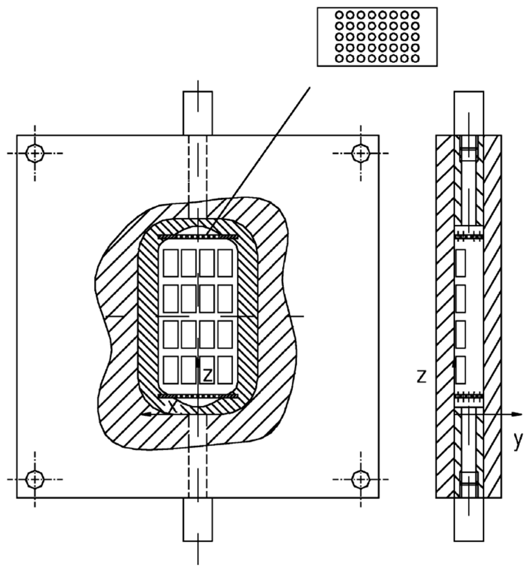
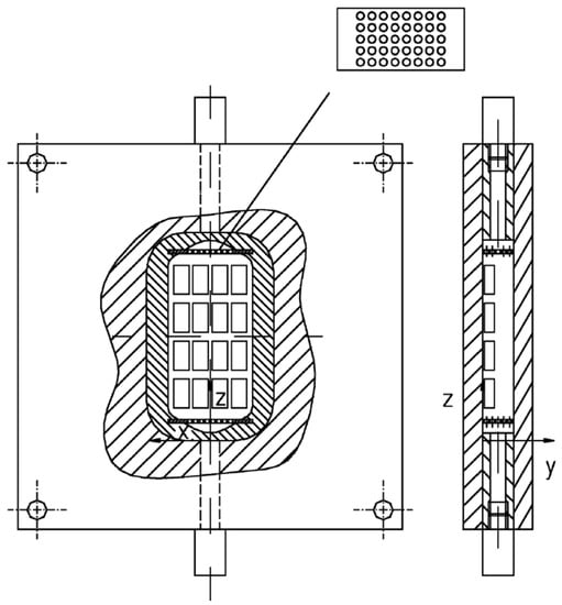
4.3. Sensors’ Chamber Geometries
5. Discussion
- A small chamber volume and a geometry preventing stagnant or recirculating zones contribute to rapidly reaching a steady state concentration in the chamber, which, in turn, helps reach a stable sensor response [108].
6. Conclusions
Author Contributions
Funding
Informed Consent Statement
Acknowledgments
Conflicts of Interest
List of Abbreviations
| Abbreviation | Reducing gas |
| CP | Conducting Polymers |
| MOS | Metal Oxide Semiconductor |
| CNT | Graphene and carbon-nanotubes (CNT) |
| ChemFET | Chemically-sensitive Field-Effect Transistor |
| EC | Electrochemical |
| QCM | Quartz crystal microbalance |
| SAW | Surface Acoustic Wave |
| PID | Photoionization detector |
| RH | Relative Humidty |
| PCA | Principal Component Analysis |
| LOD | Limit of Detection |
References
- Persaud, K.; Dodd, G. Analysis of discrimination mechanisms in the mammalian olfactory system using a model nose. Nature 1982, 299, 352–355. [Google Scholar] [CrossRef] [PubMed]
- Wilson, A.D.; Baietto, M. Applications and advances in electronic-nose technologies. Sensors 2009, 9, 5099–5148. [Google Scholar] [CrossRef] [PubMed]
- Karakaya, D.; Ulucan, O.; Turkan, M. Electronic Nose and Its Applications: A Survey. Int. J. Autom. Comput. 2020, 17, 179–209. [Google Scholar] [CrossRef]
- Mohd Ali, M.; Hashim, N.; Abd Aziz, S.; Lasekan, O. Principles and recent advances in electronic nose for quality inspection of agricultural and food products. Trends Food Sci. Technol. 2020, 99, 1–10. [Google Scholar] [CrossRef]
- Kiani, S.; Minaei, S.; Ghasemi-Varnamkhasti, M. Application of electronic nose systems for assessing quality of medicinal and aromatic plant products: A review. J. Dermatol. Sci. 2016, 3, 1–9. [Google Scholar] [CrossRef]
- Peris, M.; Escuder-Gilabert, L. A 21st century technique for food control: Electronic noses. Anal. Chim. Acta 2009, 638, 1–15. [Google Scholar] [CrossRef]
- Wilson, A.D.; Baietto, M. Advances in electronic-nose technologies developed for biomedical applications. Sensors 2011, 11, 1105–1176. [Google Scholar] [CrossRef]
- Capelli, L.; Sironi, S.; Del Rosso, R. Electronic Noses for Environmental Monitoring Applications. Sensors 2014, 14, 19979–20007. [Google Scholar] [CrossRef]
- Cipriano, D.; Capelli, L. Evolution of electronic noses from research objects to engineered environmental odour monitoring systems: A review of standardization approaches. Biosensors 2019, 9, 75. [Google Scholar] [CrossRef]
- Gardner, J.W.; Bartlett, P.N. A brief history of electronic noses. Sens. Actuators B. Chem. 1994, 18, 210–211. [Google Scholar] [CrossRef]
- Liu, X.; Cheng, S.; Liu, H.; Hu, S.; Zhang, D.; Ning, H. A survey on gas sensing technology. Sensors 2012, 12, 9635–9665. [Google Scholar] [CrossRef] [PubMed]
- Covington, J.A.; Marco, S.; Persaud, K.C.; Schiffman, S.S.; Nagle, H.T. Artificial Olfaction in the 21stCentury. IEEE Sens. J. 2021, 21, 12969–12990. [Google Scholar] [CrossRef]
- Cangialosi, F.; Intini, G.; Colucci, D. On Line Monitoring of Odour Nuisance at a Sanitary Landfill for Non-Hazardous Waste. Chem. Eng. Trans. 2018, 68, 127–132. [Google Scholar] [CrossRef]
- Bax, C.; Sironi, S.; Capelli, L. Definition and Application of a Protocol for Electronic Nose Field Performance Testing: Example of Odor Monitoring from a Tire Storage Area. Atmosphere 2020, 11, 426. [Google Scholar] [CrossRef]
- Ente Nazionale Italiano di Unificazione. UNI11761: Emissioni e Qualità dell’Aria—Determinazione degli Odori Tramite IOMS (Instrumental Odour Monitoring Systems); UNI: New Delhi, India, 2019. [Google Scholar]
- Bax, C.; Lotesoriere, B.J.; Capelli, L. Real-Time Monitoring of Odour Concentration at a Landfill Fenceline: Performance Verification in the Field. Ital. Assoc. Chem. Eng. 2021, 85, 19–24. [Google Scholar] [CrossRef]
- Rajagopalan, A.K.; Petit, C. Material Screening for Gas Sensing Using an Electronic Nose: Gas Sorption Thermodynamic and Kinetic Considerations. ACS Sens. 2021, 6, 3808–3821. [Google Scholar] [CrossRef] [PubMed]
- Rudnitskaya, A. Calibration update and drift correction for electronic noses and tongues. Front. Chem. 2018, 6, 433. [Google Scholar] [CrossRef]
- Yang, S.; Lei, G.; Xu, H.; Lan, Z.; Wang, Z.; Gu, H. A Review of the High-Performance Gas Sensors Using Machine Learning. In Machine Learning for Advanced Functional Materials; Springer Nature: Singapore, 2023; pp. 163–198. [Google Scholar]
- Zhang, L.; Tian, F.; Dang, L.; Li, G.; Peng, X.; Yin, X.; Liu, S. A novel background interferences elimination method in electronic nose using pattern recognition. Sens. Actuators A Phys. 2013, 201, 254–263. [Google Scholar] [CrossRef]
- Zhang, J.; Xue, Y.; Sun, Q.; Zhang, T.; Chen, Y.; Yu, W.; Xiong, Y.; Wei, X.; Yu, G.; Wan, H.; et al. A miniaturized electronic nose with artificial neural network for anti-interference detection of mixed indoor hazardous gases. Sens. Actuators B Chem. 2021, 326, 128822. [Google Scholar] [CrossRef]
- Kashwan, K.R.; Bhuyan, M. Robust electronic-nose system with temperature and humidity drift compensation for tea and spice flavour discrimination. In Proceedings of the 2005 Asian Conference on Sensors and the International Conference on New Techniques in Pharmaceutical and Biomedical Research, Kuala Lumpur, Malaysia, 5–7 September 2005; pp. 154–158. [Google Scholar] [CrossRef]
- Sohn, J.H.; Atzeni, M.; Zeller, L.; Pioggia, G. Characterisation of humidity dependence of a metal oxide semiconductor sensor array using partial least squares. Sens. Actuators B Chem. 2008, 131, 230–235. [Google Scholar] [CrossRef]
- Nenova, Z.; Dimchev, G. Compensation of the impact of disturbing factors on gas sensor characteristics. Acta Polytech. Hung. 2013, 10, 97–111. [Google Scholar] [CrossRef]
- Yan, M.; Wu, Y.; Hua, Z.; Lu, N.; Sun, W.; Zhang, J.; Fan, S. Humidity compensation based on power-law response for MOS sensors to VOCs. Sens. Actuators B Chem. 2021, 334, 129601. [Google Scholar] [CrossRef]
- Fuśnik, Ł.; Szafraniak, B.; Paleczek, A.; Grochala, D.; Rydosz, A. A Review of Gas Measurement Set-Ups. Sensors 2022, 22, 2557. [Google Scholar] [CrossRef] [PubMed]
- Viccione, G.; Spiniello, D.; Zarra, T.; Naddeo, V. Fluid dynamic simulation of odour measurement chamber. Chem. Eng. Trans. 2014, 40, 109–114. [Google Scholar] [CrossRef]
- Mahdavi, H.; Rahbarpour, S.; Goldoust, R.; Hosseini-Golgoo, S.M.; Jamaati, H. Investigating Simultaneous Effects of Flow Rate and Chamber Structure on the Performance of Metal Oxide Gas Sensors. IEEE Sens. J. 2021, 21, 21612–21621. [Google Scholar] [CrossRef]
- Potyrailo, R.A.; Go, S.; Sexton, D.; Li, X.; Alkadi, N.; Kolmakov, A.; Amm, B.; St-Pierre, R.; Scherer, B.; Nayeri, M.; et al. Extraordinary performance of semiconducting metal oxide gas sensors using dielectric excitation. Nat. Electron. 2020, 3, 280–289. [Google Scholar] [CrossRef]
- Wang, Y.; Zhou, Y. Recent Progress on Anti-Humidity Strategies of Chemiresistive Gas Sensors. Materials 2022, 15, 8728. [Google Scholar] [CrossRef]
- Yuan, Z.; Zhao, Q.; Duan, Z.; Xie, C.; Duan, X.; Li, S.; Ye, Z.; Jiang, Y.; Tai, H. Ag2Te nanowires for humidity-resistant trace-level NO2 detection at room temperature. Sens. Actuators B Chem. 2022, 363, 131790. [Google Scholar] [CrossRef]
- Kumar, J.; Singh, H.; Raj, V.B.; Nimal, A.T.; Gupta, V.; Singh, V.K. Trace Detection of Nerve Agent Simulant in the Fuel Vapour Environment using Metal Oxide Surface Acoustic Wave E Nose. Def. Sci. J. 2020, 70, 520–528. [Google Scholar] [CrossRef]
- Karimzadeh, R.; Assar, M. Effect of laser irradiation on CO gas detecting response of reduced graphene oxide sensor. RSC Adv. 2016, 6, 52817–52825. [Google Scholar] [CrossRef]
- Ammar, A.H.; Abo-Ghazala, M.S.; Farag, A.A.M.; Abdel-Moniem, N.M.; Farag, E.-S.M. Effect of gas type, pressure and temperature on the electrical characteristics of Al-doped SnO2 thin films deposited by RGTO method for gas sensor application. Vacuum 2013, 94, 30–40. [Google Scholar] [CrossRef]
- Abdurakhmanov, I.E.; Begmatov, R.K.; Abdurakhmanov, E.; Kholboev, O.N.; Kholmirzaev, F.F. Metrological parameters of semiconductor sensors of hydrogen sulfide SCS-H 2 S with membrane coatings based on tungsten and copper oxides. IOP Conf. Ser. Mater. Sci. Eng. 2020, 862, 062084. [Google Scholar] [CrossRef]
- James, D.; Scott, S.M.; Ali, Z.; O’Hare, W.T. Chemical sensors for electronic nose systems. Microchim. Acta 2005, 149, 1–17. [Google Scholar] [CrossRef]
- Illahi, A.A.C.; Dadios, E.P.; Bandala, A.A.; Vicerra, R.R.P. Electronic Nose Technology and Application: A Review. In Proceedings of the 2021 IEEE 13th International Conference on Humanoid, Nanotechnology, Information Technology, Communication and Control, Environment, and Management (HNICEM), Manila, Philippines, 28–30 November 2021. [Google Scholar] [CrossRef]
- Pirsa, S. Chemiresistive Gas Sensors Based on Conducting Polymers. In Handbook of Research on Nanoelectronic Sensor Modeling and Applications; IGI Global: Hershey, PA, USA, 2017; pp. 150–180. [Google Scholar]
- Bai, H.; Shi, G. Gas Sensors Based on Conducting Polymers. Sensors 2007, 7, 267–307. [Google Scholar] [CrossRef]
- Dey, A. Semiconductor metal oxide gas sensors: A review. Mater. Sci. Eng. B Solid-State Mater. Adv. Technol. 2018, 229, 206–217. [Google Scholar] [CrossRef]
- Henrich, V.E.; Cox, P.A. The Surface Science of Metal Oxides; Cambridge University Press: Cambridge, UK, 1994. [Google Scholar]
- Korotcenkov, G. Semiconductor Gas Sensors; Jaaniso, R., Tan, O.K., Eds.; Elsevier: Amsterdam, The Netherlands, 2020; ISBN 9780081025598. [Google Scholar]
- John, A.T.; Murugappan, K.; Nisbet, D.R.; Tricoli, A. An Outlook of Recent Advances in Chemiresistive Sensor-Based Electronic Nose Systems for Food Quality and Environmental Monitoring. Sensors 2021, 21, 2271. [Google Scholar] [CrossRef]
- Arshak, K.; Moore, E.; Lyons, G.M.M.; Harris, J.; Clifford, S. A review of gas sensors employed in electronic nose applications. Sens. Rev. 2004, 24, 181–198. [Google Scholar] [CrossRef]
- Patel, H.K. Sensor Used in E-Nose. In The Electronic Nose: Artificial Olfaction Technolog; Springer: New Delhi, India, 2014; pp. 143–180. [Google Scholar]
- Guth, U.; Vonau, W.; Zosel, J. Recent developments in electrochemical sensor application and technology—A review. Meas. Sci. Technol. 2009, 20, 042002. [Google Scholar] [CrossRef]
- Bakker, E. Electrochemical Sensors. Anal. Chem. 2004, 76, 3285–3298. [Google Scholar] [CrossRef]
- Nazemi, H.; Joseph, A.; Park, J.; Emadi, A. Advanced Micro- and Nano-Gas Sensor Technology: A Review. Sensors 2019, 19, 1285. [Google Scholar] [CrossRef]
- Vashist, S.K.; Vashist, P. Recent Advances in Quartz Crystal Microbalance-Based Sensors. J. Sens. 2011, 2011, 571405. [Google Scholar] [CrossRef]
- Devkota, J.; Ohodnicki, P.; Greve, D. SAW Sensors for Chemical Vapors and Gases. Sensors 2017, 17, 801. [Google Scholar] [CrossRef] [PubMed]
- Burgués, J.; Marco, S. Environmental chemical sensing using small drones: A review. Sci. Total Environ. 2020, 748, 141172. [Google Scholar] [CrossRef] [PubMed]
- Oh, Y.; Kwon, O.-S.; Min, S.-S.; Shin, Y.-B.; Oh, M.-K.; Kim, M. Olfactory Detection of Toluene by Detection Rats for Potential Screening of Lung Cancer. Sensors 2021, 21, 2967. [Google Scholar] [CrossRef]
- Chai, H.; Zheng, Z.; Liu, K.; Xu, J.; Wu, K.; Luo, Y.; Liao, H.; Debliquy, M.; Zhang, C. Stability of Metal Oxide Semiconductor Gas Sensors: A Review. IEEE Sens. J. 2022, 22, 5470–5481. [Google Scholar] [CrossRef]
- Korotcenkov, G.; Cho, B.K. Instability of metal oxide-based conductometric gas sensors and approaches to stability improvement (short survey). Sens. Actuators B Chem. 2011, 156, 527–538. [Google Scholar] [CrossRef]
- Oh, J.; Kim, S.H.; Lee, M.J.; Hwang, H.; Ku, W.; Lim, J.; Hwang, I.S.; Lee, J.H.; Hwang, J.H. Machine learning-based discrimination of indoor pollutants using an oxide gas sensor array: High endurance against ambient humidity and temperature. Sens. Actuators B Chem. 2022, 364, 131894. [Google Scholar] [CrossRef]
- Yoon, J.W.; Kim, J.S.; Kim, T.H.; Hong, Y.J.; Kang, Y.C.; Lee, J.H. A new strategy for humidity independent oxide chemiresistors: Dynamic self-refreshing of In2O3 sensing surface assisted by layer-by-layer coated CeO2 nanoclusters. Small 2016, 12, 4229–4240. [Google Scholar] [CrossRef]
- Abdullah, A.N.; Kamarudin, K.; Kamarudin, L.M.; Adom, A.H.; Mamduh, S.M.; Juffry, Z.H.M.; Bennetts, V.H. Correction Model for Metal Oxide Sensor Drift Caused by Ambient Temperature and Humidity. Sensors 2022, 22, 1–22. [Google Scholar] [CrossRef]
- Slimani, S.; Bultel, E.; Cubizolle, T.; Herrier, C.; Rousselle, T.; Livache, T. Opto-electronic nose coupled to a silicon micro pre-concentrator device for selective sensing of flavored waters. Chemosensors 2020, 8, 60. [Google Scholar] [CrossRef]
- Yu, J.; Wang, D.; Tipparaju, V.V.; Tsow, F.; Xian, X. Mitigation of Humidity Interference in Colorimetric Sensing of Gases. ACS Sens. 2021, 6, 303–320. [Google Scholar] [CrossRef]
- Pan, Y.; Zhang, L.; Cao, B.; Xue, X.; Liu, W.; Zhang, C.; Wang, W. Effects of temperature and humidity on the performance of a PECH polymer coated SAW sensor. RSC Adv. 2020, 10, 18099–18106. [Google Scholar] [CrossRef]
- Shen, Y.T.; Shen, C.Y.; Wu, L.; Huang, C.L. SAW sensors of organophosphorous compound with no humidity interference. Jpn. J. Appl. Phys. 2003, 42, 1358–1362. [Google Scholar] [CrossRef]
- Moon, H.G.; Jung, Y.; Han, S.D.; Shim, Y.S.; Jung, W.S.; Lee, T.; Lee, S.; Park, J.H.; Baek, S.H.; Kim, J.S.; et al. All villi-like metal oxide nanostructures-based chemiresistive electronic nose for an exhaled breath analyzer. Sens. Actuators B Chem. 2018, 257, 295–302. [Google Scholar] [CrossRef]
- Matsuura, Y.; Takahata, K.; Ihokura, K. Mechanism of gas sensitivity change with time of SnO2 gas sensors. Sens. Actuators 1988, 14, 223–232. [Google Scholar] [CrossRef]
- Wang, C.; Yin, L.; Zhang, L.; Xiang, D.; Gao, R. Metal oxide gas sensors: Sensitivity and influencing factors. Sensors 2010, 10, 2088–2106. [Google Scholar] [CrossRef]
- Xu, W.; Cai, Y.; Gao, S.; Hou, S.; Yang, Y.; Duan, Y.; Fu, Q.; Chen, F.; Wu, J. New understanding of miniaturized VOCs monitoring device: PID-type sensors performance evaluations in ambient air. Sens. Actuators B Chem. 2021, 330, 129285. [Google Scholar] [CrossRef]
- Ma, Z.; Yuan, T.; Fan, Y.; Wang, L.; Duan, Z.; Du, W.; Zhang, D.; Xu, J. A benzene vapor sensor based on a metal-organic framework-modified quartz crystal microbalance. Sens. Actuators B Chem. 2020, 311, 127365. [Google Scholar] [CrossRef]
- Mumyakmaz, B.; Özmen, A.; Ebeoǧlu, M.A.; Taşaltin, C.; Gürol, İ.I.; Ebeoğlu, M.A.; Taşaltın, C.; Gürol, İ.I. A study on the development of a compensation method for humidity effect in QCM sensor responses. Sens. Actuators B Chem. 2010, 147, 277–282. [Google Scholar] [CrossRef]
- Gordon Casey, J.; Hannigan, M.P. Testing the performance of field calibration techniques for low-cost gas sensors in new deployment locations: Across a county line and across Colorado. Atmos. Meas. Technol. 2018, 11, 6351–6378. [Google Scholar] [CrossRef]
- Maag, B.; Saukh, O.; Hasenfratz, D.; Thiele, L. Pre-Deployment Testing, Augmentation and Calibration of Cross-Sensitive Sensors; Junction Publishing: London, UK, 2016; pp. 169–180. [Google Scholar]
- Romain, A.-C.; Nicolas, J.; Andre, P. In situ measurement of olfactive pollution with inorganic semiconductors: Limitations due to humidity and temperature influence. Semin. Food Anal. 1997, 2, 283–296. [Google Scholar]
- NIMSUK, N.; NAKAMOTO, T. Study on the odor classification in dynamical concentration robust against humidity and temperature changes. Sens. Actuators B Chem. 2008, 134, 252–257. [Google Scholar] [CrossRef]
- De Vito, S.; Massera, E.; Piga, M.; Martinotto, L.; Di Francia, G. On field calibration of an electronic nose for benzene estimation in an urban pollution monitoring scenario. Sens. Actuators B Chem. 2008, 129, 750–757. [Google Scholar] [CrossRef]
- Helli, O.; Siadat, M.; Lumbreras, M. Qualitative and quantitative identification of H2S/NO2 gaseous components in different reference atmospheres using a metal oxide sensor array. Sens. Actuators B Chem. 2004, 103, 403–408. [Google Scholar] [CrossRef]
- Sohn, J.H.; Dunlop, M.; Hudson, N.; Il Kim, T.; Yoo, Y.H. Non-specific conducting polymer-based array capable of monitoring odour emissions from a biofiltration system in a piggery building. Sens. Actuators B Chem. 2009, 135, 455–464. [Google Scholar] [CrossRef]
- Szczurek, A.; MacIejewska, M. Relationship between odour intensity assessed by human assessor and TGS sensor array response. Sens. Actuators B Chem. 2005, 106, 13–19. [Google Scholar] [CrossRef]
- Yuan, Z.; Benck, J.D.; Eatmon, Y.; Blankschtein, D.; Strano, M.S. Stable, Temperature-Dependent Gas Mixture Permeation and Separation through Suspended Nanoporous Single-Layer Graphene Membranes. Nano Lett. 2018, 18, 5057–5069. [Google Scholar] [CrossRef]
- Di Giuseppe, D.; Catini, A.; Comini, E.; Zappa, D.; Di Natale, C.; Martinelli, E. Optimizing MOX sensor array performances with a reconfigurable self-adaptive temperature modulation interface. Sens. Actuators B Chem. 2021, 333, 129509. [Google Scholar] [CrossRef]
- Fort, A.; Machetti, N.; Rocchi, S.; Belén Serrano Santos, M.; Tondi, L.; Ulivieri, N.; Vignoli, V.; Sberveglieri, G. Tin oxide gas sensing: Comparison among different measurement techniques for gas mixture classification. IEEE Trans. Instrum. Meas. 2003, 52, 921–926. [Google Scholar] [CrossRef]
- Fonollosa, J.; Fernández, L.; Huerta, R.; Gutiérrez-Gálvez, A.; Marco, S. Temperature optimization of metal oxide sensor arrays using Mutual Information. Sens. Actuators B Chem. 2013, 187, 331–339. [Google Scholar] [CrossRef]
- Mielle, P. A cold case: TGS 8xx gas sensors electronics. In Proceedings of the 2022 IEEE International Symposium on Olfaction and Electronic Nose (ISOEN), Aveiro, Portugal, 29 May–1 June 2022; pp. 8–10. [Google Scholar]
- Abidin, M.Z.; Asmat, A.; Hamidon, M.N. Temperature drift identification in semiconductor gas sensors. In Proceedings of the 2014 IEEE Conference on Systems, Process and Control (ICSPC 2014), Kuala Lumpur, Malaysia, 12–14 December 2014; pp. 63–67. [Google Scholar] [CrossRef]
- Peterson, P.J.D.; Aujla, A.; Grant, K.H.; Brundle, A.G.; Thompson, M.R.; Vande Hey, J.; Leigh, R.J. Practical use of metal oxide semiconductor gas sensors for measuring nitrogen dioxide and ozone in urban environments. Sensors 2017, 17, 1–25. [Google Scholar] [CrossRef] [PubMed]
- Knobloch, H.; Turner, C.; Spooner, A.; Chambers, M. Methodological variation in headspace analysis of liquid samples using electronic nose. Sens. Actuators B Chem. 2009, 139, 353–360. [Google Scholar] [CrossRef]
- Shafiek, H.; Fiorentino, F.; Merino, J.L.; López, C.; Oliver, A.; Segura, J.; De Paul, I.; Sibila, O.; Agustí, A.; Cosío, B.G. Using the electronic nose to identify airway infection during COPD exacerbations. PLoS ONE 2015, 10, e0135199. [Google Scholar] [CrossRef] [PubMed]
- Sironi, S.; Eusebio, L.; Capelli, L.; Boiardi, E.; Del Rosso, R. Ammonia diffusion through nalophan double bags: Effect of concentration gradient reduction. Sci. World J. 2014, 2014, 214190. [Google Scholar] [CrossRef] [PubMed]
- Nakhleh, M.K.; Amal, H.; Jeries, R.; Broza, Y.Y.; Aboud, M.; Gharra, A.; Ivgi, H.; Khatib, S.; Badarneh, S.; Har-Shai, L.; et al. Diagnosis and Classification of 17 Diseases from 1404 Subjects via Pattern Analysis of Exhaled Molecules. ACS Nano 2017, 11, 112–125. [Google Scholar] [CrossRef]
- Montuschi, P.; Mores, N.; Trové, A.; Mondino, C.; Barnes, P.J. The electronic nose in respiratory medicine. Respiration 2012, 85, 72–84. [Google Scholar] [CrossRef]
- Marzorati, D.; Mainardi, L.; Sedda, G.; Gasparri, R.; Spaggiari, L.; Cerveri, P. A review of exhaled breath: A key role in lung cancer diagnosis. J. Breath Res. 2019, 13, 034001. [Google Scholar] [CrossRef]
- Aittokallio, T.; Saaresranta, T.; Polo-Kantola, P.; Nevalainen, O.; Polo, O. Analysis of inspiratory flow shapes in patients with partial upper-airway obstruction during sleep. Chest 2001, 119, 37–44. [Google Scholar] [CrossRef]
- Sedlák, P.; Kuberský, P. The effect of the orientation towards analyte flow on electrochemical sensor performance and current fluctuations. Sensors 2020, 20, 1038. [Google Scholar] [CrossRef]
- Maciejewska, M.; Szczurek, A.; Bodzoj, L.; Flisowska-Wiercik, B. Sensor array and stop-flow mode applied to discrimination and quantification of gas mixtures. Sens. Actuators B Chem. 2010, 150, 93–98. [Google Scholar] [CrossRef]
- Kalinowski, P.; Woźniak, Ł.; Jasiński, G.; Jasiński, P. Extraction and evaluation of gas-flow-dependent features from dynamic measurements of gas sensors array. In Proceedings of the 14th International Conference on Optical and Electronic Sensors, Gdansk, Poland, 19–22 June 2016; Volume 10161, p. 101610M. [Google Scholar] [CrossRef]
- Marco, S.; Gutierrez-Galvez, A. Signal and data processing for machine olfaction and chemical sensing: A review. IEEE Sens. J. 2012, 12, 3189–3214. [Google Scholar] [CrossRef]
- Lezzi, A.M.; Beretta, G.P.; Comini, E.; Faglia, G.; Galli, G.; Sberveglieri, G. Influence of gaseous species transport on the response of solid state gas sensors within enclosures. Sens. Actuators B Chem. 2001, 78, 144–150. [Google Scholar] [CrossRef]
- Shyla, M.V.; Naidu, K.B.; Vasanth Kumar, G. Optimization of sensor position on different surfaces using CFD analysis for reducing accidents caused by emission of toxic gas in industries. In Proceedings of the 2013 Fifth International Conference on Advanced Computing (ICoAC), Chennai, India, 18–20 December 2013; pp. 196–204. [Google Scholar] [CrossRef]
- Ryu, J.; Shim, S.; Song, J.; Park, J.; Kim, H.S.; Lee, S.K.; Shin, J.C.; Mun, J.; Kang, S.W. Effect of Measurement System Configuration and Operating Conditions on 2D Material-Based Gas Sensor Sensitivity. Nanomaterials 2023, 13, 17–20. [Google Scholar] [CrossRef]
- Scott, S.M.; James, D.; Ali, Z.; Hare, W.T.O. Optimising of The Sensing Chamber of An Array of Fluid dynamic simulation. J. Therm. Anal. Calorim. 2004, 76, 693–708. [Google Scholar] [CrossRef]
- Dohare, P.; Bagchi, S.; Bhondekar, A.P. Performance optimisation of a sensing chamber using fluid dynamics simulation for electronic nose applications. Turk. J. Electr. Eng. Comput. Sci. 2020, 28, 3068–3078. [Google Scholar] [CrossRef]
- Hazarika, S.; Choudhury, R.; Montazer, B.; Medhi, S.; Goswami, M.P.; Sarma, U. Detection of Citrus Tristeza Virus in Mandarin Orange Using a Custom-Developed Electronic Nose System. IEEE Trans. Instrum. Meas. 2020, 69, 9010–9018. [Google Scholar] [CrossRef]
- Di Francesco, F.; Falcitelli, M.; Marano, L.; Pioggia, G. A radially symmetric measurement chamber for electronic noses. Sens. Actuators B Chem. 2005, 105, 295–303. [Google Scholar] [CrossRef]
- Falcitelli, M.; Benassi, A.; Di Francesco, F.; Domenici, C.; Marano, L.; Pioggia, G. Fluid dynamic simulation of a measurement chamber for electronic noses. Sens. Actuators B Chem. 2002, 85, 166–174. [Google Scholar] [CrossRef]
- Viccione, G.; Zarra, T.; Giuliani, S.; Naddeo, V.; Belgiorno, V. Performance study of e-nose measurement chamber for environmental odour monitoring. Chem. Eng. Trans. 2012, 30, 109–114. [Google Scholar] [CrossRef]
- Bakar, M.A.A.; Abdullah, A.H.; Sa’Ad, F.S.A.; Shukor, S.A.A.; Mustafa, M.H.; Kamis, M.S.; Razak, A.A.A.; Saad, S.A. Electronic nose sensing chamber design for confined space atmospheric monitoring. AIP Conf. Proc. 2016, 1775, 030059. [Google Scholar] [CrossRef]
- Chowdhury, S.R. Simple Sensor Chamber Design For Hand-Held Electronic Nose. Researchgate Net 2014, volume, 2–5. [Google Scholar]
- Annanouch, F.-E.; Bouchet, G.; Perrier, P.; Morati, N.; Reynard-Carette, C.; Aguir, K.; Bendahan, M. How the Chamber Design Can Affect Gas Sensor Responses. Proceedings 2018, 2, 820. [Google Scholar] [CrossRef]
- Lopez, L.; Copa, V.; Hayasaka, T.; Faustino-Lopez, M.A.; Wu, Y.; Liu, H.; Liu, Y.; Estacio, E.; Somintac, A.; Lin, L.; et al. Influence of chamber design on the gas sensing performance of graphene field-effect-transistor. SN Appl. Sci. 2020, 2, 1–11. [Google Scholar] [CrossRef]
- Cheng, L.; Liu, Y.B.; Meng, Q.H. A Novel E-Nose Chamber Design for VOCs Detection in Automobiles. Chin. Control. Conf. CCC 2020, 2020, 6055–6060. [Google Scholar] [CrossRef]
- Levenspiel, O. Chemical Reaction Engineering, 3rd ed.; John Wiley & Sons: Hoboken, NJ, USA, 1999. [Google Scholar]
- Hunter, G.W.; Akbar, S.; Bhansali, S.; Daniele, M.; Erb, P.D.; Johnson, K.; Liu, C.-C.; Miller, D.; Oralkan, O.; Hesketh, P.J.; et al. Editors’ Choice—Critical Review—A Critical Review of Solid State Gas Sensors. J. Electrochem. Soc. 2020, 167, 037570. [Google Scholar] [CrossRef]
- Göpel, W.; Schierbaum, K.D. SnO2 sensors: Current status and future prospects. Sens. Actuators B Chem. 1995, 26, 1–12. [Google Scholar] [CrossRef]
- Xue, L.; Yamazaki, H.; Ren, R.; Wanunu, M.; Ivanov, A.P.; Edel, J.B. Solid-state nanopore sensors. Nat. Rev. Mater. 2020, 5, 931–951. [Google Scholar] [CrossRef]
- Liu, X.; Ma, T.; Pinna, N.; Zhang, J. Two-Dimensional Nanostructured Materials for Gas Sensing. Adv. Funct. Mater. 2017, 27, 1702168. [Google Scholar] [CrossRef]
- Hu, W.; Wan, L.; Jian, Y.; Ren, C.; Jin, K.; Su, X.; Bai, X.; Haick, H.; Yao, M.; Wu, W. Electronic Noses: From Advanced Materials to Sensors Aided with Data Processing. Adv. Mater. Technol. 2019, 4, 1–38. [Google Scholar] [CrossRef]
- Das, S.; Mojumder, S.; Saha, D.; Pal, M. Influence of major parameters on the sensing mechanism of semiconductor metal oxide based chemiresistive gas sensors: A review focused on personalized healthcare. Sens. Actuators B Chem. 2022, 352, 131066. [Google Scholar] [CrossRef]
- Ma, N.; Suematsu, K.; Yuasa, M.; Kida, T.; Shimanoe, K. Effect of Water Vapor on Pd-Loaded SnO2 Nanoparticles Gas Sensor. ACS Appl. Mater. Interfaces 2015, 7, 5863–5869. [Google Scholar] [CrossRef] [PubMed]
- Suematsu, K.; Sasaki, M.; Ma, N.; Yuasa, M.; Shimanoe, K. Antimony-Doped Tin Dioxide Gas Sensors Exhibiting High Stability in the Sensitivity to Humidity Changes. ACS Sens. 2016, 1, 913–920. [Google Scholar] [CrossRef]
- Gao, Z.; Song, G.; Zhang, X.; Li, Q.; Yang, S.; Wang, T.; Li, Y.; Zhang, L.; Guo, L.; Fu, Y. A facile PDMS coating approach to room-temperature gas sensors with high humidity resistance and long-term stability. Sens. Actuators B Chem. 2020, 325, 128810. [Google Scholar] [CrossRef]
- Li, S.; Li, Z.; Zhang, M.; Wu, Z.; Kong, D.; Qian, H.; Su, B. Etching process enhanced H2O2 sensing performance of SnO2/Zn2 SnO4 with reliable anti-humidity ability. Anal. Methods 2022, 14, 3335–3344. [Google Scholar] [CrossRef]
- Il Choi, K.; Kim, H.J.; Kang, Y.C.; Lee, J.H. Ultraselective and ultrasensitive detection of H2S in highly humid atmosphere using CuO-loaded SnO2 hollow spheres for real-time diagnosis of halitosis. Sens. Actuators B Chem. 2014, 194, 371–376. [Google Scholar] [CrossRef]
- Güntner, A.T.; Koren, V.; Chikkadi, K.; Righettoni, M.; Pratsinis, S.E. E-Nose Sensing of Low-ppb Formaldehyde in Gas Mixtures at High Relative Humidity for Breath Screening of Lung Cancer? ACS Sens. 2016, 1, 528–535. [Google Scholar] [CrossRef]
- Yang, D.; Gopal, R.A.; Lkhagvaa, T.; Choi, D. Metal-oxide gas sensors for exhaled-breath analysis: A review. Meas. Sci. Technol. 2021, 32, 102004. [Google Scholar] [CrossRef]
- Kwak, C.; Kim, T.; Jeong, S.; Yoon, J.; Kim, J.; Lee, J. Humidity-Independent Oxide Semiconductor Chemiresistors Using Terbium-Doped SnO 2 Yolk−Shell Spheres for Real-Time Breath Analysis. ACS Appl. Mater. Interfaces 2018, 10, 2–10. [Google Scholar] [CrossRef]
- Luo, Y.; Zhang, C.; Zheng, B.; Geng, X.; Debliquy, M. Hydrogen sensors based on noble metal doped metal-oxide semiconductor: A review. Int. J. Hydrogens Energy 2017, 42, 20386–20397. [Google Scholar] [CrossRef]
- Qin, Y.; Zang, J.; Bai, C.; Wang, X. Dual functionalization of aligned silicon nanowires by APTES and nano-Ag to achieve high response to rarefied acetone at high ambient humidity. J. Mater. Sci. Mater. Electron. 2021, 32, 908–922. [Google Scholar] [CrossRef]
- Yao, M.S.; Cao, L.A.; Hou, G.L.; Cai, M.L.; Xiu, J.W.; Fang, C.H.; Yuan, F.L.; Chen, Y.F. Gold-tin co-sensitized ZnO layered porous nanocrystals: Enhanced responses and anti-humidity. RSC Adv. 2017, 7, 20273–20280. [Google Scholar] [CrossRef]
- Khatoon, Z.; Fouad, H.; Alothman, O.Y.; Hashem, M.; Ansari, Z.A.; Ansari, S.A. Doped SnO2 nanomaterials for e-nose based electrochemical sensing of biomarkers of lung cancer. ACS Omega 2020, 5, 27645–27654. [Google Scholar] [CrossRef] [PubMed]
- Byoun, Y.; Choi, S.-W.; Tae Byun, Y. Realisation of highly sensitive and selective NO2 detection at room temperature utilizing defect-induced single-walled carbon nanotubes combined with Pt functionalisation. Appl. Surf. Sci. 2022, 590, 153068. [Google Scholar] [CrossRef]
- Kim, J.-S.; Na, C.W.; Kwak, C.-H.; Li, H.-Y.; Yoon, J.W.; Kim, J.-H.; Jeong, S.-Y.; Lee, J.-H. Humidity-Independent Gas Sensors Using Pr-Doped In 2O3 Macroporous Spheres: Role of Cyclic Pr3+/Pr4+ Redox Reactions in Suppression of Water-Poisoning Effect. ACS Appl. Mater. Interfaces 2019, 11, 25322–25329. [Google Scholar] [CrossRef]
- Kim, J.-S.; Kim, K.B.; Li, H.-Y.; Na, C.W.; Lim, K.; Moon, Y.K.; Yoon, J.W.; Lee, J.-H. Pure and Pr-doped Ce4W9O33 with superior hydroxyl scavenging ability: Humidity-independent oxide chemiresistors. J. Mater. Chem. A 2021, 9, 16359–16369. [Google Scholar] [CrossRef]
- Reddy, S.M.; Payne, P.A. Effect of unmodified and derivatised poly(vinyl chloride) overlayers on the response of an electronic nose based on conducting polymers. Sens. Actuators B Chem. 1999, 58, 536–543. [Google Scholar] [CrossRef]
- Sayegh, S.; Lee, J.H.; Yang, D.H.; Weber, M.; Iatsunskyi, I.; Coy, E.; Razzouk, A.; Kim, S.S.; Bechelany, M. Humidity-resistant gas sensors based on SnO2 nanowires coated with a porous alumina nanomembrane by molecular layer deposition. Sens. Actuators B Chem. 2021, 344, 130302. [Google Scholar] [CrossRef]
- Zohora, S.; Khan, A.; Hundewale, N. Chemical Sensors Employed in Electronic Noses: A Review. Proc. Second. Int. Conf. Adv. Comput. Inf. Technol. 2012, 178, 3. [Google Scholar]
- Selyanchyn, R.; Wakamatsu, S.; Hayashi, K.; Lee, S.-W.W. A Nano-Thin Film-Based Prototype QCM Sensor Array for Monitoring Human Breath and Respiratory Patterns. Sensors 2015, 15, 18834–18850. [Google Scholar] [CrossRef]
- Pang, J.; Le, X.; Pang, K.; Dong, H.; Zhang, Q.; Xu, Z.; Gao, C.; Fu, Y.; Xie, J. Highly precision carbon dioxide acoustic wave sensor with minimized humidity interference. Sens. Actuators B Chem. 2021, 338, 129824. [Google Scholar] [CrossRef]
- Li, H.; Zhang, W.; Ding, Q.; Jin, X.; Ke, Q.; Li, Z.; Wang, D.; Huang, C. Facile Strategy for Fabrication of Flexible, Breathable, and Washable Piezoelectric Sensors via Welding of Nanofibers with Multiwalled Carbon Nanotubes (MWCNTs). ACS Appl. Mater. Interfaces 2019, 11, 38023–38030. [Google Scholar] [CrossRef] [PubMed]
- Wei, Y.; Shi, X.; Yao, Z.; Zhi, J.; Hu, L.; Yan, R.; Shi, C.; Yu, H.-D.; Huang, W. Fully paper-integrated hydrophobic and air permeable piezoresistive sensors for high-humidity and underwater wearable motion monitoring. NPJ Flex. Electron. 2023, 7, 13. [Google Scholar] [CrossRef]
- Li, D.; Zu, X.; Ao, D.; Tang, Q.; Fu, Y.; Guo, Y.; Bilawal, K.; Faheem, M.B.; Li, L.; Li, S.; et al. High humidity enhanced surface acoustic wave (SAW) H2S sensors based on sol–gel CuO films. Sens. Actuators B Chem. 2019, 294, 55–61. [Google Scholar] [CrossRef]
- Du, B.; Qi, T.; Li, J.; He, Y.; Yang, X. Improving anti-humidity property of In2O3 based NO2 sensor by fluorocarbon plasma treatment. Sens. Actuators B Chem. 2021, 344, 130268. [Google Scholar] [CrossRef]
- Ionescu, R. Ageing and p-type conduction in SnO2 gas sensors. Sens. Actuators B Chem. 1999, 58, 375–379. [Google Scholar] [CrossRef]
- Ionescu, R.; Vancu, A.; Tomescu, A. Time-dependent humidity calibration for drift corrections in electronic noses equipped with SnO2 gas sensors. Sens. Actuators B Chem. 2000, 69, 283–286. [Google Scholar] [CrossRef]
- Itoh, T.; Matsubara, I.; Kadosaki, M.; Sakai, Y.; Shin, W.; Izu, N.; Nishibori, M.; Industrial, T. Effects of High-Humidity Aging on Platinum, Palladium, and Gold Loaded Tin Oxide—Volatile Organic Compound Sensors. Sensors 2010, 10, 6513–6521. [Google Scholar] [CrossRef]
- Suematsu, K.; Man, N.; Watanabe, K.; Yuasa, M.; Kida, T.; Shimanoe, K. Effect of Humid Aging on the Oxygen Adsorption in SnO2 Gas Sensors. Sensors 2018, 18, 254. [Google Scholar] [CrossRef]
- Wu, R.; Tian, L.; Li, H.; Liu, H.; Luo, J.; Tian, X.; Hua, Z.; Wu, Y.; Fan, S. A selective methane gas sensor based on metal oxide semiconductor equipped with an on-chip microfilter. Sens. Actuators B Chem. 2022, 359, 131557. [Google Scholar] [CrossRef]
- Gupta, N.; Fahad, H.M.; Amani, M.; Song, X.; Scott, M.; Javey, A. Elimination of response to relative humidity changes in chemical-sensitive field-effect transistors. ACS Sens. 2019, 4, 1857–1863. [Google Scholar] [CrossRef]
- Vallejos, S.; Gràcia, I.; Pizúrová, N.; Figueras, E.; Čechal, J.; Hubálek, J.; Cané, C. Gas sensitive ZnO structures with reduced humidity-interference. Sens. Actuators B Chem. 2019, 301, 127054. [Google Scholar] [CrossRef]
- Miró, P.; Audiffred, M.; Heine, T. An atlas of two-dimensional materials. Chem. Soc. Rev. 2014, 43, 6537–6554. [Google Scholar] [CrossRef] [PubMed]
- Novoselov, K.S.; Geim, A.K.; Morozov, S.V.; Jiang, D.; Zhang, Y.; Dubonos, S.V.; Grigorieva, I.V.; Firsov, A.A. Electric Field Effect in Atomically Thin Carbon Films. Science 2004, 306, 666–669. [Google Scholar] [CrossRef] [PubMed]
- Meng, Z.; Stolz, R.M.; Mendecki, L.; Mirica, K.A. Electrically-Transduced Chemical Sensors Based on Two-Dimensional Nanomaterials. Chem. Rev. 2019, 119, 478–598. [Google Scholar] [CrossRef]
- Wang, Y.; Shao, Y.; Matson, D.W.; Li, J.; Lin, Y. Nitrogen-Doped Graphene and Its Application in Electrochemical Biosensing. ACS Nano 2010, 4, 1790–1798. [Google Scholar] [CrossRef]
- Donarelli, M.; Prezioso, S.; Perrozzi, F.; Giancaterini, L.; Cantalini, C.; Treossi, E.; Palermo, V.; Santucci, S.; Ottaviano, L. Graphene oxide for gas detection under standard humidity conditions. 2D Mater. 2015, 2, 035018. [Google Scholar] [CrossRef]
- Miao, J.; Chen, C.; Lin, J.Y.S. Humidity independent hydrogen sulfide sensing response achieved with monolayer film of CuO nanosheets. Sens. Actuators B Chem. 2020, 309, 127785. [Google Scholar] [CrossRef]
- Yang, S.; Lei, G.; Xu, H.; Lan, Z.; Wang, Z.; Gu, H. Metal oxide based heterojunctions for gas sensors: A review. Nanomaterials 2021, 11, 1026. [Google Scholar] [CrossRef]
- Yan, W.; Liu, W.; Zhao, Z.; Wang, J.; Nam, G.B.; Cui, S.; Shen, X.; Jang, H.W. Humidity-independent electronic nose of α-Fe2O3/ZnFe2O4 heterojunctions for trace detection of N-butanol exhalation in lung cancer screening. Sens. Actuators B Chem. 2023, 384, 133577. [Google Scholar] [CrossRef]
- Faia, P.M.; Furtado, C.S. Chemical Effect of composition on electrical response to humidity of TiO2:ZnO sensors investigated by impedance spectroscopy. Sens. Actuators B. Chem. 2013, 181, 720–729. [Google Scholar] [CrossRef]
- Dong, L.; Xu, Z.; Xuan, W.; Yan, H.; Liu, C.; Zhao, W.S.; Wang, G.; Teh, K.S. A Characterization of the Performance of Gas Sensor Based on Heater in Different Gas Flow Rate Environments. IEEE Trans. Ind. Inform. 2020, 16, 6281–6290. [Google Scholar] [CrossRef]
- Fonollosa, J.; Fernández, L.; Gutiérrez-Gálvez, A.; Huerta, R.; Marco, S. Calibration transfer and drift counteraction in chemical sensor arrays using Direct Standardization. Sens. Actuators B Chem. 2016, 236, 1044–1053. [Google Scholar] [CrossRef]
- Jaeschke, C.; Glöckler, J.; Padilla, M.; Mitrovics, J.; Mizaikoff, B. An eNose-based method performing drift correction for online VOC detection under dry and humid conditions. Anal. Methods 2020, 12, 4724–4733. [Google Scholar] [CrossRef] [PubMed]
- Laref, R.; Ahmadou, D.; Losson, E.; Siadat, M. Orthogonal Signal Correction to Improve Stability Regression Model in Gas Sensor Systems. J. Sens. 2017, 2017, 9851406. [Google Scholar] [CrossRef]
- Dragonieri, S.; Pennazza, G.; Carratu, P.; Resta, O. Electronic Nose Technology in Respiratory Diseases. Lung 2017, 195, 157–165. [Google Scholar] [CrossRef] [PubMed]
- De Vries, R.; Brinkman, P.; Van Der Schee, M.P.; Fens, N.; Dijkers, E.; Bootsma, S.K.; De Jongh, F.H.C.; Sterk, P.J. Integration of electronic nose technology with spirometry: Validation of a new approach for exhaled breath analysis. J. Breath Res. 2015, 9, 046001. [Google Scholar] [CrossRef]
- Bos, A. Mobile Device and Method for Analysing Breath Samples. US Patent US20150105683A1, 16 April 2015. [Google Scholar]
- Tiele, A.; Wicaksono, A.; Ayyala, S.K.; Covington, J.A. Development of a compact, iot-enabled electronic nose for breath analysis. Electronics 2020, 9, 84. [Google Scholar] [CrossRef]
- Cerrato Oliveros, M.C.; Pérez Pavón, J.L.; García Pinto, C.; Fernández Laespada, M.E.; Moreno Cordero, B.; Forina, M.; García Pinto, C.; Fernández Laespada, M.E.; Moreno Cordero, B.; Forina, M. Electronic nose based on metal oxide semiconductor sensors as a fast alternative for the detection of adulteration of virgin olive oils. Anal. Chim. Acta 2002, 459, 219–228. [Google Scholar] [CrossRef]
- Islam, A.K.M.S.; Ismail, Z.; Saad, B.; Othman, A.R.; Ahmad, M.N.; Shakaff, A.Y. Correlation studies between electronic nose response and headspace volatiles of Eurycoma longifolia extracts. Sens. Actuators B Chem. 2006, 120, 245–251. [Google Scholar] [CrossRef]
- Aleixandre, M.; Lozano, J.; Guti, J.; Sayago, I.; Fern, M.J.; Horrillo, M.C. Portable e-nose to classify different kinds of wine. Sens. Actuators B Chem. 2008, 131, 71–76. [Google Scholar] [CrossRef]
- Yang, Z.; Dong, F.; Shimizu, K.; Kinoshita, T.; Kanamori, M. Identification of coumarin-enriched Japanese green teas and their particular flavor using electronic nose. J. Food Eng. 2009, 92, 312–316. [Google Scholar] [CrossRef]
- Pinheiro, C.; Rodrigues, C.M.; Schäfer, T.; Crespo, J.G. Monitoring the aroma production during wine-must fermentation with an electronic nose. Biotechnol. Bioeng. 2002, 77, 632–640. [Google Scholar] [CrossRef] [PubMed]
- Oshita, S.; Shima, K.; Haruta, T.; Seo, Y.; Kawagoe, Y. Discrimination of odors emanating from ‘La France’ pear by semi-conducting polymer sensors. Comput. Electron. Agric. 2000, 26, 209–216. [Google Scholar] [CrossRef]
- Ulmer, H.; Mitrovics, J.; Noetzel, G.; Weimar, U.; Go, W. Odours and flavours identified with hybrid modular sensor systems. Sens. Actuators B Chem. 1997, 43, 24–33. [Google Scholar] [CrossRef]
- Bourgeois, W.; Burgess, J.E.; Stuetz, R.M. On-line monitoring of wastewater quality: A review. J. Chem. Technol. Biotechnol. 2001, 348, 337–348. [Google Scholar] [CrossRef]
- Lippolis, V.; Cervellieri, S.; Damascelli, A.; Pascale, M.; Gioia, D.; Girolamo, A. De Rapid prediction of deoxynivalenol contamination in wheat bran by MOS-based electronic nose and characterization of the relevant pattern of volatile compounds. J. Sci. Food Agric. 2018, 98, 4955–4962. [Google Scholar] [CrossRef]
- Lippolis, V.; Pascale, M.; Cervellieri, S.; Damascelli, A.; Visconti, A. Screening of deoxynivalenol contamination in durum wheat by MOS-based electronic nose and identi fi cation of the relevant pattern of volatile compounds. Food Control 2014, 37, 263–271. [Google Scholar] [CrossRef]
- Gonzalez Martin, Y.; Cerrato Oliveros, M.C.; Perez Pavon, J.L.; Garcia Pinto, C.; Moreno Cordero, B. Electronic nose based on metal oxide semiconductor sensors and pattern recognition techniques: Characterisation of vegetable oils Carmelo Garc. Anal. Chim. Acta 2001, 449, 69–80. [Google Scholar] [CrossRef]
- Sberveglieri, G.; Groppelli, S.; Nelli, P.; Camanzi, A. Bismuth-doped tin oxide thin-film gas sensors. Sens. Actuators B Chem. 1991, 3, 183–189. [Google Scholar] [CrossRef]
- Endres, H.E.; Jander, H.D.; Göttler, W. A test system for gas sensors. Sens. Actuators B Chem. 1995, 23, 163–172. [Google Scholar] [CrossRef]
- Arendes, D.; Amann, J.; Brieger, O.; Bur, C.; Schütze, A. Qualification of a Gas Mixing Apparatus for Complex Trace Gas Mixtures. Dresdner Sens.-Symp. 2022, 2022, 183–188. [Google Scholar] [CrossRef]
- Wilson, A.D.; Lester, D.G.; Oberle, C.S. Development of Conductive Polymer Analysis for the Rapid Detection and Identification of Phytopathogenic Microbes. Phytopathology 2004, 94, 419–431. [Google Scholar] [CrossRef] [PubMed]
- Campagnoli, A.; Cheli, F.; Polidori, C.; Zaninelli, M.; Zecca, O. Use of the Electronic Nose as a Screening Tool for the Recognition of Durum Wheat Naturally Contaminated by Deoxynivalenol: A Preliminary Approach. Sensors 2011, 11, 4899–4916. [Google Scholar] [CrossRef] [PubMed]
- Du, W.-X.; Lin, C.-M.; Huang, T.; Marshall, M.; Wei, C.-I. Potential Application of the Electronic Nose for Quality Assessment of Salmon Fillets. Food Microbiol. Saf. Potential 2001, 67, 307–313. [Google Scholar]
- Gobbi, E.; Falasconi, M.; Torelli, E.; Sberveglieri, G. Electronic nose predicts high and low fumonisin contamination in maize cultures. FRIN 2011, 44, 992–999. [Google Scholar] [CrossRef]
- Wen, T.; Zheng, L.; Dong, S.; Gong, Z.; Sang, M.; Long, X. Rapid detection and classi fi cation of citrus fruits infestation by Bactrocera dorsalis (Hendel) based on electronic nose. Postharvest Biol. Technol. 2019, 147, 156–165. [Google Scholar] [CrossRef]
- Herndandez Gomez, A.; Hu, G.; Wang, J.; Garicia Pereira, A. Evaluation of tomato maturity by electronic nose. Comput. Electron. Agric. 2006, 54, 44–52. [Google Scholar] [CrossRef]
- Chen, L.; Wong, D.; Fang, C.; Chiu, C.; Chou, T.; Wu, C. Development of an Electronic-Nose System for Fruit Maturity and Quality Monitoring. In Proceedings of the 2018 IEEE International Conference on Applied System Invention (ICASI), Chiba, Japan, 13–17 April 2018; pp. 1129–1130. [Google Scholar]
- Hong, X.; Wang, J.; Qiu, S. Authenticating cherry tomato juices—Discussion of different data standardization and fusion approaches based on electronic nose and tongue. FRIN 2014, 60, 173–179. [Google Scholar] [CrossRef]
- Chen, Q.; Zhao, J.; Chen, Z.; Lin, H.; Zhao, D. Discrimination of green tea quality using the electronic nose technique and the human panel test, comparison of linear and nonlinear classification tools. Sens. Actuators B Chem. 2011, 159, 294–300. [Google Scholar] [CrossRef]
- Cui, S.; Wu, J.; Wang, J.; Wang, X. Discrimination of American ginseng and Asian ginseng using electronic nose and gas chromatography e mass spectrometry coupled with chemometrics. J. Ginseng Res. 2017, 41, 85–95. [Google Scholar] [CrossRef]
- Lozano, J.; Santos, J.P.; Guti, J.; Horrillo, M.C. Comparative study of sampling systems combined with gas sensors for wine discrimination. Sens. Actuators B Chem. 2007, 126, 616–623. [Google Scholar] [CrossRef]
- Camardo Leggieri, M.; Mazzoni, M.; Fodil, S.; Moschini, M.; Bertuzzi, T.; Prandini, A.; Battilani, P. An electronic nose supported by an artificial neural network for the rapid detection of aflatoxin B1 and fumonisins in maize. Food Control 2021, 123, 107722. [Google Scholar] [CrossRef]
- Ragazzo-Sanchez, J.A.; Chalier, P.; Chevalier, D.; Calderon-Santoyo, M.; Ghommidh, C. Identification of different alcoholic beverages by electronic nose coupled to GC. Sens. Actuators B Chem. 2008, 134, 43–48. [Google Scholar] [CrossRef]
- Mahdavi, H.; Rahbarpour, S.; Hosseini-Golgoo, S.M.; Jamaati, H. Reducing the destructive effect of ambient humidity variations on gas detection capability of a temperature modulated gas sensor by calcium chloride. Sens. Actuators B Chem. 2021, 331, 129091. [Google Scholar] [CrossRef]
- González Martín, Y.; Luis Pérez Pavón, J.; Moreno Cordero, B.; García Pinto, C. Classification of vegetable oils by linear discriminant analysis of Electronic Nose data. Anal. Chim. Acta 1999, 384, 83–94. [Google Scholar] [CrossRef]
- Burlachenko, J.; Kruglenko, I.; Snopok, B.; Persaud, K. Sample handling for electronic nose technology: State of the art and future trends. TrAC—Trends Anal. Chem. 2016, 82, 222–236. [Google Scholar] [CrossRef]
- Robin, Y.; Amann, J.; Goodarzi, P.; Schutze, A.; Bur, C. Transfer Learning to Significantly Reduce the Calibration Time of MOS Gas Sensors. In Proceedings of the 2022 IEEE International Symposium on Olfaction and Electronic Nose (ISOEN), Aveiro, Portugal, 29 May–1 June 2022; pp. 1–4. [Google Scholar]
- Laref, R.; Losson, E.; Sava, A.; Siadat, M. Support Vector Machine Regression for Calibration Transfer between Electronic Noses Dedicated to Air Pollution Monitoring. Sensors 2018, 18, 3716. [Google Scholar] [CrossRef]
- Lotesoriere, B.J.; Bax, C.; Capelli, L. Odour impact assessment by Instrumental Odour Monitoring Systems: A case study focusing on the differentiation of different odour sources and performance testing. In Proceedings of the 2022 IEEE International Symposium on Olfaction and Electronic Nose (ISOEN), Aveiro, Portugal, 29 May–1 June 2022; pp. 1–4. [Google Scholar] [CrossRef]
- Capelli, L.; Bax, C.; Grizzi, F.; Taverna, G. Optimization of training and measurement protocol for eNose analysis of urine headspace aimed at prostate cancer diagnosis. Sci. Rep. 2021, 11, 20898. [Google Scholar] [CrossRef]
- EN13725: 2022; Stationary Source Emissions—Determination of Odour Concentration by Dynamic Olfactometry and Odour Emission Rate. European Standard: Brussels, Belgium, 2022.
- Eusebio, L.; Capelli, L.; Sironi, S. H2S Loss through NalophanTM Bags: Contributions of Adsorption and Diffusion. Sci. World J. 2017, 2017, 9690704. [Google Scholar] [CrossRef]
- Bax, C.; Robbiani, S.; Zannin, E.; Capelli, L.; Ratti, C.; Bonetti, S.; Novelli, L.; Raimondi, F.; Di Marco, F.; Dellacà, R.L. An Experimental Apparatus for E-Nose Breath Analysis in Respiratory Failure Patients. Diagnostics 2022, 12, 776. [Google Scholar] [CrossRef]
- Aishima, T. Discrimination liquor aromas bY pattern recognition analysis of responses from a gas sensor array. Anal. Chim. Acta 1991, 243, 293–300. [Google Scholar] [CrossRef]
- Romain, A.; Godefroid, D.; Nicolas, J. Monitoring the exhaust air of a compost pile with an e-nose and comparison with GC—MS data. Sens. Actuators B Chem. 2005, 106, 317–324. [Google Scholar] [CrossRef]
- Capelli, L.; Sironi, S.; Dentoni, L.; Del Rosso, R.; Centola, P.; Demattè, F.; Della Torre, M.; Riccò, I. An innovative system for the continuous monitoring of environmental odours: Results of laboratory and field tests. Chem. Eng. Trans. 2010, 23, 309–314. [Google Scholar] [CrossRef]
- Eusebio, L.; Sironi, S.; Capelli, L.; Il Grande, M.; Della Torre, M. Continuous evaluation of odour concentration at a plant emission by electronic nose. Chem. Eng. Trans. 2014, 40, 133–138. [Google Scholar] [CrossRef]
- Dentoni, L.; Capelli, L.; Sironi, S.; Del Rosso, R.; Zanetti, S.; Torre, M. Della Development of an electronic nose for environmental odour monitoring. Sensors 2012, 12, 14363–14381. [Google Scholar] [CrossRef] [PubMed]
- Cagnasso, S.; Falasconi, M.; Previdi, M.P.; Franceschini, B.; Cavalieri, C.; Sberveglieri, V.; Rovere, P. Rapid screening of alicyclobacillus acidoterrestris spoilage of fruit juices by electronic nose: A confirmation study. J. Sens. 2010, 2010, 143173. [Google Scholar] [CrossRef]
- Cevoli, C.; Cerretani, L.; Gori, A.; Caboni, M.F.; Gallina Toschi, T.; Fabbri, A. Classification of Pecorino cheeses using electronic nose combined with artificial neural network and comparison with GC-MS analysis of volatile compounds. Food Chem. 2011, 129, 1315–1319. [Google Scholar] [CrossRef]
- Pacioni, G.; Cerretani, L.; Procida, G.; Cichelli, A. Composition of commercial truffle flavored oils with GC-MS analysis and discrimination with an electronic nose. Food Chem. 2014, 146, 30–35. [Google Scholar] [CrossRef]
- Cellini, A.; Biondi, E.; Blasioli, S.; Rocchi, L.; Farneti, B.; Braschi, I.; Savioli, S.; Rodriguez-Estrada, M.T.; Biasioli, F.; Spinelli, F. Early detection of bacterial diseases in apple plants by analysis of volatile organic compounds profiles and use of electronic nose. Ann. Appl. Biol. 2016, 168, 409–420. [Google Scholar] [CrossRef]
- Lerma-García, M.J.; Simó-Alfonso, E.F.; Bendini, A.; Cerretani, L. Metal oxide semiconductor sensors for monitoring of oxidative status evolution and sensory analysis of virgin olive oils with different phenolic content. Food Chem. 2009, 117, 608–614. [Google Scholar] [CrossRef]
- Sberveglieri, G.; Zambotti, G.; Falasconi, M.; Gobbi, E.; Sberveglieri, V. MOX-NW electronic nose for detection of food microbial contamination. Proc. IEEE Sens. 2014, 2014, 1376–1379. [Google Scholar] [CrossRef]
- Mildner-Szkudlarz, S.; Jeleń, H.H.; Zawirska-Wojtasiak, R. The use of electronic and human nose for monitoring rapeseed oil autoxidation. Eur. J. Lipid Sci. Technol. 2008, 110, 61–72. [Google Scholar] [CrossRef]
- Liang, Z.; Tian, F.; Yang, S.X.; Zhang, C.; Sun, H.; Liu, T. Study on interference suppression algorithms for electronic noses: A review. Sensors 2018, 18, 1179. [Google Scholar] [CrossRef] [PubMed]
- Gonzalez-Jimenez, J.; Monroy, J.G.; Blanco, J.L. The multi-chamber electronic nose-an improved olfaction sensor for mobile robotics. Sensors 2011, 11, 6145–6164. [Google Scholar] [CrossRef] [PubMed]
- Wang, J.; Gao, D.; Wang, Z. Quality-grade evaluation of petroleum waxes using an electronic nose with a TGS gas sensor array. Meas. Sci. Technol. 2015, 26, 085005. [Google Scholar] [CrossRef]
- Menini, A. The Neurobiology of Olfaction; Thieme/AAO-HNSF: Dallas, TX, USA, 2015; ISBN 9781626239777. [Google Scholar]
- Samiyan, N.S.; Mohd Addi, M. Characterization of sensing chamber design for E-nose applications. J. Telecommun. Electron. Comput. Eng. 2017, 9, 123–127. [Google Scholar]
- Annanouch, F.E.; Bouchet, G.; Perrier, P.; Morati, N.; Reynard-Carette, C.; Aguir, K.; Martini-Laithier, V.; Bendahan, M. Hydrodynamic evaluation of gas testing chamber: Simulation, experiment. Sens. Actuators B Chem. 2019, 290, 598–606. [Google Scholar] [CrossRef]
- Robbiani, S.; Bax, C.; Albertazzi, J.; Pappolla, M.; Busini, V.; Apelli, L.; Dellaca, R. A bench test system for developing E-nose diagnostic tools with exhaled breath sampling. In Proceedings of the 2022 IEEE International Symposium on Olfaction and Electronic Nose (ISOEN), Aveiro, Portugal, 29 May–1 June 2022; pp. 1–4. [Google Scholar] [CrossRef]
- Chang, Z.; Sun, Y.; Zhang, Y.; Gao, Y.; Weng, X.; Chen, D.; David, L.; Xie, J. Bionic Optimization Design of Electronic Nose Chamber for Oil and Gas Detection. J. Bion. Eng. 2018, 15, 533–544. [Google Scholar] [CrossRef]
- Wang, J.Y.; Meng, Q.H.; Jin, X.W.; Sun, Z.H. Design of handheld electronic nose bionic chambers for Chinese liquors recognition. Meas. J. Int. Meas. Confed. 2021, 172, 108856. [Google Scholar] [CrossRef]
- Degler, D.; Junker, B.; Allmendinger, F.; Weimar, U.; Barsan, N. Investigations on the temperature-dependent interaction of water vapor with tin dioxide and its implications on gas sensing. ACS Sens. 2020, 5, 3207–3216. [Google Scholar] [CrossRef]
- Beghi, S.; Guillot, J.-M. Use of poly(ethylene terephtalate) film bag to sample and remove humidity from atmosphere containing volatile organic compounds. J. Chromatogr. A 2008, 1183, 1–5. [Google Scholar] [CrossRef]
- Martin, J.D.M.; Romain, A.C. Building a Sensor Benchmark for E-Nose Based Lung Cancer Detection: Methodological Considerations. Chemosensors 2022, 10, 444. [Google Scholar] [CrossRef]
- Kasper, P.L.; Oxbøl, A.; Hansen, M.J.; Feilberg, A. Mechanisms of Loss of Agricultural Odorous Compounds in Sample Bags of Nalophan, Tedlar, and PTFE. J. Environ. Qual. 2018, 47, 246–253. [Google Scholar] [CrossRef] [PubMed]
- Guillot, J.-M.; Beghi, S. Permeability to water vapour and hydrogen sulphide of some sampling bags recommended by EN 13725. Chem. Eng. Trans. 2008, 15, 79–86. [Google Scholar]
- Toledo, M.; Guillot, J.M.; Siles, J.A.; Martín, M.A. Permeability and adsorption effects for volatile sulphur compounds in Nalophan sampling bags: Stability influenced by storage time. Biosyst. Eng. 2019, 188, 217–228. [Google Scholar] [CrossRef]








| Classification | Reducing Gas | Oxidizing Gas |
|---|---|---|
| n-type | Resistance decrease | Resistance increase |
| p-type | Resistance increase | Resistance decrease |
| Modified Hardware Component | Addressed Effect | ||
|---|---|---|---|
| Compensation Strategy | Humidity | Temperature | Flow |
| Sensors | X | X | |
| Sampling system | X | X | X |
| Chamber geometry | X | ||
| Authors | Year | Ref. | Short Description | Physical Factors Considered in Chamber Design | ||
|---|---|---|---|---|---|---|
| Flow Direction | Small Volume | Recirculating Zones | ||||
| Falcitelli et al. | 2002 | [101] | Rectangular chamber with diffuser and small volume | x | x | |
| Di Francesco et al. | 2005 | [100] | Radially symmetrical chamber | x | x | x |
| Gonzalez Jimenez et al. | 2011 | [213] | Small chamber for robot applications | x | ||
| Viccione et al. | 2014 | [27] | Radially symmetrical chamber with radial diffuser | x | x | x |
| Wang et al. | 2015 | [214] | Circumference chamber | x | ||
| Chowdhury et al. | 2016 | [104] | Rectangular chamber with zig zag | x | ||
| Bakar et al. | 2016 | [103] | Cylindrical chamber | x | ||
| Samiyan et al. | 2017 | [216] | Hemispherical chamber | x | ||
| Annanouch et al. | 2018 | [217] | Boat-shaped chamber | x | x | |
| Cheng et al. | 2020 | [107] | Chamber with baffles to direction the flow on the active layer | x | ||
| Dohare et al. | 2020 | [98] | Rectangular chamber with baffles | x | x | |
| Lopez et al. | 2020 | [106] | Cap chamber | x | x | |
| Robbiani et al. | 2022 | [218] | Radial chamber | x | x | |
| Chang et al. | 2018 | [219] | Bio-inspired chamber | x | ||
| Wang et al. | 2021 | [220] | Bio-inspired chamber | x | x | |
Disclaimer/Publisher’s Note: The statements, opinions and data contained in all publications are solely those of the individual author(s) and contributor(s) and not of MDPI and/or the editor(s). MDPI and/or the editor(s) disclaim responsibility for any injury to people or property resulting from any ideas, methods, instructions or products referred to in the content. |
© 2023 by the authors. Licensee MDPI, Basel, Switzerland. This article is an open access article distributed under the terms and conditions of the Creative Commons Attribution (CC BY) license (https://creativecommons.org/licenses/by/4.0/).
Share and Cite
Robbiani, S.; Lotesoriere, B.J.; Dellacà, R.L.; Capelli, L. Physical Confounding Factors Affecting Gas Sensors Response: A Review on Effects and Compensation Strategies for Electronic Nose Applications. Chemosensors 2023, 11, 514. https://doi.org/10.3390/chemosensors11100514
Robbiani S, Lotesoriere BJ, Dellacà RL, Capelli L. Physical Confounding Factors Affecting Gas Sensors Response: A Review on Effects and Compensation Strategies for Electronic Nose Applications. Chemosensors. 2023; 11(10):514. https://doi.org/10.3390/chemosensors11100514
Chicago/Turabian StyleRobbiani, Stefano, Beatrice Julia Lotesoriere, Raffaele L. Dellacà, and Laura Capelli. 2023. "Physical Confounding Factors Affecting Gas Sensors Response: A Review on Effects and Compensation Strategies for Electronic Nose Applications" Chemosensors 11, no. 10: 514. https://doi.org/10.3390/chemosensors11100514
APA StyleRobbiani, S., Lotesoriere, B. J., Dellacà, R. L., & Capelli, L. (2023). Physical Confounding Factors Affecting Gas Sensors Response: A Review on Effects and Compensation Strategies for Electronic Nose Applications. Chemosensors, 11(10), 514. https://doi.org/10.3390/chemosensors11100514

