Abstract
In the context of a burgeoning knowledge economy, enterprise intellectual capital has emerged as a pivotal asset for organizational growth. Evaluating it requires a comprehensive and robust index, yet there is no standard methodology for such assessments. Here, we propose an index for evaluating enterprise intellectual capital. We use the Delphi method to delineate a scientific decision structure. A grey-based decision-making trial and evaluation laboratory (DEMATEL) is coupled with an analytic network process (ANP)—i.e., grey DEMATEL-based ANP (GDANP)—to determine the relative weight of indicators. Then, we use the technique for order preference by similarity to an ideal solution to validate the effectiveness and applicability of the proposed evaluation index based on data on thirty new-technology companies in China. This study bridges a critical gap in academic discourse, and we discuss the practical implications for the strategic management of intellectual capital in corporate settings.
MSC:
90B50
1. Introduction
Intellectual capital, sometimes called hidden wealth, includes knowledge, organizational technology, practical experience, and professional skills. It has gradually replaced physical capital [] as the main driver of economic development and has enhanced the sustainable competitiveness of enterprises []. As a vital strategic resource guiding enterprise management and innovation [], intellectual capital is a strategic asset that entrepreneurs compete for [], as it enables them to gain a competitive edge in today’s increasingly aggressive marketplace. For internal and external opportunities, a company’s competitiveness requires intellectual capital to manage threats []. At the 17th Congress of the Communist Party in China, it was suggested that enhancing the capacity for independent innovation and fostering an innovation-oriented country would be pivotal to advancing the nation’s comprehensive strength. The level of enterprise intellectual capital significantly determines the independent innovation of enterprises and even the national innovation system. Promoting enterprise intellectual capital at the national level has been redefined from a strategic perspective due to a series of central policies.
Although some Chinese enterprises have recognized the significance of intellectual capital, several challenges arise during the targeted management process. For instance, the range of research for enterprise intellectual capital is vast, the subject matter is intricate, and heterogeneity is evident. Thus far, there is no relatively uniform standard in academic research, the research framework is incomplete, and the research indicators are inadequate. Hence, it is of great practical value to investigate the management of intellectual capital so that companies can maximize its value and create sustainable competitive advantages. A key approach to address this issue is to develop a feasible intellectual capital measurement and evaluation index to assess the positive interaction between intellectual capital evaluation and construction.
Since the evaluation of enterprise intellectual capital is a typical multi-criteria decision-making (MCDM) problem, the second-order hotel intellectual capital model—the Norton–Kaplan balance indicator system—and the European Foundation for Quality Management model cannot be easily applied, owing to their limitations. Therefore, we propose a novel hybrid method, namely a grey-based decision-making trial and evaluation laboratory (DEMATEL), coupled with an analytic network process (ANP)—denoted GDANP—to address this problem. The proposed method establishes an enterprise intellectual capital evaluation index in the research framework of enterprise intellectual capital. To do so, we select an appropriate evaluation indicator, as well as a comprehensive indicator system, structure, and research framework, to identify and verify the key indicators through a series of tests. As a result, the proposed method is a complete evaluation index for intellectual capital. We used the technique for order preference by similarity to an ideal solution (TOPSIS) to validate the evaluation index by evaluating thirty new-technology companies in China. Finally, based on the evaluation index, we offer some suggestions for enterprise intellectual capital management. The research process and results of this study will enable enterprises to design a reasonable management system, giving full play to the positive role of enterprise intellectual capital and promoting the development of related technologies.
2. Literature Review
2.1. Intellectual Capital
The notion of intellectual capital was originally proposed by the English economist Nassau William Senior in 1836 to refer to the sum of the knowledge and skills possessed by individuals. In this sense, the concept is equivalent to human capital []. With the added concepts of spiritual capital [] and the intangible assets of enterprises, enterprise intellectual capital was put forward as a concept in business management []. Moreover, the coexistence and influence of different intellectual capital elements are considered important for the sustainable development of enterprises [].
There is extensive research on enterprise intellectual capital. Existing studies have established multiple theories regarding expanding enterprise intellectual capital. Two-factor theories simply divide enterprise intellectual capital into human capital and social capital (or structural capital) [,]. Subsequent research on dual capital considered both internal and external factors. For example, the mutualistic symbiosis between the intellectual capital and the physical capital of enterprises was studied by logical deduction through a logistic growth model []. Furthermore, certain investigations have incorporated intellectual capital and focused on organizational duality []. Three-factor theories state that human capital, customer capital, and structural capital constitute the intellectual capital of an enterprise []. There are also three categories of intellectual capital: intangible assets, knowledge management, and strategic management. These have been elaborated from the perspectives of accounting [], knowledge management, and intangible strategic resources, respectively []. While this classification has a broader scope, it lacks depth and specificity. The concept of an “H–S–C” structure (human–structural–customer capital), based on the rule of three is widely accepted by scholars. The theory posits that the intellectual capital value of an enterprise is reflected in its human capital, structural capital, and customer capital [].
Based on this previous literature, we have divided enterprise intellectual capital into three components: human capital, structural capital, and relational capital.
Enterprise human capital refers to the sum of knowledge, skills, and other quality factors with economic value in an enterprise. Together, these enter into the process of production and the management of a certain type of resource. Yaseen [] found that the construction of human capital does not have a direct impact on the competitive advantage of enterprises. Johnson [] emphasized that companies should pay attention to building and maintaining human capital so that it will become the main source of enterprise value. Gross-Gołacka et al. [] affirmed that human capital is the most important element of intellectual capital, and that the coexistence and influence of various elements of intellectual capital is an important aspect of the sustainable development of enterprises. Sun et al. [] determined that human capital plays an important role in promoting the innovation of Chinese enterprises, and that effective innovation policies include strengthening the skills of the labor force and increasing the incentives for enterprise management innovation.
Structural capital refers to the mechanism of operation in resource aggregation and value creation contained in the organizational structure and culture of an enterprise. It is the key factor in the effective operation of human capital in the process of value formation. Structural capital can be divided into innovation capital and process capital. Innovation capital refers to the ability to create innovation, protect intellectual and business property rights, and develop and accelerate the entry of new products and services into markets. Process capital refers to the practical knowledge that achieves continuity by improving work processes, specific methods, and staffing plans. Xu [] indicated that the three dimensions of intellectual capital are inter-related and investigated dynamic intellectual capital by establishing a three-dimensional model to examine the characteristics of human capital, organization capital, and relationship capital, as well as their interactions. Xu argued that capital structure is the basis of intellectual capital, as human capital needs it to create value. More precisely, structural capital is the infrastructure and knowledge platform for the operation of human capital. Kengatharan [] affirmed that the institutionalized knowledge of an organization, such as the organizational structure and culture, can improve production efficiency, further revealing a positive correlation between the two and affirming the mediating relationship between the individual level of intellectual capital and enterprise performance.
Relational capital refers to the network of relationships established between a company and all external organizations that may affect its production and operation, as well as the resources and informational advantages resulting from it []. Relational capital can be divided into two categories. The first is the relationship network between a company and the upstream and downstream stakeholders of production and operation. This usually includes suppliers, customers, government, shareholders, etc. The second is the cognitive evaluation of the corporate image and corporate reputation based on the first type of relationship. Boljanovic et al. [] argued that the relational capital indicator (overall) is considered the most useful. In parallel, Barrena-Martinez et al. [] claimed that enterprises pursuing open innovation success should develop relational capital to benefit from cross-organization synergy and complementarity.
Due to the increasing importance and relevance of enterprise intellectual capital, the academic community has developed several methods to construct an appropriate evaluation index. Although there is no consensus on the different approaches proposed, they are all of value to approximate reality and thereby facilitate short- and long-term decision-making.
2.2. Evaluation Technique
To evaluate enterprise intellectual capital more comprehensively, we reviewed the existing literature. In existing studies, some scholars constructed a four-dimensional banking intellectual capital evaluation index through regression equation analysis []. Some scholars constructed the industrial intellectual capital index, and standardized the hotel intellectual capital scale through a second-order hotel intellectual capital model []. Other methods employed in existing research include the decision-making laboratory method [], scale survey methods [], fuzzy analytic hierarchy process [], the hybrid neural network mathematical model method [], and the empirical analysis method [,]. Furthermore, scholars also measured the index with accounting indicators, like direct intellectual capital methods, market capitalization methods and return on assets methods []. However, since the evaluation of enterprise intellectual capital is a typical MCDM problem, we decided to use the GDANP to develop a more complete evaluation index and establish a more rigorous evaluation mechanism.
To do so, we first need to determine the dimensions from which to evaluate enterprise intellectual capital. Wang et al. [] applied a second-order confirmatory factor analysis method of structural equation modeling, and verified that the intellectual capital of private enterprises is composed of human capital, structural capital, and relational capital. They found that the factor load of structural capital was the largest and that of human capital was the smallest, although the difference was not significant. This classification method, namely the traditional H–S–C structure, was also supported by Yao [] and Vaz and Selig [], among others. Based on the H–S–C ternary structure, Claver-Cortés [] argued that enterprise intellectual capital specifically covers seven indicators. Based on the consideration of intellectual capital as including human capital, structural capital, and social capital, Xiao and Zhao [] found through a questionnaire survey that human capital is the most critical element of the innovative competitiveness of enterprises. Subramanian [] proposed evaluating intellectual capital from these three dimensions and explored the possibility of reducing the discontinuation of new product development projects. Based on the consideration of the actual situation of enterprises, some scholars modified this ternary evaluation method. Albertini [] divided the intellectual capital of enterprises into human capital, structural capital, customer capital, and relational capital, and proposed 14 specific indicators. In consideration of the studies above, we opted to use the H–S–C structure to evaluate enterprise intellectual capital.
Further, we need to determine which MCDM method should be used to evaluate enterprise intellectual capital. To evaluate intellectual capital, MCDM models have increasingly been employed. These include DEMATEL [], the analytic hierarchy process (AHP), the ANP, and grey relational analysis (GRA).
DEMATEL was proposed in 1973 by the Battelle Society, a research center in Geneva, to study a variety of causality issues such as race, hunger, environmental protection, and energy. DEMATEL’s operation can express complex causality, and a pairwise comparison matrix can be obtained to quantify influence. Therefore, DEMATEL has been widely used to generate network diagrams []. However, because DEMATEL uses complex analysis tools such as matrices, the questionnaire-issuing objects need to understand the connotation of the decision problem or the operation process [], which is relatively restrictive.
The AHP, proposed by the American operations research scholar Saaty, is able to solve the problems above. Its basic idea is that problems with a complex causality can be divided into several levels according to certain order rules, and then can be subdivided into several factors, so as to form a hierarchical structure model. The advantages of the AHP are that it is practical, simple, flexible, easy to understand, and systematic. These have contributed to its wide use in practice []. However, despite the usefulness of the hierarchical structure of the AHP to deal with system problems, this method also has clear disadvantages. The AHP needs to construct an evaluation matrix to investigate a certain problem, whose rationality and scientificity directly affect the results and limit its application in complex decision-making problems. Moreover, in the case of too many indicators, a high-order matrix is needed. This entails a large quantity of complex calculations, making it difficult to pass the consistency test []. Furthermore, the AHP needs experts to evaluate the importance of each indicator. In the case of multiple influencing factors, many questions must be designed in the questionnaire. It is, thus difficult to guarantee the quality of the recovered data, and this ultimately affects the credibility of the evaluation results.
Therefore, the ANP was developed to solve this difficulty []. Proposed in 1996 by Professor T. L. Saaty of the University of Pittsburgh, the ANP is a decision-making method for the study of non-independent hierarchical structures. Unlike the AHP, which assumes that the aspects, criteria, or schemes are completely independent and that their relationship forms a unidirectional hierarchical structure, the ANP takes into account the interdependence of various factors or adjacent levels []. When studying these interdependent factors, the ANP establishes a “super matrix” for comprehensive analysis to obtain a mixed weight. At the same time, because the ANP has fewer requirements on the hierarchical relationship than the AHP, it allows for more complex relationships between decision levels and attributes. Moreover, the relationship between levels cannot easily be shown as high or low, dominant or dominated, direct or indirect. Hence, the ANP is favored by decision makers, and it has become an effective tool to solve several complex problems.
However, the ANP requires a large number of pairwise comparisons to form a pairwise comparison matrix, which also makes the consistency test difficult []. In general, scholars have found that using a single MCDM method poses difficulties in solving the problem efficiently and accurately, so scholars have begun to try to combine multiple MCDM methods, such as Grey DEMATEL [], Fuzzy DEMATEL [], and so on []. Therefore, a mixed model of ANP based on DEMATEL, i.e., the DANP, was proposed []. In this way, the total influence matrix generated by DEMATEL is directly taken as the unweighted super matrix of the ANP, thus not only improving the efficiency but also solving the problems that the way to form a pairwise comparison matrix is so complicated that cannot guarantee consistency. However, in practice, the direct influence matrix used by the DANP involves a pairwise comparison matrix that requires a pairwise comparison questionnaire, the design of which entails several problems. If the experts are unfamiliar with the pairwise comparison questionnaire, judgments are difficult, which affects the quality of the questionnaire data. In addition, a higher number of DANP indicators implies the need for a higher number of comparisons. This can easily bore experts, resulting in a decline in questionnaire quality. In view of this situation, the self-relational matrix generated by the GRA has been directly used as the direct influence matrix of the DEMATEL, and the research process of the DANP has been further improved [], thereby simplifying the above process and improving the effectiveness of the direct influence matrix.
GRA originated from grey system theory, proposed by Chinese Professor Deng Ju-long in 1982 []. The theory holds that in the study of complex uncertainty problems, if there is less known information and most of the information is unknown, a small amount of known information can be formed by selecting useful information to accurately represent and effectively monitor the evolution of a system. The key advantage of GRA is that it has no excessive requirements on samples, and data do not need to meet any specific distribution, thus avoiding the limitations of traditional exact mathematics and ensuring ease of use. Therefore, GRA has a wide applicability, and is often used to solve problems with fewer inputs and data samples []. Therefore, the self-relational matrix generated by GRA can be directly used as the direct influence matrix of the DANP, thus solving the problem of the difficulty in generating the direct influence matrix of the DANP [].
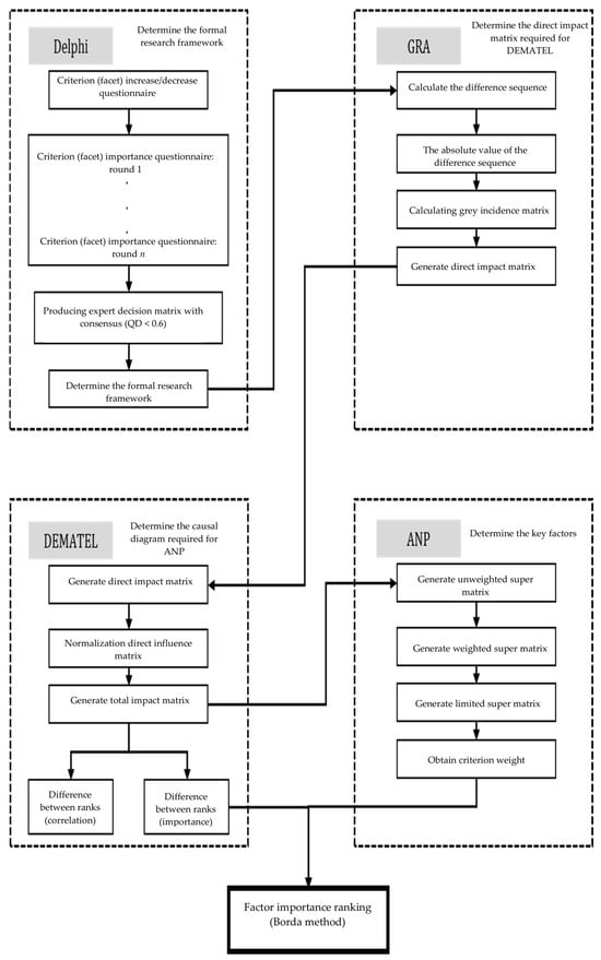
In this study, we decided to adopt the GDANP (grey DEMATEL-based ANP) method to establish an enterprise intellectual capital evaluation index. Then, we used TOPSIS to validate the evaluation index, and evaluated thirty new-technology companies in China. The overall process is shown in Figure 1.

Figure 1.
Research methods.
3. Methodology
3.1. Delphi Method
Previous literature and expert interviews were used as the pre-selection sources of the enterprise intellectual capital evaluation indicators, and the Delphi method was used for screening. The Delphi method originated in the 1950s from research at the RAND Corporation in the United States. In essence, it is an anonymous expert inquiry method. Questionnaires are used to collect the anonymous opinions of the most notable experts in a certain field, and these are gradually revised through feedback control in a process of repeated consultation, with the aim of reaching a consensus opinion.
In this study, the quartile deviation (QD), namely half of the interquartile range, was used to determine the consensus degree. As shown in Table 1, according to Holden and Wedman (1993), a value of QD > 1 indicates a low degree of consensus among the experts, while a value of 0.6 < QD ≤ 1 indicates a moderate degree of consensus, and a value of D ≤ 0.6 indicates a high degree of consensus.

Table 1.
Consensus standard [].
After performing a review of relevant research and following the mutually exclusive collectively exhaustive principle, a preliminary indicator system was determined and a preliminary research indicator system was established.
3.2. Grey DEMATEL-Based ANP
Evaluating the intellectual capital of enterprises is a multi-criteria decision-making problem. Although several mainstream multi-criteria decision-making research methods exist in an academic context, all of them have limitations. This study adopted the ANP method to determine the indicator weight, thereby inevitably facing problems with the consistency check and difficulty in generating the super matrix. For this reason, the DANP is put forward, which directly takes the total influence matrix generated by the DEMATEL as the unweighted super matrix of the ANP, thus solving these problems []. However, in practice, the direct influence matrix used by the ANP involves a pairwise comparison matrix, requiring pairwise comparison questionnaires that are difficult to accomplish online. If the experts are unfamiliar with pairwise comparison questionnaires and find it difficult to make judgments, then the quality of the questionnaire data would be affected. In addition, the higher the number of the DANP indicators, the higher the number of times they need to be compared, which exhausts experts and leads to a decline in questionnaire quality. To solve this problem, Jiang (2018) further developed the GDANP by taking the self-relational matrix generated by GRA as the direct influence matrix of DEMATEL. This method simplifies the abovementioned process and improves the effectiveness of the direct influence matrix []. To summarize, referring to Jiang (2018), we used the GDANP, following the two main steps briefly introduced below, namely GRA and DANP [].
3.2.1. GRA
Originating from grey system theory and first proposed by the Chinese scholar Deng (1982), GRA is used to judge whether the relationship between different sequences is significant according to the similarity of the geometric shape of the sequence curve []. Its significance lies in finding the correlation degree between each comparison sequence and the reference sequence, thus generating the direct influence matrix.
The first step is to calculate the difference sequence and take the absolute value based on the results of Delphi. The absolute value of the difference sequence is calculated as follows:
where Dij is the importance of indicator i (Xi) scored by the expert j, i = 1, 2, …n, j = 1, 2, …m.
The second step is to calculate the grey self-relational matrix and the grey relational degree. Based on the |Δij|, the grey relational coefficients (GRC), which indicates the relationship between the sequence and the reference sequence at each point in the curve [], can be calculated as follows:
GRC:
where is the discriminative coefficient (), and usually indicates the GRC, the relationship between indicator and indicator , (), here indicator can be regarded as the reference sequence and indicator can be regarded as the comparison sequence.
After obtaining GRC, we can calculate the grey relational grade (GRG) which represents the degree of correlation between the comparison sequence and the reference sequence in a quantitative form []. The calculation of the GRG is as follows:
GRG:
where is the weight of the expert j, and the sum of , and ranges from 0 to 1.
3.2.2. DANP
Based on the GRGs, the direct impact matrix as follows:
To form the normalized direct influence matrix for DEMATEL, the first step is to convert all diagonal elements to zero, and the second step is to normalize as follows:
where
Obtaining matrix , the total impact matrix T are determined as follows:
The total influence matrix T of DEMATEL is considered to be the unweighted super matrix of the ANP. Then, the weighted supermatrix of ANP can be obtained after normalization.
Next, by multiplying (normally twice) the weighted supermatrix of ANP by itself according to the ANP method, the limited supermatrix of ANP can be obtained, which means the weight of each indicator can be obtained []. Finally, we obtain the relative weights of each indicator and use the Borda’s method to rank indicators, by comparing the ranking of DEMATEL, plus the ranking of ANP, as follows:
Grade (estimation) Borda = Grade (estimation) DEMATEL + Grade (estimation) ANP.
3.3. TOPSIS Method
To better understand the results and apply the obtained indicator weights, we used the TOPSIS method. Since people always pursue profit maximization and reduce costs, we use the TOPSIS method by finding the positive ideal solution (, the maximum value of each indicator) and the negative ideal solution (, the minimum value of each indicator), and identifying the optimal alternative which should be closest to the positive ideal solution and the farthest from the negative ideal solution.
First, we normalized the indicator data and applied the weights obtained by the GDANP as the weighting standard to calculate the weighting matrix as follows:
where presents the indicator i of the enterprise j, , ; is the normalized indicator i of the enterprise j
where indicates the weights of indicator i; .
Then, we can calculate the distance between the enterprise and the positive ideal solution (), the distance between the enterprise and the negative ideal solution (), and the relative distance from the positive ideal solution alternative () as follows:
Obtaining , last step is to rank the order.
4. Establishment of Enterprise Intellectual Capital Evaluation Index
4.1. Pre-Selection of the Evaluation Indicator of Enterprise Intellectual Capital
According to the Delphi method, the selected experts should be representative and authoritative, and every member of the group should understand the basic issues. Therefore, we determined the following expert selection criteria: expert authorities in China on intellectual capital research, experts with a clear understanding of enterprise management and enterprise intellectual capital, and experts specializing in the study of enterprise intellectual capital. On this basis, we invited six experts who received online questionnaires from the Chinese Academy of Sciences, Shandong University et al. to participate in the Delphi survey. Professional information of each expert is shown in Table 2.

Table 2.
Professional information of each expert for the Delphi survey.
The first round of the Delphi evaluation consisted of a preliminary open-ended questionnaire, aiming to collect the opinions of the experts on the modification of the previously determined indicator system which constructed from the literature [,,,,,,,]. This included a survey on the rationality of the selection of each indicator in the indicator system and a survey of their opinions on indicator deletion. The second round of the Delphi evaluation included a rating questionnaire, where experts were asked to score the importance of each indicator from 0 (lowest) to 100 (highest). After collecting all answers, the consensus degree on each indicator was calculated, and those with a score of 70 or below (QD > 0.6) were eliminated. Those experts whose scores fell beyond one standard deviation of the mean plus or minus the mean were informed that their scores were not aligned with the mean and standard deviation. Accordingly, they were asked to state the reasons for their scores and to re-score the corresponding indicators when they deemed it appropriate.
Based on the results of this questionnaire, the interquartile range and QD values were calculated after conversion to a five-point Likert scale, as shown in Table 3. It can be seen that the QD values of each indicator were lower than 0.6, indicating that a high degree of consensus was reached among the experts, which enabled the formation of the formal decision structure, as shown in Table 4.

Table 3.
Final consensus results of Delphi questionnaire.

Table 4.
Formal decision structure.
4.2. Establishing Indicator Weights for Evaluating Enterprise Intellectual Capital
First, after calculating the GRGs according to Equations (1)–(3), which assumes the importance of each expert to be equal, the direct impact matrix is obtained by using Equations (4) and (5). The direct impact matrix is presented in Table A1 in Appendix A.
Secondly, the normalized direct influence matrix is obtained by using Equations (6) and (7). The normalized direct influence matrix is shown in Table A2 in Appendix A. Then, after obtaining the total influence matrix by using Equation (8), the weighted supermatrix is obtained by normalizing the total influence matrix . The total influence matrix is shown in Table A3 in Appendix A and the weighted supermatrix is shown in Table A4 in Appendix A.
Finally, the limited supermatrix is obtained, derived from the weighted supermatrix. The limited supermatrix is presented in Table A5 in Appendix A. The rankings obtained by performing the DEMATEL and ANP, as well as the ranking of Borda’s method, are shown in Table 5.

Table 5.
Total Influence Matrix Ranking Results.
The top 20 indicators of Borda were selected, and the weights of the indicators at all levels were calculated. The simplified indicators system is shown in Table 6 and the weight of each indicator is shown in Table A6 in Appendix A.

Table 6.
The simplified indicators system.
4.3. Applying the TOPSIS Method to Rank Thirty New-Technology Listed Companies in China
We used the TOPSIS method to evaluate thirty new-technology listed companies in China, which have displayed an outstanding performance in recent years, to better understand the results and apply the obtained indicator weights. The data this study used are historical data from the China Stock Market and Accounting Research Database []. However, due to the inaccessibility of some indicator data, the TOPSIS was performed only using the indicators of the simplified indicators system to measure the enterprise intellectual capital index of all enterprises. The raw data of indicators used in validating the index are shown in Table A6 in Appendix A.
First, by using Equation (10), the raw data is normalized. Next, after obtaining the weighted normalized data according to Equation (11), the distance between the enterprise and the positive ideal solution (), the distance between the enterprise and the negative ideal solution (), and the relative distance from the positive ideal solution alternative () are calculated by using Equations (12)–(14). , , and the rankings of all enterprises can be seen in Table 7.

Table 7.
TOPSIS calculation results.
4.4. Results of Analysis
It is reasonable to use the GDANP method to determine the weight of enterprise intellectual capital. According to the overall weight ranking of the simplified indicators system, it can be seen that human capital had the highest weight (0.49833), followed by relational capital (0.40052) and structural capital (0.10115). Among the secondary indicators, employee governance (0.30032), innovation capital (0.05124), and market relationships (0.20036) had the highest weight in the abovementioned three dimensions, respectively. From the three-level indicators, we can also observe the more specific weight ratio. For human capital, the educational background of executives (0.05133) had the highest weight ratio, followed by the talent attraction ability (0.05004) and the per capital salary of employees (0.04997). In addition, the rationality of talent echelon construction (0.04990) and employees work attitude (0.04982) had large weights. In terms of relationship capital, customer response (0.05082) had the highest weight, followed by market share (0.05080) and sales expenses (0.05047). In terms of structural capital, product innovation (0.05124) had the highest weight, followed by information networks (0.04991). The TOPSIS evaluation showed that Huada Gene scored highest in intellectual capital (0.548), followed by Zhongwei Company (0.521) and Zhaoyi Innovation (0.506). This is related to their reasonable allocation of human capital. In fact, according to the data disclosed in their annual reports, the employees of these three companies had a high education rate. That is, the companies’ senior executives had high academic qualifications, with most holding at least a master’s degree. In addition, the companies’ expenditure on staff training was notable, and this was conducive to the formation of high-level staff quality.
5. Discussion and Conclusions
5.1. Conclusions
In this paper, a hybrid-MCDM method is used to construct the enterprise intellectual capital index successfully, and the TOPSIS method is used to validate the index. Based on the literature, this study used the H–S–C structure to define enterprise intellectual capital and then opted Delphi’s method, and the GDANP method to construct the indicator system evaluating enterprise intellectual capital. According to the weights of simplified indicator system, the human capital ranks highest with a weight of 49.83%, indicating the importance of human capital and the correlation between employee and enterprise intellectual capital, the relational capital ranks second with a weight of 40.05% and the structural capital ranks last with a weight of 10.12%. The empirical results of the TOPSIS shows that only with rational and significant allocation of human capital, enterprises can rank higher.
The theoretical contributions of this paper are as follows: First, this paper presents a scientific decision structure of enterprise intellectual capital index by using the hybrid MCDM method which combines Delphi’s method, DEMATEL, and ANP. Combing the existing literature and combining with the realistic background, we find that it is very necessary to adopt GDANP, a scientific method to solve the MCDM problem, in the construction of enterprise intellectual capital index. The majority of previous studies focused on the concept of intellectual capital at the ideological level, providing no feasible way to assess enterprise management practice [,,,,]. The main reason for this lies in the fact that a complete and effective method and system for evaluating intellectual capital at the enterprise practice level has not been proposed. This study addressed this research gap. We integrated expert opinions through the Delphi method and systematically adopted the GDANP method to identify the key evaluation indicators of enterprise intellectual capital. The Delphi method helps experts to discuss the initial indicators system based on the literature without conflict, supporting the rationality and feasibility of the indicators system. Furthermore, by combining the GRA method with the DANP method, i.e., GDANP, this paper solves the common difficulties of DEMATEL and ANP methods, which is the difficulty to form a matrix and the difficulty in ensuring consistency. As such, we developed a complete and specific index of enterprise intellectual capital. This is of great significance for the cognition, recognition, and management of enterprise intellectual capital in the process of enterprise management.
5.2. Discussion
In the era of digital economy, corporate intellectual capital is becoming more and more important. The state emphasizes that innovation leads to the development of productive forces, which is in line with the requirements of the rapid development of intellectual capital. This paper obtains the index system of enterprise intellectual capital index through the scientific GDANP method, which can help enterprises to better develop their own intellectual capital. According to empirical studies, we hold that the following aspects should be paid attention to for the effective use of enterprise intellectual capital.
5.2.1. Multi-Aspect Collaborative Management Is Required to Address the Complexity of Human Capital Management
The improvement of human capital knowledge and skills by enterprises is conducive to their economic development and enables them to have greater advantages in competition []. As shown in Table 5, among the top 20 indicators, those belonging to human capital were the most numerous, with nine indicators such as employees’ higher education rate, employees’ cross-functional communication and working ability, and employees’ working attitude. This indicates that the evaluation of the intellectual capital management ability of enterprises involves several aspects of human capital. In practice, it is necessary to perform careful management control on several aspects of human capital. In fact, on the one hand, the complexity of human capital entails a complex impact on enterprise performance. Skilled and knowledgeable employees can promote the positive impact of intellectual capital on innovation performance at the company level. However, the quality of skills mastered by employees depends not only on their own education level, but also on the company’s investment in training employees’ abilities []. This requires enterprises to make a tradeoff between educational requirements and investment in employee training when recruiting employees, because the starting salary of highly educated employees will be higher. On the other hand, human capital plays an important role in enterprise intellectual capital, as it can promote the effective allocation of structural capital and relational capital. Kamprath and Mietzner (2015) argued that the extent to which a company benefits from relationships with others (i.e., relational capital) depends on the capabilities of its employees (i.e., human capital) []. Bowman and Swart (2007) observed that the effectiveness of a company’s structural capital depends on the ability of employees who use these structural facilities []. Accordingly, enterprises should setup the concept of human capital investment and focus on long-term planning to bring higher yields. Managers need to have the ability to perform collaborative system management, integrate various activities implemented at the individual, team, organization, and inter-organizational human capital levels, and manage multiple aspects of human capital interaction [].
5.2.2. Structural Capital Management Should Focus on Product Innovation and Constructing Information Networks
The number of structural capital indicators in the simplified indicators system proposed in this study is small, with only two indicators (namely, product innovation and information network). However, this does not detract from the importance of the internal governance and organizational structure of enterprises. On the contrary, looking at the indicator ranking, we can see that product innovation ranked first, and information network ranked sixth. This indicates that structural capital management is relatively important in the intellectual capital management of enterprises. Zhang et al. [] studied small- and medium-sized listed companies in the board manufacturing industry from 2015 to 2019, and used the modified intellectual capital increment coefficient (MVAIC) method to measure intellectual capital and explore its impact on financial performance in different life-cycle stages of enterprises. They found that structural capital plays an important role in the financial performance of small- and medium-sized manufacturing enterprises in the growth, maturity, and decline stages. At the same time, the indicator ranking showed that structural capital management focuses on product innovation and information network construction. An enterprise’s ability to carry out product innovation can reflect its structural capital ability to a certain extent. Innovation is seen as reflecting different learning abilities and the ability to use knowledge sources in different ways []. Horchani and Zouaoui [] conducted a questionnaire survey on 155 directors of small- and medium-sized enterprises in Tunisia. They found that structural capital affects enterprise innovation, and that its impact on incremental innovation is greater than that on radical innovation. Moreover, innovative products can create new sources of competitive advantage and profit for enterprises, so these should increase the daily management of research and development investment on product innovation, improve the enterprise innovation process and system, and improve the ability to quick-launch innovative products in order to give full play to the enterprise capital structure for the promotion of innovation. The layout and application scope of enterprise information networks also reflect an enterprise’s structural capital ability. Information networks can help enterprises to improve their ability to collect, integrate, process, and transmit information, as well as their rapid response ability, and they can reduce the cost of information processing. Therefore, enterprises should improve the construction and use of information networks as soon as possible, as well as their ability to process capital, so as to improve their structural capital and, thus, intellectual capital.
5.2.3. Relational Capital Management Requires Enterprises to Change Their Ideas and Increase Their Attention
The indicator of relational capital is extremely important in the simplified indicator system. Among the top twenty indicators, nine were related to relational capital, of which four ranked in the top ten, namely those in third, fourth, sixth and tenth place. This result is quite different from the traditional concept of enterprise management, which almost always attaches more importance to the internal governance of an enterprise and neglects the maintenance of external supply chain partnerships and market relationships. The formation of good relationships between enterprises and suppliers can help to reduce the transaction costs of enterprises seeking partners. Moreover, the formation of a good relationship between enterprises and customers is conducive to the establishment of a good image for enterprises, forming a brand effect. Using questionnaire survey data of 210 alliance enterprises in China, Zhang et al. [], found that, in the management practices of Chinese enterprises, learning among alliance organizations can indirectly affect the alliance performance through the mediation of relational capital. Some researchers claim that the development of relational capital is helpful to promote innovation, because new and innovative ideas may come from market pain points, which are easier to obtain through the information transmission of relational capital []. More importantly, the unique contribution of relational capital to a firm’s competitiveness in terms of innovation does not vary with the availability of generic skills in the external environment. This provides a more adaptive competitive advantage for companies that need to face competitors from different countries. Therefore, the results of this study suggest that enterprises should change their traditional concept, attach importance to the construction and maintenance of external relations, establish friendly relations with upstream suppliers and downstream distributors on the basis of mutual benefit, trust, and respect, and build cooperative partnerships, supply chain partnerships, and even strategic partnerships. Moreover, they should pay attention to market relations, take the customer as the center, improve the quality of products and services, improve the brand and reputation of the enterprise, pay attention to the management and maintenance of customer relations, and strive to establish long-term customer relations. Enterprises should set the pattern higher, find their own market positioning and boundaries, and pay attention to maintaining relationships between enterprises and customers, suppliers, competitors, and even the whole society.
5.2.4. Importance of the Educational Background of Senior Executives, Product Innovation, and Customer Response
The results of our study showed that the ability to attract talent, product innovation, and the distribution of teamwork ranked in the top three positions in the indicator system for the evaluation index of intellectual capital. Similarly, Lu [] concluded that professional and technical personnel are an important factor affecting the development of enterprises. They can offer unique perspectives to solve problems and serve as high-quality advertisements for enterprise recruitment. Pei [] argued that talent is a more important and scarce resource for high-tech enterprises than physical capital, and is the root driver of enterprise competition. According to Yang [], the development value and economic value elements in the ability of an organization to attract talent have a positive effect on employee engagement. This, in turn, is conducive to the value contribution of employees and the retention of talent, which is crucial to the long-term development of an enterprise. Highly innovative products or product series can help enterprises to develop new markets, establish a new profit source, and bring new opportunities to learn, helping enterprises to setup new technical barriers and shape a new competitive advantage. Product innovation reflects an enterprise’s innovation ability. To some extent, it depends on the enterprise capital structure of the innovation process and the system structure. The completion of enterprise work is inseparable from the unity and cooperation among employees. The teamwork distribution determines whether middle and senior management can make full use of the characteristics and capabilities of the team members, to ensure the smooth and efficient achievement of teamwork objectives while reducing unnecessary labor expenditure. This is key to making the best use of the talent of the enterprise. Our results identified the three aspects that enterprises should emphasize. First, in the process of recruitment, enterprises should focus on introducing talent by attracting it through wages, welfare benefits, and future development. They should also actively cooperate with universities and other research centers as high-quality talent sources to attract talent and build talented teams. Second, enterprises should pay attention to product research and development and innovation, attach importance to the introduction and training of high-tech personnel, and invest in relevant research and development. Third, enterprise managers should improve the teamwork distribution ability, combining task progress, personnel characteristics, and a reasonable distribution of teamwork, to maximize team cooperation. These three proposed management concepts and measures will promote the overall intellectual capital of enterprises, which in turn will promote their overall performance and contribute to their long-term strategic development.
5.2.5. The Ability of Employees to Solve Problems Independently Plays a Weak Role in the Intellectual Capital of Enterprises
The ability of employees to solve problems independently ranks last among the 34 indicators considered. This indicates that it plays a weak role in promoting enterprise intellectual capital. Improving the ability of employees to solve problems independently is helpful to improving the quality of their autonomous work, which is a precondition for vertically devolving decisions. The concept of enterprise management also emphasizes the subjective initiative of employees and lets staff independently solve work problems, in order to give full play to their ability and advantages for the development of the enterprise. To enhance the response quality of enterprises in the face of rapid changes in the market environment, flexible management models also require enterprises to give employees a certain degree of independence. By using regression to investigate and analyze 120 employees of small- and medium-sized enterprises in the United States, Lartey (2021) concluded that employee autonomy can improve engagement, and thus help the enterprise to achieve its organizational goals []. However, in relation to enterprise intellectual capital, improving the employees’ ability to solve problems independently contributes to more than other aspects. In fact, in the recruitment and training process, enterprises may reduce the staff’s ability to solve problems independently and transfer the related investments to other aspects of enterprise intellectual capital, so as to improve efficiency, e.g., by training employee innovation intention and ability. However, there is no denying that the ability of employees to solve problems independently can bring benefits to an enterprise in relation to other aspects. For example, in uncertain environments, sales personnel with stronger independent problem-solving abilities can respond more quickly and with higher quality in the face of changes to the market environment or customer needs. Therefore, enterprises should make a comprehensive consideration between increasing enterprise intellectual capital and enhancing other abilities, and they should provide different degrees of independent problem-solving ability training to employees in different market environments and in different positions of enterprises.
5.2.6. The Educational Background of Senior Executives Is More Important Than That of Employees for the Intellectual Capital of Enterprises
The educational background of executives ranks second among the 34 indicators considered, while the higher education rate of employees ranks 20th. This indicates that, compared to the education level of employees, that of executives is more important for the intellectual capital of enterprises. Top managers connect enterprise owners (directors) with enterprise operation management. Kitsis and Chen (2021) affirmed that, without the commitment of top management, stakeholder pressure will not automatically lead to green operations []. Senior managers are also the main decision makers in the actual operations and production of enterprises. They have a greater influence than employees regarding the direction and decision making of enterprises. However, this does not mean that the education level of employees is not important. In fact, the latter is an important factor affecting the human capital of enterprises. Employees with a higher education level can promote enterprise innovation []. The work of employees is the basis of an enterprise’s production and operations, and is determined by their education level. According to the results of the importance degree (D + R) of the total impact analyzed by DEMATEL, both the educational background of executives and that of employees are important for the intellectual capital of enterprises. Specifically, the educational background of executives had a score of 44.91, while that of employees had a score of 43.03. This means that enterprises should consider the education level of employees or executives to varying degrees when recruiting and promoting employees, as well as when appointing executives. In general, education plays a greater role in senior appointments.
5.3. Limitation and Future Researches
Nevertheless, this study has some deficiencies. First, the number of experts involved might be not big enough, which entails some limitations when using the Delphi method. Second, the impact of the established evaluation index on enterprise operations was not thoroughly investigated and this should be performed in future research in the field of enterprise intellectual capital. Lastly, although this study has used enterprise data to carry out the TOPSIS method validating the index, the data are not rich enough. Since that, future researches can consider using international sample data from different countries to carry out relevant research according to the complete indicator system given in this study.
Based on the proposed intellectual capital evaluation index, we envisage the following future research directions. On the one hand, it is necessary to expand the research scenarios of intellectual capital and study its impact across different industries and organizations with different properties. On the other hand, based on the proposed index, the key antecedent variables of intellectual capital should be explored empirically, to guide enterprise managers to adopt more targeted management measures for development.
Author Contributions
Conceptualization, C.L. and W.G.; methodology, P.J.; formal analysis, P.J.; data curation, D.L. and W.G.; writing—original draft preparation, C.L. and W.G.; writing—review and editing, Q.L., S.L. and P.J.; funding acquisition, C.L. All authors have read and agreed to the published version of the manuscript.
Funding
This research was funded by National Social Science Foundation of China: Research on Structural Optimization of Innovation Elements in the Old Industrial Base under Supply—side Structural Reform, grant number 21BGL304.
Data Availability Statement
No new data were created or analyzed in this study. Data sharing is not applicable to this article.
Conflicts of Interest
The authors declare no conflicts of interest.
Appendix A

Table A1.
The direct impact matrix .
Table A1.
The direct impact matrix .
X1 | X2 | X3 | X4 | X5 | X6 | X7 | X8 | X9 | X10 | X11 | X12 | X13 | X14 | X15 | X16 | X17 | |
X1 | 0.0000 | 0.3656 | 0.4568 | 0.3975 | 0.3914 | 0.4208 | 0.4475 | 0.4250 | 0.3699 | 0.3614 | 0.4415 | 0.4193 | 0.4212 | 0.4103 | 0.4258 | 0.3949 | 0.4230 |
X2 | 0.3656 | 0.0000 | 0.3807 | 0.4233 | 0.3638 | 0.4041 | 0.3758 | 0.4032 | 0.4302 | 0.4061 | 0.4016 | 0.3984 | 0.3693 | 0.4060 | 0.4146 | 0.3976 | 0.3852 |
X3 | 0.4404 | 0.3437 | 0.0000 | 0.3900 | 0.3503 | 0.4177 | 0.4516 | 0.4262 | 0.3507 | 0.3410 | 0.4006 | 0.4256 | 0.4441 | 0.4162 | 0.4250 | 0.3944 | 0.4164 |
X4 | 0.3796 | 0.4106 | 0.4027 | 0.0000 | 0.4091 | 0.3977 | 0.3807 | 0.4121 | 0.4042 | 0.3890 | 0.4026 | 0.4044 | 0.3857 | 0.3990 | 0.4131 | 0.3878 | 0.4177 |
X5 | 0.3914 | 0.3638 | 0.3831 | 0.4227 | 0.0000 | 0.3877 | 0.3668 | 0.3970 | 0.4129 | 0.4390 | 0.4276 | 0.4168 | 0.4137 | 0.4029 | 0.3990 | 0.4124 | 0.4363 |
X6 | 0.4038 | 0.3790 | 0.4230 | 0.3914 | 0.3651 | 0.0000 | 0.4261 | 0.4704 | 0.3942 | 0.3934 | 0.4070 | 0.4182 | 0.4098 | 0.4689 | 0.4825 | 0.4593 | 0.4155 |
X7 | 0.4292 | 0.3386 | 0.4516 | 0.3657 | 0.3301 | 0.4210 | 0.0000 | 0.4406 | 0.3452 | 0.3354 | 0.3806 | 0.3958 | 0.4070 | 0.4119 | 0.4154 | 0.4030 | 0.3873 |
X8 | 0.4061 | 0.3755 | 0.4287 | 0.4033 | 0.3725 | 0.4692 | 0.4424 | 0.0000 | 0.3856 | 0.3807 | 0.4173 | 0.4328 | 0.4116 | 0.4433 | 0.4736 | 0.4469 | 0.4265 |
X9 | 0.3458 | 0.4136 | 0.3630 | 0.4010 | 0.3959 | 0.3970 | 0.3577 | 0.3919 | 0.0000 | 0.4420 | 0.4081 | 0.4023 | 0.3646 | 0.4176 | 0.4099 | 0.4046 | 0.3836 |
X10 | 0.3521 | 0.3987 | 0.3684 | 0.3979 | 0.4344 | 0.4062 | 0.3632 | 0.3982 | 0.4488 | 0.0000 | 0.4047 | 0.4185 | 0.4005 | 0.4203 | 0.4166 | 0.4322 | 0.4082 |
X11 | 0.4415 | 0.4016 | 0.4256 | 0.4182 | 0.4276 | 0.4247 | 0.4084 | 0.4354 | 0.4222 | 0.4110 | 0.0000 | 0.4642 | 0.4322 | 0.4476 | 0.4352 | 0.4352 | 0.4623 |
X12 | 0.3953 | 0.3655 | 0.4256 | 0.3912 | 0.3908 | 0.4126 | 0.3958 | 0.4305 | 0.3933 | 0.3998 | 0.4508 | 0.0000 | 0.4514 | 0.4369 | 0.4271 | 0.4454 | 0.4649 |
X13 | 0.4025 | 0.3382 | 0.4475 | 0.3787 | 0.3930 | 0.4098 | 0.4130 | 0.4144 | 0.3611 | 0.3847 | 0.4141 | 0.4550 | 0.0000 | 0.4303 | 0.4130 | 0.4348 | 0.4554 |
X14 | 0.3842 | 0.3724 | 0.4162 | 0.3857 | 0.3763 | 0.4666 | 0.4119 | 0.4411 | 0.4095 | 0.4023 | 0.4315 | 0.4369 | 0.4252 | 0.0000 | 0.4686 | 0.4656 | 0.4335 |
X15 | 0.4083 | 0.3885 | 0.4274 | 0.4050 | 0.3770 | 0.4817 | 0.4181 | 0.4736 | 0.4044 | 0.4028 | 0.4178 | 0.4295 | 0.4103 | 0.4698 | 0.0000 | 0.4594 | 0.4282 |
X16 | 0.3657 | 0.3634 | 0.3944 | 0.3736 | 0.3875 | 0.4567 | 0.4030 | 0.4451 | 0.3955 | 0.4168 | 0.4153 | 0.4454 | 0.4300 | 0.4656 | 0.4581 | 0.0000 | 0.4534 |
X17 | 0.4130 | 0.3701 | 0.4278 | 0.4203 | 0.4276 | 0.4224 | 0.4026 | 0.4348 | 0.3902 | 0.4031 | 0.4561 | 0.4710 | 0.4597 | 0.4432 | 0.4356 | 0.4598 | 0.0000 |
X18 | 0.3699 | 0.4047 | 0.3818 | 0.4317 | 0.3947 | 0.3881 | 0.3570 | 0.3991 | 0.4246 | 0.4079 | 0.3982 | 0.4027 | 0.3720 | 0.3732 | 0.3949 | 0.3683 | 0.3909 |
X19 | 0.3727 | 0.3828 | 0.3954 | 0.4260 | 0.4048 | 0.4327 | 0.4120 | 0.4521 | 0.4166 | 0.4212 | 0.3895 | 0.4048 | 0.3877 | 0.4123 | 0.4313 | 0.4160 | 0.3992 |
X20 | 0.4119 | 0.3732 | 0.4398 | 0.4143 | 0.3798 | 0.4584 | 0.4285 | 0.4785 | 0.3805 | 0.3738 | 0.4221 | 0.4426 | 0.4227 | 0.4392 | 0.4694 | 0.4361 | 0.4348 |
X21 | 0.3880 | 0.3461 | 0.4231 | 0.3558 | 0.3501 | 0.4484 | 0.4281 | 0.4257 | 0.3815 | 0.3794 | 0.4028 | 0.4143 | 0.4322 | 0.4646 | 0.4388 | 0.4556 | 0.4090 |
X22 | 0.3483 | 0.3875 | 0.3774 | 0.4101 | 0.4209 | 0.4227 | 0.3795 | 0.4154 | 0.4608 | 0.4216 | 0.3916 | 0.3976 | 0.3757 | 0.4359 | 0.4319 | 0.4275 | 0.3948 |
X23 | 0.4696 | 0.3679 | 0.4637 | 0.4107 | 0.4029 | 0.4391 | 0.4492 | 0.4417 | 0.3705 | 0.3611 | 0.4415 | 0.4177 | 0.4319 | 0.4233 | 0.4336 | 0.4163 | 0.4301 |
X24 | 0.3704 | 0.3621 | 0.3961 | 0.4023 | 0.4584 | 0.3865 | 0.3704 | 0.3896 | 0.4184 | 0.4478 | 0.4009 | 0.4354 | 0.4302 | 0.4012 | 0.3865 | 0.4014 | 0.4177 |
X25 | 0.4207 | 0.3465 | 0.4374 | 0.3948 | 0.4277 | 0.4073 | 0.4103 | 0.4094 | 0.3638 | 0.4045 | 0.4260 | 0.4370 | 0.4710 | 0.4230 | 0.4100 | 0.4239 | 0.4620 |
X26 | 0.4184 | 0.3487 | 0.4475 | 0.3997 | 0.3916 | 0.4145 | 0.4172 | 0.4177 | 0.3719 | 0.3730 | 0.4346 | 0.4558 | 0.4755 | 0.4396 | 0.4180 | 0.4292 | 0.4622 |
X27 | 0.3732 | 0.3741 | 0.4072 | 0.3743 | 0.3699 | 0.3977 | 0.3834 | 0.4167 | 0.3870 | 0.3895 | 0.4397 | 0.4702 | 0.4283 | 0.4209 | 0.4098 | 0.4256 | 0.4412 |
X28 | 0.4504 | 0.3572 | 0.4464 | 0.3881 | 0.3686 | 0.3927 | 0.4356 | 0.3977 | 0.3831 | 0.3647 | 0.4448 | 0.4333 | 0.4274 | 0.4191 | 0.3966 | 0.3963 | 0.4343 |
X29 | 0.4360 | 0.3704 | 0.4191 | 0.3958 | 0.4419 | 0.4142 | 0.3992 | 0.4143 | 0.3867 | 0.4163 | 0.4626 | 0.4536 | 0.4542 | 0.4293 | 0.4147 | 0.4311 | 0.4588 |
X30 | 0.4125 | 0.3383 | 0.4393 | 0.3937 | 0.4102 | 0.4034 | 0.4150 | 0.4065 | 0.3580 | 0.3869 | 0.4121 | 0.4322 | 0.4661 | 0.4204 | 0.4065 | 0.4232 | 0.4488 |
X31 | 0.3474 | 0.3631 | 0.3771 | 0.4042 | 0.4605 | 0.4071 | 0.3866 | 0.4244 | 0.4214 | 0.4486 | 0.3874 | 0.4151 | 0.4110 | 0.4121 | 0.4081 | 0.4347 | 0.4164 |
X32 | 0.4024 | 0.3586 | 0.4354 | 0.3791 | 0.4128 | 0.4261 | 0.4265 | 0.4337 | 0.3799 | 0.4230 | 0.4111 | 0.4388 | 0.4740 | 0.4418 | 0.4285 | 0.4424 | 0.4413 |
X33 | 0.4474 | 0.3433 | 0.4890 | 0.3880 | 0.3537 | 0.4286 | 0.4442 | 0.4373 | 0.3517 | 0.3449 | 0.4008 | 0.4259 | 0.4454 | 0.4160 | 0.4360 | 0.3960 | 0.4173 |
X34 | 0.3319 | 0.3592 | 0.3530 | 0.3761 | 0.4468 | 0.3705 | 0.3506 | 0.3927 | 0.4282 | 0.4642 | 0.3928 | 0.4111 | 0.3883 | 0.3857 | 0.3831 | 0.3995 | 0.3956 |
X18 | X19 | X20 | X21 | X22 | X23 | X24 | X25 | X26 | X27 | X28 | X29 | X30 | X31 | X32 | X33 | X34 | |
X1 | 0.3855 | 0.3815 | 0.4304 | 0.4147 | 0.3744 | 0.4696 | 0.3787 | 0.4262 | 0.4329 | 0.4026 | 0.4574 | 0.4360 | 0.4233 | 0.3603 | 0.4089 | 0.4601 | 0.3637 |
X2 | 0.4160 | 0.3913 | 0.4010 | 0.3853 | 0.4104 | 0.3679 | 0.3717 | 0.3570 | 0.3743 | 0.4050 | 0.3737 | 0.3704 | 0.3571 | 0.3758 | 0.3688 | 0.3772 | 0.3890 |
X3 | 0.3625 | 0.3714 | 0.4376 | 0.4231 | 0.3699 | 0.4498 | 0.3756 | 0.4235 | 0.4417 | 0.4072 | 0.4354 | 0.3935 | 0.4289 | 0.3556 | 0.4211 | 0.4885 | 0.3487 |
X4 | 0.4292 | 0.4186 | 0.4221 | 0.3725 | 0.4154 | 0.3943 | 0.3931 | 0.3856 | 0.4026 | 0.3889 | 0.3845 | 0.3769 | 0.3905 | 0.3983 | 0.3685 | 0.3979 | 0.3867 |
X5 | 0.4071 | 0.4110 | 0.4032 | 0.3835 | 0.4343 | 0.4029 | 0.4618 | 0.4328 | 0.4098 | 0.3998 | 0.3837 | 0.4419 | 0.4210 | 0.4643 | 0.4187 | 0.3823 | 0.4583 |
X6 | 0.3777 | 0.4215 | 0.4600 | 0.4517 | 0.4227 | 0.4256 | 0.3711 | 0.3944 | 0.4118 | 0.4038 | 0.3832 | 0.3958 | 0.3952 | 0.3972 | 0.4150 | 0.4309 | 0.3741 |
X7 | 0.3350 | 0.3939 | 0.4261 | 0.4281 | 0.3722 | 0.4313 | 0.3441 | 0.3902 | 0.4083 | 0.3834 | 0.4237 | 0.3691 | 0.4005 | 0.3679 | 0.4103 | 0.4419 | 0.3465 |
X8 | 0.3862 | 0.4430 | 0.4785 | 0.4283 | 0.4128 | 0.4258 | 0.3704 | 0.3931 | 0.4120 | 0.4193 | 0.3849 | 0.3915 | 0.3950 | 0.4149 | 0.4220 | 0.4373 | 0.3927 |
X9 | 0.4195 | 0.4058 | 0.3871 | 0.3918 | 0.4620 | 0.3455 | 0.4079 | 0.3481 | 0.3714 | 0.3966 | 0.3766 | 0.3648 | 0.3496 | 0.4136 | 0.3653 | 0.3597 | 0.4324 |
X10 | 0.4125 | 0.4212 | 0.3927 | 0.4012 | 0.4324 | 0.3514 | 0.4478 | 0.4045 | 0.3864 | 0.4100 | 0.3713 | 0.4099 | 0.3929 | 0.4501 | 0.4230 | 0.3677 | 0.4710 |
X11 | 0.4108 | 0.3971 | 0.4402 | 0.4256 | 0.4104 | 0.4415 | 0.4079 | 0.4318 | 0.4472 | 0.4558 | 0.4515 | 0.4626 | 0.4235 | 0.3975 | 0.4176 | 0.4232 | 0.4137 |
X12 | 0.3871 | 0.3843 | 0.4405 | 0.4143 | 0.3912 | 0.3906 | 0.4216 | 0.4207 | 0.4505 | 0.4702 | 0.4220 | 0.4367 | 0.4196 | 0.3986 | 0.4228 | 0.4236 | 0.4082 |
X13 | 0.3607 | 0.3715 | 0.4252 | 0.4369 | 0.3757 | 0.4147 | 0.4195 | 0.4655 | 0.4746 | 0.4329 | 0.4199 | 0.4411 | 0.4620 | 0.3998 | 0.4691 | 0.4471 | 0.3918 |
X14 | 0.3528 | 0.3918 | 0.4369 | 0.4646 | 0.4316 | 0.3996 | 0.3799 | 0.4059 | 0.4331 | 0.4209 | 0.4066 | 0.4073 | 0.4074 | 0.3953 | 0.4273 | 0.4132 | 0.3820 |
X15 | 0.3816 | 0.4174 | 0.4694 | 0.4409 | 0.4298 | 0.4165 | 0.3671 | 0.3948 | 0.4127 | 0.4126 | 0.3840 | 0.3931 | 0.3958 | 0.3954 | 0.4155 | 0.4360 | 0.3831 |
X16 | 0.3487 | 0.3984 | 0.4339 | 0.4556 | 0.4230 | 0.3927 | 0.3789 | 0.4059 | 0.4216 | 0.4256 | 0.3800 | 0.4085 | 0.4101 | 0.4224 | 0.4270 | 0.3927 | 0.3963 |
X17 | 0.3909 | 0.3940 | 0.4425 | 0.4221 | 0.4029 | 0.4202 | 0.4130 | 0.4597 | 0.4647 | 0.4502 | 0.4343 | 0.4518 | 0.4488 | 0.4141 | 0.4378 | 0.4263 | 0.4070 |
X18 | 0.0000 | 0.4311 | 0.4064 | 0.3509 | 0.4016 | 0.3672 | 0.4081 | 0.3620 | 0.3800 | 0.4105 | 0.3748 | 0.3691 | 0.3654 | 0.3948 | 0.3552 | 0.3878 | 0.4096 |
X19 | 0.4351 | 0.0000 | 0.4354 | 0.3992 | 0.4358 | 0.3905 | 0.4049 | 0.3722 | 0.3869 | 0.3928 | 0.3621 | 0.3706 | 0.3736 | 0.4404 | 0.3965 | 0.4006 | 0.4228 |
X20 | 0.3941 | 0.4221 | 0.0000 | 0.4176 | 0.4102 | 0.4265 | 0.3802 | 0.4015 | 0.4213 | 0.4270 | 0.3920 | 0.3970 | 0.4051 | 0.4007 | 0.4139 | 0.4484 | 0.3826 |
X21 | 0.3275 | 0.3766 | 0.4146 | 0.0000 | 0.4081 | 0.4237 | 0.3585 | 0.4182 | 0.4412 | 0.4012 | 0.4109 | 0.3921 | 0.4243 | 0.3843 | 0.4336 | 0.4216 | 0.3588 |
X22 | 0.3922 | 0.4250 | 0.4128 | 0.4137 | 0.0000 | 0.3686 | 0.4114 | 0.3591 | 0.3819 | 0.3831 | 0.3581 | 0.3594 | 0.3612 | 0.4439 | 0.3773 | 0.3737 | 0.4260 |
X23 | 0.3834 | 0.3983 | 0.4429 | 0.4415 | 0.3916 | 0.0000 | 0.3778 | 0.4374 | 0.4439 | 0.4054 | 0.4420 | 0.4356 | 0.4414 | 0.3814 | 0.4194 | 0.4662 | 0.3628 |
X24 | 0.4130 | 0.4049 | 0.3980 | 0.3841 | 0.4232 | 0.3689 | 0.0000 | 0.4280 | 0.4123 | 0.4128 | 0.3887 | 0.4333 | 0.4171 | 0.4605 | 0.4302 | 0.3956 | 0.4729 |
X25 | 0.3689 | 0.3722 | 0.4168 | 0.4333 | 0.3760 | 0.4324 | 0.4280 | 0.0000 | 0.4688 | 0.4180 | 0.4384 | 0.4599 | 0.4773 | 0.4099 | 0.4745 | 0.4375 | 0.4082 |
X26 | 0.3729 | 0.3738 | 0.4265 | 0.4470 | 0.3853 | 0.4308 | 0.4019 | 0.4646 | 0.0000 | 0.4403 | 0.4426 | 0.4371 | 0.4610 | 0.3852 | 0.4532 | 0.4462 | 0.3781 |
X27 | 0.3961 | 0.3710 | 0.4246 | 0.4012 | 0.3761 | 0.3759 | 0.3938 | 0.3984 | 0.4341 | 0.0000 | 0.4052 | 0.4087 | 0.3986 | 0.3801 | 0.4005 | 0.4049 | 0.3923 |
X28 | 0.3748 | 0.3549 | 0.4044 | 0.4239 | 0.3688 | 0.4326 | 0.3829 | 0.4347 | 0.4464 | 0.4189 | 0.0000 | 0.4243 | 0.4362 | 0.3558 | 0.4092 | 0.4397 | 0.3694 |
X29 | 0.3845 | 0.3792 | 0.4195 | 0.4181 | 0.3845 | 0.4356 | 0.4379 | 0.4634 | 0.4493 | 0.4326 | 0.4338 | 0.0000 | 0.4564 | 0.4125 | 0.4496 | 0.4184 | 0.4187 |
X30 | 0.3653 | 0.3670 | 0.4155 | 0.4354 | 0.3718 | 0.4331 | 0.4123 | 0.4755 | 0.4636 | 0.4133 | 0.4362 | 0.4493 | 0.0000 | 0.4050 | 0.4577 | 0.4396 | 0.3914 |
X31 | 0.3975 | 0.4389 | 0.4127 | 0.4024 | 0.4501 | 0.3703 | 0.4592 | 0.4075 | 0.3945 | 0.3984 | 0.3595 | 0.4035 | 0.4075 | 0.0000 | 0.4325 | 0.3763 | 0.4773 |
X32 | 0.3624 | 0.3965 | 0.4274 | 0.4473 | 0.3928 | 0.4134 | 0.4302 | 0.4745 | 0.4584 | 0.4198 | 0.4141 | 0.4454 | 0.4603 | 0.4342 | 0.0000 | 0.4354 | 0.4325 |
X33 | 0.3735 | 0.3814 | 0.4484 | 0.4244 | 0.3699 | 0.4551 | 0.3786 | 0.4263 | 0.4424 | 0.4077 | 0.4305 | 0.3962 | 0.4319 | 0.3589 | 0.4238 | 0.0000 | 0.3523 |
X34 | 0.3983 | 0.4102 | 0.3826 | 0.3632 | 0.4236 | 0.3291 | 0.4663 | 0.3914 | 0.3705 | 0.3956 | 0.3546 | 0.3968 | 0.3778 | 0.4732 | 0.4203 | 0.3523 | 0.0000 |

Table A2.
The normalized direct influence matrix .
Table A2.
The normalized direct influence matrix .
X1 | X2 | X3 | X4 | X5 | X6 | X7 | X8 | X9 | X10 | X11 | X12 | X13 | X14 | X15 | X16 | X17 | |
X1 | 0.0000 | 0.0258 | 0.0323 | 0.0281 | 0.0277 | 0.0297 | 0.0316 | 0.0300 | 0.0261 | 0.0255 | 0.0312 | 0.0296 | 0.0298 | 0.0290 | 0.0301 | 0.0279 | 0.0299 |
X2 | 0.0258 | 0.0000 | 0.0269 | 0.0299 | 0.0257 | 0.0286 | 0.0266 | 0.0285 | 0.0304 | 0.0287 | 0.0284 | 0.0282 | 0.0261 | 0.0287 | 0.0293 | 0.0281 | 0.0272 |
X3 | 0.0311 | 0.0243 | 0.0000 | 0.0276 | 0.0248 | 0.0295 | 0.0319 | 0.0301 | 0.0248 | 0.0241 | 0.0283 | 0.0301 | 0.0314 | 0.0294 | 0.0300 | 0.0279 | 0.0294 |
X4 | 0.0268 | 0.0290 | 0.0285 | 0.0000 | 0.0289 | 0.0281 | 0.0269 | 0.0291 | 0.0286 | 0.0275 | 0.0284 | 0.0286 | 0.0273 | 0.0282 | 0.0292 | 0.0274 | 0.0295 |
X5 | 0.0277 | 0.0257 | 0.0271 | 0.0299 | 0.0000 | 0.0274 | 0.0259 | 0.0281 | 0.0292 | 0.0310 | 0.0302 | 0.0295 | 0.0292 | 0.0285 | 0.0282 | 0.0291 | 0.0308 |
X6 | 0.0285 | 0.0268 | 0.0299 | 0.0277 | 0.0258 | 0.0000 | 0.0301 | 0.0332 | 0.0279 | 0.0278 | 0.0288 | 0.0296 | 0.0290 | 0.0331 | 0.0341 | 0.0325 | 0.0294 |
X7 | 0.0303 | 0.0239 | 0.0319 | 0.0258 | 0.0233 | 0.0298 | 0.0000 | 0.0311 | 0.0244 | 0.0237 | 0.0269 | 0.0280 | 0.0288 | 0.0291 | 0.0294 | 0.0285 | 0.0274 |
X8 | 0.0287 | 0.0265 | 0.0303 | 0.0285 | 0.0263 | 0.0332 | 0.0313 | 0.0000 | 0.0272 | 0.0269 | 0.0295 | 0.0306 | 0.0291 | 0.0313 | 0.0335 | 0.0316 | 0.0301 |
X9 | 0.0244 | 0.0292 | 0.0257 | 0.0283 | 0.0280 | 0.0281 | 0.0253 | 0.0277 | 0.0000 | 0.0312 | 0.0288 | 0.0284 | 0.0258 | 0.0295 | 0.0290 | 0.0286 | 0.0271 |
X10 | 0.0249 | 0.0282 | 0.0260 | 0.0281 | 0.0307 | 0.0287 | 0.0257 | 0.0281 | 0.0317 | 0.0000 | 0.0286 | 0.0296 | 0.0283 | 0.0297 | 0.0294 | 0.0305 | 0.0288 |
X11 | 0.0312 | 0.0284 | 0.0301 | 0.0296 | 0.0302 | 0.0300 | 0.0289 | 0.0308 | 0.0298 | 0.0290 | 0.0000 | 0.0328 | 0.0305 | 0.0316 | 0.0308 | 0.0308 | 0.0327 |
X12 | 0.0279 | 0.0258 | 0.0301 | 0.0276 | 0.0276 | 0.0292 | 0.0280 | 0.0304 | 0.0278 | 0.0283 | 0.0319 | 0.0000 | 0.0319 | 0.0309 | 0.0302 | 0.0315 | 0.0329 |
X13 | 0.0284 | 0.0239 | 0.0316 | 0.0268 | 0.0278 | 0.0290 | 0.0292 | 0.0293 | 0.0255 | 0.0272 | 0.0293 | 0.0322 | 0.0000 | 0.0304 | 0.0292 | 0.0307 | 0.0322 |
X14 | 0.0271 | 0.0263 | 0.0294 | 0.0273 | 0.0266 | 0.0330 | 0.0291 | 0.0312 | 0.0289 | 0.0284 | 0.0305 | 0.0309 | 0.0300 | 0.0000 | 0.0331 | 0.0329 | 0.0306 |
X15 | 0.0289 | 0.0275 | 0.0302 | 0.0286 | 0.0266 | 0.0340 | 0.0295 | 0.0335 | 0.0286 | 0.0285 | 0.0295 | 0.0304 | 0.0290 | 0.0332 | 0.0000 | 0.0325 | 0.0303 |
X16 | 0.0258 | 0.0257 | 0.0279 | 0.0264 | 0.0274 | 0.0323 | 0.0285 | 0.0315 | 0.0280 | 0.0295 | 0.0293 | 0.0315 | 0.0304 | 0.0329 | 0.0324 | 0.0000 | 0.0320 |
X17 | 0.0292 | 0.0262 | 0.0302 | 0.0297 | 0.0302 | 0.0298 | 0.0285 | 0.0307 | 0.0276 | 0.0285 | 0.0322 | 0.0333 | 0.0325 | 0.0313 | 0.0308 | 0.0325 | 0.0000 |
X18 | 0.0261 | 0.0286 | 0.0270 | 0.0305 | 0.0279 | 0.0274 | 0.0252 | 0.0282 | 0.0300 | 0.0288 | 0.0281 | 0.0285 | 0.0263 | 0.0264 | 0.0279 | 0.0260 | 0.0276 |
X19 | 0.0263 | 0.0271 | 0.0279 | 0.0301 | 0.0286 | 0.0306 | 0.0291 | 0.0319 | 0.0294 | 0.0298 | 0.0275 | 0.0286 | 0.0274 | 0.0291 | 0.0305 | 0.0294 | 0.0282 |
X20 | 0.0291 | 0.0264 | 0.0311 | 0.0293 | 0.0268 | 0.0324 | 0.0303 | 0.0338 | 0.0269 | 0.0264 | 0.0298 | 0.0313 | 0.0299 | 0.0310 | 0.0332 | 0.0308 | 0.0307 |
X21 | 0.0274 | 0.0245 | 0.0299 | 0.0251 | 0.0247 | 0.0317 | 0.0303 | 0.0301 | 0.0270 | 0.0268 | 0.0285 | 0.0293 | 0.0305 | 0.0328 | 0.0310 | 0.0322 | 0.0289 |
X22 | 0.0246 | 0.0274 | 0.0267 | 0.0290 | 0.0297 | 0.0299 | 0.0268 | 0.0294 | 0.0326 | 0.0298 | 0.0277 | 0.0281 | 0.0265 | 0.0308 | 0.0305 | 0.0302 | 0.0279 |
X23 | 0.0332 | 0.0260 | 0.0328 | 0.0290 | 0.0285 | 0.0310 | 0.0317 | 0.0312 | 0.0262 | 0.0255 | 0.0312 | 0.0295 | 0.0305 | 0.0299 | 0.0306 | 0.0294 | 0.0304 |
X24 | 0.0262 | 0.0256 | 0.0280 | 0.0284 | 0.0324 | 0.0273 | 0.0262 | 0.0275 | 0.0296 | 0.0316 | 0.0283 | 0.0308 | 0.0304 | 0.0284 | 0.0273 | 0.0284 | 0.0295 |
X25 | 0.0297 | 0.0245 | 0.0309 | 0.0279 | 0.0302 | 0.0288 | 0.0290 | 0.0289 | 0.0257 | 0.0286 | 0.0301 | 0.0309 | 0.0333 | 0.0299 | 0.0290 | 0.0300 | 0.0326 |
X26 | 0.0296 | 0.0246 | 0.0316 | 0.0282 | 0.0277 | 0.0293 | 0.0295 | 0.0295 | 0.0263 | 0.0264 | 0.0307 | 0.0322 | 0.0336 | 0.0311 | 0.0295 | 0.0303 | 0.0327 |
X27 | 0.0264 | 0.0264 | 0.0288 | 0.0264 | 0.0261 | 0.0281 | 0.0271 | 0.0294 | 0.0273 | 0.0275 | 0.0311 | 0.0332 | 0.0303 | 0.0297 | 0.0290 | 0.0301 | 0.0312 |
X28 | 0.0318 | 0.0252 | 0.0315 | 0.0274 | 0.0260 | 0.0278 | 0.0308 | 0.0281 | 0.0271 | 0.0258 | 0.0314 | 0.0306 | 0.0302 | 0.0296 | 0.0280 | 0.0280 | 0.0307 |
X29 | 0.0308 | 0.0262 | 0.0296 | 0.0280 | 0.0312 | 0.0293 | 0.0282 | 0.0293 | 0.0273 | 0.0294 | 0.0327 | 0.0321 | 0.0321 | 0.0303 | 0.0293 | 0.0305 | 0.0324 |
X30 | 0.0291 | 0.0239 | 0.0310 | 0.0278 | 0.0290 | 0.0285 | 0.0293 | 0.0287 | 0.0253 | 0.0273 | 0.0291 | 0.0305 | 0.0329 | 0.0297 | 0.0287 | 0.0299 | 0.0317 |
X31 | 0.0245 | 0.0257 | 0.0267 | 0.0286 | 0.0325 | 0.0288 | 0.0273 | 0.0300 | 0.0298 | 0.0317 | 0.0274 | 0.0293 | 0.0290 | 0.0291 | 0.0288 | 0.0307 | 0.0294 |
X32 | 0.0284 | 0.0253 | 0.0308 | 0.0268 | 0.0292 | 0.0301 | 0.0301 | 0.0307 | 0.0268 | 0.0299 | 0.0291 | 0.0310 | 0.0335 | 0.0312 | 0.0303 | 0.0313 | 0.0312 |
X33 | 0.0316 | 0.0243 | 0.0346 | 0.0274 | 0.0250 | 0.0303 | 0.0314 | 0.0309 | 0.0249 | 0.0244 | 0.0283 | 0.0301 | 0.0315 | 0.0294 | 0.0308 | 0.0280 | 0.0295 |
X34 | 0.0235 | 0.0254 | 0.0249 | 0.0266 | 0.0316 | 0.0262 | 0.0248 | 0.0277 | 0.0303 | 0.0328 | 0.0278 | 0.0290 | 0.0274 | 0.0273 | 0.0271 | 0.0282 | 0.0280 |
X18 | X19 | X20 | X21 | X22 | X23 | X24 | X25 | X26 | X27 | X28 | X29 | X30 | X31 | X32 | X33 | X34 | |
X1 | 0.0272 | 0.0270 | 0.0304 | 0.0293 | 0.0265 | 0.0332 | 0.0268 | 0.0301 | 0.0306 | 0.0285 | 0.0323 | 0.0308 | 0.0299 | 0.0255 | 0.0289 | 0.0325 | 0.0257 |
X2 | 0.0294 | 0.0277 | 0.0283 | 0.0272 | 0.0290 | 0.0260 | 0.0263 | 0.0252 | 0.0264 | 0.0286 | 0.0264 | 0.0262 | 0.0252 | 0.0266 | 0.0261 | 0.0267 | 0.0275 |
X3 | 0.0256 | 0.0262 | 0.0309 | 0.0299 | 0.0261 | 0.0318 | 0.0265 | 0.0299 | 0.0312 | 0.0288 | 0.0308 | 0.0278 | 0.0303 | 0.0251 | 0.0298 | 0.0345 | 0.0246 |
X4 | 0.0303 | 0.0296 | 0.0298 | 0.0263 | 0.0294 | 0.0279 | 0.0278 | 0.0272 | 0.0284 | 0.0275 | 0.0272 | 0.0266 | 0.0276 | 0.0281 | 0.0260 | 0.0281 | 0.0273 |
X5 | 0.0288 | 0.0290 | 0.0285 | 0.0271 | 0.0307 | 0.0285 | 0.0326 | 0.0306 | 0.0290 | 0.0283 | 0.0271 | 0.0312 | 0.0298 | 0.0328 | 0.0296 | 0.0270 | 0.0324 |
X6 | 0.0267 | 0.0298 | 0.0325 | 0.0319 | 0.0299 | 0.0301 | 0.0262 | 0.0279 | 0.0291 | 0.0285 | 0.0271 | 0.0280 | 0.0279 | 0.0281 | 0.0293 | 0.0305 | 0.0264 |
X7 | 0.0237 | 0.0278 | 0.0301 | 0.0303 | 0.0263 | 0.0305 | 0.0243 | 0.0276 | 0.0289 | 0.0271 | 0.0299 | 0.0261 | 0.0283 | 0.0260 | 0.0290 | 0.0312 | 0.0245 |
X8 | 0.0273 | 0.0313 | 0.0338 | 0.0303 | 0.0292 | 0.0301 | 0.0262 | 0.0278 | 0.0291 | 0.0296 | 0.0272 | 0.0277 | 0.0279 | 0.0293 | 0.0298 | 0.0309 | 0.0277 |
X9 | 0.0296 | 0.0287 | 0.0274 | 0.0277 | 0.0326 | 0.0244 | 0.0288 | 0.0246 | 0.0262 | 0.0280 | 0.0266 | 0.0258 | 0.0247 | 0.0292 | 0.0258 | 0.0254 | 0.0306 |
X10 | 0.0291 | 0.0298 | 0.0278 | 0.0284 | 0.0306 | 0.0248 | 0.0316 | 0.0286 | 0.0273 | 0.0290 | 0.0262 | 0.0290 | 0.0278 | 0.0318 | 0.0299 | 0.0260 | 0.0333 |
X11 | 0.0290 | 0.0281 | 0.0311 | 0.0301 | 0.0290 | 0.0312 | 0.0288 | 0.0305 | 0.0316 | 0.0322 | 0.0319 | 0.0327 | 0.0299 | 0.0281 | 0.0295 | 0.0299 | 0.0292 |
X12 | 0.0274 | 0.0272 | 0.0311 | 0.0293 | 0.0276 | 0.0276 | 0.0298 | 0.0297 | 0.0318 | 0.0332 | 0.0298 | 0.0309 | 0.0297 | 0.0282 | 0.0299 | 0.0299 | 0.0288 |
X13 | 0.0255 | 0.0263 | 0.0300 | 0.0309 | 0.0265 | 0.0293 | 0.0296 | 0.0329 | 0.0335 | 0.0306 | 0.0297 | 0.0312 | 0.0327 | 0.0283 | 0.0332 | 0.0316 | 0.0277 |
X14 | 0.0249 | 0.0277 | 0.0309 | 0.0328 | 0.0305 | 0.0282 | 0.0268 | 0.0287 | 0.0306 | 0.0297 | 0.0287 | 0.0288 | 0.0288 | 0.0279 | 0.0302 | 0.0292 | 0.0270 |
X15 | 0.0270 | 0.0295 | 0.0332 | 0.0312 | 0.0304 | 0.0294 | 0.0259 | 0.0279 | 0.0292 | 0.0292 | 0.0271 | 0.0278 | 0.0280 | 0.0279 | 0.0294 | 0.0308 | 0.0271 |
X16 | 0.0246 | 0.0282 | 0.0307 | 0.0322 | 0.0299 | 0.0277 | 0.0268 | 0.0287 | 0.0298 | 0.0301 | 0.0269 | 0.0289 | 0.0290 | 0.0299 | 0.0302 | 0.0278 | 0.0280 |
X17 | 0.0276 | 0.0278 | 0.0313 | 0.0298 | 0.0285 | 0.0297 | 0.0292 | 0.0325 | 0.0328 | 0.0318 | 0.0307 | 0.0319 | 0.0317 | 0.0293 | 0.0309 | 0.0301 | 0.0288 |
X18 | 0.0000 | 0.0305 | 0.0287 | 0.0248 | 0.0284 | 0.0259 | 0.0288 | 0.0256 | 0.0269 | 0.0290 | 0.0265 | 0.0261 | 0.0258 | 0.0279 | 0.0251 | 0.0274 | 0.0289 |
X19 | 0.0307 | 0.0000 | 0.0308 | 0.0282 | 0.0308 | 0.0276 | 0.0286 | 0.0263 | 0.0273 | 0.0278 | 0.0256 | 0.0262 | 0.0264 | 0.0311 | 0.0280 | 0.0283 | 0.0299 |
X20 | 0.0279 | 0.0298 | 0.0000 | 0.0295 | 0.0290 | 0.0301 | 0.0269 | 0.0284 | 0.0298 | 0.0302 | 0.0277 | 0.0281 | 0.0286 | 0.0283 | 0.0292 | 0.0317 | 0.0270 |
X21 | 0.0231 | 0.0266 | 0.0293 | 0.0000 | 0.0288 | 0.0299 | 0.0253 | 0.0296 | 0.0312 | 0.0283 | 0.0290 | 0.0277 | 0.0300 | 0.0272 | 0.0306 | 0.0298 | 0.0254 |
X22 | 0.0277 | 0.0300 | 0.0292 | 0.0292 | 0.0000 | 0.0261 | 0.0291 | 0.0254 | 0.0270 | 0.0271 | 0.0253 | 0.0254 | 0.0255 | 0.0314 | 0.0267 | 0.0264 | 0.0301 |
X23 | 0.0271 | 0.0281 | 0.0313 | 0.0312 | 0.0277 | 0.0000 | 0.0267 | 0.0309 | 0.0314 | 0.0286 | 0.0312 | 0.0308 | 0.0312 | 0.0270 | 0.0296 | 0.0329 | 0.0256 |
X24 | 0.0292 | 0.0286 | 0.0281 | 0.0271 | 0.0299 | 0.0261 | 0.0000 | 0.0302 | 0.0291 | 0.0292 | 0.0275 | 0.0306 | 0.0295 | 0.0325 | 0.0304 | 0.0280 | 0.0334 |
X25 | 0.0261 | 0.0263 | 0.0295 | 0.0306 | 0.0266 | 0.0306 | 0.0302 | 0.0000 | 0.0331 | 0.0295 | 0.0310 | 0.0325 | 0.0337 | 0.0290 | 0.0335 | 0.0309 | 0.0288 |
X26 | 0.0264 | 0.0264 | 0.0301 | 0.0316 | 0.0272 | 0.0304 | 0.0284 | 0.0328 | 0.0000 | 0.0311 | 0.0313 | 0.0309 | 0.0326 | 0.0272 | 0.0320 | 0.0315 | 0.0267 |
X27 | 0.0280 | 0.0262 | 0.0300 | 0.0283 | 0.0266 | 0.0266 | 0.0278 | 0.0282 | 0.0307 | 0.0000 | 0.0286 | 0.0289 | 0.0282 | 0.0269 | 0.0283 | 0.0286 | 0.0277 |
X28 | 0.0265 | 0.0251 | 0.0286 | 0.0300 | 0.0261 | 0.0306 | 0.0271 | 0.0307 | 0.0315 | 0.0296 | 0.0000 | 0.0300 | 0.0308 | 0.0251 | 0.0289 | 0.0311 | 0.0261 |
X29 | 0.0272 | 0.0268 | 0.0296 | 0.0295 | 0.0272 | 0.0308 | 0.0309 | 0.0327 | 0.0318 | 0.0306 | 0.0307 | 0.0000 | 0.0322 | 0.0292 | 0.0318 | 0.0296 | 0.0296 |
X30 | 0.0258 | 0.0259 | 0.0294 | 0.0308 | 0.0263 | 0.0306 | 0.0291 | 0.0336 | 0.0328 | 0.0292 | 0.0308 | 0.0317 | 0.0000 | 0.0286 | 0.0323 | 0.0311 | 0.0277 |
X31 | 0.0281 | 0.0310 | 0.0292 | 0.0284 | 0.0318 | 0.0262 | 0.0325 | 0.0288 | 0.0279 | 0.0282 | 0.0254 | 0.0285 | 0.0288 | 0.0000 | 0.0306 | 0.0266 | 0.0337 |
X32 | 0.0256 | 0.0280 | 0.0302 | 0.0316 | 0.0278 | 0.0292 | 0.0304 | 0.0335 | 0.0324 | 0.0297 | 0.0293 | 0.0315 | 0.0325 | 0.0307 | 0.0000 | 0.0308 | 0.0306 |
X33 | 0.0264 | 0.0270 | 0.0317 | 0.0300 | 0.0261 | 0.0322 | 0.0268 | 0.0301 | 0.0313 | 0.0288 | 0.0304 | 0.0280 | 0.0305 | 0.0254 | 0.0299 | 0.0000 | 0.0249 |
X34 | 0.0281 | 0.0290 | 0.0270 | 0.0257 | 0.0299 | 0.0233 | 0.0330 | 0.0277 | 0.0262 | 0.0280 | 0.0251 | 0.0280 | 0.0267 | 0.0334 | 0.0297 | 0.0249 | 0.0000 |

Table A3.
The total influence matrix .
Table A3.
The total influence matrix .
X1 | X2 | X3 | X4 | X5 | X6 | X7 | X8 | X9 | X10 | X11 | X12 | X13 | X14 | X15 | X16 | X17 | ||
X1 | 0.5980 | 0.5810 | 0.6584 | 0.6248 | 0.6234 | 0.6595 | 0.6403 | 0.6667 | 0.6179 | 0.6234 | 0.6562 | 0.6721 | 0.6640 | 0.6683 | 0.6676 | 0.6633 | 0.6693 | |
X2 | 0.5895 | 0.5248 | 0.6181 | 0.5932 | 0.5883 | 0.6231 | 0.6013 | 0.6296 | 0.5889 | 0.5931 | 0.6185 | 0.6347 | 0.6249 | 0.6322 | 0.6311 | 0.6279 | 0.6309 | |
X3 | 0.6192 | 0.5712 | 0.6178 | 0.6154 | 0.6118 | 0.6499 | 0.6315 | 0.6573 | 0.6077 | 0.6131 | 0.6441 | 0.6629 | 0.6561 | 0.6591 | 0.6580 | 0.6537 | 0.6593 | |
X4 | 0.6037 | 0.5653 | 0.6335 | 0.5774 | 0.6046 | 0.6366 | 0.6152 | 0.6443 | 0.6003 | 0.6052 | 0.6324 | 0.6493 | 0.6401 | 0.6459 | 0.6451 | 0.6413 | 0.6473 | |
X5 | 0.6248 | 0.5811 | 0.6534 | 0.6267 | 0.5969 | 0.6574 | 0.6349 | 0.6649 | 0.6210 | 0.6290 | 0.6554 | 0.6720 | 0.6636 | 0.6679 | 0.6659 | 0.6646 | 0.6703 | |
X6 | 0.6280 | 0.5841 | 0.6585 | 0.6268 | 0.6241 | 0.6332 | 0.6413 | 0.6723 | 0.6219 | 0.6280 | 0.6563 | 0.6745 | 0.6657 | 0.6748 | 0.6739 | 0.6701 | 0.6713 | |
X7 | 0.5997 | 0.5534 | 0.6290 | 0.5950 | 0.5917 | 0.6303 | 0.5814 | 0.6382 | 0.5888 | 0.5939 | 0.6231 | 0.6407 | 0.6337 | 0.6388 | 0.6373 | 0.6343 | 0.6372 | |
X8 | 0.6317 | 0.5872 | 0.6627 | 0.6312 | 0.6281 | 0.6690 | 0.6460 | 0.6439 | 0.6249 | 0.6308 | 0.6608 | 0.6794 | 0.6697 | 0.6769 | 0.6771 | 0.6731 | 0.6759 | |
X9 | 0.5914 | 0.5563 | 0.6203 | 0.5950 | 0.5938 | 0.6261 | 0.6034 | 0.6323 | 0.5627 | 0.5988 | 0.6223 | 0.6384 | 0.6281 | 0.6364 | 0.6343 | 0.6318 | 0.6343 | |
X10 | 0.6143 | 0.5761 | 0.6442 | 0.6172 | 0.6188 | 0.6503 | 0.6266 | 0.6566 | 0.6157 | 0.5911 | 0.6456 | 0.6637 | 0.6544 | 0.6607 | 0.6587 | 0.6576 | 0.6600 | |
X11 | 0.6524 | 0.6060 | 0.6817 | 0.6505 | 0.6501 | 0.6853 | 0.6624 | 0.6932 | 0.6455 | 0.6511 | 0.6514 | 0.7012 | 0.6905 | 0.6967 | 0.6941 | 0.6918 | 0.6979 | |
X12 | 0.6337 | 0.5890 | 0.6653 | 0.6330 | 0.6321 | 0.6680 | 0.6456 | 0.6762 | 0.6280 | 0.6347 | 0.6658 | 0.6526 | 0.6752 | 0.6793 | 0.6768 | 0.6758 | 0.6813 | |
X13 | 0.6334 | 0.5864 | 0.6659 | 0.6313 | 0.6314 | 0.6670 | 0.6459 | 0.6743 | 0.6250 | 0.6329 | 0.6625 | 0.6829 | 0.6435 | 0.6780 | 0.6750 | 0.6742 | 0.6799 | |
X14 | 0.6287 | 0.5856 | 0.6602 | 0.6284 | 0.6269 | 0.6672 | 0.6424 | 0.6725 | 0.6250 | 0.6307 | 0.6601 | 0.6780 | 0.6690 | 0.6449 | 0.6752 | 0.6727 | 0.6747 | |
X15 | 0.6328 | 0.5890 | 0.6636 | 0.6323 | 0.6294 | 0.6709 | 0.6454 | 0.6774 | 0.6271 | 0.6332 | 0.6619 | 0.6802 | 0.6706 | 0.6797 | 0.6458 | 0.6750 | 0.6771 | |
X16 | 0.6236 | 0.5814 | 0.6547 | 0.6237 | 0.6238 | 0.6625 | 0.6378 | 0.6686 | 0.6202 | 0.6278 | 0.6550 | 0.6744 | 0.6652 | 0.6726 | 0.6703 | 0.6368 | 0.6719 | |
X17 | 0.6494 | 0.6028 | 0.6807 | 0.6495 | 0.6490 | 0.6840 | 0.6608 | 0.6920 | 0.6422 | 0.6495 | 0.6814 | 0.7004 | 0.6912 | 0.6953 | 0.6929 | 0.6922 | 0.6651 | |
X18 | 0.5905 | 0.5533 | 0.6189 | 0.5945 | 0.5911 | 0.6228 | 0.6008 | 0.6300 | 0.5893 | 0.5940 | 0.6190 | 0.6357 | 0.6259 | 0.6307 | 0.6306 | 0.6267 | 0.6321 | |
X19 | 0.6140 | 0.5735 | 0.6442 | 0.6173 | 0.6150 | 0.6503 | 0.6282 | 0.6584 | 0.6118 | 0.6181 | 0.6428 | 0.6609 | 0.6517 | 0.6583 | 0.6579 | 0.6546 | 0.6575 | |
X20 | 0.6331 | 0.5880 | 0.6645 | 0.6329 | 0.6296 | 0.6694 | 0.6461 | 0.6777 | 0.6256 | 0.6313 | 0.6622 | 0.6811 | 0.6715 | 0.6777 | 0.6780 | 0.6735 | 0.6775 | |
X21 | 0.6144 | 0.5703 | 0.6455 | 0.6119 | 0.6106 | 0.6507 | 0.6287 | 0.6559 | 0.6086 | 0.6145 | 0.6430 | 0.6608 | 0.6540 | 0.6611 | 0.6576 | 0.6566 | 0.6575 | |
X22 | 0.6025 | 0.5646 | 0.6326 | 0.6064 | 0.6063 | 0.6392 | 0.6159 | 0.6454 | 0.6050 | 0.6083 | 0.6326 | 0.6498 | 0.6404 | 0.6493 | 0.6474 | 0.6449 | 0.6467 | |
X23 | 0.6414 | 0.5916 | 0.6707 | 0.6370 | 0.6355 | 0.6726 | 0.6519 | 0.6798 | 0.6291 | 0.6347 | 0.6680 | 0.6841 | 0.6767 | 0.6812 | 0.6801 | 0.6767 | 0.6819 | |
X24 | 0.6202 | 0.5780 | 0.6510 | 0.6221 | 0.6251 | 0.6539 | 0.6319 | 0.6610 | 0.6183 | 0.6264 | 0.6503 | 0.6699 | 0.6613 | 0.6644 | 0.6616 | 0.6605 | 0.6657 | |
X25 | 0.6406 | 0.5926 | 0.6716 | 0.6384 | 0.6398 | 0.6731 | 0.6519 | 0.6804 | 0.6312 | 0.6402 | 0.6697 | 0.6882 | 0.6821 | 0.6839 | 0.6812 | 0.6799 | 0.6867 | |
X26 | 0.6390 | 0.5913 | 0.6707 | 0.6373 | 0.6358 | 0.6721 | 0.6509 | 0.6793 | 0.6302 | 0.6366 | 0.6687 | 0.6878 | 0.6808 | 0.6835 | 0.6802 | 0.6787 | 0.6852 | |
X27 | 0.6103 | 0.5693 | 0.6411 | 0.6100 | 0.6089 | 0.6440 | 0.6224 | 0.6520 | 0.6060 | 0.6121 | 0.6422 | 0.6612 | 0.6504 | 0.6548 | 0.6523 | 0.6512 | 0.6563 | |
X28 | 0.6218 | 0.5739 | 0.6503 | 0.6171 | 0.6149 | 0.6502 | 0.6323 | 0.6573 | 0.6118 | 0.6166 | 0.6491 | 0.6655 | 0.6570 | 0.6613 | 0.6581 | 0.6559 | 0.6625 | |
X29 | 0.6456 | 0.5979 | 0.6745 | 0.6425 | 0.6447 | 0.6778 | 0.6552 | 0.6850 | 0.6367 | 0.6451 | 0.6763 | 0.6936 | 0.6852 | 0.6886 | 0.6859 | 0.6847 | 0.6908 | |
X30 | 0.6319 | 0.5844 | 0.6632 | 0.6302 | 0.6305 | 0.6643 | 0.6439 | 0.6715 | 0.6227 | 0.6309 | 0.6602 | 0.6791 | 0.6731 | 0.6750 | 0.6723 | 0.6712 | 0.6772 | |
X31 | 0.6183 | 0.5778 | 0.6493 | 0.6219 | 0.6248 | 0.6550 | 0.6326 | 0.6630 | 0.6181 | 0.6261 | 0.6490 | 0.6681 | 0.6597 | 0.6648 | 0.6627 | 0.6623 | 0.6652 | |
X32 | 0.6436 | 0.5973 | 0.6759 | 0.6416 | 0.6430 | 0.6789 | 0.6573 | 0.6865 | 0.6365 | 0.6457 | 0.6731 | 0.6928 | 0.6868 | 0.6897 | 0.6870 | 0.6857 | 0.6899 | |
X33 | 0.6239 | 0.5751 | 0.6557 | 0.6195 | 0.6162 | 0.6551 | 0.6354 | 0.6625 | 0.6120 | 0.6176 | 0.6486 | 0.6675 | 0.6607 | 0.6637 | 0.6633 | 0.6584 | 0.6639 | |
X34 | 0.5926 | 0.5545 | 0.6218 | 0.5954 | 0.5993 | 0.6264 | 0.6050 | 0.6345 | 0.5941 | 0.6024 | 0.6235 | 0.6413 | 0.6319 | 0.6365 | 0.6347 | 0.6337 | 0.6374 | |
R | 21.14 | 19.65 | 22.17 | 21.13 | 21.10 | 22.30 | 21.55 | 22.54 | 20.95 | 21.17 | 22.13 | 22.74 | 22.45 | 22.63 | 22.57 | 22.49 | 22.64 | |
X18 | X19 | X20 | X21 | X22 | X23 | X24 | X25 | X26 | X27 | X28 | X29 | X30 | X31 | X32 | X33 | X34 | D | |
X1 | 0.6056 | 0.6241 | 0.6682 | 0.6553 | 0.6335 | 0.6434 | 0.6294 | 0.6521 | 0.6657 | 0.6505 | 0.6390 | 0.6469 | 0.6502 | 0.6327 | 0.6567 | 0.6586 | 0.6264 | 21.89 |
X2 | 0.5754 | 0.5915 | 0.6305 | 0.6182 | 0.6021 | 0.6023 | 0.5953 | 0.6125 | 0.6261 | 0.6158 | 0.5993 | 0.6079 | 0.6109 | 0.5999 | 0.6188 | 0.6178 | 0.5946 | 20.67 |
X3 | 0.5954 | 0.6145 | 0.6591 | 0.6465 | 0.6241 | 0.6330 | 0.6202 | 0.6426 | 0.6569 | 0.6415 | 0.6284 | 0.6349 | 0.6413 | 0.6233 | 0.6481 | 0.6511 | 0.6164 | 21.57 |
X4 | 0.5891 | 0.6065 | 0.6460 | 0.6313 | 0.6158 | 0.6176 | 0.6101 | 0.6282 | 0.6421 | 0.6285 | 0.6135 | 0.6221 | 0.6269 | 0.6148 | 0.6327 | 0.6331 | 0.6077 | 21.15 |
X5 | 0.6073 | 0.6263 | 0.6664 | 0.6533 | 0.6378 | 0.6389 | 0.6353 | 0.6526 | 0.6642 | 0.6504 | 0.6341 | 0.6474 | 0.6501 | 0.6400 | 0.6575 | 0.6534 | 0.6330 | 21.90 |
X6 | 0.6074 | 0.6293 | 0.6727 | 0.6603 | 0.6392 | 0.6428 | 0.6313 | 0.6523 | 0.6668 | 0.6530 | 0.6363 | 0.6466 | 0.6507 | 0.6376 | 0.6596 | 0.6591 | 0.6295 | 21.98 |
X7 | 0.5754 | 0.5973 | 0.6383 | 0.6272 | 0.6052 | 0.6125 | 0.5991 | 0.6208 | 0.6346 | 0.6203 | 0.6085 | 0.6138 | 0.6199 | 0.6050 | 0.6277 | 0.6283 | 0.5973 | 20.88 |
X8 | 0.6115 | 0.6343 | 0.6777 | 0.6625 | 0.6422 | 0.6465 | 0.6349 | 0.6560 | 0.6706 | 0.6578 | 0.6401 | 0.6500 | 0.6544 | 0.6424 | 0.6638 | 0.6632 | 0.6343 | 22.11 |
X9 | 0.5788 | 0.5957 | 0.6330 | 0.6221 | 0.6089 | 0.6040 | 0.6011 | 0.6153 | 0.6294 | 0.6186 | 0.6027 | 0.6109 | 0.6138 | 0.6058 | 0.6220 | 0.6200 | 0.6008 | 20.79 |
X10 | 0.6001 | 0.6192 | 0.6573 | 0.6462 | 0.6297 | 0.6274 | 0.6264 | 0.6425 | 0.6543 | 0.6430 | 0.6252 | 0.6372 | 0.6400 | 0.6311 | 0.6495 | 0.6441 | 0.6260 | 21.61 |
X11 | 0.6309 | 0.6495 | 0.6947 | 0.6815 | 0.6606 | 0.6662 | 0.6559 | 0.6777 | 0.6925 | 0.6793 | 0.6632 | 0.6737 | 0.6754 | 0.6599 | 0.6828 | 0.6815 | 0.6542 | 22.78 |
X12 | 0.6141 | 0.6330 | 0.6780 | 0.6643 | 0.6434 | 0.6468 | 0.6411 | 0.6607 | 0.6760 | 0.6640 | 0.6453 | 0.6559 | 0.6589 | 0.6441 | 0.6667 | 0.6651 | 0.6381 | 22.21 |
X13 | 0.6115 | 0.6313 | 0.6761 | 0.6650 | 0.6415 | 0.6477 | 0.6401 | 0.6629 | 0.6768 | 0.6607 | 0.6444 | 0.6553 | 0.6609 | 0.6433 | 0.6690 | 0.6659 | 0.6362 | 22.18 |
X14 | 0.6077 | 0.6293 | 0.6733 | 0.6633 | 0.6419 | 0.6432 | 0.6340 | 0.6552 | 0.6704 | 0.6563 | 0.6400 | 0.6495 | 0.6537 | 0.6396 | 0.6626 | 0.6600 | 0.6321 | 22.05 |
X15 | 0.6121 | 0.6336 | 0.6782 | 0.6644 | 0.6444 | 0.6469 | 0.6357 | 0.6571 | 0.6717 | 0.6584 | 0.6410 | 0.6512 | 0.6555 | 0.6422 | 0.6644 | 0.6642 | 0.6347 | 22.15 |
X16 | 0.6037 | 0.6259 | 0.6690 | 0.6586 | 0.6374 | 0.6387 | 0.6300 | 0.6512 | 0.6655 | 0.6526 | 0.6342 | 0.6456 | 0.6498 | 0.6375 | 0.6585 | 0.6545 | 0.6292 | 21.91 |
X17 | 0.6284 | 0.6481 | 0.6937 | 0.6801 | 0.6590 | 0.6637 | 0.6552 | 0.6784 | 0.6925 | 0.6778 | 0.6609 | 0.6719 | 0.6759 | 0.6599 | 0.6830 | 0.6805 | 0.6526 | 22.74 |
X18 | 0.5476 | 0.5948 | 0.6316 | 0.6167 | 0.6022 | 0.6029 | 0.5985 | 0.6136 | 0.6273 | 0.6169 | 0.6001 | 0.6086 | 0.6122 | 0.6019 | 0.6186 | 0.6193 | 0.5967 | 20.70 |
X19 | 0.5999 | 0.5886 | 0.6584 | 0.6443 | 0.6282 | 0.6283 | 0.6217 | 0.6385 | 0.6525 | 0.6400 | 0.6228 | 0.6327 | 0.6369 | 0.6286 | 0.6459 | 0.6446 | 0.6210 | 21.55 |
X20 | 0.6130 | 0.6339 | 0.6461 | 0.6628 | 0.6430 | 0.6476 | 0.6366 | 0.6576 | 0.6723 | 0.6594 | 0.6416 | 0.6515 | 0.6562 | 0.6425 | 0.6643 | 0.6651 | 0.6347 | 22.15 |
X21 | 0.5919 | 0.6137 | 0.6563 | 0.6163 | 0.6255 | 0.6299 | 0.6179 | 0.6409 | 0.6555 | 0.6398 | 0.6255 | 0.6335 | 0.6397 | 0.6240 | 0.6477 | 0.6454 | 0.6159 | 21.52 |
X22 | 0.5875 | 0.6079 | 0.6463 | 0.6349 | 0.5883 | 0.6167 | 0.6122 | 0.6273 | 0.6416 | 0.6291 | 0.6125 | 0.6218 | 0.6258 | 0.6188 | 0.6342 | 0.6324 | 0.6113 | 21.19 |
X23 | 0.6164 | 0.6365 | 0.6810 | 0.6689 | 0.6461 | 0.6228 | 0.6408 | 0.6645 | 0.6785 | 0.6624 | 0.6494 | 0.6585 | 0.6631 | 0.6456 | 0.6693 | 0.6708 | 0.6377 | 22.31 |
X24 | 0.6046 | 0.6228 | 0.6627 | 0.6500 | 0.6338 | 0.6334 | 0.6005 | 0.6490 | 0.6610 | 0.6480 | 0.6312 | 0.6436 | 0.6466 | 0.6365 | 0.6549 | 0.6509 | 0.6308 | 21.78 |
X25 | 0.6179 | 0.6373 | 0.6820 | 0.6711 | 0.6477 | 0.6550 | 0.6468 | 0.6373 | 0.6829 | 0.6660 | 0.6517 | 0.6628 | 0.6682 | 0.6501 | 0.6757 | 0.6715 | 0.6433 | 22.40 |
X26 | 0.6167 | 0.6360 | 0.6811 | 0.6704 | 0.6468 | 0.6534 | 0.6435 | 0.6675 | 0.6492 | 0.6659 | 0.6505 | 0.6598 | 0.6656 | 0.6469 | 0.6727 | 0.6706 | 0.6398 | 22.34 |
X27 | 0.5935 | 0.6102 | 0.6536 | 0.6405 | 0.6202 | 0.6235 | 0.6171 | 0.6364 | 0.6517 | 0.6091 | 0.6220 | 0.6314 | 0.6347 | 0.6206 | 0.6422 | 0.6409 | 0.6150 | 21.41 |
X28 | 0.5981 | 0.6153 | 0.6589 | 0.6486 | 0.6260 | 0.6337 | 0.6226 | 0.6453 | 0.6592 | 0.6443 | 0.6005 | 0.6389 | 0.6438 | 0.6252 | 0.6493 | 0.6498 | 0.6197 | 21.64 |
X29 | 0.6229 | 0.6419 | 0.6865 | 0.6742 | 0.6524 | 0.6593 | 0.6515 | 0.6732 | 0.6858 | 0.6711 | 0.6555 | 0.6355 | 0.6710 | 0.6544 | 0.6782 | 0.6745 | 0.6481 | 22.55 |
X30 | 0.6098 | 0.6289 | 0.6732 | 0.6627 | 0.6391 | 0.6467 | 0.6375 | 0.6613 | 0.6739 | 0.6572 | 0.6433 | 0.6537 | 0.6271 | 0.6415 | 0.6660 | 0.6632 | 0.6340 | 22.10 |
X31 | 0.6033 | 0.6247 | 0.6633 | 0.6509 | 0.6353 | 0.6331 | 0.6316 | 0.6472 | 0.6594 | 0.6467 | 0.6288 | 0.6412 | 0.6455 | 0.6047 | 0.6547 | 0.6492 | 0.6308 | 21.77 |
X32 | 0.6216 | 0.6432 | 0.6872 | 0.6764 | 0.6532 | 0.6581 | 0.6512 | 0.6741 | 0.6867 | 0.6705 | 0.6544 | 0.6662 | 0.6715 | 0.6561 | 0.6477 | 0.6758 | 0.6492 | 22.55 |
X33 | 0.6003 | 0.6195 | 0.6644 | 0.6511 | 0.6284 | 0.6377 | 0.6247 | 0.6472 | 0.6614 | 0.6460 | 0.6324 | 0.6394 | 0.6459 | 0.6278 | 0.6528 | 0.6222 | 0.6209 | 21.72 |
X34 | 0.5794 | 0.5981 | 0.6349 | 0.6223 | 0.6084 | 0.6051 | 0.6071 | 0.6204 | 0.6316 | 0.6208 | 0.6034 | 0.6153 | 0.6179 | 0.6119 | 0.6279 | 0.6217 | 0.5734 | 20.86 |
R | 20.48 | 21.14 | 22.58 | 22.16 | 21.49 | 21.61 | 21.34 | 22.02 | 22.49 | 22.02 | 21.48 | 21.82 | 21.96 | 21.50 | 22.23 | 22.17 | 21.27 |

Table A4.
The weighted supermatrix.
Table A4.
The weighted supermatrix.
X1 | X2 | X3 | X4 | X5 | X6 | X7 | X8 | X9 | X10 | X11 | X12 | X13 | X14 | X15 | X16 | X17 | |
X1 | 0.0283 | 0.0296 | 0.0297 | 0.0296 | 0.0296 | 0.0296 | 0.0297 | 0.0296 | 0.0295 | 0.0295 | 0.0297 | 0.0295 | 0.0296 | 0.0295 | 0.0296 | 0.0295 | 0.0296 |
X2 | 0.0279 | 0.0267 | 0.0279 | 0.0281 | 0.0279 | 0.0279 | 0.0279 | 0.0279 | 0.0281 | 0.0280 | 0.0279 | 0.0279 | 0.0278 | 0.0279 | 0.0280 | 0.0279 | 0.0279 |
X3 | 0.0293 | 0.0291 | 0.0279 | 0.0291 | 0.0290 | 0.0291 | 0.0293 | 0.0292 | 0.0290 | 0.0290 | 0.0291 | 0.0291 | 0.0292 | 0.0291 | 0.0292 | 0.0291 | 0.0291 |
X4 | 0.0286 | 0.0288 | 0.0286 | 0.0273 | 0.0287 | 0.0286 | 0.0285 | 0.0286 | 0.0287 | 0.0286 | 0.0286 | 0.0285 | 0.0285 | 0.0285 | 0.0286 | 0.0285 | 0.0286 |
X5 | 0.0296 | 0.0296 | 0.0295 | 0.0297 | 0.0283 | 0.0295 | 0.0295 | 0.0295 | 0.0296 | 0.0297 | 0.0296 | 0.0295 | 0.0296 | 0.0295 | 0.0295 | 0.0295 | 0.0296 |
X6 | 0.0297 | 0.0297 | 0.0297 | 0.0297 | 0.0296 | 0.0284 | 0.0298 | 0.0298 | 0.0297 | 0.0297 | 0.0297 | 0.0297 | 0.0296 | 0.0298 | 0.0299 | 0.0298 | 0.0297 |
X7 | 0.0284 | 0.0282 | 0.0284 | 0.0282 | 0.0280 | 0.0283 | 0.0270 | 0.0283 | 0.0281 | 0.0281 | 0.0282 | 0.0282 | 0.0282 | 0.0282 | 0.0282 | 0.0282 | 0.0281 |
X8 | 0.0299 | 0.0299 | 0.0299 | 0.0299 | 0.0298 | 0.0300 | 0.0300 | 0.0286 | 0.0298 | 0.0298 | 0.0299 | 0.0299 | 0.0298 | 0.0299 | 0.0300 | 0.0299 | 0.0299 |
X9 | 0.0280 | 0.0283 | 0.0280 | 0.0282 | 0.0281 | 0.0281 | 0.0280 | 0.0281 | 0.0269 | 0.0283 | 0.0281 | 0.0281 | 0.0280 | 0.0281 | 0.0281 | 0.0281 | 0.0280 |
X10 | 0.0291 | 0.0293 | 0.0291 | 0.0292 | 0.0293 | 0.0292 | 0.0291 | 0.0291 | 0.0294 | 0.0279 | 0.0292 | 0.0292 | 0.0291 | 0.0292 | 0.0292 | 0.0292 | 0.0292 |
X11 | 0.0309 | 0.0308 | 0.0307 | 0.0308 | 0.0308 | 0.0307 | 0.0307 | 0.0308 | 0.0308 | 0.0308 | 0.0294 | 0.0308 | 0.0308 | 0.0308 | 0.0308 | 0.0308 | 0.0308 |
X12 | 0.0300 | 0.0300 | 0.0300 | 0.0300 | 0.0300 | 0.0300 | 0.0300 | 0.0300 | 0.0300 | 0.0300 | 0.0301 | 0.0287 | 0.0301 | 0.0300 | 0.0300 | 0.0300 | 0.0301 |
X13 | 0.0300 | 0.0298 | 0.0300 | 0.0299 | 0.0299 | 0.0299 | 0.0300 | 0.0299 | 0.0298 | 0.0299 | 0.0299 | 0.0300 | 0.0287 | 0.0300 | 0.0299 | 0.0300 | 0.0300 |
X14 | 0.0297 | 0.0298 | 0.0298 | 0.0297 | 0.0297 | 0.0299 | 0.0298 | 0.0298 | 0.0298 | 0.0298 | 0.0298 | 0.0298 | 0.0298 | 0.0285 | 0.0299 | 0.0299 | 0.0298 |
X15 | 0.0299 | 0.0300 | 0.0299 | 0.0299 | 0.0298 | 0.0301 | 0.0299 | 0.0301 | 0.0299 | 0.0299 | 0.0299 | 0.0299 | 0.0299 | 0.0300 | 0.0286 | 0.0300 | 0.0299 |
X16 | 0.0295 | 0.0296 | 0.0295 | 0.0295 | 0.0296 | 0.0297 | 0.0296 | 0.0297 | 0.0296 | 0.0297 | 0.0296 | 0.0297 | 0.0296 | 0.0297 | 0.0297 | 0.0283 | 0.0297 |
X17 | 0.0307 | 0.0307 | 0.0307 | 0.0307 | 0.0308 | 0.0307 | 0.0307 | 0.0307 | 0.0307 | 0.0307 | 0.0308 | 0.0308 | 0.0308 | 0.0307 | 0.0307 | 0.0308 | 0.0294 |
X18 | 0.0279 | 0.0282 | 0.0279 | 0.0281 | 0.0280 | 0.0279 | 0.0279 | 0.0280 | 0.0281 | 0.0281 | 0.0280 | 0.0280 | 0.0279 | 0.0279 | 0.0279 | 0.0279 | 0.0279 |
X19 | 0.0290 | 0.0292 | 0.0291 | 0.0292 | 0.0292 | 0.0292 | 0.0291 | 0.0292 | 0.0292 | 0.0292 | 0.0290 | 0.0291 | 0.0290 | 0.0291 | 0.0291 | 0.0291 | 0.0290 |
X20 | 0.0300 | 0.0299 | 0.0300 | 0.0300 | 0.0298 | 0.0300 | 0.0300 | 0.0301 | 0.0299 | 0.0298 | 0.0299 | 0.0299 | 0.0299 | 0.0299 | 0.0300 | 0.0299 | 0.0299 |
X21 | 0.0291 | 0.0290 | 0.0291 | 0.0290 | 0.0289 | 0.0292 | 0.0292 | 0.0291 | 0.0291 | 0.0290 | 0.0291 | 0.0291 | 0.0291 | 0.0292 | 0.0291 | 0.0292 | 0.0290 |
X22 | 0.0285 | 0.0287 | 0.0285 | 0.0287 | 0.0287 | 0.0287 | 0.0286 | 0.0286 | 0.0289 | 0.0287 | 0.0286 | 0.0286 | 0.0285 | 0.0287 | 0.0287 | 0.0287 | 0.0286 |
X23 | 0.0303 | 0.0301 | 0.0303 | 0.0301 | 0.0301 | 0.0302 | 0.0302 | 0.0302 | 0.0300 | 0.0300 | 0.0302 | 0.0301 | 0.0301 | 0.0301 | 0.0301 | 0.0301 | 0.0301 |
X24 | 0.0293 | 0.0294 | 0.0294 | 0.0294 | 0.0296 | 0.0293 | 0.0293 | 0.0293 | 0.0295 | 0.0296 | 0.0294 | 0.0295 | 0.0295 | 0.0294 | 0.0293 | 0.0294 | 0.0294 |
X25 | 0.0303 | 0.0301 | 0.0303 | 0.0302 | 0.0303 | 0.0302 | 0.0302 | 0.0302 | 0.0301 | 0.0302 | 0.0303 | 0.0303 | 0.0304 | 0.0302 | 0.0302 | 0.0302 | 0.0303 |
X26 | 0.0302 | 0.0301 | 0.0303 | 0.0302 | 0.0301 | 0.0301 | 0.0302 | 0.0301 | 0.0301 | 0.0301 | 0.0302 | 0.0302 | 0.0303 | 0.0302 | 0.0301 | 0.0302 | 0.0303 |
X27 | 0.0289 | 0.0290 | 0.0289 | 0.0289 | 0.0289 | 0.0289 | 0.0289 | 0.0289 | 0.0289 | 0.0289 | 0.0290 | 0.0291 | 0.0290 | 0.0289 | 0.0289 | 0.0290 | 0.0290 |
X28 | 0.0294 | 0.0292 | 0.0293 | 0.0292 | 0.0292 | 0.0292 | 0.0293 | 0.0292 | 0.0292 | 0.0291 | 0.0293 | 0.0293 | 0.0293 | 0.0292 | 0.0292 | 0.0292 | 0.0293 |
X29 | 0.0305 | 0.0304 | 0.0304 | 0.0304 | 0.0306 | 0.0304 | 0.0304 | 0.0304 | 0.0304 | 0.0305 | 0.0306 | 0.0305 | 0.0305 | 0.0304 | 0.0304 | 0.0304 | 0.0305 |
X30 | 0.0299 | 0.0297 | 0.0299 | 0.0298 | 0.0299 | 0.0298 | 0.0299 | 0.0298 | 0.0297 | 0.0298 | 0.0298 | 0.0299 | 0.0300 | 0.0298 | 0.0298 | 0.0298 | 0.0299 |
X31 | 0.0293 | 0.0294 | 0.0293 | 0.0294 | 0.0296 | 0.0294 | 0.0294 | 0.0294 | 0.0295 | 0.0296 | 0.0293 | 0.0294 | 0.0294 | 0.0294 | 0.0294 | 0.0294 | 0.0294 |
X32 | 0.0304 | 0.0304 | 0.0305 | 0.0304 | 0.0305 | 0.0304 | 0.0305 | 0.0305 | 0.0304 | 0.0305 | 0.0304 | 0.0305 | 0.0306 | 0.0305 | 0.0304 | 0.0305 | 0.0305 |
X33 | 0.0295 | 0.0293 | 0.0296 | 0.0293 | 0.0292 | 0.0294 | 0.0295 | 0.0294 | 0.0292 | 0.0292 | 0.0293 | 0.0293 | 0.0294 | 0.0293 | 0.0294 | 0.0293 | 0.0293 |
X34 | 0.0280 | 0.0282 | 0.0280 | 0.0282 | 0.0284 | 0.0281 | 0.0281 | 0.0281 | 0.0284 | 0.0285 | 0.0282 | 0.0282 | 0.0281 | 0.0281 | 0.0281 | 0.0282 | 0.0282 |
X18 | X19 | X20 | X21 | X22 | X23 | X24 | X25 | X26 | X27 | X28 | X29 | X30 | X31 | X32 | X33 | X34 | |
X1 | 0.0296 | 0.0295 | 0.0296 | 0.0296 | 0.0295 | 0.0298 | 0.0295 | 0.0296 | 0.0296 | 0.0295 | 0.0297 | 0.0297 | 0.0296 | 0.0294 | 0.0295 | 0.0297 | 0.0295 |
X2 | 0.0281 | 0.0280 | 0.0279 | 0.0279 | 0.0280 | 0.0279 | 0.0279 | 0.0278 | 0.0278 | 0.0280 | 0.0279 | 0.0279 | 0.0278 | 0.0279 | 0.0278 | 0.0279 | 0.0280 |
X3 | 0.0291 | 0.0291 | 0.0292 | 0.0292 | 0.0290 | 0.0293 | 0.0291 | 0.0292 | 0.0292 | 0.0291 | 0.0293 | 0.0291 | 0.0292 | 0.0290 | 0.0292 | 0.0294 | 0.0290 |
X4 | 0.0288 | 0.0287 | 0.0286 | 0.0285 | 0.0287 | 0.0286 | 0.0286 | 0.0285 | 0.0286 | 0.0285 | 0.0286 | 0.0285 | 0.0285 | 0.0286 | 0.0285 | 0.0286 | 0.0286 |
X5 | 0.0297 | 0.0296 | 0.0295 | 0.0295 | 0.0297 | 0.0296 | 0.0298 | 0.0296 | 0.0295 | 0.0295 | 0.0295 | 0.0297 | 0.0296 | 0.0298 | 0.0296 | 0.0295 | 0.0298 |
X6 | 0.0297 | 0.0298 | 0.0298 | 0.0298 | 0.0297 | 0.0297 | 0.0296 | 0.0296 | 0.0297 | 0.0297 | 0.0296 | 0.0296 | 0.0296 | 0.0297 | 0.0297 | 0.0297 | 0.0296 |
X7 | 0.0281 | 0.0282 | 0.0283 | 0.0283 | 0.0282 | 0.0283 | 0.0281 | 0.0282 | 0.0282 | 0.0282 | 0.0283 | 0.0281 | 0.0282 | 0.0281 | 0.0282 | 0.0283 | 0.0281 |
X8 | 0.0299 | 0.0300 | 0.0300 | 0.0299 | 0.0299 | 0.0299 | 0.0298 | 0.0298 | 0.0298 | 0.0299 | 0.0298 | 0.0298 | 0.0298 | 0.0299 | 0.0299 | 0.0299 | 0.0298 |
X9 | 0.0283 | 0.0282 | 0.0280 | 0.0281 | 0.0283 | 0.0280 | 0.0282 | 0.0279 | 0.0280 | 0.0281 | 0.0281 | 0.0280 | 0.0279 | 0.0282 | 0.0280 | 0.0280 | 0.0283 |
X10 | 0.0293 | 0.0293 | 0.0291 | 0.0292 | 0.0293 | 0.0290 | 0.0294 | 0.0292 | 0.0291 | 0.0292 | 0.0291 | 0.0292 | 0.0291 | 0.0294 | 0.0292 | 0.0291 | 0.0294 |
X11 | 0.0308 | 0.0307 | 0.0308 | 0.0307 | 0.0307 | 0.0308 | 0.0307 | 0.0308 | 0.0308 | 0.0308 | 0.0309 | 0.0309 | 0.0308 | 0.0307 | 0.0307 | 0.0307 | 0.0308 |
X12 | 0.0300 | 0.0299 | 0.0300 | 0.0300 | 0.0299 | 0.0299 | 0.0300 | 0.0300 | 0.0301 | 0.0302 | 0.0300 | 0.0301 | 0.0300 | 0.0300 | 0.0300 | 0.0300 | 0.0300 |
X13 | 0.0299 | 0.0299 | 0.0299 | 0.0300 | 0.0299 | 0.0300 | 0.0300 | 0.0301 | 0.0301 | 0.0300 | 0.0300 | 0.0300 | 0.0301 | 0.0299 | 0.0301 | 0.0300 | 0.0299 |
X14 | 0.0297 | 0.0298 | 0.0298 | 0.0299 | 0.0299 | 0.0298 | 0.0297 | 0.0298 | 0.0298 | 0.0298 | 0.0298 | 0.0298 | 0.0298 | 0.0298 | 0.0298 | 0.0298 | 0.0297 |
X15 | 0.0299 | 0.0300 | 0.0300 | 0.0300 | 0.0300 | 0.0299 | 0.0298 | 0.0298 | 0.0299 | 0.0299 | 0.0298 | 0.0298 | 0.0298 | 0.0299 | 0.0299 | 0.0300 | 0.0298 |
X16 | 0.0295 | 0.0296 | 0.0296 | 0.0297 | 0.0297 | 0.0296 | 0.0295 | 0.0296 | 0.0296 | 0.0296 | 0.0295 | 0.0296 | 0.0296 | 0.0297 | 0.0296 | 0.0295 | 0.0296 |
X17 | 0.0307 | 0.0307 | 0.0307 | 0.0307 | 0.0307 | 0.0307 | 0.0307 | 0.0308 | 0.0308 | 0.0308 | 0.0308 | 0.0308 | 0.0308 | 0.0307 | 0.0307 | 0.0307 | 0.0307 |
X18 | 0.0267 | 0.0281 | 0.0280 | 0.0278 | 0.0280 | 0.0279 | 0.0280 | 0.0279 | 0.0279 | 0.0280 | 0.0279 | 0.0279 | 0.0279 | 0.0280 | 0.0278 | 0.0279 | 0.0281 |
X19 | 0.0293 | 0.0278 | 0.0292 | 0.0291 | 0.0292 | 0.0291 | 0.0291 | 0.0290 | 0.0290 | 0.0291 | 0.0290 | 0.0290 | 0.0290 | 0.0292 | 0.0291 | 0.0291 | 0.0292 |
X20 | 0.0299 | 0.0300 | 0.0286 | 0.0299 | 0.0299 | 0.0300 | 0.0298 | 0.0299 | 0.0299 | 0.0299 | 0.0299 | 0.0299 | 0.0299 | 0.0299 | 0.0299 | 0.0300 | 0.0298 |
X21 | 0.0289 | 0.0290 | 0.0291 | 0.0278 | 0.0291 | 0.0292 | 0.0290 | 0.0291 | 0.0292 | 0.0291 | 0.0291 | 0.0290 | 0.0291 | 0.0290 | 0.0291 | 0.0291 | 0.0290 |
X22 | 0.0287 | 0.0288 | 0.0286 | 0.0286 | 0.0274 | 0.0285 | 0.0287 | 0.0285 | 0.0285 | 0.0286 | 0.0285 | 0.0285 | 0.0285 | 0.0288 | 0.0285 | 0.0285 | 0.0287 |
X23 | 0.0301 | 0.0301 | 0.0302 | 0.0302 | 0.0301 | 0.0288 | 0.0300 | 0.0302 | 0.0302 | 0.0301 | 0.0302 | 0.0302 | 0.0302 | 0.0300 | 0.0301 | 0.0303 | 0.0300 |
X24 | 0.0295 | 0.0295 | 0.0293 | 0.0293 | 0.0295 | 0.0293 | 0.0281 | 0.0295 | 0.0294 | 0.0294 | 0.0294 | 0.0295 | 0.0294 | 0.0296 | 0.0295 | 0.0294 | 0.0297 |
X25 | 0.0302 | 0.0301 | 0.0302 | 0.0303 | 0.0301 | 0.0303 | 0.0303 | 0.0289 | 0.0304 | 0.0302 | 0.0303 | 0.0304 | 0.0304 | 0.0302 | 0.0304 | 0.0303 | 0.0303 |
X26 | 0.0301 | 0.0301 | 0.0302 | 0.0303 | 0.0301 | 0.0302 | 0.0302 | 0.0303 | 0.0289 | 0.0302 | 0.0303 | 0.0302 | 0.0303 | 0.0301 | 0.0303 | 0.0302 | 0.0301 |
X27 | 0.0290 | 0.0289 | 0.0289 | 0.0289 | 0.0289 | 0.0289 | 0.0289 | 0.0289 | 0.0290 | 0.0277 | 0.0290 | 0.0289 | 0.0289 | 0.0289 | 0.0289 | 0.0289 | 0.0289 |
X28 | 0.0292 | 0.0291 | 0.0292 | 0.0293 | 0.0291 | 0.0293 | 0.0292 | 0.0293 | 0.0293 | 0.0293 | 0.0280 | 0.0293 | 0.0293 | 0.0291 | 0.0292 | 0.0293 | 0.0291 |
X29 | 0.0304 | 0.0304 | 0.0304 | 0.0304 | 0.0304 | 0.0305 | 0.0305 | 0.0306 | 0.0305 | 0.0305 | 0.0305 | 0.0291 | 0.0306 | 0.0304 | 0.0305 | 0.0304 | 0.0305 |
X30 | 0.0298 | 0.0297 | 0.0298 | 0.0299 | 0.0297 | 0.0299 | 0.0299 | 0.0300 | 0.0300 | 0.0298 | 0.0299 | 0.0300 | 0.0286 | 0.0298 | 0.0300 | 0.0299 | 0.0298 |
X31 | 0.0295 | 0.0295 | 0.0294 | 0.0294 | 0.0296 | 0.0293 | 0.0296 | 0.0294 | 0.0293 | 0.0294 | 0.0293 | 0.0294 | 0.0294 | 0.0281 | 0.0295 | 0.0293 | 0.0297 |
X32 | 0.0304 | 0.0304 | 0.0304 | 0.0305 | 0.0304 | 0.0305 | 0.0305 | 0.0306 | 0.0305 | 0.0304 | 0.0305 | 0.0305 | 0.0306 | 0.0305 | 0.0291 | 0.0305 | 0.0305 |
X33 | 0.0293 | 0.0293 | 0.0294 | 0.0294 | 0.0292 | 0.0295 | 0.0293 | 0.0294 | 0.0294 | 0.0293 | 0.0294 | 0.0293 | 0.0294 | 0.0292 | 0.0294 | 0.0281 | 0.0292 |
X34 | 0.0283 | 0.0283 | 0.0281 | 0.0281 | 0.0283 | 0.0280 | 0.0285 | 0.0282 | 0.0281 | 0.0282 | 0.0281 | 0.0282 | 0.0281 | 0.0285 | 0.0283 | 0.0280 | 0.0270 |

Table A5.
The limited supermatrix.
Table A5.
The limited supermatrix.
X1 | X2 | X3 | X4 | X5 | X6 | X7 | X8 | X9 | X10 | X11 | X12 | X13 | X14 | X15 | X16 | X17 | |
X1 | 0.0295 | 0.0295 | 0.0295 | 0.0295 | 0.0295 | 0.0295 | 0.0295 | 0.0295 | 0.0295 | 0.0295 | 0.0295 | 0.0295 | 0.0295 | 0.0295 | 0.0295 | 0.0295 | 0.0295 |
X2 | 0.0279 | 0.0279 | 0.0279 | 0.0279 | 0.0279 | 0.0279 | 0.0279 | 0.0279 | 0.0279 | 0.0279 | 0.0279 | 0.0279 | 0.0279 | 0.0279 | 0.0279 | 0.0279 | 0.0279 |
X3 | 0.0291 | 0.0291 | 0.0291 | 0.0291 | 0.0291 | 0.0291 | 0.0291 | 0.0291 | 0.0291 | 0.0291 | 0.0291 | 0.0291 | 0.0291 | 0.0291 | 0.0291 | 0.0291 | 0.0291 |
X4 | 0.0285 | 0.0285 | 0.0285 | 0.0285 | 0.0285 | 0.0285 | 0.0285 | 0.0285 | 0.0285 | 0.0285 | 0.0285 | 0.0285 | 0.0285 | 0.0285 | 0.0285 | 0.0285 | 0.0285 |
X5 | 0.0295 | 0.0295 | 0.0295 | 0.0295 | 0.0295 | 0.0295 | 0.0295 | 0.0295 | 0.0295 | 0.0295 | 0.0295 | 0.0295 | 0.0295 | 0.0295 | 0.0295 | 0.0295 | 0.0295 |
X6 | 0.0297 | 0.0297 | 0.0297 | 0.0297 | 0.0297 | 0.0297 | 0.0297 | 0.0297 | 0.0297 | 0.0297 | 0.0297 | 0.0297 | 0.0297 | 0.0297 | 0.0297 | 0.0297 | 0.0297 |
X7 | 0.0282 | 0.0282 | 0.0282 | 0.0282 | 0.0282 | 0.0282 | 0.0282 | 0.0282 | 0.0282 | 0.0282 | 0.0282 | 0.0282 | 0.0282 | 0.0282 | 0.0282 | 0.0282 | 0.0282 |
X8 | 0.0298 | 0.0298 | 0.0298 | 0.0298 | 0.0298 | 0.0298 | 0.0298 | 0.0298 | 0.0298 | 0.0298 | 0.0298 | 0.0298 | 0.0298 | 0.0298 | 0.0298 | 0.0298 | 0.0298 |
X9 | 0.0281 | 0.0281 | 0.0281 | 0.0281 | 0.0281 | 0.0281 | 0.0281 | 0.0281 | 0.0281 | 0.0281 | 0.0281 | 0.0281 | 0.0281 | 0.0281 | 0.0281 | 0.0281 | 0.0281 |
X10 | 0.0292 | 0.0292 | 0.0292 | 0.0292 | 0.0292 | 0.0292 | 0.0292 | 0.0292 | 0.0292 | 0.0292 | 0.0292 | 0.0292 | 0.0292 | 0.0292 | 0.0292 | 0.0292 | 0.0292 |
X11 | 0.0307 | 0.0307 | 0.0307 | 0.0307 | 0.0307 | 0.0307 | 0.0307 | 0.0307 | 0.0307 | 0.0307 | 0.0307 | 0.0307 | 0.0307 | 0.0307 | 0.0307 | 0.0307 | 0.0307 |
X12 | 0.0300 | 0.0300 | 0.0300 | 0.0300 | 0.0300 | 0.0300 | 0.0300 | 0.0300 | 0.0300 | 0.0300 | 0.0300 | 0.0300 | 0.0300 | 0.0300 | 0.0300 | 0.0300 | 0.0300 |
X13 | 0.0299 | 0.0299 | 0.0299 | 0.0299 | 0.0299 | 0.0299 | 0.0299 | 0.0299 | 0.0299 | 0.0299 | 0.0299 | 0.0299 | 0.0299 | 0.0299 | 0.0299 | 0.0299 | 0.0299 |
X14 | 0.0298 | 0.0298 | 0.0298 | 0.0298 | 0.0298 | 0.0298 | 0.0298 | 0.0298 | 0.0298 | 0.0298 | 0.0298 | 0.0298 | 0.0298 | 0.0298 | 0.0298 | 0.0298 | 0.0298 |
X15 | 0.0299 | 0.0299 | 0.0299 | 0.0299 | 0.0299 | 0.0299 | 0.0299 | 0.0299 | 0.0299 | 0.0299 | 0.0299 | 0.0299 | 0.0299 | 0.0299 | 0.0299 | 0.0299 | 0.0299 |
X16 | 0.0296 | 0.0296 | 0.0296 | 0.0296 | 0.0296 | 0.0296 | 0.0296 | 0.0296 | 0.0296 | 0.0296 | 0.0296 | 0.0296 | 0.0296 | 0.0296 | 0.0296 | 0.0296 | 0.0296 |
X17 | 0.0307 | 0.0307 | 0.0307 | 0.0307 | 0.0307 | 0.0307 | 0.0307 | 0.0307 | 0.0307 | 0.0307 | 0.0307 | 0.0307 | 0.0307 | 0.0307 | 0.0307 | 0.0307 | 0.0307 |
X18 | 0.0279 | 0.0279 | 0.0279 | 0.0279 | 0.0279 | 0.0279 | 0.0279 | 0.0279 | 0.0279 | 0.0279 | 0.0279 | 0.0279 | 0.0279 | 0.0279 | 0.0279 | 0.0279 | 0.0279 |
X19 | 0.0291 | 0.0291 | 0.0291 | 0.0291 | 0.0291 | 0.0291 | 0.0291 | 0.0291 | 0.0291 | 0.0291 | 0.0291 | 0.0291 | 0.0291 | 0.0291 | 0.0291 | 0.0291 | 0.0291 |
X20 | 0.0299 | 0.0299 | 0.0299 | 0.0299 | 0.0299 | 0.0299 | 0.0299 | 0.0299 | 0.0299 | 0.0299 | 0.0299 | 0.0299 | 0.0299 | 0.0299 | 0.0299 | 0.0299 | 0.0299 |
X21 | 0.0290 | 0.0290 | 0.0290 | 0.0290 | 0.0290 | 0.0290 | 0.0290 | 0.0290 | 0.0290 | 0.0290 | 0.0290 | 0.0290 | 0.0290 | 0.0290 | 0.0290 | 0.0290 | 0.0290 |
X22 | 0.0286 | 0.0286 | 0.0286 | 0.0286 | 0.0286 | 0.0286 | 0.0286 | 0.0286 | 0.0286 | 0.0286 | 0.0286 | 0.0286 | 0.0286 | 0.0286 | 0.0286 | 0.0286 | 0.0286 |
X23 | 0.0301 | 0.0301 | 0.0301 | 0.0301 | 0.0301 | 0.0301 | 0.0301 | 0.0301 | 0.0301 | 0.0301 | 0.0301 | 0.0301 | 0.0301 | 0.0301 | 0.0301 | 0.0301 | 0.0301 |
X24 | 0.0294 | 0.0294 | 0.0294 | 0.0294 | 0.0294 | 0.0294 | 0.0294 | 0.0294 | 0.0294 | 0.0294 | 0.0294 | 0.0294 | 0.0294 | 0.0294 | 0.0294 | 0.0294 | 0.0294 |
X25 | 0.0302 | 0.0302 | 0.0302 | 0.0302 | 0.0302 | 0.0302 | 0.0302 | 0.0302 | 0.0302 | 0.0302 | 0.0302 | 0.0302 | 0.0302 | 0.0302 | 0.0302 | 0.0302 | 0.0302 |
X26 | 0.0302 | 0.0302 | 0.0302 | 0.0302 | 0.0302 | 0.0302 | 0.0302 | 0.0302 | 0.0302 | 0.0302 | 0.0302 | 0.0302 | 0.0302 | 0.0302 | 0.0302 | 0.0302 | 0.0302 |
X27 | 0.0289 | 0.0289 | 0.0289 | 0.0289 | 0.0289 | 0.0289 | 0.0289 | 0.0289 | 0.0289 | 0.0289 | 0.0289 | 0.0289 | 0.0289 | 0.0289 | 0.0289 | 0.0289 | 0.0289 |
X28 | 0.0292 | 0.0292 | 0.0292 | 0.0292 | 0.0292 | 0.0292 | 0.0292 | 0.0292 | 0.0292 | 0.0292 | 0.0292 | 0.0292 | 0.0292 | 0.0292 | 0.0292 | 0.0292 | 0.0292 |
X29 | 0.0304 | 0.0304 | 0.0304 | 0.0304 | 0.0304 | 0.0304 | 0.0304 | 0.0304 | 0.0304 | 0.0304 | 0.0304 | 0.0304 | 0.0304 | 0.0304 | 0.0304 | 0.0304 | 0.0304 |
X30 | 0.0298 | 0.0298 | 0.0298 | 0.0298 | 0.0298 | 0.0298 | 0.0298 | 0.0298 | 0.0298 | 0.0298 | 0.0298 | 0.0298 | 0.0298 | 0.0298 | 0.0298 | 0.0298 | 0.0298 |
X31 | 0.0294 | 0.0294 | 0.0294 | 0.0294 | 0.0294 | 0.0294 | 0.0294 | 0.0294 | 0.0294 | 0.0294 | 0.0294 | 0.0294 | 0.0294 | 0.0294 | 0.0294 | 0.0294 | 0.0294 |
X32 | 0.0304 | 0.0304 | 0.0304 | 0.0304 | 0.0304 | 0.0304 | 0.0304 | 0.0304 | 0.0304 | 0.0304 | 0.0304 | 0.0304 | 0.0304 | 0.0304 | 0.0304 | 0.0304 | 0.0304 |
X33 | 0.0293 | 0.0293 | 0.0293 | 0.0293 | 0.0293 | 0.0293 | 0.0293 | 0.0293 | 0.0293 | 0.0293 | 0.0293 | 0.0293 | 0.0293 | 0.0293 | 0.0293 | 0.0293 | 0.0293 |
X34 | 0.0282 | 0.0282 | 0.0282 | 0.0282 | 0.0282 | 0.0282 | 0.0282 | 0.0282 | 0.0282 | 0.0282 | 0.0282 | 0.0282 | 0.0282 | 0.0282 | 0.0282 | 0.0282 | 0.0282 |
X18 | X19 | X20 | X21 | X22 | X23 | X24 | X25 | X26 | X27 | X28 | X29 | X30 | X31 | X32 | X33 | X34 | |
X1 | 0.0295 | 0.0295 | 0.0295 | 0.0295 | 0.0295 | 0.0295 | 0.0295 | 0.0295 | 0.0295 | 0.0295 | 0.0295 | 0.0295 | 0.0295 | 0.0295 | 0.0295 | 0.0295 | 0.0295 |
X2 | 0.0279 | 0.0279 | 0.0279 | 0.0279 | 0.0279 | 0.0279 | 0.0279 | 0.0279 | 0.0279 | 0.0279 | 0.0279 | 0.0279 | 0.0279 | 0.0279 | 0.0279 | 0.0279 | 0.0279 |
X3 | 0.0291 | 0.0291 | 0.0291 | 0.0291 | 0.0291 | 0.0291 | 0.0291 | 0.0291 | 0.0291 | 0.0291 | 0.0291 | 0.0291 | 0.0291 | 0.0291 | 0.0291 | 0.0291 | 0.0291 |
X4 | 0.0285 | 0.0285 | 0.0285 | 0.0285 | 0.0285 | 0.0285 | 0.0285 | 0.0285 | 0.0285 | 0.0285 | 0.0285 | 0.0285 | 0.0285 | 0.0285 | 0.0285 | 0.0285 | 0.0285 |
X5 | 0.0295 | 0.0295 | 0.0295 | 0.0295 | 0.0295 | 0.0295 | 0.0295 | 0.0295 | 0.0295 | 0.0295 | 0.0295 | 0.0295 | 0.0295 | 0.0295 | 0.0295 | 0.0295 | 0.0295 |
X6 | 0.0297 | 0.0297 | 0.0297 | 0.0297 | 0.0297 | 0.0297 | 0.0297 | 0.0297 | 0.0297 | 0.0297 | 0.0297 | 0.0297 | 0.0297 | 0.0297 | 0.0297 | 0.0297 | 0.0297 |
X7 | 0.0282 | 0.0282 | 0.0282 | 0.0282 | 0.0282 | 0.0282 | 0.0282 | 0.0282 | 0.0282 | 0.0282 | 0.0282 | 0.0282 | 0.0282 | 0.0282 | 0.0282 | 0.0282 | 0.0282 |
X8 | 0.0298 | 0.0298 | 0.0298 | 0.0298 | 0.0298 | 0.0298 | 0.0298 | 0.0298 | 0.0298 | 0.0298 | 0.0298 | 0.0298 | 0.0298 | 0.0298 | 0.0298 | 0.0298 | 0.0298 |
X9 | 0.0281 | 0.0281 | 0.0281 | 0.0281 | 0.0281 | 0.0281 | 0.0281 | 0.0281 | 0.0281 | 0.0281 | 0.0281 | 0.0281 | 0.0281 | 0.0281 | 0.0281 | 0.0281 | 0.0281 |
X10 | 0.0292 | 0.0292 | 0.0292 | 0.0292 | 0.0292 | 0.0292 | 0.0292 | 0.0292 | 0.0292 | 0.0292 | 0.0292 | 0.0292 | 0.0292 | 0.0292 | 0.0292 | 0.0292 | 0.0292 |
X11 | 0.0307 | 0.0307 | 0.0307 | 0.0307 | 0.0307 | 0.0307 | 0.0307 | 0.0307 | 0.0307 | 0.0307 | 0.0307 | 0.0307 | 0.0307 | 0.0307 | 0.0307 | 0.0307 | 0.0307 |
X12 | 0.0300 | 0.0300 | 0.0300 | 0.0300 | 0.0300 | 0.0300 | 0.0300 | 0.0300 | 0.0300 | 0.0300 | 0.0300 | 0.0300 | 0.0300 | 0.0300 | 0.0300 | 0.0300 | 0.0300 |
X13 | 0.0299 | 0.0299 | 0.0299 | 0.0299 | 0.0299 | 0.0299 | 0.0299 | 0.0299 | 0.0299 | 0.0299 | 0.0299 | 0.0299 | 0.0299 | 0.0299 | 0.0299 | 0.0299 | 0.0299 |
X14 | 0.0298 | 0.0298 | 0.0298 | 0.0298 | 0.0298 | 0.0298 | 0.0298 | 0.0298 | 0.0298 | 0.0298 | 0.0298 | 0.0298 | 0.0298 | 0.0298 | 0.0298 | 0.0298 | 0.0298 |
X15 | 0.0299 | 0.0299 | 0.0299 | 0.0299 | 0.0299 | 0.0299 | 0.0299 | 0.0299 | 0.0299 | 0.0299 | 0.0299 | 0.0299 | 0.0299 | 0.0299 | 0.0299 | 0.0299 | 0.0299 |
X16 | 0.0296 | 0.0296 | 0.0296 | 0.0296 | 0.0296 | 0.0296 | 0.0296 | 0.0296 | 0.0296 | 0.0296 | 0.0296 | 0.0296 | 0.0296 | 0.0296 | 0.0296 | 0.0296 | 0.0296 |
X17 | 0.0307 | 0.0307 | 0.0307 | 0.0307 | 0.0307 | 0.0307 | 0.0307 | 0.0307 | 0.0307 | 0.0307 | 0.0307 | 0.0307 | 0.0307 | 0.0307 | 0.0307 | 0.0307 | 0.0307 |
X18 | 0.0279 | 0.0279 | 0.0279 | 0.0279 | 0.0279 | 0.0279 | 0.0279 | 0.0279 | 0.0279 | 0.0279 | 0.0279 | 0.0279 | 0.0279 | 0.0279 | 0.0279 | 0.0279 | 0.0279 |
X19 | 0.0291 | 0.0291 | 0.0291 | 0.0291 | 0.0291 | 0.0291 | 0.0291 | 0.0291 | 0.0291 | 0.0291 | 0.0291 | 0.0291 | 0.0291 | 0.0291 | 0.0291 | 0.0291 | 0.0291 |
X20 | 0.0299 | 0.0299 | 0.0299 | 0.0299 | 0.0299 | 0.0299 | 0.0299 | 0.0299 | 0.0299 | 0.0299 | 0.0299 | 0.0299 | 0.0299 | 0.0299 | 0.0299 | 0.0299 | 0.0299 |
X21 | 0.0290 | 0.0290 | 0.0290 | 0.0290 | 0.0290 | 0.0290 | 0.0290 | 0.0290 | 0.0290 | 0.0290 | 0.0290 | 0.0290 | 0.0290 | 0.0290 | 0.0290 | 0.0290 | 0.0290 |
X22 | 0.0286 | 0.0286 | 0.0286 | 0.0286 | 0.0286 | 0.0286 | 0.0286 | 0.0286 | 0.0286 | 0.0286 | 0.0286 | 0.0286 | 0.0286 | 0.0286 | 0.0286 | 0.0286 | 0.0286 |
X23 | 0.0301 | 0.0301 | 0.0301 | 0.0301 | 0.0301 | 0.0301 | 0.0301 | 0.0301 | 0.0301 | 0.0301 | 0.0301 | 0.0301 | 0.0301 | 0.0301 | 0.0301 | 0.0301 | 0.0301 |
X24 | 0.0294 | 0.0294 | 0.0294 | 0.0294 | 0.0294 | 0.0294 | 0.0294 | 0.0294 | 0.0294 | 0.0294 | 0.0294 | 0.0294 | 0.0294 | 0.0294 | 0.0294 | 0.0294 | 0.0294 |
X25 | 0.0302 | 0.0302 | 0.0302 | 0.0302 | 0.0302 | 0.0302 | 0.0302 | 0.0302 | 0.0302 | 0.0302 | 0.0302 | 0.0302 | 0.0302 | 0.0302 | 0.0302 | 0.0302 | 0.0302 |
X26 | 0.0302 | 0.0302 | 0.0302 | 0.0302 | 0.0302 | 0.0302 | 0.0302 | 0.0302 | 0.0302 | 0.0302 | 0.0302 | 0.0302 | 0.0302 | 0.0302 | 0.0302 | 0.0302 | 0.0302 |
X27 | 0.0289 | 0.0289 | 0.0289 | 0.0289 | 0.0289 | 0.0289 | 0.0289 | 0.0289 | 0.0289 | 0.0289 | 0.0289 | 0.0289 | 0.0289 | 0.0289 | 0.0289 | 0.0289 | 0.0289 |
X28 | 0.0292 | 0.0292 | 0.0292 | 0.0292 | 0.0292 | 0.0292 | 0.0292 | 0.0292 | 0.0292 | 0.0292 | 0.0292 | 0.0292 | 0.0292 | 0.0292 | 0.0292 | 0.0292 | 0.0292 |
X29 | 0.0304 | 0.0304 | 0.0304 | 0.0304 | 0.0304 | 0.0304 | 0.0304 | 0.0304 | 0.0304 | 0.0304 | 0.0304 | 0.0304 | 0.0304 | 0.0304 | 0.0304 | 0.0304 | 0.0304 |
X30 | 0.0298 | 0.0298 | 0.0298 | 0.0298 | 0.0298 | 0.0298 | 0.0298 | 0.0298 | 0.0298 | 0.0298 | 0.0298 | 0.0298 | 0.0298 | 0.0298 | 0.0298 | 0.0298 | 0.0298 |
X31 | 0.0294 | 0.0294 | 0.0294 | 0.0294 | 0.0294 | 0.0294 | 0.0294 | 0.0294 | 0.0294 | 0.0294 | 0.0294 | 0.0294 | 0.0294 | 0.0294 | 0.0294 | 0.0294 | 0.0294 |
X32 | 0.0304 | 0.0304 | 0.0304 | 0.0304 | 0.0304 | 0.0304 | 0.0304 | 0.0304 | 0.0304 | 0.0304 | 0.0304 | 0.0304 | 0.0304 | 0.0304 | 0.0304 | 0.0304 | 0.0304 |
X33 | 0.0293 | 0.0293 | 0.0293 | 0.0293 | 0.0293 | 0.0293 | 0.0293 | 0.0293 | 0.0293 | 0.0293 | 0.0293 | 0.0293 | 0.0293 | 0.0293 | 0.0293 | 0.0293 | 0.0293 |
X34 | 0.0282 | 0.0282 | 0.0282 | 0.0282 | 0.0282 | 0.0282 | 0.0282 | 0.0282 | 0.0282 | 0.0282 | 0.0282 | 0.0282 | 0.0282 | 0.0282 | 0.0282 | 0.0282 | 0.0282 |

Table A6.
The raw data for TOPSIS.
Table A6.
The raw data for TOPSIS.
X1 | X5 | X6 | X8 | X11 | X13 | X17 | X20 | X23 | X24 | X25 | X26 | X30 | |
E1 | 0.7426 | 48470.7556 | 303.8334 | 0.4886 | 3.4800 | 334211.8556 | 115391.4128 | 48470.7556 | 43.0000 | 0.0617 | 33.2060 | 0.6327 | 40.1400 |
E2 | 0.9200 | 130999.8186 | 136.0237 | 0.9465 | 3.8696 | 236576.8455 | 200895.9792 | 130999.8186 | 25.6900 | 0.1317 | 16.0038 | 0.8391 | 29.2300 |
E3 | 0.9460 | 325006.5488 | 8849.7119 | 0.9756 | 3.7273 | 238352.3811 | 450544.0597 | 325006.5488 | 0.5335 | 0.0497 | 2.7795 | 0.0701 | 2.8800 |
E4 | 0.7029 | 64.0586 | 24835.9359 | 0.9480 | 3.6667 | 255.9955 | 200.7492 | 64058.5546 | 61.4400 | 0.0812 | 7.4705 | 0.0002 | 11.8100 |
E5 | 0.5073 | 105586.9384 | 9158.0978 | 0.7127 | 3.9545 | 260421.7048 | 112150.4254 | 105586.9384 | 43.6600 | 0.2136 | 5.8420 | 0.1300 | 49.2300 |
E6 | 0.1022 | 108860.3285 | 492.9865 | 0.9902 | 4.0000 | 145881.7422 | 17796.3425 | 108860.3285 | 18.9500 | 0.4132 | 2.8381 | 0.1986 | −47.5700 |
E7 | 0.1861 | 172020.0086 | 42.9109 | 0.9704 | 3.0000 | 123001.4365 | 52796.4885 | 172020.0086 | 26.7800 | 0.1822 | 1.4152 | 2.1299 | 10.8600 |
E8 | 0.5321 | 159640.1152 | 260.7914 | 0.9398 | 3.3333 | 145949.6599 | 33890.8652 | 159640.1152 | 40.3500 | 0.5744 | 38.1282 | 0.1184 | −15.4400 |
E9 | 0.3657 | 16773.2926 | 3420.1169 | 0.9078 | 3.7857 | 114433.6828 | 89531.1649 | 16773.2926 | 9.7700 | 0.2593 | 9.9918 | 0.2805 | 45.9500 |
E10 | 0.3543 | 169570.7745 | 1383.2314 | 0.8529 | 3.7647 | 172452.6921 | 79530.0431 | 169570.7745 | 17.0500 | 0.1421 | 7.5699 | 0.0880 | 55.7600 |
E11 | 0.3671 | 152848.0650 | 6284.2849 | 0.9095 | 3.7895 | 193839.8536 | 27999.0482 | 152848.0650 | 38.3700 | 0.1461 | 5.5114 | 0.4265 | 85.1300 |
E12 | 0.0852 | 35232.9910 | 302.0401 | 1.0885 | 3.7333 | 95453.3069 | 9430.9608 | 35232.9910 | 55.0900 | 0.3429 | 0.5507 | 0.0038 | 13.1800 |
E13 | 0.9194 | 779885.9046 | 8550.5409 | 0.6780 | 4.0000 | 264707.1235 | 441009.4844 | 779885.9046 | 25.5100 | 0.0576 | 4.3159 | 0.0195 | 40.4000 |
E14 | 0.7841 | 550678.4323 | 2607.6649 | 0.7635 | 4.3636 | 394111.8667 | 369934.4542 | 550678.4323 | 59.6500 | 0.0768 | 10.4106 | 0.6000 | 16.7600 |
E15 | 0.1742 | 55909.2378 | 265.7682 | 0.9851 | 5.0000 | 171650.6099 | 43643.8814 | 55909.2378 | 57.3500 | 0.2167 | 0.8500 | 0.5985 | 12.4900 |
E16 | 0.1905 | 76257.6433 | 44.5234 | 0.6007 | 4.2000 | 77004.0776 | 46489.2107 | 76257.6433 | 41.2400 | 0.0213 | 1.5835 | 0.3600 | 90.7600 |
E17 | 0.3674 | 69427.7513 | 123.8424 | 1.1486 | 3.8333 | 164547.0698 | 79426.1699 | 75786.5687 | 38.7500 | 0.1339 | 2.9048 | 0.5797 | 1.9700 |
E18 | 0.6632 | 8164.0212 | 26614.2378 | 1.0423 | 4.0000 | 328536.2076 | 98613.2795 | 24898.2625 | 18.5200 | 0.0507 | 7.6763 | 0.5500 | 12.4400 |
E19 | 0.8382 | 310956.5387 | 1358.4921 | 0.7543 | 3.1875 | 392351.3471 | 251728.7162 | 313942.5707 | 51.3700 | 0.0329 | 21.3540 | 0.0702 | 43.1400 |
E20 | 0.6683 | 58701.1404 | 709.2657 | 0.8857 | 3.7778 | 312811.5853 | 65268.9660 | 63179.8618 | 32.4900 | 0.0402 | 43.0870 | 0.3688 | 9.0700 |
E21 | 0.9223 | 135715.7329 | 13854.7523 | 0.6762 | 4.0000 | 313726.5364 | 153615.2416 | 139968.4109 | 32.2800 | 0.1702 | 8.4792 | 2.1420 | 7.7700 |
E22 | 0.3662 | 51104.3676 | 202.4023 | 0.5104 | 3.9167 | 329566.4624 | 67309.4453 | 60453.5949 | 17.7300 | 0.1192 | 8.8846 | 0.3348 | 58.7400 |
E23 | 0.8012 | 553278.2619 | 150.5216 | 0.9462 | 4.3125 | 497831.0914 | 164013.3296 | 556392.8944 | 70.8500 | 0.0618 | 12.8429 | 0.0433 | 199.8600 |
E24 | 0.5216 | 162663.8741 | 11.8859 | 0.8922 | 3.7273 | 218107.1259 | 94314.8442 | 170277.0807 | 24.7400 | 0.2302 | 11.5050 | 0.3442 | 47.3900 |
E25 | 0.5938 | 37787.8165 | 1968.1660 | 0.9598 | 3.7500 | 159791.9329 | 70905.2173 | 32817.7159 | 19.3500 | 0.2436 | 3.8880 | 0.6145 | −14.4700 |
E26 | 0.2559 | 93836.5515 | 16329.5014 | 0.9464 | 2.0000 | 199943.0153 | 47634.3725 | 93836.5515 | 28.2000 | 0.0358 | 6.0264 | 0.0183 | 40.1200 |
E27 | 0.5573 | 32114.1423 | 25.2713 | 0.9839 | 3.8333 | 36607.7198 | 19962.2776 | 32114.1423 | 28.3800 | 0.1378 | 10.1087 | 0.3362 | −1.3200 |
E28 | 0.5910 | 41394.7542 | 620.4560 | 0.8613 | 3.5000 | 71119.1493 | 71278.2814 | 41394.7542 | 12.3600 | 0.1614 | 3.0605 | 0.3193 | 15.7500 |
E29 | 0.8478 | 42660.6072 | 3.4068 | 0.8357 | 3.4615 | 38721.4610 | 28684.3360 | 42660.6072 | 19.9100 | 0.0865 | 6.1752 | 0.4853 | 18.2800 |
E30 | 0.6079 | 218278.1417 | 3929.0143 | 0.8170 | 4.0000 | 95447.1707 | 172610.3945 | 218278.1417 | 11.7000 | 0.1056 | 35.3440 | 0.5500 | 19.0900 |
Mean | 0.5494 | 156796.2872 | 4427.9893 | 0.8673 | 3.7656 | 204247.0903 | 115886.6481 | 160593.3522 | 32.3688 | 0.1527 | 10.9935 | 0.4417 | 29.9800 |
Sd | 0.2604 | 178958.8851 | 7102.6984 | 0.1563 | 0.4901 | 118402.8265 | 117217.9162 | 177057.5638 | 17.0713 | 0.1212 | 11.3885 | 0.5069 | 42.5088 |
Max | 0.9460 | 779885.9046 | 26614.2378 | 1.1486 | 5.0000 | 497831.0914 | 450544.0597 | 779885.9046 | 70.8500 | 0.5744 | 43.0870 | 2.1420 | 199.8600 |
Min | 0.0852 | 64.0586 | 3.4068 | 0.4886 | 2.0000 | 255.9955 | 200.7492 | 16773.2926 | 0.5335 | 0.0213 | 0.5507 | 0.0002 | −47.5700 |
References
- Andriessen, D. Making Sense of Intellectual Capital: Designing a Method for the Valuation of Intangibles; Transferred to digital print; Elsevier Butterworth-Heinemann: Amsterdam, The Netherlands; Heidelberg, Germany, 2004; ISBN 978-0-7506-7774-5. [Google Scholar]
- Curado, C.; Henriques, L.; Bontis, N. Intellectual Capital Disclosure Payback. Manag. Decis. 2011, 49, 1080–1098. [Google Scholar] [CrossRef]
- Ahlers, G.K.C.; Cumming, D.; Günther, C.; Schweizer, D. Signaling in Equity Crowdfunding. Entrep. Theory Pract. 2015, 39, 955–980. [Google Scholar] [CrossRef]
- Dost, M.; Badir, Y.F.; Ali, Z.; Tariq, A. The Impact of Intellectual Capital on Innovation Generation and Adoption. J. Intellect. Cap. 2016, 17, 675–695. [Google Scholar] [CrossRef]
- Díaz-Fernández, M.C.; González-Rodríguez, M.R.; Simonetti, B. Top Management Team’s Intellectual Capital and Firm Performance. Eur. Manag. J. 2015, 33, 322–331. [Google Scholar] [CrossRef]
- Lusardi, A.; Mitchell, O.S. The Economic Importance of Financial Literacy: Theory and Evidence. J. Econ. Lit. 2014, 52, 5–44. [Google Scholar] [CrossRef]
- Verter, B. Spiritual Capital: Theorizing Religion with Bourdieu against Bourdieu. Sociol. Theory 2003, 21, 150–174. [Google Scholar] [CrossRef]
- Hsu, Y.-H.; Fang, W. Intellectual Capital and New Product Development Performance: The Mediating Role of Organizational Learning Capability. Technol. Forecast. Soc. Chang. 2009, 76, 664–677. [Google Scholar] [CrossRef]
- Gross-Gołacka, E.; Kusterka-Jefmańska, M.; Spałek, P.; Jefmański, B. Perception of Intellectual Capital and Its Impact on Business Sustainability: Evidence from Small, Medium, and Large Enterprises. E + M 2021, 24, 35–50. [Google Scholar] [CrossRef]
- Nahapiet, J.; Ghoshal, S. Social Capital, Intellectual Capital, and the Organizational Advantage. Acad. Manag. Rev. 1998, 23, 242–266. [Google Scholar] [CrossRef]
- Bellucci, M.; Marzi, G.; Orlando, B.; Ciampi, F. Journal of Intellectual Capital: A Review of Emerging Themes and Future Trends. JIC 2021, 22, 744–767. [Google Scholar] [CrossRef]
- Dai, L. A Study on the Development of Teachers’ Professional Learning Community Based on Symbiosis Theory—Taking Intellectual Capital and Psychological Capital as Symbiosis Objects. Educ. Sci. Forum 2021, 7, 62–64. [Google Scholar]
- Cao, P.; Zhang, J. Paradoxical Leadership, Dual Intellectual Capital and Organizational Dual Innovation. Commer. Res. 2021, 114–124. [Google Scholar] [CrossRef]
- Stewart, T.A. Intellectual Capital: The New Wealth of Organizations; A Currency Book; 1. Currency Paperb. ed.; Currency Doubleday: New York, NY, USA, 1999; ISBN 978-0-385-48381-0. [Google Scholar]
- Jurczak, J. Intellectual Capital Measurement Methods. Econ. Organ. Enterp. 2008, 1, 37–45. [Google Scholar] [CrossRef]
- Yang, D.; Jiang, L. Progress, Trouble and Prospect of Intellectual Capital Research. Financ. Account. Mon. 2019, 62–66. [Google Scholar] [CrossRef]
- Bradley, K. Intellectual Capital and the New Wealth of Nations. Bus. Strategy Rev. 1997, 8, 53–62. [Google Scholar] [CrossRef]
- Yaseen, S.G.; Dajani, D.; Hasan, Y. The Impact of Intellectual Capital on the Competitive Advantage: Applied Study in Jordanian Telecommunication Companies. Comput. Hum. Behav. 2016, 62, 168–175. [Google Scholar] [CrossRef]
- Johnson, S.G.; Schnatterly, K.; Hill, A.D. Board Composition Beyond Independence: Social Capital, Human Capital, and Demographics. J. Manag. 2013, 39, 232–262. [Google Scholar] [CrossRef]
- Gross-Gołacka, E.; Kusterka-Jefmańska, M.; Jefmański, B. Can Elements of Intellectual Capital Improve Business Sustainability?—The Perspective of Managers of SMEs in Poland. Sustainability 2020, 12, 1545. [Google Scholar] [CrossRef]
- Sun, X.; Li, H.; Ghosal, V. Firm-Level Human Capital and Innovation: Evidence from China. China Econ. Rev. 2020, 59, 101388. [Google Scholar] [CrossRef]
- Xu, A. Research on the Dynamic Model and Synergetic Mechanism of Intellectual Capital 3D. J. Wuhan Univ. Technol. 2008, 30, 1000–1003. [Google Scholar]
- Kengatharan, N. A Knowledge-Based Theory of the Firm: Nexus of Intellectual Capital, Productivity and Firms’ Performance. Int. J. Manpow. 2019, 40, 1056–1074. [Google Scholar] [CrossRef]
- Boljanovic, J.D.; Dobrijevic, G.; Cerovic, S.; Alcakovic, S.; Djokovic, F. Knowledge-Based Bioeconomy: The Use of Intellectual Capital in Food Industry of Serbia. Amfiteatru Econ. 2018, 20, 717. [Google Scholar] [CrossRef]
- Barrena-Martínez, J.; Cricelli, L.; Ferrándiz, E.; Greco, M.; Grimaldi, M. Joint Forces: Towards an Integration of Intellectual Capital Theory and the Open Innovation Paradigm. J. Bus. Res. 2020, 112, 261–270. [Google Scholar] [CrossRef]
- Sulphey, M.M.; Naushad, M. The Position of Intellectual Capital among Saudi Banks. Mark. Manag. Innov. 2019, 4, 11–21. [Google Scholar] [CrossRef]
- Kim, T.; Yoo, J.J.-E.; Lee, G. The HOINCAP Scale: Measuring Intellectual Capital in the Hotel Industry. Serv. Ind. J. 2011, 31, 2243–2272. [Google Scholar] [CrossRef]
- Sekhar, C.; Patwardhan, M.; Vyas, V. A Study of HR Flexibility and Firm Performance: A Perspective from IT Industry. Glob. J. Flex. Syst. Manag. 2016, 17, 57–75. [Google Scholar] [CrossRef]
- F-Jardon, C.M.; Gonzalez-Loureiro, M. Human Capital as Source for Sustained Competitive Advantages in SMEs: A Core Competencies Approach. Economia Ser. Manag. 2013, 16, 255–276. [Google Scholar]
- Calabrese, A.; Costa, R.; Menichini, T. Using Fuzzy AHP to Manage Intellectual Capital Assets: An Application to the ICT Service Industry. Expert Syst. Appl. 2013, 40, 3747–3755. [Google Scholar] [CrossRef]
- Dzhedzhula, V.; Yepifanova, I. Vinnytsia National Technical University, Ukraine Use of Apparatus of Hybrid Neural Networks for Evaluation of an Intellectual Component of the Energy-Saving Policy of the Enterprise. Balt. J. Econ. Stud. 2018, 4, 126–130. [Google Scholar] [CrossRef]
- Ali, S.; Murtaza, G.; Hedvicakova, M.; Jiang, J.; Naeem, M. Intellectual Capital and Financial Performance: A Comparative Study. Front. Psychol. 2022, 13, 967820. [Google Scholar] [CrossRef]
- Tseng, K.-A.; Lan, Y.-W.; Lu, H.-C.; Chen, P.-Y. Mediation of Strategy on Intellectual Capital and Performance. Manag. Decis. 2013, 51, 1488–1509. [Google Scholar] [CrossRef]
- Wang, T.; Liu, N.; Huang, G. The IC Measurement Model of Private Enterprise Based on H-S-C Structure. J. Intell. 2010, 29, 141–147. [Google Scholar]
- Yao, S. Driving Impact of Intellectual Capital on Customer Participation: From the Perspective of Transformative Learning. J. Manag. Sci. 2016, 29, 77–92. [Google Scholar]
- Vaz, C.R.; Selig, P.M.; Viegas, C.V. A Proposal of Intellectual Capital Maturity Model (ICMM) Evaluation. J. Intellect. Cap. 2019, 20, 208–234. [Google Scholar] [CrossRef]
- Claver-Cortés, E.; Zaragoza-Sáez, P.; González Illescas, M. Intellectual Capital Management: An Approach to Organizational Practices in Ecuador. Intang. Cap. 2018, 14, 270. [Google Scholar] [CrossRef]
- Xiao, J.; Zhao, Y. Key Factors of Intellectual Capital for Startups’ Innovation Competitiveness. Sci. Technol. Prog. Policy 2018, 35, 87–94. [Google Scholar]
- Subramanian, A.M.; Van De Vrande, V. The Role of Intellectual Capital in New Product Development: Can It Become a Liability? J. Oper. Manag. 2019, 65, 517–535. [Google Scholar] [CrossRef]
- Albertini, E.; Berger-Remy, F. Intellectual Capital and Financial Performance: A Meta-Analysis and Research Agenda. Management 2019, 22, 216–249. [Google Scholar] [CrossRef]
- Garafiev, I.Z.; Garafieva, G.I. Evaluation of the Company Intellectual Capital Based on the Norton–Kaplan Balanced Indicator System. IOP Conf. Ser. Earth Environ. Sci. 2021, 650, 012073. [Google Scholar] [CrossRef]
- Yang, J.L.; Tzeng, G.-H. An Integrated MCDM Technique Combined with DEMATEL for a Novel Cluster-Weighted with ANP Method. Expert Syst. Appl. 2011, 38, 1417–1424. [Google Scholar] [CrossRef]
- Karimi, A.R.; Mehrdadi, N.; Hashemian, S.J.; Bidhendi, G.R.N.; Moghaddam, R.T. Selection of Wastewater Treatment Process Based on the Analytical Hierarchy Process and Fuzzy Analytical Hierarchy Process Methods. Int. J. Environ. Sci. Technol. 2011, 8, 267–280. [Google Scholar] [CrossRef]
- Vaidya, O.S.; Kumar, S. Analytic Hierarchy Process: An Overview of Applications. Eur. J. Oper. Res. 2006, 169, 1–29. [Google Scholar] [CrossRef]
- Lu, Y.; Jin, C.; Qiu, J.; Jiang, P. Using a Hybrid Multiple-Criteria Decision-Making Technique to Identify Key Factors Influencing Microblog Users’ Diffusion Behaviors in Emergencies: Evidence from Generations Born after 2000. Symmetry 2019, 11, 265. [Google Scholar] [CrossRef]
- Cayir Ervural, B.; Zaim, S.; Demirel, O.F.; Aydin, Z.; Delen, D. An ANP and Fuzzy TOPSIS-Based SWOT Analysis for Turkey’s Energy Planning. Renew. Sustain. Energy Rev. 2018, 82, 1538–1550. [Google Scholar] [CrossRef]
- Hu, Y.-C.; Tsai, J.-F. Backpropagation Multi-Layer Perceptron for Incomplete Pairwise Comparison Matrices in Analytic Hierarchy Process. Appl. Math. Comput. 2006, 180, 53–62. [Google Scholar] [CrossRef]
- Si, S.-L.; You, X.-Y.; Liu, H.-C.; Zhang, P. DEMATEL Technique: A Systematic Review of the State-of-the-Art Literature on Methodologies and Applications. Math. Probl. Eng. 2018, 2018, 3696457. [Google Scholar] [CrossRef]
- Le, M.-T.; Nhieu, N.-L. An Offshore Wind–Wave Energy Station Location Analysis by a Novel Behavioral Dual-Side Spherical Fuzzy Approach: The Case Study of Vietnam. Appl. Sci. 2022, 12, 5201. [Google Scholar] [CrossRef]
- Taherdoost, H.; Madanchian, M. Analytic Network Process (ANP) Method: A Comprehensive Review of Applications, Advantages, and Limitations. J. Data Sci. Intell. Syst. 2023, 1, 12–18. [Google Scholar] [CrossRef]
- Tzeng, G.; Chiang, C.; Li, C. Evaluating Intertwined Effects in E-Learning Programs: A Novel Hybrid MCDM Model Based on Factor Analysis and DEMATEL. Expert Syst. Appl. 2007, 32, 1028–1044. [Google Scholar] [CrossRef]
- Jiang, P.; Hu, Y.-C.; Yen, G.-F.; Jiang, H.; Chiu, Y.-J. Using a Novel Grey DANP Model to Identify Interactions between Manufacturing and Logistics Industries in China. Sustainability 2018, 10, 3456. [Google Scholar] [CrossRef]
- Ju-Long, D. Control Problems of Grey Systems. Syst. Control Lett. 1982, 1, 288–294. [Google Scholar] [CrossRef]
- Tian, G.; Hao, N.; Zhou, M.; Pedrycz, W.; Zhang, C.; Ma, F.; Li, Z. Fuzzy Grey Choquet Integral for Evaluation of Multicriteria Decision Making Problems With Interactive and Qualitative Indices. IEEE Trans. Syst. Man Cybern. Syst. 2021, 51, 1855–1868. [Google Scholar] [CrossRef]
- Xu, Z.; Wei, C. A Consistency Improving Method in the Analytic Hierarchy Process. Eur. J. Oper. Res. 1999, 116, 443–449. [Google Scholar] [CrossRef]
- Faherty, V. Continuing Social Work Education: Results of a Delphi Survey. J. Educ. Soc. Work 1979, 15, 12–19. [Google Scholar] [CrossRef]
- China Stock Market & Accounting Research Database. Available online: https://data.csmar.com/ (accessed on 17 January 2022).
- Andreeva, T.; Garanina, T.; Sáenz, J.; Aramburu, N.; Kianto, A. Does Country Environment Matter in the Relationship between Intellectual Capital and Innovation Performance? J. Bus. Res. 2021, 136, 263–273. [Google Scholar] [CrossRef]
- Kamprath, M.; Mietzner, D. The Impact of Sectoral Changes on Individual Competences: A Reflective Scenario-Based Approach in the Creative Industries. Technol. Forecast. Soc. Chang. 2015, 95, 252–275. [Google Scholar] [CrossRef]
- Bowman, C.; Swart, J. Whose Human Capital? The Challenge of Value Capture When Capital Is Embedded. J. Manag. Stud. 2007, 44, 488–505. [Google Scholar] [CrossRef]
- Bogusz, M. Instrumental Approach in Human Capital Management: A Conceptual Framework. Manag. Stud. 2020, 8, 267–283. [Google Scholar] [CrossRef]
- Zhang, L.; Jin, Z.; Xu, J. Impact of SMEs’ Intellectual Capital on Inancial Performance Based on Life Cycle. J. Sci. Technol. Manag. 2021, 23, 30–37. [Google Scholar] [CrossRef]
- Weerawardena, J.; Mort, G.S.; Liesch, P.W.; Knight, G. Conceptualizing Accelerated Internationalization in the Born Global Firm: A Dynamic Capabilities Perspective. J. World Bus. 2007, 42, 294–306. [Google Scholar] [CrossRef]
- Horchani, S.C.; Zouaoui, M. Environment Turbulence Effect on the Dynamics of Intellectual Capital Accumulation and Ambidextrous Innovation. Int. J. Innov. Manag. 2021, 25, 2150058. [Google Scholar] [CrossRef]
- Zhang, H.-Y.; Lv, S. Intellectual Capital and Technological Innovation: The Mediating Role of Supply Chain Learning. Int. J. Innov. Sci. 2015, 7, 199–210. [Google Scholar] [CrossRef]
- Tian, L. Optimization of Human Resource Management in Feed Enterprises from a People-Oriented Perspective. China Feed 2020, 85–88. [Google Scholar] [CrossRef]
- Pei, L. Interactive Relationships between Talents Agglomeration and High-Tech Industry Development. Stud. Sci. Sci. 2018, 36, 813–824. [Google Scholar] [CrossRef]
- Yang, Z. A Research on the Influencing Mechanism of Organizational Attractiveness Elements on Employee Engagement. East China Econ. Manag. 2015, 29, 121–127. [Google Scholar]
- Lartey, F.M. Impact of Career Planning, Employee Autonomy, and Manager Recognition on Employee Engagement. J. Hum. Resour. Sustain. Stud. 2021, 9, 108648. [Google Scholar] [CrossRef]
- Kitsis, A.M.; Chen, I.J. Do Stakeholder Pressures Influence Green Supply Chain Practices? Exploring the Mediating Role of Top Management Commitment. J. Clean. Prod. 2021, 316, 128258. [Google Scholar] [CrossRef]
Disclaimer/Publisher’s Note: The statements, opinions and data contained in all publications are solely those of the individual author(s) and contributor(s) and not of MDPI and/or the editor(s). MDPI and/or the editor(s) disclaim responsibility for any injury to people or property resulting from any ideas, methods, instructions or products referred to in the content. |
© 2024 by the authors. Licensee MDPI, Basel, Switzerland. This article is an open access article distributed under the terms and conditions of the Creative Commons Attribution (CC BY) license (https://creativecommons.org/licenses/by/4.0/).