Preparation and Analysis of Experimental Findings on the Thermal and Mechanical Characteristics of Pulsating Gas Flows in the Intake System of a Piston Engine for Modelling and Machine Learning
Abstract
1. Introduction
- -
- the gas exchange system of a piston engine has a complex geometry with bends, obstacles, and moving elements (poppet valve);
- -
- the gas flow in the system moves in a pulsating mode with a frequency of 10 to 100 Hz;
- -
- the mechanics of gas flow in the system implies the presence of stagnant and vortex zones, as well as return and secondary flows.
- (1)
- detailing data on physical processes in gas exchange systems;
- (2)
- improving the design of parts and assemblies for RICE induction and exhaust systems;
- (3)
- developing engine control systems, taking into account information about gas exchange processes based on mathematical models, machine learning, and artificial intelligence algorithms.
- -
- to obtain experimental data on the instantaneous values of the local air flow velocity and the local heat transfer coefficient in a gas-dynamic system with channels of various diameters, the configuration and boundary conditions of which are typical of a piston engine’s intake system;
- -
- to determine the flow characteristics of an intake system with channels of different diameters;
- -
- to mathematically describe the pattern of changes in the intensity of turbulence of pulsating air flows in an intake system with channels of different diameters;
- -
- to mathematically describe the pattern of change in the local heat transfer coefficient in an intake system with channels of different diameters;
- -
- to evaluate the operational and environmental performance of a piston engine’s intake system with channels of different diameters based on physical and mathematical modelling.
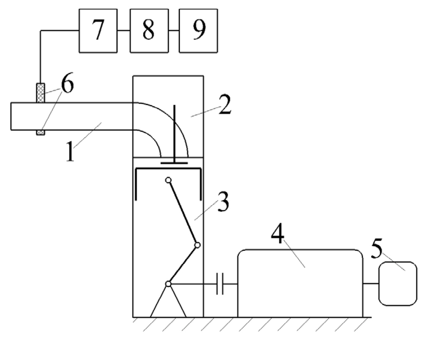
2. Research Test Bench and Measuring Equipment
- -
- engine type—gasoline, spark ignition;
- -
- number and arrangement of cylinders—in-line, two-cylinder;
- -
- turbocharging system—absent;
- -
- rated power—21.5 kW at n = 5600 rpm;
- -
- maximum torque—36.5 Nm at n = 4000 rpm;
- -
- piston diameter—82 mm;
- -
- piston stroke—71 mm;
- -
- compression ratio—9.9;
- -
- valve lift height—9.0 mm;
- -
- inlet pipe diameter (basic)—32 mm;
- -
- outlet pipe diameter—30 mm;
- -
- length of the intake system—450 mm.
3. Experimental Findings and Their Analysis
4. Applied Data Value
- -
- the inlet channel’s diameter affects the operational and environmental performance of a piston engine;
- -
- it is impossible to unambiguously determine the optimal value of the diameter of the inlet channel, since some engine parameters improve, while others deteriorate;
- -
- accurate mathematical models and artificial intelligence algorithms can significantly increase the level of engine design and improve the prediction of its performance.
5. Conclusions
- A set of experimental data has been obtained on the change in the local velocity and local heat transfer coefficient of pulsating air flows in an intake system with channels of different diameters, as applied to a car piston engine.
- It has been established that the intake channel’s diameter has a significant effect on the input-output characteristics through the piston engine’s intake system: the larger the diameter of the channel, the greater the Ga air flow through the system. The change in Ga ranges from 5% to 27%.
- The influence of the inlet channel’s diameter on the intensity of turbulence of pulsating flows in the inlet system is shown. An increase in the channel diameter causes a decrease in Tu in the RICE exhaust system. A mathematical description of the dependence of the intensity of turbulence on regime factors (speed of rotation of the crankshaft and the average speed of air flow) and the inlet channel’s diameter is proposed.
- The influence of the inlet channel’s diameter on the level of heat transfer of pulsating air flows in the inlet system was discovered. It is shown that for the basic configuration of the intake system (d = 32 mm), the values of the Nusselt number have the lowest values. A mathematical description of the dependence of the heat transfer coefficient on the crankshaft speed, the average air flow rate, and the inlet channel’s diameter is proposed. An empirical equation for the function Nu = f (Re) is also obtained.
- Based on the numerical simulation of a reciprocating engine’s thermodynamic cycle, an assessment of the operational and environmental performance of RICE with an intake system with channels of different diameters was conducted. A change in power, torque, specific fuel flow, average cycle pressure, and NOx emissions for intake ports with different diameters is shown.
- The obtained data on the gas dynamics and heat transfer of pulsating gas flows in intake systems can be useful for improving the accuracy of mathematical models and developing efficient and accurate control systems for gas exchange processes in reciprocating engines.
- Lines for further research are to expand the boundary conditions of the experiment (channel diameter, rotational speed, engine dimension) and verification of laboratory data through tests on an operating engine.
Funding
Data Availability Statement
Conflicts of Interest
Nomenclature
| RICE | reciprocating internal combustion engine |
| ADC | analogue-to-digital converter |
| TDC | top dead centre |
| BDC | bottom dead centre |
| w | flow velocity, m/s |
| wx | local flow velocity, m/s |
| α | heat-transfer factor, W/(m2·K) |
| αx | local heat transfer coefficient, W/(m2·K) |
| po | barometric pressure, kPa |
| p | static pressure, MPa |
| t | temperature, °C |
| d | pipeline diameter, mm |
| lx | linear dimension, mm |
| Tu | turbulence intensity |
| Ga | mass air flow, kg/s |
| N | engine power, kW |
| M | engine torque, N·m |
| g | specific fuel consumption, kg/(kW·h) |
| CNOx | NOx concentration in exhaust gases, ppm |
| n | engine crankshaft speed, rpm |
| τ | time, s |
| Nu | Nusselt number |
| Re | Reynolds number |
| Sh | Strouhal number |
References
- Reitz, R.D.; Ogawa, H.; Payri, R.; Fansler, T.; Kokjohn, S.; Moriyoshi, Y.; Agarwal, A.K.; Arcoumanis, D.; Assanis, D.; Bae, C.; et al. IJER editorial: The future of the internal combustion engine. Int. J. Engine Res. 2020, 21, 3–10. [Google Scholar] [CrossRef]
- Guzzella, L.; Onder, C. Introduction to Modeling and Control of Internal Combustion Engine Systems; Springer: Berlin/Heidelberg, Germany, 2010; 362p. [Google Scholar]
- Lumley, J.L. Engines, An Introduction; Cambridge University Press: Cambridge, UK, 1999; 272p. [Google Scholar]
- Plotnikov, L.V. Unsteady gas dynamics and local heat transfer of pulsating flows in profiled channels mainly to the intake system of a reciprocating engine. Int. J. Heat Mass Transf. 2022, 195, 123144. [Google Scholar] [CrossRef]
- Pranoto, S.; Ubaidillah, A.; Lenggana, B.W.; Budiana, E.P.; Wijayanta, A.T. Fluid Flow Analysis at Single and Dual Plenum Intake Manifolds to Reduce Pressure Drops Using Computational Approach. J. Adv. Res. Fluid Mech. Therm. Sci. 2022, 97, 1–12. [Google Scholar] [CrossRef]
- Zhang, S.; Li, Y.; Wang, S.; Zeng, H.; Liu, J.; Duan, X.; Dong, H. Experimental and numerical study the effect of EGR strategies on in-cylinder flow, combustion and emissions characteristics in a heavy-duty higher CR lean-burn NGSI engine coupled with detail combustion mechanism. Fuel 2020, 276, 118082. [Google Scholar] [CrossRef]
- Zhao, D.; An, Y.; Pei, Y.; Shi, H.; Wang, K. Numerical study on the asymmetrical jets formation from active pre-chamber under super-lean combustion conditions. Energy 2023, 262, 125446. [Google Scholar] [CrossRef]
- Yuan, C.; Li, S.; Qin, Z.; Lu, J.; Peng, S. A multi-process coupling study of scavenging pressure effect on gas exchange of a linear engine. Appl. Therm. Eng. 2022, 217, 119254. [Google Scholar] [CrossRef]
- Yin, S.; Ni, J.; Fan, H.; Shi, X.; Huang, R. Study on Correction Method of Internal Joint Operation Curve Based on Unsteady Flow. Appl. Sci. 2022, 12, 11943. [Google Scholar] [CrossRef]
- Marelli, S.; Capobianco, M.; Zamboni, G. Pulsating flow performance of a turbocharger compressor for automotive application. Int. J. Heat Fluid Flow 2014, 45, 158–165. [Google Scholar] [CrossRef]
- Leng, L.; Qiu, H.; Li, X.; Zhong, J.; Shi, L.; Deng, K. Effects on the transient energy distribution of turbocharging mode switching for marine diesel engines. Energy 2022, 249, 123746. [Google Scholar] [CrossRef]
- Liu, Z.; Liu, J. Investigation of the Effect of Altitude on In-Cylinder Heat Transfer in Heavy-Duty Diesel Engines Based on an Empirical Model. J. Energy Resour. Technol. Trans. ASME 2022, 144, 112303. [Google Scholar] [CrossRef]
- Nie, X.; Bi, Y.; Liu, S.; Shen, L.; Wan, M. Impacts of different exhaust thermal management methods on diesel engine and SCR performance at different altitude levels. Fuel 2022, 324, 124747. [Google Scholar] [CrossRef]
- Ma, F.; Yang, W.; Wang, Y.; Xu, J.; Li, Y. Experimental research on scavenging process of opposed-piston two-stroke gasoline engine based on tracer gas method. Int. J. Engine Res. 2022, 23, 1969–1980. [Google Scholar] [CrossRef]
- Mazuro, P.; Kozak, D. Experimental investigation on the performance of the prototype of aircraft Opposed-Piston engine with various values of intake pressure. Energy Convers. Manag. 2022, 269, 116075. [Google Scholar] [CrossRef]
- Suhas, B.G.; Rajesh, R.; Chidanand, K.M.; Kiran, K.U.; Shivaprasad, K.V. Numerical analysis on performance evaluation of a flat plate louvered fin heat exchanger. J. Eng. Sci. Technol. 2022, 17, 1867–1879. [Google Scholar]
- Yoon, W.; Kim, J.; Chung, C.; Park, J. Numerical study on prediction of icing phenomena in intake system of diesel engine: Operating conditions with low-to-middle velocity of inlet air. Energy 2022, 248, 123569. [Google Scholar] [CrossRef]
- Li, Z.; Wang, Z.; Mo, H.; Wu, H. Effect of the Air Flow on the Combustion Process and Preheating Effect of the Intake Manifold Burner. Energies 2022, 15, 3260. [Google Scholar] [CrossRef]
- Wang, T.; Li, W.; Jia, M.; Liu, D.; Qin, W.; Zhang, X. Large-eddy simulation of in-cylinder flow in a DISI engine with charge motion control valve: Proper orthogonal decomposition analysis and cyclic variation. Appl. Therm. Eng. 2015, 75, 561–574. [Google Scholar] [CrossRef]
- Shah, S.S.; Singh, K.; Martin, L.J.; Jerome Stanley, M. Design, Development, and Validation of an Intake System for an FSAE Racecar. In Energy and Exergy for Sustainable and Clean Environment; Green Energy and Technology Book Series; Springer: Singapore, 2023; pp. 401–413. [Google Scholar]
- Luo, K.; Huang, Y.; Han, Z.; Li, Y.; Shi, Y.; Liu, W.; Tang, C. Low-speed performance compensation of a turbocharged natural gas engine by intake strategy optimization. Fuel 2022, 324, 124748. [Google Scholar] [CrossRef]
- Gangaraju, Manjunatha Babu, N.S.; Mohan Kumar, K. Study on structural stability of intake manifold valve through numerical analysis. Int. J. Ambient. Energy 2022, 43, 6981–6991. [Google Scholar] [CrossRef]
- Plotnikov, L.V. Experimental research into the methods for controlling the thermal-mechanical characteristics of pulsating gas flows in the intake system of a turbocharged engine model. Int. J. Engine Res. 2022, 23, 334–344. [Google Scholar] [CrossRef]
- Jia, B.; Smallbone, A.; Mikalsen, R.; Shivaprasad, K.V.; Roy, S.; Roskilly, A.P. Performance Analysis of a Flexi-Fuel Turbine-Combined Free-Piston Engine Generator. Energies 2019, 12, 2657. [Google Scholar] [CrossRef]
- Perceau, M.; Guibert, P.; Guilain, S. Zero-dimensional turbulence modeling of a spark ignition engine in a Miller cycle «Dethrottling » approach using a variable valve timing system. Appl. Therm. Eng. 2021, 199, 117535. [Google Scholar] [CrossRef]
- Iurk, M.A.; Och, S.H.; Moura, L.M.; Mariani, V.C.; Domingues, E. Maximizing volumetric efficiency using stochastic optimization techniques for internal combustion engines. Appl. Therm. Eng. 2021, 199, 117603. [Google Scholar] [CrossRef]
- Jung, J.; Song, S.; Hur, K.B. Numerical study on the effects of intake valve timing on performance of a natural gas-diesel dual-fuel engine and multi-objective Pareto optimization. Appl. Therm. Eng. 2017, 121, 604–616. [Google Scholar] [CrossRef]
- Song, Y.; Xu, Y.; Cheng, X.; Wang, Z.; Zhu, W.; Fan, X. Using a Genetic Algorithm to Achieve Optimal Matching between PMEP and Diameter of Intake and Exhaust Throat of a High-Boost-Ratio Engine. Energies 2022, 15, 1607. [Google Scholar] [CrossRef]
- Shao, Y.E.; Hu, Y.-T. Using Machine Learning Classifiers to Recognize the Mixture Control Chart Patterns for a Multiple-Input Multiple-Output Process. Mathematics 2020, 8, 102. [Google Scholar] [CrossRef]
- Sidorov, D. Preface to “Model Predictive Control and Optimization for Cyber-Physical Systems”. Mathematics 2023, 11, 1004. [Google Scholar] [CrossRef]
- Gordon, D.; Norouzi, A.; Blomeyer, G.; Bedei, J.; Aliramezani, M.; Andert, J.; Koch, C.R. Support vector machine based emissions modeling using particle swarm optimization for homogeneous charge compression ignition engine. Int. J. Engine Res. 2023, 24, 536–551. [Google Scholar] [CrossRef] [PubMed]
- Seo, J.; Park, S. Optimizing model parameters of artificial neural networks to predict vehicle emissions. Atmos. Environ. 2023, 294, 119508. [Google Scholar] [CrossRef]
- Shirvani, S.; Shirvani, S.; Jazayeri, S.A.; Reitz, R. Optimization of the exergy efficiency, exergy destruction, and engine noise index in an engine with two direct injectors using NSGA-II and artificial neural network. Int. J. Engine Res. 2023, 24, 579–594. [Google Scholar] [CrossRef]
- Gordon, D.; Wouters, C.; Wick, M.; Xia, F.; Lehrheuer, B.; Andert, J.; Koch, C.R.; Pischinger, S. Development and experimental validation of a real-time capable field programmable gate array–based gas exchange model for negative valve overlap. Int. J. Engine Res. 2020, 21, 421–436. [Google Scholar] [CrossRef]
- Guner, E.; Kaleli, A.; Bakirci, K.; Ceviz, M.A. Development of optimal diesel injection strategy based on the prediction of performance and emissions using deep neural network. Int. J. Engine Res. 2023, 24, 567–578. [Google Scholar] [CrossRef]
- Rayasam, S.H.; Qiu, W.; Rimstidt, T.; Shaver, G.M.; Alstine, D.G.V.; Graziano, M. Control-oriented modeling, validation, and interaction analysis of turbocharged lean-burn natural gas variable speed engine. Int. J. Engine Res. 2023, 24, 738–754. [Google Scholar] [CrossRef]
- Plotnikov, L.; Plotnikov, I.; Osipov, L.; Slednev, V.; Shurupov, V. An Indirect Method for Determining the Local Heat Transfer Coefficient of Gas Flows in Pipelines. Sensors 2022, 22, 6395. [Google Scholar] [CrossRef] [PubMed]
- Kuleshov, A.S. Model for Predicting Air-Fuel Mixing, Combustion and Emissions in DI Diesel Engines over Whole Operating Range; SAE Paper, 2005-01-2119; SAE International: Warrendale, PA, USA, 2005. [Google Scholar]
- Kuleshov, A.S. Multi-Zone DI Diesel Spray Combustion Model for Thermodynamic Simulation of Engine with PCCI and High EGR Level; SAE Paper, 2009-01-1956; SAE International: Warrendale, PA, USA, 2009. [Google Scholar]
- Grigoriev, M.M.; Kuz’min, V.V.; Fafurin, A.V. Classification of pulsating turbulent flows. J. Eng. Phys. Thermophys. 1990, 59, 725–735. [Google Scholar]
- Plotnikov, L.V. Thermal-mechanical characteristics of stationary and pulsating gas flows in a gas-dynamic system (in relation to the exhaust system of an engine). Therm. Sci. 2022, 26, 365–376. [Google Scholar] [CrossRef]
















Disclaimer/Publisher’s Note: The statements, opinions and data contained in all publications are solely those of the individual author(s) and contributor(s) and not of MDPI and/or the editor(s). MDPI and/or the editor(s) disclaim responsibility for any injury to people or property resulting from any ideas, methods, instructions or products referred to in the content. |
© 2023 by the author. Licensee MDPI, Basel, Switzerland. This article is an open access article distributed under the terms and conditions of the Creative Commons Attribution (CC BY) license (https://creativecommons.org/licenses/by/4.0/).
Share and Cite
Plotnikov, L. Preparation and Analysis of Experimental Findings on the Thermal and Mechanical Characteristics of Pulsating Gas Flows in the Intake System of a Piston Engine for Modelling and Machine Learning. Mathematics 2023, 11, 1967. https://doi.org/10.3390/math11081967
Plotnikov L. Preparation and Analysis of Experimental Findings on the Thermal and Mechanical Characteristics of Pulsating Gas Flows in the Intake System of a Piston Engine for Modelling and Machine Learning. Mathematics. 2023; 11(8):1967. https://doi.org/10.3390/math11081967
Chicago/Turabian StylePlotnikov, Leonid. 2023. "Preparation and Analysis of Experimental Findings on the Thermal and Mechanical Characteristics of Pulsating Gas Flows in the Intake System of a Piston Engine for Modelling and Machine Learning" Mathematics 11, no. 8: 1967. https://doi.org/10.3390/math11081967
APA StylePlotnikov, L. (2023). Preparation and Analysis of Experimental Findings on the Thermal and Mechanical Characteristics of Pulsating Gas Flows in the Intake System of a Piston Engine for Modelling and Machine Learning. Mathematics, 11(8), 1967. https://doi.org/10.3390/math11081967
