On-Street Cruising for Parking Model in Consideration with Gaming Elements and Its Impact Analysis
Abstract
1. Introduction
2. Modelling of On-Street Cruising for Parking
2.1. Modelling On-Street Cruising for Parking
2.1.1. Costs of On-Street Parking
2.1.2. Costs of Off-Street Parking
2.1.3. On-Street Cruising for Parking Model
2.2. Correlation Analysis between Variables of Model with
3. Simulation Model for On-Street Cruising for Parking
3.1. Model and Parameters Test
3.2. Simulation Based Evaluation
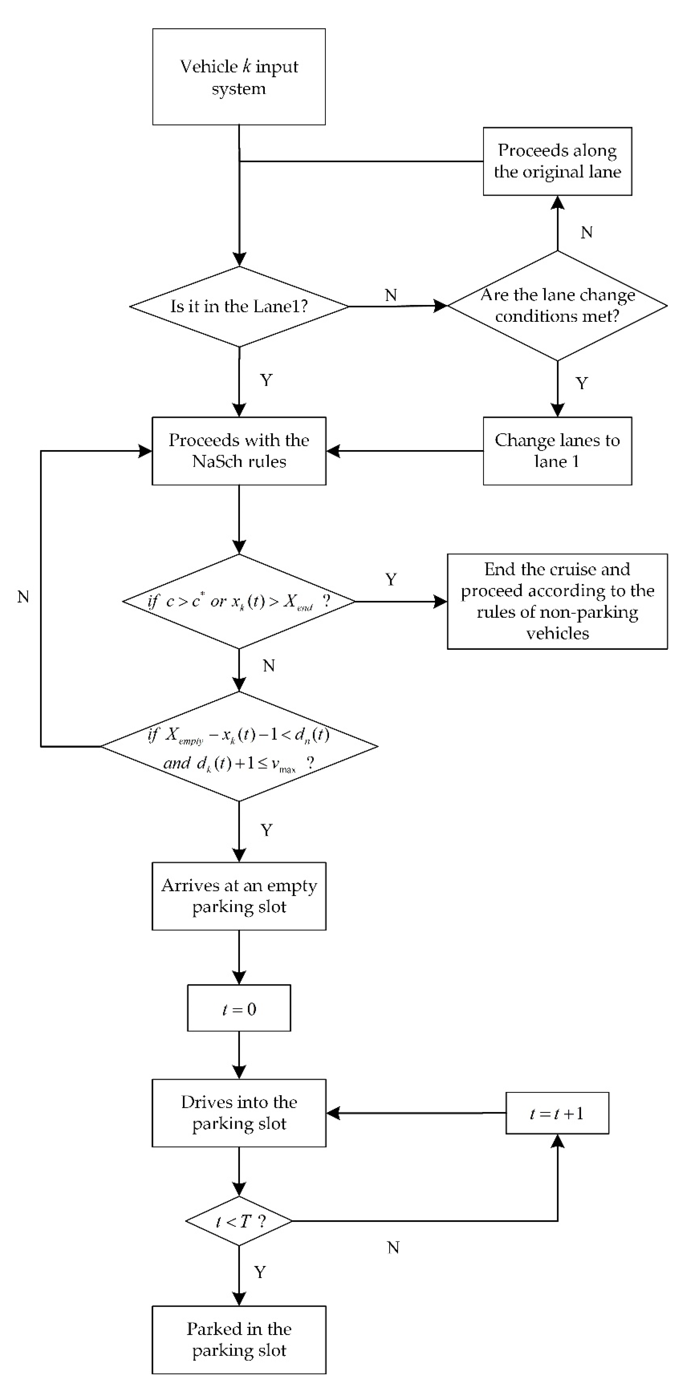
3.2.1. Simulation Model Based on Cellular Automata
- (1)
 - Driving rules of non-parking vehicles
 
- (1)
 - Acceleration: ;
 
- (2)
 - Deceleration: ;
 - (3)
 - Random deceleration with a certain probability: ;
 - (4)
 - Location updating: .
 
- Motivation to change lanes: non-stopping vehicles are affected by vehicles waiting to stop in front of them,
 - Safety conditions for changing lanes: To ensure that the vehicle does not come into contact with the vehicle ahead in lane 2, the distance between the two vehicles must be greater than the safe distance ahead, i.e., . To ensure that the vehicle does not come into contact with the vehicle ahead in lane 2, the distance between the two vehicles must be greater than the safe distance ahead, i.e., , where , .
 
- (2)
 - Driving rules of Cruising for parking vehicles
 
- Motivation to change lanes: Vehicles need to be parked in on-street parking spaces.
 - Safety conditions for changing lanes: To prevent a collision with vehicles ahead of lane 1 and behind lane 1, the distance between the vehicle and vehicles ahead of lane 1 must exceed the forward safety distance , i.e., . Moreover, the distance between the vehicle and vehicles behind lane 1 must exceed the rear safety distance ,. i.e., , where , . A vehicle cruising for parking in the or section of lane 2 must change lanes to lane 1 if the preceding requirements are satisfied.
 
- To judge if there is an empty parking slot between the vehicle and other vehicle in front of it, with the condition , where represents the distance between the vehicle cruising for parking and it is close to the front parking slot, . indicates the position of the closely next to the front parking slot.
 - To judge whether the vehicle cruising for parking will be able to arrive near the empty parking slot at the next time step with the condition of .
 
- (3)
 - Rules of the parked vehicles
 
- (4)
 - Simulation conditions
 
3.2.2. Simulation Experiment Scheme
3.3. Analysis of Simulation Results
3.3.1. Trajectory Analysis in Time-Space of and Choices Changes of On-Street Cruising for Parking
3.3.2. Delay Analysis on Road Traffic Flow
3.3.3. Two-Independent-Samples Z-Test of Four-Group Sample Sets
4. Conclusions
5. Suggestions
Author Contributions
Funding
Institutional Review Board Statement
Informed Consent Statement
Data Availability Statement
Conflicts of Interest
References
- Diallo, A.; Bourdeau, J.S.; Morency, C.; Saunier, N. Methodology of parking analysis. Can. J. Civ. Eng. 2015, 42, 281–285. [Google Scholar] [CrossRef]
 - Arnott, R.; Rowse, J. Downtown parking in auto city. Reg. Sci. Urban Econ. 2009, 39, 1–14. [Google Scholar] [CrossRef]
 - Arnott, R.; Williams, P. Cruising for parking around a circle. Transp. Res. Part B Methodol. 2017, 104, 357–375. [Google Scholar] [CrossRef]
 - Kazi, S.; Nuzhat, S.; Nashrah, A.; Rameeza, Q. Smart parking system to reduce traffic congestion. In Proceedings of the 2018 International Conference on Smart City and Emerging Technology (ICSCET), Mumbai, India, 5 January 2018; IEEE: Piscataway, NJ, USA, 2018. [Google Scholar]
 - Zhu, Y.; Ye, X.; Chen, J.; Yan, X.; Wang, T. Impact of Cruising for Parking on Travel Time of Traffic Flow. Sustainability 2020, 12, 3079. [Google Scholar] [CrossRef]
 - Assemi, B.; Baker, D.; Paz, A. Searching for on-street parking: An empirical investigation of the factors influencing cruise time. Transp. Policy 2020, 97, 186–196. [Google Scholar] [CrossRef]
 - Geroliminis, N. Cruising-for-parking in congested cities with an MFD representation. Econ. Transp. 2015, 4, 156–165. [Google Scholar] [CrossRef]
 - Guo, H.; Gao, Z.; Yang, X.; Zhao, X.; Wang, W. Modeling travel time under the influence of on-street parking. J. Transp. Eng. 2012, 138, 229–235. [Google Scholar] [CrossRef]
 - Shoup, D.C. Cruising for parking. Transp. Policy 2006, 13, 479–486. [Google Scholar] [CrossRef]
 - Kobus, M.B.W.; Gutiérrez-I-Puigarnau, E.; Rietveld, P.; Van Ommeren, J.N. The on-street parking premium and car drivers’ choice between street and garage parking. Reg. Sci. Urban Econ. 2013, 43, 395–403. [Google Scholar] [CrossRef]
 - Arnott, R.; Inci, E. An integrated model of downtown parking and traffic congestion. J. Urban Econ. 2006, 60, 418–442. [Google Scholar] [CrossRef]
 - Lee, J.; Agdas, D.; Baker, D. Cruising for parking: New empirical evidence and influential factors on cruising time. J. Transp. Land Use 2017, 10, 931–943. [Google Scholar] [CrossRef]
 - Arnott, R.; Rowse, J. Curbside parking time limits. Transp. Res. Part A Policy Pract. 2013, 55, 89–110. [Google Scholar] [CrossRef]
 - Gu, Z.; Najmi, A.; Saberi, M.; Liu, W.; Rashidi, T.H. Macroscopic parking dynamics modeling and optimal real-time pricing considering cruising-for-parking. Transp. Res. Part C Emerg. Technol. 2020, 118, 102714. [Google Scholar] [CrossRef]
 - Ding, H.; Guo, H.W.; Wang, W.H. Modeling of in-road parking and cruising behavior considering time value. Transp. Syst. Eng. Inf. Technol. 2015, 15, 187–191. [Google Scholar]
 - Qin, H.; Yang, X.; Wu, Y.-J.; Guan, H.; Wang, P.; Shahinpoor, N. Analysis of parking cruising behaviour and parking location choice. Transp. Plan. Technol. 2020, 43, 717–734. [Google Scholar] [CrossRef]
 - Arnott, R.; Inci, E.; Rowse, J. Downtown curbside parking capacity. J. Urban Econ. 2015, 86, 83–97. [Google Scholar] [CrossRef]
 - Anderson, S.P.; De Palma, A. The economics of pricing parking. J. Urban Econ. 2004, 55, 1–20. [Google Scholar] [CrossRef]
 - Van Ommeren, J.N.; Wentink, D.; Rietveld, P. Empirical evidence on cruising for parking. Transp. Res. Part A Policy Pract. 2012, 46, 123–130. [Google Scholar] [CrossRef]
 - Ding, H. Behavior Characteristic Analysis and Modeling of On-Street Parking Selection. Master’s Thesis, Beijing Institute of Technology, Beijing, China, 2016. [Google Scholar]
 - Prevost, F. Curb Parking: Theory and Model; Institute of Transportation Studies: Davis, CA, USA, 1985. [Google Scholar]
 - Yang, W. Research on the Influence of Curbside Parking on Dynamic Traffic. Ph.D. Thesis, Jilin University, Changchun, China, 2007. [Google Scholar]
 - Nagel, K.; Schreckenberg, M. A cellular automaton model for freeway traffic. J. De Phys. I 1992, 2, 2221–2229. [Google Scholar] [CrossRef]
 - Hu, X.; Hao, X.; Wang, H.; Su, Z.; Zhang, F. Research on on-street temporary parking effects based on cellular automaton model under the framework of Kerner’s three-phase traffic theory. Phys. A Stat. Mech. Its Appl. 2020, 545, 123725. [Google Scholar] [CrossRef]
 - Hassine, S.B.; Mraihi, R.; Lachiheb, A.; Kooli, E. Modelling parking type choice behavior. Int. J. Transp. Sci. Technol. 2021, 11, 653–664. [Google Scholar] [CrossRef]
 






| Methods | Suitable Scenarios | Advantages | Disadvantages | 
|---|---|---|---|
| production method | Commuting trips | ① No need for a lot of data on residents’ trips ② The results are target ③ Easy to calculate  | ① Ignoring the effect of subjective factors on the time values ② Inability to calculate the time value spent on leisure trips ③ Not suitable for estimating overall time value  | 
| income method | Non-work trips | ||
| disaggregated model | All types of trips | ① Consider the impact of subjective factors on the time values ② Suitable for calculating the time value of all types of travel  | ① Need for large of data on residents’ trips ② Hard to calculate ③ Ignoring the effect of income on the time values  | 
| Parameters | Partial Derivate of | Correlation | 
|---|---|---|
| Negative | ||
| Positive | ||
| Negative or Positive | ||
| Negative | ||
| Negative | ||
| Negative | ||
| Positive | ||
| Positive | 
| Parameters | Numerical Values | Units | 
|---|---|---|
| 6 | ||
| 6 | ||
| 5 | ||
| 60 | ||
| 6 | ||
| 3 | ||
| 2 | ||
| 30 | ||
| 10 | 
| Parameters | Numerical Values | Units | 
|---|---|---|
| 0.2 | - | |
| 0.2 | - | |
| 0.4 | - | |
| 0.4 | - | |
| 2 | cell/s | |
| 15 | s | 
| Group | Speed | Delay | |||
|---|---|---|---|---|---|
| Average (km/h) | Std. Deviation | Average (s) | Std. Deviation | ||
| Group1 | = 6 | 21.282 | 5.156 | 63.559 | 78.093 | 
| Group2 | = 5 | 23.621 | 6.758 | 56.074 | 77.979 | 
| Group3 | = 4 | 27.112 | 5.071 | 36.820 | 39.467 | 
| Group4 | = 3 | 31.140 | 3.878 | 18.625 | 18.788 | 
| (I) Group | (J) Group | Two-Independent-Samples Test (I-J) | ||
|---|---|---|---|---|
| Z Value | Sig(p) | |||
| Group1 | Group2 | 2.339 | −19.457 | 0.000 | 
| Group1 | Group3 | 5.830 | −56.999 | 0.000 | 
| Group1 | Group4 | 9.858 | −108.047 | 0.000 | 
| Group2 | Group3 | 3.491 | −29.213 | 0.000 | 
| Group2 | Group4 | 7.519 | −68.239 | 0.000 | 
| Group3 | Group4 | 4.028 | −44.623 | 0.000 | 
| (I) Group | (J) Group | Two-Independent-Samples Test (I-J) | ||
|---|---|---|---|---|
| Z Value | Sig (p) | |||
| Group1 | Group2 | 7.485 | 3.408 | 0.001 | 
| Group1 | Group3 | 26.793 | 15.139 | 0.000 | 
| Group1 | Group4 | 44.934 | 28.507 | 0.000 | 
| Group2 | Group3 | 19.254 | 10.901 | 0.000 | 
| Group2 | Group4 | 37.441 | 23.784 | 0.000 | 
| Group3 | Group4 | 18.195 | 21.091 | 0.000 | 
Publisher’s Note: MDPI stays neutral with regard to jurisdictional claims in published maps and institutional affiliations.  | 
© 2022 by the authors. Licensee MDPI, Basel, Switzerland. This article is an open access article distributed under the terms and conditions of the Creative Commons Attribution (CC BY) license (https://creativecommons.org/licenses/by/4.0/).
Share and Cite
Wang, W.; Zhou, Y.; Liu, J.; Sun, B. On-Street Cruising for Parking Model in Consideration with Gaming Elements and Its Impact Analysis. Mathematics 2022, 10, 3423. https://doi.org/10.3390/math10193423
Wang W, Zhou Y, Liu J, Sun B. On-Street Cruising for Parking Model in Consideration with Gaming Elements and Its Impact Analysis. Mathematics. 2022; 10(19):3423. https://doi.org/10.3390/math10193423
Chicago/Turabian StyleWang, Wei, Yuwei Zhou, Jianbin Liu, and Baofeng Sun. 2022. "On-Street Cruising for Parking Model in Consideration with Gaming Elements and Its Impact Analysis" Mathematics 10, no. 19: 3423. https://doi.org/10.3390/math10193423
APA StyleWang, W., Zhou, Y., Liu, J., & Sun, B. (2022). On-Street Cruising for Parking Model in Consideration with Gaming Elements and Its Impact Analysis. Mathematics, 10(19), 3423. https://doi.org/10.3390/math10193423
        
                                                