The Effect of Manufacturing Quality on Rocket Precision
Abstract
1. Introduction
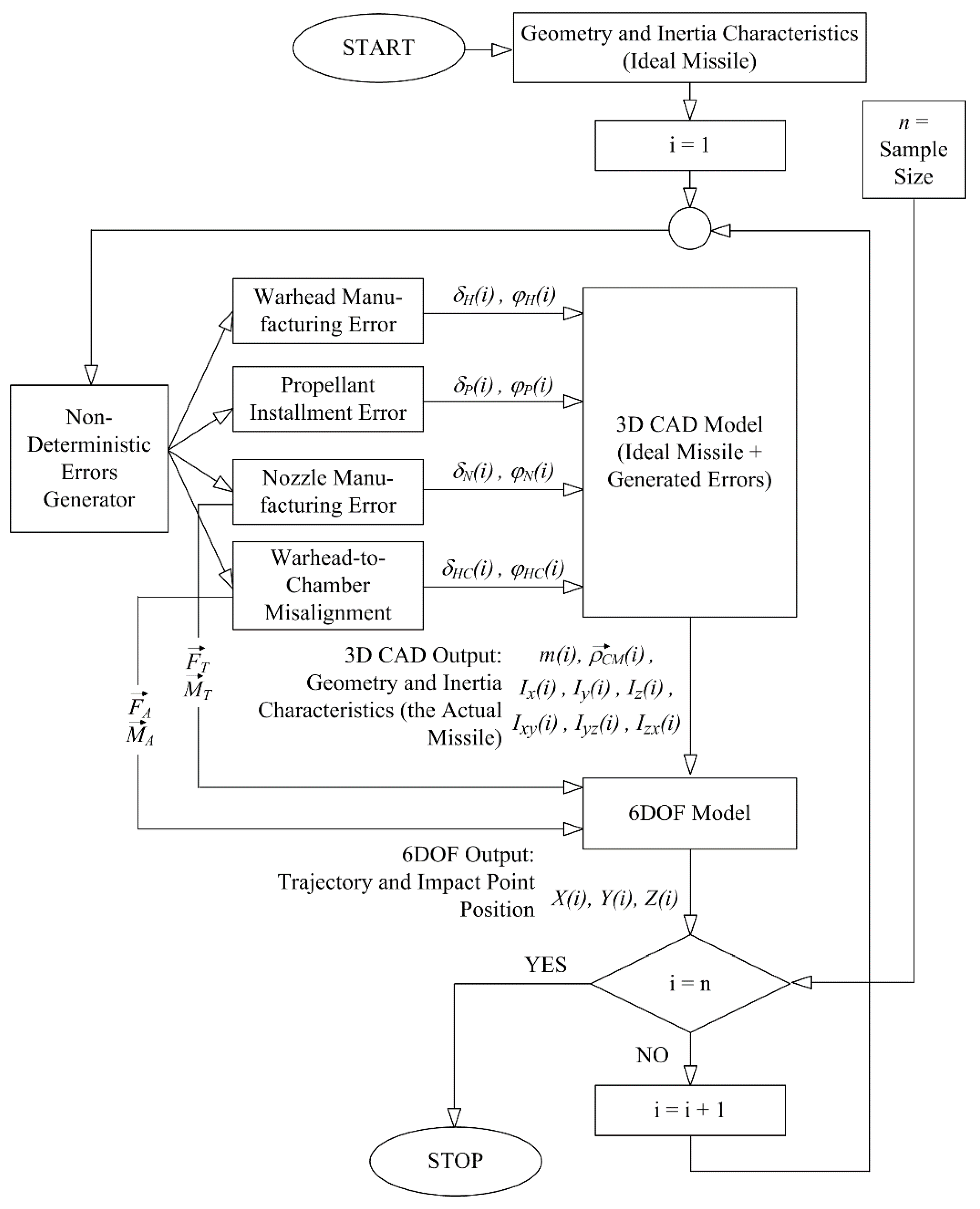
2. Materials and Methods
2.1. Manufacturing Errors Simulation
2.2. Warhead-to-Engine Chamber Misalignment
- δHC—the angle of misalignment in the plane of disturbance, dispersed according to the normal distribution (parameters of dispersion defined by the manufacturing quality level);
- φHC—the radial angle, defining the radial position of angle δHC, dispersed according to the uniform distribution.
2.3. Warhead and Propellant Errors
2.4. Thrust Force Misalignment
3. Monte-Carlo Simulation
3.1. Statistical Process Control, Quality, and Process Capability Indices
3.2. Simulating Manufacturing Errors
4. Flight Model Adapted for Imperfect Projectile
4.1. Governing Equations
- Extension of Newton’s laws of motion for a body with variable mass. Includes the aerodynamic force , thrust force , gravity and Coriolis force . is a derivation of flight velocity, in G-CS:
- Derivation of angular momentum . Includes moment of aerodynamic forces and moment of thrust force , all written in G-CS:
- Matrix form of kinematic equation connecting attitude and angular velocity of the rocket :where R is given as
- Coordinates in the geocentric coordinate system (E-CS, Earth-fixed spherical coordinate system):with R being the radius of Earth and being its angular velocity.
4.2. Inertia Model
4.3. Aerodynamics of an Asymmetrical Rocket
5. Results and Discussion
- length: LM = 2.87 m;
- initial total mass: mM0 = 66.6 kg;
- initial mass of propellant: mP0 = 20.5 kg;
- mass of explosive and mass of the entire warhead: mE = 6.4 kg, mH = 18.4 kg;
- initial moments of inertia: Ix0 = 0.1499 kgm2, Iy0 = Iz0 = 41.58 kgm2.
- error angles δH, δHC, δP and δN dispersed according to the normal distribution, with standard deviations depending on the production quality as given in Table 2;
- for all radial angles, dispersed according to the uniform distribution.
- Descriptive location parameters (mean, mode and median) coincide.
- The absolute values of skewness and kurtosis for the analyzed variables are in the range of 0–0.1 and 0–0.5, respectively.
- In addition, the assumption of normality was tested using the normal—probability plots and Shapiro Wilk test.
6. Conclusions
Author Contributions
Funding
Data Availability Statement
Acknowledgments
Conflicts of Interest
References
- Khalil, M.; Abdalla, H.; Kamal, O.M. Trajectory Prediction for a Typical Fin Stabilized Artillery Rocket. In Proceedings of the 13th International Conference on Aerospace Sciences and Aviation Technology, ASAT-13; Military Technical College Cairo: Cairo, Egypt, 2009; Volume 13, pp. 1–14. [Google Scholar]
- Mihailescu, C.; Radulescu, M.; Coman, F. The analysis of dispersion for trajectories of fire-extinguishing rocket. In Recent Advances in Fluid Mechanics and Heat & Mass Transfer. In Proceedings of the 9th IASME/WSEAS International Conference on Fluid Mechanics & Aerodynamics (FMA′ 11), Florence, Italy, 23–25 August 2011; pp. 135–140. [Google Scholar]
- Liu, F.; Song, Y.; Yu, H.; Lin, W.; Zhang, J.; Si, Z.; Ding, M.; Rui, X. Study on the influence of projectile on muzzle disturbance. Def. Technol. 2018, 14, 570–577. [Google Scholar] [CrossRef]
- Decker, R.; Donini, J.; Gardner, W.; John, J.; Koenig, W. Mass asymmetry and tricyclic wobble motion assessment using automated launch video analysis. Def. Technol. 2016, 12, 113–116. [Google Scholar] [CrossRef]
- Dourado, A.; Cavalini, A.; Steffen, V. Uncertainty quantification techniques applied to rotating systems: A comparative study. JVC/J. Vib. Control 2018, 24, 3010–3025. [Google Scholar] [CrossRef]
- Ullman, D. The Mechanical Design Process, 6th ed.; David Ullman LLC: Independece, OR, USA, 2017; ISBN 9780999357804. [Google Scholar]
- Grignon, C.; Cayzac, R.; Heddadj, S. Improvement of Artillery Projectile Accuracy. In Proceedings of the 23rd International Symposium on Ballistics; Gálvez, F., Sánchez-Gálvez, V., Eds.; International Ballistics Committee, Universidad Politécnica: Tarragona, Spain, 2007; pp. 747–754. [Google Scholar]
- Mourtzis, D. Simulation in the design and operation of manufacturing systems: State of the art and new trends. Int. J. Prod. Res. 2020. [Google Scholar] [CrossRef]
- Fabrycky, W.; Blanchard, B. Life Cycle Cost and Economic Analysis, 1st ed.; Prentice Hall: Hoboken, NJ, USA, 1991; ISBN 978-0135383230. [Google Scholar]
- Xu, T.; Rong, J.; Xiang, D.; Pan, C.; Yin, X. Dynamic Modeling And Stability Analysis Of A Flexible Spinning Missile Under Thrust. Int. J. Mech. Sci. 2016, 119, 144–154. [Google Scholar] [CrossRef]
- Etkin, B. Dynamics of Atmospheric Flight; Dover Publications: Mineola, NY, USA, 2005; ISBN 978-0486445229. [Google Scholar]
- Trzun, Z.; Vrdoljak, M.; Cajner, H. Statistical Analysis of Missile’s Trajectory Deviation Due to Production Errors. In Proceedings of the 91st Annual Meeting of the International Association of Applied Mathematics and Mechanics (GAMM); Wiley-VCH GmbH: Kassel, Germany, 2021. [Google Scholar]
- Gantmakher, F.; Levin, L.; Dryden, H. The Flight of Uncontrolled Rockets; Pergamon Press: Oxford, UK, 1964. [Google Scholar]
- Kosec, P.; Škec, S.; Miler, D. A comparison of the tolerance analysis methods in the open-loop assembly. Adv. Prod. Eng. Manag. 2020. [Google Scholar] [CrossRef]
- Vulanović, S.; Delić, M.; Kamberović, B.; Beker, I.; Lalić, B. Integrated management systems based on risk assessment: Methodology development and case studies. Adv. Prod. Eng. Manag. 2020. [Google Scholar] [CrossRef]
- Trzun, Z.; Vrdoljak, M. Monte Carlo Simulation of Missile Trajectories Dispersion due to Imperfectly Manufactured Warhead. In Proceedings of the 31st DAAAM International Symposium; Katalinic, B., Ed.; DAAAM International: Mostar, Bosnia and Herzegovina, 2020; pp. 574–583. [Google Scholar]
- Breyfogle, F. Implementing Six Sigma: Smarter Solutions Using Statistical Methods, 2nd ed.; John Wiley & Sons: New York, NY, USA, 2003; ISBN 978-0471265726. [Google Scholar]
- Quinino, R.C.; Cruz, F.R.B.; Ho, L.L. Attribute inspection control charts for the joint monitoring of mean and variance. Comput. Ind. Eng. 2020, 139. [Google Scholar] [CrossRef]
- Farahani, A.; Tohidi, H. Integrated optimization of quality and maintenance: A literature review. Comput. Ind. Eng. 2020. [Google Scholar] [CrossRef]
- Jankovic, S.; Gallant, J.; Celens, E. Dispersion of an artillery projectile due to its unbalance. In Proceedings of the 18th International Symposium on Ballistics, San Antonio, TX, USA, 15–19 November 1999; Reinecke, W.G., Ed.; The University of Texas at Austin Southwest Research Institute: San Antonio, TX, USA, 1999; pp. 128–141. [Google Scholar]
- Katsiropoulos, C.V.; Pantelakis, S.G. A Novel Holistic Index for the Optimization of Composite Components and Manufacturing Processes with Regard to Quality, Life Cycle Costs and Environmental Performance. Aerospace 2020, 7, 157. [Google Scholar] [CrossRef]
- Chen, K.S.; Chen, H.T.; Chang, T.C. The construction and application of Six Sigma quality indices. Int. J. Prod. Res. 2017, 55, 2365–2384. [Google Scholar] [CrossRef]
- Mingireanu, F.; Georgescu, L.; Murariu, G.; Mocanu, I. Trajectory modeling of grad rocket with low-cost terminal guidance upgrade coupled to range increase through step-like thrust-curves. Rom. J. Phys. 2014, 59, 369–381. [Google Scholar] [CrossRef]
- Jankovic, S. CAD of the Unguided Missiles. In Proceedings of 11th International Symposium on Ballistics; Celens, E., Ed.; Royal Military Academy Brussels: Brussels, Belgium, 1989; pp. 749–759. [Google Scholar]
- Gao, Y.; Liu, H.; Zhou, Y. An Evaluation Method of Combat Aircraft Contribution Effectiveness Based on Mission Success Space Design. Int. J. Aeronaut. Space Sci. 2019. [Google Scholar] [CrossRef]
- Głębocki, R.; Jacewicz, M. Parametric Study of Guidance of a 160-mm Projectile Steered with Lateral Thrusters. Aerospace 2020, 7, 61. [Google Scholar] [CrossRef]












| Cp | Z-Value | DPMO | Quality Level |
|---|---|---|---|
| 0.33–0.67 | 2–3 | 45500–2700 | Low Quality |
| 1.00–1.33 | 3–4 | 2700–63.4 | Standard Quality |
| 1.66–2.00 | 5–6 | 0.57–0.002 | High Quality |
| Low Quality | Standard Quality | High Quality | ||
|---|---|---|---|---|
| Warhead inner and outer surface misalignment | −0.500 0.500 | H = 0.200° | H = 0.142° | H = 0.090° |
| Warhead to engine chamber misalignment | −0.330 0.330 | HC = 0.132° | HC = 0.094° | HC = 0.060° |
| Propellant positioned incorrectly | −0.330 0.330 | P = 0.132° | P = 0.094° | P = 0.060° |
| Nozzle misalignment | −0.1146 0.1146 | N = 0.046° | N = 0.033° | N = 0.021° |
| Direction | 95% PI Low | 95% PI High | |
|---|---|---|---|
| Low Quality (LQ) (Case No. 1) | Range, m | 13,458.0 | 13,944.7 |
| Drift, m | −141.6 | 140.8 | |
| Area, m2 | 107,948.3 | ||
| Standard Quality (SQ) (Case No. 2) | Range, m | 13,521.7 | 13,868.6 |
| Drift, m | −96.9 | 98.6 | |
| Area, m2 | 53,264.9 | ||
| High Quality (HQ) (Case No. 3) | Range, m | 13,590.3 | 13,806.8 |
| Drift, m | −67.8 | 65.4 | |
| Area, m2 | 22,649.2 | ||
| Std. Deviation Range (m) | Std. Deviation Drift (m) | 95% PI Low 95% PI High Range (m) | 95% PI Low 95% PI High Drift (m) | Dispersion Area (m2) | |
|---|---|---|---|---|---|
| Case No. 1: All LQ | 13,458.0 13,944.7 | −141.6 140.8 | 107,948.3 | ||
| Case No. 2: All SQ | 13,521.7 13,868.6 | −96.9 98.6 | 53,264.9 | ||
| Case No. 3: All HQ | 13,590.3 13,806.8 | −67.8 65.4 | 22,649.2 | ||
| Case No. 4: Nozzle LQ, Other Errors SQ | 13,459.9 13,936.3 | −133.2 135.4 | 100,500.4 | ||
| Case No. 5: Nozzle LQ, Other Errors HQ | 13,460.9 13,920.8 | −132.9 132.8 | 95,972.1 | ||
| Case No. 6: Nozzle LQ, No Other Errors | 13,469.5 13,926.8 | −130.3 129.8 | 93,418.2 | ||
| Case No. 7: No Nozzle Error, Other Errors LQ | 13,611.5 13,787.7 | −52.3 53.9 | 14,696.7 | ||
| Case No. 8: No Nozzle Error, Other Errors SQ | 13,637.5 13,759.7 | −37.8 38.9 | 7361.4 | ||
| Case No. 9: No Nozzle Error, Other Errors HQ | 13,660.4 13,741.9 | −23.9 22.8 | 2989.3 |
| Factor | Coefficient Estimate | df | Standard Error | 95% CI Low | 95% CI High | VIF |
|---|---|---|---|---|---|---|
| Intercept | 14,897.06 | 1 | 3.32 | 14,888.52 | 14,905.61 | |
| A-Warhead Error δH | −1.69 | 1 | 3.32 | −10.23 | 6.86 | 1.00 |
| B-Head-to-Chamber Error δHC | 21.94 | 1 | 3.32 | 13.39 | 30.48 | 1.00 |
| C-Propellant Error δP | 21.31 | 1 | 3.32 | 12.77 | 29.86 | 1.00 |
| D-Nozzle Error δN | −144.94 | 1 | 3.32 | −153.48 | −136.39 | 1.00 |
| F-Head-to-Chamber Error, Radial Angle φHC | −13.81 | 1 | 3.32 | −22.36 | −5.27 | 1.00 |
| G-Propellant Error, Radial Angle φHC | −26.44 | 1 | 3.32 | −34.98 | −17.89 | 1.00 |
| H-Nozzle Error, Radial Angle φN | 170.69 | 1 | 3.32 | 162.14 | 179.23 | 1.00 |
| Factor | Coefficient Estimate | df | Standard Error | 95% CI Low | 95% CI High | VIF |
|---|---|---|---|---|---|---|
| Intercept | 43.09 | 1 | 0.39 | 42.09 | 44.10 | |
| A-Warhead Error δH | −2.92 | 1 | 0.39 | −3.92 | −1.92 | 1.00 |
| B-Head-to-Chamber Error δHC | 13.23 | 1 | 0.39 | 12.23 | 14.23 | 1.00 |
| C-Propellant Error δP | −19.52 | 1 | 0.39 | −20.52 | −18.52 | 1.00 |
| D-Nozzle Error δN | 131.12 | 1 | 0.39 | 130.12 | 132.12 | 1.00 |
| F-Head-to-Chamber Error, Radial Angle φHC | 16.27 | 1 | 0.39 | 15.27 | 17.27 | 1.00 |
| G-Propellant Error, Radial Angle φHC | −15.81 | 1 | 0.39 | −16.81 | −14.80 | 1.00 |
| H-Nozzle Error, Radial Angle φN | 103.42 | 1 | 0.39 | 102.42 | 104.42 | 1.00 |
Publisher’s Note: MDPI stays neutral with regard to jurisdictional claims in published maps and institutional affiliations. |
© 2021 by the authors. Licensee MDPI, Basel, Switzerland. This article is an open access article distributed under the terms and conditions of the Creative Commons Attribution (CC BY) license (https://creativecommons.org/licenses/by/4.0/).
Share and Cite
Trzun, Z.; Vrdoljak, M.; Cajner, H. The Effect of Manufacturing Quality on Rocket Precision. Aerospace 2021, 8, 160. https://doi.org/10.3390/aerospace8060160
Trzun Z, Vrdoljak M, Cajner H. The Effect of Manufacturing Quality on Rocket Precision. Aerospace. 2021; 8(6):160. https://doi.org/10.3390/aerospace8060160
Chicago/Turabian StyleTrzun, Zvonko, Milan Vrdoljak, and Hrvoje Cajner. 2021. "The Effect of Manufacturing Quality on Rocket Precision" Aerospace 8, no. 6: 160. https://doi.org/10.3390/aerospace8060160
APA StyleTrzun, Z., Vrdoljak, M., & Cajner, H. (2021). The Effect of Manufacturing Quality on Rocket Precision. Aerospace, 8(6), 160. https://doi.org/10.3390/aerospace8060160

