Global Meta-Analysis of Innovation Attributes Influencing Climate-Smart Agriculture Adoption for Sustainable Development
Abstract
1. Introduction
1.1. Theoretical Framework
1.2. Technology Acceptance Model (TAM)
1.3. Unified Theory of Acceptance and Use of Technology (UTAUT)
1.4. Complexity
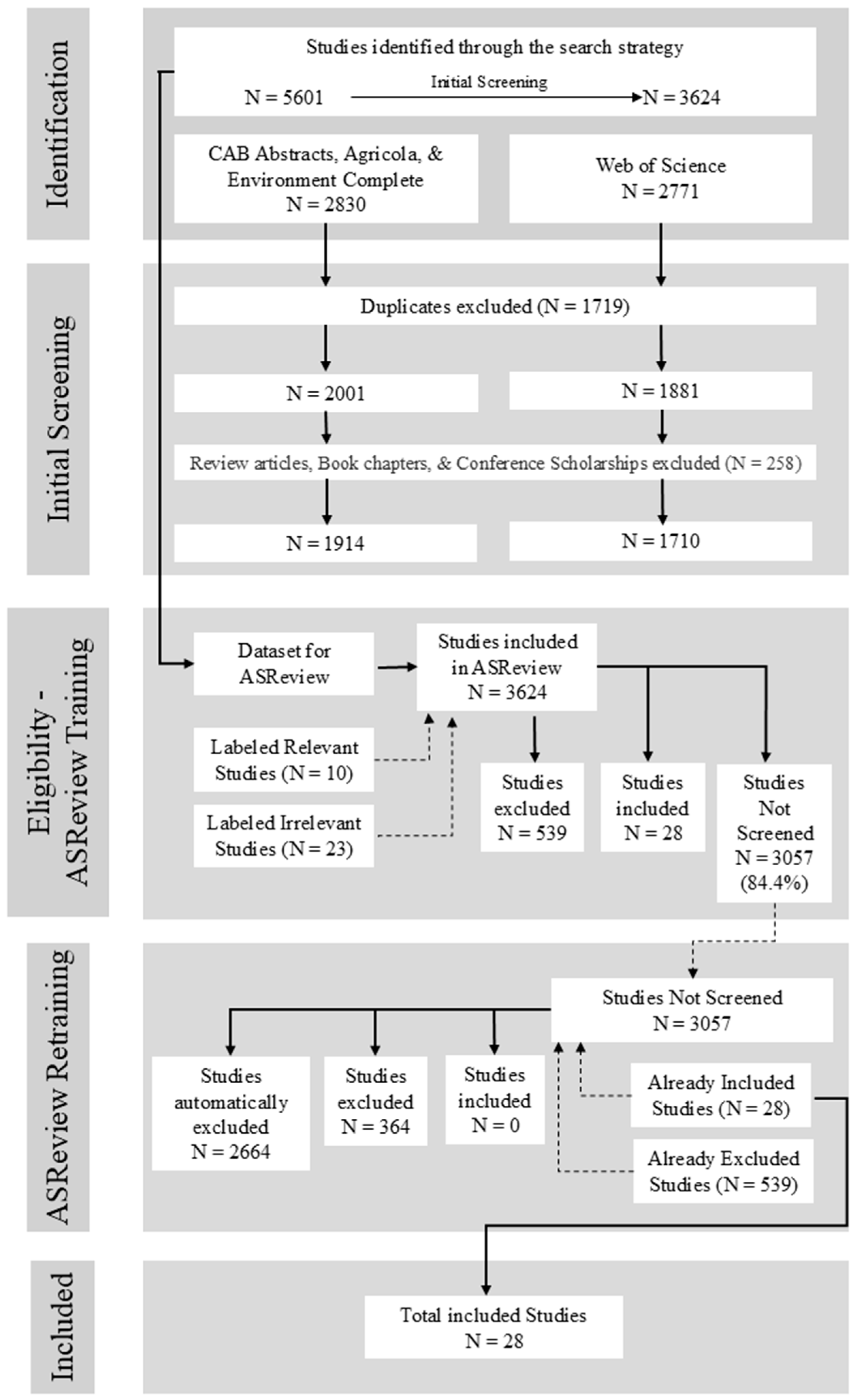
2. Materials and Methods
2.1. Study Design
2.2. Database and Search Strategy
2.3. Data Extraction
2.4. Data Analysis
3. Results
3.1. Characteristics of the Included Studies in the Systematic Review
3.2. Findings of Meta-Analysis
3.2.1. Characteristics of Conceptualization and Measurement of Innovation Complexity Across Studies
3.2.2. The Effect of Perceived Complexity on CSA Technology Adoption Intentions
4. Discussion
4.1. Limitations
4.2. Trends in Climate-Smart Agriculture Research
4.3. The Role of Complexity in Research on Climate-Smart Agriculture Adoption
5. Conclusions and Recommendations
Author Contributions
Funding
Data Availability Statement
Conflicts of Interest
References
- Musa, S.F.P.D.; Basir, K.H.; Luah, E. The role of smart farming in sustainable development. Int. J. Asian Bus. Inf. Manag. 2022, 13, 1–12. [Google Scholar] [CrossRef]
- Hanley, A.; Brychkova, G.; Barbon, W.J.; Noe, S.M.; Myae, C.; Thant, P.S.; McKeown, P.C.; Gonsalves, J.; Spillane, C. Community-level impacts of climate-smart agriculture interventions on food security and dietary diversity in climate-smart villages in Myanmar. Climate 2021, 9, 166. [Google Scholar] [CrossRef]
- Lioutas, E.D.; Charatsari, C. Smart farming and short food supply chains: Are they compatible. Land Use Policy 2020, 94, 104541. [Google Scholar] [CrossRef]
- Anser, M.K.; Yousaf, S.U.; Usman, B.; Azam, K.; Bandar, N.F.A.; Jambari, H.; Sriyanto, S.; Zaman, K. Beyond climate change: Examining the role of environmental justice, agricultural mechanization, and social expenditures in alleviating rural poverty. Sustain. Futures 2023, 6, 100130. [Google Scholar] [CrossRef]
- Sekabira, H.; Tepa-Yotto, G.T.; Ahouandjinou, A.R.M.; Thunes, K.H.; Pittendrigh, B.; Kaweesa, Y.; Tamo, M. Are digital services the right solution for empowering smallholder farmers? A perspective enlightened by COVID-19 experiences to inform smart IPM. Front. Sustain. Food Syst. 2023, 7, 983063. [Google Scholar] [CrossRef]
- Zuo, A.; Wheeler, S.A.; Sun, H. Flying over the farm: Understanding drone adoption by Australian irrigators. Precis. Agric. 2021, 22, 1973–1991. [Google Scholar] [CrossRef]
- Bonfiglio, A. Unveiling innovation imperatives in agriculture: A data-driven framework for identifying latent needs and regional priorities. Sustain. Futures 2024, 8, 100273. [Google Scholar] [CrossRef]
- Prakash, C.; Singh, L.P.; Gupta, A.; Lohan, S.K. Advancements in smart farming: A comprehensive review of IoT, wireless communication, sensors, and hardware for agricultural automation. Sens. Actuators A Phys. 2023, 362, 114605. [Google Scholar] [CrossRef]
- Balafoutis, A.T.; Van Evert, F.K.; Fountas, S. Smart farming technology trends: Economic and environmental effects, labor impact, and adoption readiness. Agronomy 2020, 10, 743. [Google Scholar] [CrossRef]
- Teklu, A.; Simane, B.; Bezabih, M. Multiple adoption of climate-smart agriculture innovation for agricultural sustainability: Empirical evidence from the Upper Blue Nile Highlands of Ethiopia. Clim. Risk Manag. 2023, 39, 100477. [Google Scholar] [CrossRef]
- Keskin, M.; Sekerli, Y.E. Awareness and adoption of precision agriculture in the Cukurova region of Turkey. Agron. Res. 2016, 14, 1307–1320. Available online: https://www.researchgate.net/publication/303383131_Awareness_and_adoption_of_precision_agriculture_in_the_Cukurova_region_of_Turkey_Full_Text_Cukurova_Bolgesinde_Hassas_Tarim_Teknolojilerinin_Bilinirlik_ve_Kullanim_Durumu (accessed on 19 September 2024).
- Dilleen, G.; Claffey, E.; Foley, A.; Doolin, K. Investigating knowledge dissemination and social media use in the farming network to build trust in smart farming technology adoption. J. Bus. Ind. Mark. 2023, 38, 1754–1765. [Google Scholar] [CrossRef]
- Velandia, M.; Lambert, D.M.; Jenkins, A.; Roberts, R.K.; Larson, J.A.; English, B.C.; Martin, S.W. Precision farming information sources used by cotton farmers and implications for Extension. J. Ext. 2010, 48, 20. [Google Scholar] [CrossRef]
- Daheim, C.; Krijn, P.; Schrijver, R. Precision Agriculture and the Future of Farming in Europe—Scientific Foresight Study; European Parliament: Strasbourg, France, 2017. [Google Scholar]
- Ingram, J.; Maye, D.; Bailye, C.; Barnes, A.; Bear, C.; Bell, M.; Cutress, D.; Davies, L.; Boon, A.; Dinnie, L.; et al. What are the priority research questions for digital agriculture? Land Use Policy 2022, 114, 105962. [Google Scholar] [CrossRef]
- McFadden, J.; Njuki, E.; Griffin, T. Precision Agriculture in the Digital Era: Recent Adoption on U.S. Farms; Economic Information Bulletin Number 248; United States Department of Agriculture Economic Research Service: Washington, DC, USA, 2023. Available online: https://www.ers.usda.gov/webdocs/publications/105894/eib-248.pdf (accessed on 6 September 2024).
- Gemtou, M.; Kakkavou, K.; Anastasiou, E.; Fountas, S.; Pedersen, S.M.; Isakhanyan, G.; Erekalo, K.T.; Pazos-Vidal, S. Farmers’ transition to climate-smart agriculture: A systematic review of the decision-making factors affecting adoption. Sustainability 2024, 16, 2828. [Google Scholar] [CrossRef]
- Giua, C.; Materia, V.C.; Camanzi, L. Smart farming technologies adoption: Which factors play a role in the digital transition? Technol. Soc. 2020, 68, 101869. [Google Scholar] [CrossRef]
- Sood, A.; Bhardwaj, A.K.; Sharma, R.K. Perceptions of facilitators towards adoption of AI-based solutions for sustainable agriculture. J. Decis. Syst. 2023, 1–35. [Google Scholar] [CrossRef]
- Dixit, K.; Aashish, K.; Dwivedi, A.K. Antecedents of smart farming adoption to mitigate the digital divide–extended innovation diffusion model. Technol. Soc. 2023, 75, 102348. [Google Scholar] [CrossRef]
- Izadi, N.; Saadi, H.; Kooshki, L. Analysis of smallholder farmers’ dynamics of knowledge sharing, skill transfer, and participation in using biogas (application of social network analysis). Sustain. Futures 2024, 8, 100271. [Google Scholar] [CrossRef]
- Naspetti, S.; Mandolesi, S.; Buysse, J.; Latvala, T.; Nicholas, P.; Padel, S.; Van Loo, E.J.; Zanoli, R. Determinants of the acceptance of sustainable production strategies among dairy farmers: Development and testing of a modified technology acceptance model. Sustainability 2017, 9, 1805. [Google Scholar] [CrossRef]
- Tey, Y.S.; Brindal, M. A meta-analteyysis of factors driving the adoption of precision agriculture. Precis. Agric. 2021, 23, 353–372. [Google Scholar] [CrossRef]
- Davis, F.D.; Bagozzi, R.P.; Warshaw, P.R. Technology Acceptance Model. Manag. Sci. 1989, 35, 982–1003. Available online: https://dspace.mit.edu/bitstream/handle/1721.1/15192/14927137MIT.pdf?sequence=2 (accessed on 4 September 2024). [CrossRef]
- Taheri, F.; D’Haese, M.; Fiems, D.; Azadi, H. The intentions of agricultural professionals towards diffusing wireless sensor networks: Application of technology acceptance model in Southwest Iran. Technol. Forecast. Soc. Chang. 2022, 185, 122075. [Google Scholar] [CrossRef]
- Venkatesh, V.; Morris, M.G.; Davis, G.B.; Davis, F.D. User acceptance of information technology: Toward a unified view. MIS Q. 2003, 27, 425–478. [Google Scholar] [CrossRef]
- Rogers, E.M. Diffusion of Innovations, 5th ed.; Free Press: New York, NY, USA, 2003. [Google Scholar]
- Lee, C.-L.; Strong, R.; Dooley, K.E. Analyzing precision agriculture adoption across the globe: A systematic review of scholarship from 1999–2020. Sustainability 2021, 13, 10295. [Google Scholar] [CrossRef]
- Rezaei-Moghaddam, K.; Salehi, S. Agricultural specialists’ intention toward precision agriculture technologies: Integrating innovation characteristics to technology acceptance model. Afr. J. Agric. Res. 2010, 5, 1191–1199. [Google Scholar]
- Bandura, A. Social cognitive theory: An agentic perspective. Annu. Rev. Psychol. 2001, 52, 1–26. [Google Scholar] [CrossRef]
- Ajzen, I. The Theory of planned behavior. Organ. Behav. Hum. Decis. Process. 1991, 50, 179–211. Available online: https://ojs.unbc.ca/index.php/design/article/download/1887/1414 (accessed on 4 September 2024). [CrossRef]
- Mohr, S.; Kühl, R. Acceptance of artificial intelligence in German agriculture: An application of the Technology Acceptance Model and the Theory of Planned Behavior. Precis. Agric. 2021, 22, 1816–1844. [Google Scholar] [CrossRef]
- Aubert, B.A.; Schroeder, A.; Grimaudo, J. IT as enabler of sustainable farming: An empirical analysis of farmers’ adoption decision of precision agriculture technology. Decis. Support Syst. 2012, 54, 510–520. [Google Scholar] [CrossRef]
- Lee, C.-L.; Strong, R.; Briers, G.; Murphrey, T.; Rajan, N.; Rampold, S. A correlational study of two US state Extension professionals’ behavioral intentions to improve sustainable food chains through precision farming practices. Foods 2023, 12, 2208. [Google Scholar] [CrossRef] [PubMed]
- Kirungi, D.; Senyange, B.; Wesana, J.; Sseguya, H.; Gellynck, X.; Steur, H.D. Entrepreneurial and attitudinal determinants for adoption of climate-smart agriculture technologies in Uganda. Cogent Food Agric. 2023, 9, 2282236. [Google Scholar] [CrossRef]
- Venkatesh, V.; Davis, F.D. A theoretical extension of the technology acceptance model: Four longitudinal field studies. Manag. Sci. 2000, 46, 186–204. [Google Scholar] [CrossRef]
- Fishbein, M.; Ajzen, I. Belief, Attitude, Intention, and Behavior: An Introduction to Theory and Research; Addison-Wesley: Reading, MA, USA, 1975. [Google Scholar]
- Canavari, M.; Medici, M.; Wongprawmas, R.; Xhakollari, V.; Russo, S. A path model of the intention to adopt variable rate irrigation in Northeast Italy. Sustainability 2021, 13, 1879. [Google Scholar] [CrossRef]
- Michels, M.; Bonke, V.; Musshoff, O. Understanding the adoption of smartphone apps in crop protection. Precis. Agric. 2020, 21, 1209–1226. [Google Scholar] [CrossRef]
- von Veltheim, F.; Theuvsen, L.; Heise, H. German farmers’ intention to use autonomous field robots: A PLS-analysis. Precis. Agric. 2022, 23, 670–697. [Google Scholar] [CrossRef]
- Otter, V.; Deutsch, M. Did policy lose sight of the wood for the trees? An UTAUT-based partial least squares estimation of farmers acceptance of innovative sustainable land use systems. Land Use Policy 2023, 126, 106467. [Google Scholar] [CrossRef]
- Salimi, M.; Pourdarbani, R.; Nouri, B.A. Factors affecting the adoption of agricultural automation using Davis’s acceptance model (Case study: Ardabil). Acta Technol. Agric. 2020, 23, 30–39. [Google Scholar] [CrossRef]
- Vecchio, Y.; De Rosa, M.; Pauselli, G.; Masi, M.; Adinolfi, F. The leading role of perception: The FACOPA model to comprehend innovation adoption. Agric. Food Econ. 2022, 10, 5. [Google Scholar] [CrossRef]
- Nowak, B. Precision agriculture: Where do we stand? A review of the adoption of precision agriculture technologies on field crops farms in developed countries. Agric. Res. 2021, 10, 515–522. [Google Scholar] [CrossRef]
- Rizzo, G.; Migliore, G.; Schifani, G.; Vecchio, R. Key factors influencing farmers’ adoption of sustainable innovations: A systematic literature review and research agenda. Org. Agric. 2024, 14, 57–84. [Google Scholar] [CrossRef]
- Thomas, R.J.; O’Hare, G.; Coyle, D. Understanding technology acceptance in smart agriculture: A systematic review of empirical research in crop production. Technol. For. Soc. Chang. 2023, 189, 122374. [Google Scholar] [CrossRef]
- Ofori, M.; El-Gayar, O. Drivers and challenges of precision agriculture: A social media perspective. Precis. Agric. 2021, 22, 1019–1044. [Google Scholar] [CrossRef]
- Schukat, S.; Heise, H. Towards an understanding of the behavioral intentions and actual use of smart products among German farmers. Sustainability 2021, 13, 6666. [Google Scholar] [CrossRef]
- Molina-Maturano, J.; Verhulst, N.; Tur-Cardona, J.; Güereña, D.T.; Gardeazábal-Monsalve, A.; Govaerts, B.; Speelman, S. Understanding smallholder farmers’ intention to adopt agricultural apps: The role of mastery approach and innovation hubs in Mexico. Agronomy 2021, 11, 194. [Google Scholar] [CrossRef]
- Pathak, H.S.; Brown, P.; Best, T. A systematic literature review of the factors affecting the precision agriculture adoption process. Precis. Agric. 2019, 20, 1292–1316. [Google Scholar] [CrossRef]
- Gough, D.; Oliver, S.; Thomas, J. An Introduction to Systematic Reviews; SAGE Publications: Thousand Oaks, CA, USA, 2017. [Google Scholar]
- Field, A.P.; Gillett, R. How to do a meta-analysis. Br. J. Math. Stat. Psychol. 2010, 63, 665–694. [Google Scholar] [CrossRef]
- Card, N.A. Applied Meta-Analysis for Social Science Research; Guilford Press: New York, NY, USA, 2012. [Google Scholar]
- Page, M.J.; McKenzie, J.E.; Bossuyt, P.M.; Boutron, I.; Hoffmann, T.C.; Mulrow, C.D.; Shamseer, L.; Tetzlaff, J.M.; Akl, E.A.; Brennan, S.E.; et al. The PRISMA 2020 statement: An updated guideline for reporting systematic reviews. BMJ 2021, 372, n71. [Google Scholar] [CrossRef] [PubMed]
- Kombat, R.; Sarfatti, P.; Fatunbi, O.A. A review of climate-smart agriculture technology adoption by farming households in Sub-Saharan Africa. Sustainability 2021, 13, 12130. [Google Scholar] [CrossRef]
- Mizik, T. Climate-smart agriculture on small-scale farms: A systematic literature review. Agronomy 2021, 11, 1096. [Google Scholar] [CrossRef]
- Taylor, M. Climate-smart agriculture: What is it good for? J. Peasant Stud. 2017, 45, 89–107. [Google Scholar] [CrossRef]
- van de Schoot, R.; de Bruin, J.; Schram, R.; de Boer, J.; Weijdema, F.; Kramer, B.; Huijts, M.; Hoogerwerf, M.; Ferdinands, G.; Harkema, A.; et al. An open source machine learning framework for efficient and transparent systematic reviews. Nat. Mach. Intell. 2021, 3, 125–133. [Google Scholar] [CrossRef]
- Adamse, I.; Eichelsheim, V.; Blokland, A.; Schoonmade, L. The risk and protective factors for entering organized crime groups and their association with different entering mechanisms: A systematic review using ASReview. Eur. J. Criminol. 2024, 21. [Google Scholar] [CrossRef]
- Quan, Y.; Tytko, T.; Hui, B. Utilizing ASReview in screening primary studies for meta-research in SLA: A step-by-step tutorial. Res. Methods Appl. Linguist. 2024, 3, 100101. [Google Scholar] [CrossRef]
- Romanov, S.; Siqueira, A.S.; de Bruin, J.; Teijema, J.; Hofstee, L.; van de Schoot, R. Optimizing ASReview simulations: A generic multiprocessing solution for ‘light-data’and ‘heavy-data’ users. Data Intell. 2024, 6, 320–343. [Google Scholar] [CrossRef]
- Valentine, J.C.; Pigott, T.D.; Rothstein, H.R. How many studies do you need? A primer on statistical power for meta-analysis. J. Educ. Behav. Stat. 2010, 35, 215–247. [Google Scholar] [CrossRef]
- Bohlmeijer, E.; Prenger, R.; Taal, E.; Cuijpers, P. The effects of mindfulness-based stress reduction therapy on mental health of adults with a chronic medical disease: A meta-analysis. J. Psychosom. Res. 2010, 68, 539–544. [Google Scholar] [CrossRef]
- Baker, M.T.; Lu, P.; Parrella, J.A.; Leggette, H.R. Investigating the effect of consumers’ knowledge on their acceptance of functional foods: A systematic review and meta-analysis. Foods 2022, 11, 1135. [Google Scholar] [CrossRef]
- Viechtbauer, W. Conducting meta-analyses in R with the metafor package. J. Stat. Softw. 2010, 36, 1–48. [Google Scholar] [CrossRef]
- Adrian, A.M.; Norwood, S.H.; Mask, P.L. Producers’ perceptions and attitudes toward precision agriculture technologies. Comput. Electron. Agric. 2005, 48, 256–271. [Google Scholar] [CrossRef]
- Caffaro, F.; Cavallo, E. Perceived barriers to the adoption of smart farming technologies in Piedmont region, Northwestern Italy: The role of user and farm variables. In Innovative Biosystems Engineering for Sustainable Agriculture, Forestry and Food Production: International Mid-Term Conference 2019 of the Italian Association of Agricultural Engineering (AIIA); Springer International Publishing: Berlin/Heidelberg, Germany, 2020; pp. 681–689. [Google Scholar] [CrossRef]
- Far, S.T.; Rezaei-Moghaddam, K. Determinants of Iranian agricultural consultants’ intentions toward precision agriculture: Integrating innovativeness to the technology acceptance model. J. Saudi Soc. Agric. Sci. 2017, 16, 280–286. [Google Scholar] [CrossRef]
- Michels, M.; von Hobe, C.F.; Weller von Ahlefeld, P.J.; Musshoff, O. The adoption of drones in German agriculture: A structural equation model. Precis. Agric. 2021, 22, 1728–1748. [Google Scholar] [CrossRef]
- Narwane, V.S.; Gunasekaran, A.; Gardas, B.B. Unlocking adoption challenges of IoT in Indian agricultural and food supply chain. Smart Agric. Technol. 2022, 2, 100035. [Google Scholar] [CrossRef]
- Tama, R.A.Z.; Hoque, M.M.; Liu, Y.; Alam, M.J.; Yu, M. An application of partial least squares structural equation modeling (PLS-SEM) to examining farmers’ behavioral attitude and intention towards conservation Agriculture in Bangladesh. Agriculture 2023, 13, 503. [Google Scholar] [CrossRef]
- Vasan, M.; Yoganandan, G. Does the belief of farmers on land as God influence the adoption of smart farming technologies? Benchmarking Int. J. 2023, 31, 2338–2359. [Google Scholar] [CrossRef]
- Wang, Y.J.; Wang, N.; Li, M.; Li, H.; Huang, G.Q. End-users’ acceptance of intelligent decision-making: A case study in digital agriculture. Adv. Eng. Inform. 2024, 60, 102387. [Google Scholar] [CrossRef]
- Anubhav, K.; Agarwal, M.; Aashish, K. Smart farming for future: A structural relation analysis of attitude, facilitating condition, economic benefit and government support. Technol. Anal. Strateg. Manag. 2023, 1–15. [Google Scholar] [CrossRef]
- Li, W.; Clark, B.; Taylor, J.A.; Kendall, H.; Jones, G.; Li, Z.; Jin, S.; Zhao, C.; Yang, G.; Shuai, C.; et al. A hybrid modelling approach to understanding adoption of precision agriculture technologies in Chinese cropping systems. Comput. Electron. Agric. 2020, 172, 105305. [Google Scholar] [CrossRef]
- Ronaghi, M.H.; Forouharfar, A. A contextualized study of the usage of the Internet of things (IoTs) in smart farming in a typical Middle Eastern country within the context of Unified Theory of Acceptance and Use of Technology model (UTAUT). Technol. Soc. 2020, 63, 101415. [Google Scholar] [CrossRef]
- Schukat, S.; Heise, H. Smart products in livestock farming—An empirical study on the attitudes of German farmers. Animals 2021, 11, 1055. [Google Scholar] [CrossRef]
- Oh, S.; Ahn, J.; Kim, B. Adoption of broadband Internet in Korea: The role of experience in building attitudes. J. Inform. Technol. 2023, 18, 267–280. [Google Scholar] [CrossRef]
- Irby, T.L.; Strong, R. Agricultural education students’ acceptance and self-efficacy of mobile technology in classrooms. NACTA J. 2013, 57, 82–87. [Google Scholar]
- Beza, E.; Reidsma, P.; Poortvliet, P.M.; Belay, M.M.; Bijen, B.S.; Kooistra, L. Exploring farmers’ intentions to adopt mobile Short Message Service (SMS) for citizen science in agriculture. Comput. Electron. Agric. 2018, 151, 295–310. [Google Scholar] [CrossRef]
- Cohen, J. Statistical Power Analysis for the Behavioral Sciences; Routledge: London, UK, 1988. [Google Scholar]
- Gignac, G.E.; Szodorai, E.T. Effect size guidelines for individual differences researchers. Pers. Individ. Differ. 2016, 102, 74–78. [Google Scholar] [CrossRef]
- Thornton, A.; Lee, P. Publication bias in meta-analysis: Its causes and consequences. J. Clin. Epidemiol. 2000, 53, 207–216. [Google Scholar] [CrossRef]
- Higgins, J.P.; Thompson, S.G.; Deeks, J.J.; Altman, D.G. Measuring inconsistency in meta-analyses. BMJ 2003, 327, 557–560. [Google Scholar] [CrossRef]
- Ioannidis, J.P.; Patsopoulos, N.A.; Evangelou, E. Uncertainty in heterogeneity estimates in meta-analyses. BMJ 2007, 335, 914–916. [Google Scholar] [CrossRef]
- Chandra, A.; McNamara, K.E.; Dargusch, P. Climate-smart agriculture: Perspectives and framings. Clim. Policy 2017, 18, 526–541. [Google Scholar] [CrossRef]
- Mwongera, C.; Shikuku, K.M.; Twyman, J.; Läderach, P.; Ampaire, E.; Van Asten, P.; Twomlow, S.; Winowiecki, L.A. Climate smart agriculture rapid appraisal (CSA-RA): A tool for prioritizing context-specific climate smart agriculture technologies. Agric. Syst. 2017, 151, 92–203. [Google Scholar] [CrossRef]
- Tzounis, A.; Katsoulas, N.; Bartzanas, T.; Kittas, C. Internet of Things in agriculture, recent advances and future challenges. Biosyst. Eng. 2017, 164, 31–48. [Google Scholar] [CrossRef]
- Chen, Q.; Wachenheim, C.; Zheng, S. Land scale, cooperative membership and benefits information: Unmanned aerial vehicle adoption in China. Sustain. Futures 2020, 2, 100025. [Google Scholar] [CrossRef]
- Miller, N.J.; Griffin, T.W.; Ciampitti, I.A.; Sharda, A. Farm adoption of embodied knowledge and information intensive precision agriculture technology bundles. Precis. Agric. 2019, 20, 348–361. [Google Scholar] [CrossRef]
- Machete, K.C.; Senyolo, M.P.; Gidi, L.S. Adaptation through climate-smart agriculture: Examining the socioeconomic factors influencing the willingness to adopt climate-smart agriculture among smallholder maize farmers in the Limpopo Province, South Africa. Climate 2024, 12, 74. [Google Scholar] [CrossRef]
- Kernecker, M.; Knierim, A.; Wurbs, A.; Kraus, T.; Borges, F. Experience versus expectation: Farmers’ perceptions of smart farming technologies for cropping systems across Europe. Precis. Agric. 2020, 21, 34–50. [Google Scholar] [CrossRef]
- Lee, C.L.; Strong, R.; Briers, G.; Murphrey, T.; Rajan, N.; Rampold, S. Factors predicting innovation-decisions: The effects of performance expectancy, social influence, and facilitating conditions on U.S. Extension’s promotion of precision agriculture technologies. NJAS-Impact Agric. Life Sci. 2024, 96, 2420111. [Google Scholar] [CrossRef]






| Terms (T) | T1: Climate-smart agriculture | T5: Precision farming | T9: Usage |
| T2: Climate-smart agriculture | T6: Technolog* | T10: Implementation | |
| T3: Precision agriculture | T7: Adoption | T11: Application | |
| T4: Smart farming | T8: Use | ||
| Combination (C) | C: (T1 or T2 or T3 or T4 or T5) AND (T6) AND (T7 or T8 or T9 or T10 or T11) | ||
| Author(s) (Year) [reference] | Data Analysis Methodology | Theoretical Framework | Location | Type of Climate-Smart Technology | Sample Members | Sample Size | Complexity Significant Indicator (Y/N) |
|---|---|---|---|---|---|---|---|
| Adrian et al. [66] | SEM | TAM | Alabama (United States) | Precision agriculture technologies | Row crop farmers | 85 | N |
| Aubert et al. [33] | SEM | TAM | Quebec (Canada) | Precision agricultural technologies | Farm operators | 438 | Y |
| Caffaro et al. [67] | SEM | TAM | Italy | Smart farming technologies | Male farmers | 314 | - |
| Canavari et al. [38] | SEM | TAM | Northeast Italy | Variable rate irrigation | Fruit and grapevine producers | 138 | N |
| Far and Rezaei-Moghaddam [68] | SEM | TAM | Iran | Precision agriculture technologies | Agricultural consultants | 183 | N |
| Michels et al. [69] | SEM | TAM | Germany | Drones | Farmers | 167 | N |
| Mohr et al. [32] | SEM | TAM | Germany | Artificial intelligence | Crop farmers | 84 | - |
| Narwane et al. [70] | DEMATEL | TAM | India | Internet of Things technology | Agricultural food supply chain experts | 16 | - |
| Naspetti et al. [22] | SEM | TAM | United Kingdom | Sustainable production strategies | Organic and low-input dairy farmers | 190 | - |
| Rezaei-Moghaddam and Salehi [29] | SEM | TAM | Khuzestan and Fars (Iran) | Precision agricultural technologies | Agricultural specialists | 249 | N |
| Salimi et al. [42] | SEM | TAM | Iran | Agricultural automation | University students, farmers, experts in agriculture | 378 | - |
| Taheri et al. [25] | SEM | TAM | Southwest Iran | Wireless sensor networks | Agricultural professionals | 109 | - |
| Tama et al. [71] | SEM | TAM | Bangladesh | Conservation agriculture practices | Farmers | 201 | - |
| Vasan and Yoganandan [72] | SEM | TAM | India | Smart farming technologies | Farmers | 500 | - |
| Wang et al. [73] | SEM | TAM | Northeast China | Intelligent decision-making | Farmers and agricultural practitioners | 450 | Y |
| Anubhav et al. [74] | SEM | UTAUT | India | Smart farming technologies | Full-time farmers | 597 | - |
| Giua et al. [18] | SEM | UTAUT | Italy | Smart farming technologies | Farmers | 474 | - |
| Lee et al. [34] | Correlation | UTAUT | Tennessee and California (United States) | Precision farming practices | Extension professionals: precision farming | 102 | N |
| Li et al. [75] | SEM | UTAUT | China | Precision agriculture technologies | Farmers | 449 | - |
| Michels et al. [39] | SEM | UTAUT | Germany | Smartphone apps | Farmers | 207 | Y |
| Molina-Maturano et al. [49] | SEM | UTAUT | Guanajuato (Mexico) | Agricultural apps | Farmers | 394 | N |
| Ronaghi and Forouharfar [76] | SEM | UTAUT | Iran | Internet of Things technology | Adult farmers | 392 | Y |
| Schukat and Heise [48] | SEM | UTAUT | Germany | Smart products | Farmers | 523 | N |
| Schukat and Heise [77] | Factor and cluster analysis | UTAUT | Germany | Livestock smart products | Livestock farmers | 422 | - |
| Sood et al. [19] | SEM | UTAUT | Northern India | AI-based solutions | Agricultural facilitators: University members, Extension agents, Co-operatives | 205 | N |
| von Veltheim et al. [40] | SEM | UTAUT | Germany | Autonomous field robots | Farmers | 500 | Y |
| Dixit et al. [20] | SEM | DOI | India | Smart farming technologies | Full-time farmers | 597 | - |
| Kirungi et al. [35] | SEM | TPB, DOI | Uganda | Climate-smart agriculture technologies | Adult coffee farmers | 230 | Y |
| Author(s) (Year) | Construct | Construct Definition | Items | Scale | Source of the Instrument |
|---|---|---|---|---|---|
| Adrian et al. [66] | Perceived Ease of Use | As the belief that using a particular technology will be free of physical and mental effort. | (1) Learning to use precision agriculture tools will be easy. (2) It will be easy for me to remember how to perform tasks using precision agriculture tools. (3) Precision agriculture tools will be easy to use. (4) The uses for precision agriculture tools are clear and understandable. | N/A | Davis [24] |
| Aubert et al. [33] | Perceived Ease of Use | Measures the perception of the ease with which precision agriculture technology can be made usable (or integrated) in daily tasks. | N/A | 1–5 | Oh et al. [78] |
| Canavari et al. [38] | Perceived Ease of Use | The degree to which the user expects the technology to be free of effort. | (1) VRI could be used easily. (2) Using VRI will not require a lot of effort. (3) It would be easy for me to become skillful at using VRI on the farm. | 1–7 | Davis [24] |
| Far and Rezaei-Moghaddam [68] | Perceived Ease of Use | The degree to which the prospective user expects the target system to be free of effort. | N/A | 1–5 | Davis [24] |
| Kirungi et al. [35] | Complexity | The degree to which the adopter believes that the innovation will not be difficult to understand and its use will be effortless. | (1) I believe that it is easy to practice CSA for a particular purpose. (2) Overall, I believe that practicing CSA is easy. (3) Guidelines for practicing CSA are easy for me. | 1–7 | Rogers [27] |
| Lee et al. [34] | Effort Expectancy | The perception of ease of use. If individuals feel they do not need to make a huge effort to use technology, their willingness to use it will increase. | (1) It is easy for me to improve my skills in promoting PATs. (2) Learning to promote PATs is easy for me. (3) I find it easy to promote PATs. (4) I find it easy to promote PATs to do what I want to do. | 1–5 | Irby and Strong [79] |
| Michels et al. [39] | Effort Expectancy | The degree of ease an individual associates with using a system, with a positive effect on BI assumed. | (1) The handling of a crop protection smartphone app would be simple and understandable for me. (2) All in all, I would find crop protection smartphone apps to be easy to use tools. (3) I believe that the use of crop protection smartphone apps would be easy for me to learn. | N/A | Venkatesh et al. [26] |
| Michels et al. [69] | Perceived Ease of Use | Individuals’ belief that using a technology is free of effort. | (1) I think learning to use drones would be easy for me. (2) Overall, I think drones are easy to use instruments. (3) Usage of drones seems understandable for me. (4) To learn how to use drones is no problem for me. | 1–5 | N/A |
| Molina-Maturano et al. [49] | Effort Expectancy | The degree of ease associated with farmers’ use of a technology. | (1) Learning how to use a mobile phone (cellphone)’ app is easy for me. (2) Interaction with a mobile phone (cellphone)’ app is clear and comprehensive. (3) I find the mobile phone (cellphone)’ apps easy to use. (4) It is easy for me to become skillful at using mobile phone (cellphone)’ apps. | 1–7 | Beza et al. [80] and Venkatesh et al. [26] |
| Rezaei-Moghaddam and Salehi [29] | Perceived Ease of Use | The belief that using a particular technology will be free of physical and mental effort. | N/A | 1–5 | Davis [24] |
| Ronaghi and Forouharfar [76] | Effort Expectancy | Individuals’ perception of the ease of technology usage. | (1) Learning how to use the IoT technologies is easy for me. (2) My first impression of the IoT technologies could be described as clear, favorable, and comprehensible. (3) I found the IoT technologies easy to use. | 1–5 | Venkatesh et al. [26] |
| Schukat and Heise [48] | Effort Expectancy | The expected effort when using a system or technology, whereby the expected effort is often perceived as higher for a new system in the initial phase. | (1) I imagine the handling of smart products to be difficult. (2) Learning how to use smart products is difficult for me. (3) Safe handling of smart products is not easy for me. (4) Using smart products presents a stress factor for me. | 1–5 | N/A |
| Sood et al. [19] | Effort Expectancy | The degree of ease associated with the use of the system. | (1) I think interaction of farmers with intelligent solutions would be clear and understandable. (2) It would be easy for farmers to become skillful at using the intelligent solution. (3) I think farmers would find the intelligent solutions easy to use. (4) I think learning to operate the intelligent solutions is easy for farmers. | N/A | Giua et al. (2022) and Venkatesh et al. [26] |
| von Veltheim et al. [40] | Effort Expectancy | The degree to which a user believes that a system will be free of effort or difficult to operate. | (1) I imagine the operation of AFR to be difficult. (2) Learning how to handle AFR would be difficult for me. (3) A safe handling of AFR would be difficult for me. | 1–5 | Venkatesh et al. [26] |
| Wang et al. [73] | Perceived Ease of Use | Describes individuals’ subjective perception of how easy or difficult it is to learn and operate a technology. | (1) It is easy to use intelligent decision-making to do what I want. (2) I find intelligent decision-making to be easy to use. (3) It is not easy for me to become skillful at using intelligent decision-making. | 1–7 | Davis [24] |
Disclaimer/Publisher’s Note: The statements, opinions and data contained in all publications are solely those of the individual author(s) and contributor(s) and not of MDPI and/or the editor(s). MDPI and/or the editor(s) disclaim responsibility for any injury to people or property resulting from any ideas, methods, instructions or products referred to in the content. |
© 2024 by the authors. Licensee MDPI, Basel, Switzerland. This article is an open access article distributed under the terms and conditions of the Creative Commons Attribution (CC BY) license (https://creativecommons.org/licenses/by/4.0/).
Share and Cite
Lee, C.-L.; Orton, G.; Lu, P. Global Meta-Analysis of Innovation Attributes Influencing Climate-Smart Agriculture Adoption for Sustainable Development. Climate 2024, 12, 192. https://doi.org/10.3390/cli12110192
Lee C-L, Orton G, Lu P. Global Meta-Analysis of Innovation Attributes Influencing Climate-Smart Agriculture Adoption for Sustainable Development. Climate. 2024; 12(11):192. https://doi.org/10.3390/cli12110192
Chicago/Turabian StyleLee, Chin-Ling, Ginger Orton, and Peng Lu. 2024. "Global Meta-Analysis of Innovation Attributes Influencing Climate-Smart Agriculture Adoption for Sustainable Development" Climate 12, no. 11: 192. https://doi.org/10.3390/cli12110192
APA StyleLee, C.-L., Orton, G., & Lu, P. (2024). Global Meta-Analysis of Innovation Attributes Influencing Climate-Smart Agriculture Adoption for Sustainable Development. Climate, 12(11), 192. https://doi.org/10.3390/cli12110192

