Expedited Globalized Antenna Optimization by Principal Components and Variable-Fidelity EM Simulations: Application to Microstrip Antenna Design
Abstract
1. Introduction
2. Variable-Fidelity Globalized Optimization Using Principal Components and Kriging Surrogates
2.1. Formulation of Design Optimization Task
2.2. Variable-Fidelity Simulation Models
2.3. Principal Components. Affine Subspace for Exploration Stage
2.4. Surrogate Model Construction
2.5. Local Tuning by Accelerated Trust-Region Gradient Search
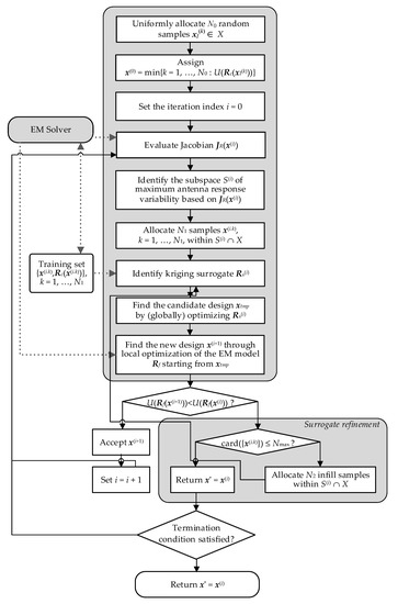
2.6. Optimization Framework
| Algorithm 1 PCA-based optimization algorithm using variable-fidelity EM simulations | |
| 1. | Initial sampling: Uniformly allocate N0 random samples xI(k) ϵ X; |
| 2. | Identify the best design x(0) = min{k = 1, …, N0: U(Rc(xI(k)))}; |
| 3. | Set the iteration index i = 0; |
| 4. | Evaluate the high-fidelity response Rf(x(i)) and the corresponding Jacobian JR(x(i)); |
| 5. | Use JR(x(i)) to identify the subspace S(i) of maximum antenna response variability (Section 2.3); |
| 6. | Allocate N1 samples x(i.k), k = 1, …, N1, within S(i) ∩ X; |
| 7. | Identify the kriging surrogate Rs(i) therein using {x(i.k),Rc(x(i.k))} as the training set (Section 2.4); |
| 8. | Find the candidate design xtmp by (globally) optimizing the surrogate Rs(i) [37]: |
| 9. | Starting from xtmp, find the new design x(i+1) through local optimization of the EM model Rf (cf. Section 2.5) [37] |
| 10. | ifU(Rf(x(i+1))) < U(Rf(x(i))) then |
| 11. | Accept x(i+1) and set i = i + 1; |
| 12. | else |
| 13. | if card({x(i.k)}) ≤ Nmax then |
| 14. | Allocate N2 additional (infill) samples within S(i) ∩ X; go to 7; |
| 15. | else |
| 16. | Return x* = x(i). |
| 17. | end |
| 18. | end |
| 19. | If the termination condition is not satisfied, go to 4; else return x* = x(i). |
3. Results
3.1. Example I: Wideband Monopole Antenna
- High-fidelity model Rf: 1.588.000 mesh cells, simulation time 362.6 s;
- Low-fidelity model Rc1: 323.000 mesh cells, simulation time 66.9 s;
- Low-fidelity model Rc2: 185.000 mesh cells, simulation time 51.3 s.
- A total of 20 runs of the proposed algorithm are executed using new set of samples xI(k) for each run. The computational budget set to 300 (equivalent) high-fidelity EM simulations of the antenna. The cost is calculated as Nf + Nc/T where Nf and Nc are the numbers of high- and low-fidelity model evaluations, whereas T is the time evaluation ratio between the high- and low-fidelity models;
- (Benchmark) 20 runs of local search using the trust-region algorithm with numerical derivatives are executed with random initial points employed at each run;
- (Benchmark) 20 runs of the proposed globalized search are executed with high-fidelity model used at both the exploratory and local tuning stages.
3.2. Example II: Triple-Band Uniplanar Dipole Antenna
- High-fidelity model Rf:: 185.000 mesh cells, simulation time 222.1 s;
- Low-fidelity model Rc1: 70.000 mesh cells, simulation time 51.0 s;
- Low-fidelity model Rc2: 40.000 mesh cells, simulation time 32.0 s.
3.3. Discussion
- Our approach significantly improves the reliability of the optimization process compared to multiple-start local routines;
- The computational cost of the algorithm is very low (about 140 equivalent high-fidelity EM model evaluation on the average), especially when taking into account its global search capabilities;
- Repeatability of results is excellent, which is demonstrated by low values of the standard deviation of the final objective function values;
- Robustness of the method is retained even if the algorithm is executed with a coarser version of the low-fidelity model. Clearly, a reduced performance sensitivity to the low-fidelity model setup is a practically attractive feature. This is a consequence of separating the exploratory and local tuning stages of the process;
- For the same reason, the quality of the designs rendered by the proposed procedure is similar to that produced by the algorithm merely using the high-fidelity model; in comparison to that version, the CPU cost is reduced by a factor of two.
4. Conclusions
Author Contributions
Funding
Acknowledgments
Conflicts of Interest
References
- Su, S.; Lee, C.; Hsiao, Y. Compact two-inverted-F-antenna system with highly integrated π-shaped decoupling structure. IEEE Trans. Ant. Propag. 2019, 67, 6182–6186. [Google Scholar] [CrossRef]
- Yazeen, P.S.M.; Vinisha, C.V.; Vandana, S.; Suprava, M.; Nair, R.U. Electromagnetic Performance Analysis of Graded Dielectric Inhomogeneous Streamlined Airborne Radome. IEEE Trans. Antennas Propag. 2017, 65, 1. [Google Scholar] [CrossRef]
- Ta, S.X.; Choo, H.; Park, I. Broadband Printed-Dipole Antenna and Its Arrays for 5G Applications. IEEE Antennas Wirel. Propag. Lett. 2017, 16, 2183–2186. [Google Scholar] [CrossRef]
- Pietrenko-Dabrowska, A.; Koziel, S. Computationally-efficient design optimisation of antennas by accelerated gradient search with sensitivity and design change monitoring. IET Microw. Antennas Propag. 2020, 14, 165–170. [Google Scholar] [CrossRef]
- Gregory, M.D.; Bayraktar, Z.; Werner, D.H. Fast Optimization of Electromagnetic Design Problems Using the Covariance Matrix Adaptation Evolutionary Strategy. IEEE Trans. Antennas Propag. 2011, 59, 1275–1285. [Google Scholar] [CrossRef]
- Bhattacharya, R.; Garg, R.; Bhattacharyya, T.K. Design of a PIFA-Driven Compact Yagi-Type Pattern Diversity Antenna for Handheld Devices. IEEE Antennas Wirel. Propag. Lett. 2015, 15, 1. [Google Scholar] [CrossRef]
- Rahman, M.; Naghshvarianjahromi, M.; Mirjavadi, S.S.; Hamouda, A. Compact UWB Band-Notched Antenna with Integrated Bluetooth for Personal Wireless Communication and UWB Applications. Electronics 2019, 8, 158. [Google Scholar] [CrossRef]
- Rahman, M.; Naghshvarianjahromi, M.; Mirjavadi, S.S.; Hamouda, A. Bandwidth Enhancement and Frequency Scanning Array Antenna Using Novel UWB Filter Integration Technique for OFDM UWB Radar Applications in Wireless Vital Signs Monitoring. Sensors 2018, 18, 3155. [Google Scholar] [CrossRef]
- Rahman, M.; Naghshvarianjahromi, M.; Mirjavadi, S.S.; Hamouda, A. Resonator Based Switching Technique between Ultra Wide Band (UWB) and Single/Dual Continuously Tunable-Notch Behaviors in UWB Radar for Wireless Vital Signs Monitoring. Sensors 2018, 18, 3330. [Google Scholar] [CrossRef]
- Palacios, J.; De Donno, D.; Widmer, J. Lightweight and Effective Sector Beam Pattern Synthesis With Uniform Linear Antenna Arrays. IEEE Antennas Wirel. Propag. Lett. 2016, 16, 605–608. [Google Scholar] [CrossRef]
- Ehrenborg, C.; Gustafsson, M. Fundamental Bounds on MIMO Antennas. IEEE Antennas Wirel. Propag. Lett. 2017, 17, 21–24. [Google Scholar] [CrossRef]
- Akyol, S.; Alatas, B. Plant intelligence based metaheuristic optimization algorithms. Artif. Intell. Rev. 2016, 47, 417–462. [Google Scholar] [CrossRef]
- Jian, R.; Chen, Y.; Chen, T. Multi-Parameters Unified-Optimization for Millimeter Wave Microstrip Antenna Based on ICACO. IEEE Access 2019, 7, 53012–53017. [Google Scholar] [CrossRef]
- Smith, J.; Baginski, M.E. Thin-Wire Antenna Design Using a Novel Branching Scheme and Genetic Algorithm Optimization. IEEE Trans. Antennas Propag. 2019, 67, 2934–2941. [Google Scholar] [CrossRef]
- Lalbakhsh, A.; Afzal, M.U.; Esselle, K.P. Multi-objective Particle Swarm Optimization to Design a Time Delay Equalizer Metasurface for an Electromagnetic Band Gap Resonator Antenna. IEEE Antennas Wirel. Propag. Lett. 2016, 16, 1. [Google Scholar] [CrossRef]
- Goudos, S.K. Antenna Design Using Binary Differential Evolution: Application to discrete-valued design problems. IEEE Antennas Propag. Mag. 2017, 59, 74–93. [Google Scholar] [CrossRef]
- Baumgartner, P.; Bauernfeind, T.; Biro, O.; Hackl, A.; Magele, C.; Renhart, W.; Torchio, R. Multi-Objective Optimization of Yagi–Uda Antenna Applying Enhanced Firefly Algorithm With Adaptive Cost Function. IEEE Trans. Magn. 2018, 54, 1–4. [Google Scholar] [CrossRef]
- Subhashini, K.R. Antenna array synthesis using a newly evolved optimization approach: Strawberry algorithm. J. Electr. Eng. 2019, 70, 317–322. [Google Scholar] [CrossRef]
- Wang, G.-G.; Deb, S.; Cui, Z. Monarch butterfly optimization. Neural Comput. Appl. 2015, 31, 1995–2014. [Google Scholar] [CrossRef]
- Salgotra, R.; Singh, U. A novel bat flower pollination algorithm for synthesis of linear antenna arrays. Neural Comput. Appl. 2016, 30, 2269–2282. [Google Scholar] [CrossRef]
- Alzahed, A.; Mikki, S.; Antar, Y.M. Nonlinear Mutual Coupling Compensation Operator Design Using a Novel Electromagnetic Machine Learning Paradigm. IEEE Antennas Wirel. Propag. Lett. 2019, 18, 861–865. [Google Scholar] [CrossRef]
- Tak, J.; Kantemur, A.; Sharma, Y.; Xin, H. A 3-D-Printed W-Band Slotted Waveguide Array Antenna Optimized Using Machine Learning. IEEE Antennas Wirel. Propag. Lett. 2018, 17, 2008–2012. [Google Scholar] [CrossRef]
- Bin Liu, J.; Shen, Z.X.; Lu, Y.L. Optimal Antenna Design With QPSO–QN Optimization Strategy. IEEE Trans. Magn. 2014, 50, 645–648. [Google Scholar] [CrossRef]
- Pantoja, M.F.; Meincke, P.; Bretones, A.C.R. A Hybrid Genetic-Algorithm Space-Mapping Tool for the Optimization of Antennas. IEEE Trans. Antennas Propag. 2007, 55, 777–781. [Google Scholar] [CrossRef]
- Zaharis, Z.; Lazaridis, P.; Cosmas, J.; Skeberis, C.; Xenos, T.D. Synthesis of a Near-Optimal High-Gain Antenna Array With Main Lobe Tilting and Null Filling Using Taguchi Initialized Invasive Weed Optimization. IEEE Trans. Broadcast. 2014, 60, 120–127. [Google Scholar] [CrossRef]
- Koziel, S.; Bekasiewicz, A. Multi-Objective Design of Antennas Using Surrogate Models; World Scientific Pub Co Pte Lt: Singapore, 2016. [Google Scholar]
- Koziel, S.; Leifsson, L. (Eds.) Surrogate-based modeling and optimization. In Applications in Engineering; Springer: New York, NY, USA, 2013. [Google Scholar]
- Hao, Z.-C.; He, M.; Hong, W. Design of a Millimeter-Wave High Angle Selectivity Shaped-Beam Conformal Array Antenna Using Hybrid Genetic/Space Mapping Method. IEEE Antennas Wirel. Propag. Lett. 2015, 15, 1208–1212. [Google Scholar] [CrossRef]
- Koziel, S.; Unnsteinsson, S.D. Expedited Design Closure of Antennas by Means of Trust-Region-Based Adaptive Response Scaling. IEEE Antennas Wirel. Propag. Lett. 2018, 17, 1099–1103. [Google Scholar] [CrossRef]
- Koziel, S.; Bekasiewicz, A. Expedited simulation-driven design optimization of UWB antennas by means of response features. Int. J. RF Microw. Comput. Eng. 2017, 27, e21102. [Google Scholar] [CrossRef]
- Koziel, S.; Pietrenko-Dabrowska, A. Performance-Driven Surrogate Modeling of High-Frequency Structures; Springer Science and Business Media LLC: Berlin/Heidelberg, Germany, 2020. [Google Scholar]
- Richards, L.E.; Jolliffe, I.T. Principal Component Analysis. J. Mark. Res. 1988, 25, 410. [Google Scholar] [CrossRef]
- Kleijnen, J.P.C. Kriging metamodeling in simulation: A review. Eur. J. Oper. Res. 2009, 192, 707–716. [Google Scholar] [CrossRef]
- Ai, M.; Kong, X.; Li, K. A general theory for orthogonal array based Latin hyper-cube sampling. Stat. Sin. 2016, 26, 761–777. [Google Scholar]
- Forrester, A.I.J.; Keane, A. Recent advances in surrogate-based optimization. Prog. Aerosp. Sci. 2009, 45, 50–79. [Google Scholar] [CrossRef]
- Couckuyt, I. Forward and inverse surrogate modeling of computationally expen-sive problems. PhD Thesis, Ghent University, Gent, Belgium, 2013. [Google Scholar]
- Conn, A.R.; Gould, N.I.M.; Toint, P.L. Trust region methods; Society for Industrial and Applied Mathematics: Philadelphia, PA, USA, 2000. [Google Scholar]
- Broyden, C.G. A class of methods for solving nonlinear simultaneous equations. Math. Comp. 1965, 19, 577–593. [Google Scholar] [CrossRef]
- Alsath, M.G.N.; Kanagasabai, M.; Alsath, M.G.N. Compact UWB Monopole Antenna for Automotive Communications. IEEE Trans. Antennas Propag. 2015, 63, 1. [Google Scholar] [CrossRef]
- Zhu, J.; Bandler, J.W.; Nikolova, N.K.; Koziel, S. Antenna Optimization through Space Mapping. IEEE Trans. Antennas Propag. 2007, 55, 651–658. [Google Scholar] [CrossRef]
- Chen, Y.-C.; Chen, S.-Y.; Hsu, P. Dual-Band Slot Dipole Antenna Fed by a Coplanar Waveguide. In Proceedings of the 2006 IEEE Antennas and Propagation Society International Symposium, Albuquerque, NM, USA, 9–14 July 2006; pp. 3589–3592. [Google Scholar] [CrossRef]






| Algorithm | Cost | Success Rate ## | max|S11| $ | std max|S11| * | ||
|---|---|---|---|---|---|---|
| Number of High-Fidelity Evaluations Nf | Number of Low-Fidelity Evaluations Nc | Total Cost # | ||||
| Multiple-start gradient search | 90.4 | N/A | 90.4 | 0.4 | –6.6 dB | 5.9 dB |
| Quasi-global search (Rf only) | 287.1 | N/A | 287.1 | 1.0 | –14.5 dB | 1.5 dB |
| Quasi-global search (Rc1 + Rf) [This work] | 95.2 | 247.0 | 140.7 | 1.0 | –14.4 dB | 0.8 dB |
| Quasi-global search (Rc2 + Rf) [This work] | 93.1 | 266.6 | 135.4 | 1.0 | –14.6 dB | 0.94 dB |
| Algorithm | Cost | Success Rate ## | max|S11| $ | std max|S11| * | ||
|---|---|---|---|---|---|---|
| Number of High-Fidelity Evaluations Nf | Number of Low-Fidelity Evaluations Nc | Total Cost # | ||||
| Multiple-start gradient search | 99.4 | N/A | 99.4 | 0.25 | –5.68 dB | 4.9 dB |
| Quasi-global search (Rf only) | 274.81 | N/A | 274.1 | 0.95 | –13.5 dB | 1.2 dB |
| Quasi-global search (Rc1 + Rf) [This work] | 100.3 | 200.4 | 147.3 | 1.0 | –13.5 dB | 0.5 dB |
| Quasi-global search (Rc2 + Rf) [This work] | 99.7 | 209.7 | 129.4 | 1.0 | –13.5 dB | 0.5 dB |
© 2020 by the authors. Licensee MDPI, Basel, Switzerland. This article is an open access article distributed under the terms and conditions of the Creative Commons Attribution (CC BY) license (http://creativecommons.org/licenses/by/4.0/).
Share and Cite
Tomasson, J.A.; Pietrenko-Dabrowska, A.; Koziel, S. Expedited Globalized Antenna Optimization by Principal Components and Variable-Fidelity EM Simulations: Application to Microstrip Antenna Design. Electronics 2020, 9, 673. https://doi.org/10.3390/electronics9040673
Tomasson JA, Pietrenko-Dabrowska A, Koziel S. Expedited Globalized Antenna Optimization by Principal Components and Variable-Fidelity EM Simulations: Application to Microstrip Antenna Design. Electronics. 2020; 9(4):673. https://doi.org/10.3390/electronics9040673
Chicago/Turabian StyleTomasson, Jon Atli, Anna Pietrenko-Dabrowska, and Slawomir Koziel. 2020. "Expedited Globalized Antenna Optimization by Principal Components and Variable-Fidelity EM Simulations: Application to Microstrip Antenna Design" Electronics 9, no. 4: 673. https://doi.org/10.3390/electronics9040673
APA StyleTomasson, J. A., Pietrenko-Dabrowska, A., & Koziel, S. (2020). Expedited Globalized Antenna Optimization by Principal Components and Variable-Fidelity EM Simulations: Application to Microstrip Antenna Design. Electronics, 9(4), 673. https://doi.org/10.3390/electronics9040673

